CN218072748U - 一种用于矮晚柚育苗支撑机构 - Google Patents

一种用于矮晚柚育苗支撑机构 Download PDF

Info

Publication number
CN218072748U
CN218072748U CN202222056499.0U CN202222056499U CN218072748U CN 218072748 U CN218072748 U CN 218072748U CN 202222056499 U CN202222056499 U CN 202222056499U CN 218072748 U CN218072748 U CN 218072748U
Authority
CN
China
Prior art keywords
groups
fixedly connected
shell
wall
casing
Prior art date
Legal status (The legal status is an assumption and is not a legal conclusion. Google has not performed a legal analysis and makes no representation as to the accuracy of the status listed.)
Expired - Fee Related
Application number
CN202222056499.0U
Other languages
English (en)
Inventor
彭松林
Current Assignee (The listed assignees may be inaccurate. Google has not performed a legal analysis and makes no representation or warranty as to the accuracy of the list.)
Suining Yonghong Pomelo Co ltd
Original Assignee
Suining Yonghong Pomelo Co ltd
Priority date (The priority date is an assumption and is not a legal conclusion. Google has not performed a legal analysis and makes no representation as to the accuracy of the date listed.)
Filing date
Publication date
Application filed by Suining Yonghong Pomelo Co ltd filed Critical Suining Yonghong Pomelo Co ltd
Priority to CN202222056499.0U priority Critical patent/CN218072748U/zh
Application granted granted Critical
Publication of CN218072748U publication Critical patent/CN218072748U/zh
Expired - Fee Related legal-status Critical Current
Anticipated expiration legal-status Critical

Links

Images

Landscapes

  • Cultivation Receptacles Or Flower-Pots, Or Pots For Seedlings (AREA)

Abstract

本实用新型属于矮晚柚树苗培育技术领域,特别涉及一种用于矮晚柚育苗支撑机构;包括喷洒机构和夹持组件;所述喷洒机构的两端对称固定连接有一组底板,两组所述底板的底端均固定连接有两组第一连杆,两组所述第一连杆的底端分别固定连接有PH值检测仪探头和湿度传感器探头;所述第一壳体和第二壳体均为圆环形结构,且所述第一壳体的内壁呈环形阵列开设有若干组施料孔,所述第二壳体的顶端且靠近施料孔的一侧开设有若干组出水孔,本装置不仅可以更稳定的对支撑机构进行固定,还可以对土壤中的湿度和PH值进行监测,针对单个幼苗的施肥和浇水也减少了大水漫灌和大片施肥带来的资源浪费。

Description

一种用于矮晚柚育苗支撑机构
技术领域
本实用新型属于矮晚柚树苗培育技术领域,特别涉及一种用于矮晚柚育苗支撑机构。
背景技术
矮晚柚,因果实成熟期在同类果品中最晚,树型又非常矮小而得名,是南方常绿果树;矮晚柚系中国台湾地区晚白柚的芽变品种;特点是矮化、晚熟、丰产、口感好、在春节前后成熟,鲜果可挂在树上到"五一节"左右采摘都可以,实现了反季节销售,有天然水果罐头的美誉;矮晚柚虽然有艺术品的观赏性,但是同样能吃,和其他柚子的糖分、水分含量是一样的。改变造型后,大大增加了农产品的附加值。
现有的矮晚柚支撑装置大多功能单一,仅能实现对幼苗的支撑作用,无法对幼苗阶段的栽种土壤湿度和营养情况进行检测,仅凭种植人员的经验对幼苗进行浇水和施肥作业,不仅降低了幼苗的存活率,且对水资源和废料也是一种浪费。
实用新型内容
针对上述问题,本实用新型提供了一种用于矮晚柚育苗支撑机构,包括喷洒机构和夹持组件;
所述喷洒机构的两端对称固定连接有一组底板,两组所述底板的底端均固定连接有两组第一连杆,两组所述第一连杆的底端分别固定连接有PH值检测仪探头和湿度传感器探头;
所述底板的顶端且远离喷洒机构的一侧固定连接有第一转轴,所述第一转轴转动连接有第二连杆,所述第二连杆上滑动套接有套筒滑块,所述底板的顶端且靠近喷洒机构的一侧固定连接有第二转轴,所述第二转轴转动连接有第一电动推杆,且所述第一电动推杆的输出端通过转轴与套筒滑块传动连接;
所述喷洒机构包括第一壳体和第二壳体,所述第一壳体和第二壳体均为圆环形结构,且所述第一壳体的内壁呈环形阵列开设有若干组施料孔,所述第二壳体靠近圆心的一端低于另一端,且所述第二壳体的顶端且靠近施料孔的一侧开设有若干组出水孔,所述第一壳体的顶端与第二壳体的底端固定连接;
所述夹持组件转动连接两组所述第二连杆之间。
进一步的,所述第一壳体的内壁开设有第一内腔,所述第一壳体的外壁开设有进料口,且所述进料口与第一内腔相互连通,所述进料口固定安装有电磁阀。
进一步的,所述第二壳体的内壁开设有第二内腔,所述第二壳体的外壁开设有进水口,且所述进水口与第二内腔相互连通,所述进水口固定安装有电磁阀。
进一步的,所述夹持组件包括第一缓冲机构、第二缓冲机构,所述第一缓冲机构的外壁固定连接有第一固定板,所述第二缓冲机构的外壁固定连接有第二固定板,所述第一固定板和第二固定板之间设置有两组丝杆,且所述第二固定板靠近第一固定板的一侧固定连接有两组电机,两组所述电机的输出端均与两组丝杆传动连接,且两组所述丝杆的另一端均与第一固定板螺纹连接。
进一步的,所述第一缓冲机构包括第三壳体,所述第三壳体为开放式结构,所述第三壳体的内壁对称设置有两组伸缩杆,且两组所示伸缩杆的端部传动连接有半环形板,所述半环形板靠近伸缩杆的一侧壁与第三壳体的内壁之间设置有弹簧,且所述弹簧位于两组伸缩杆之间。
进一步的,所述第一缓冲机构与第二缓冲机构的内部结构相同。
本实用新型的有益效果是:
1、通过喷洒装置的设置,使幼苗始终保持在适宜的湿度和肥料环境下生长,通过底板、第一连杆、PH值检测仪探头和湿度传感器探头的配合使用,不仅可以更稳定的对支撑机构进行固定,还可以对土壤中的湿度和PH值进行监测,从而更加精准的实施浇水和施肥作业,同时针对单个幼苗的施肥和浇水也减少了大水漫灌和大片施肥带来的资源浪费。
2、通过两组第一电动推杆和电机的配合使用,使工作人员可以调节支撑机构的位置,实现了更加准确的对矮晚柚苗施加支撑,不仅降低了人工工作的强度,还提升了矮晚柚育苗的存活率。
附图说明
为为了更清楚地说明本实用新型实施例或现有技术中的技术方案,下面将对实施例或现有技术描述中所需要使用的附图作一简单地介绍,显而易见地,下面描述中的附图是本实用新型的一些实施例,对于本领域普通技术人员来讲,在不付出创造性劳动的前提下,还可以根据这些附图获得其他的附图。
图1示出了本实用新型一种用于矮晚柚育苗支撑机构的结构示意图;
图2示出了本实用新型喷洒机构的结构示意图;
图3示出了本实用新型喷洒机构的剖视示意图;
图4示出了本实用新型夹持组件的结构示意图;
图5示出了本实用新型第一缓冲机构的剖视示意图。
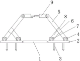
图中标记为:1、喷洒机构;11、第一壳体;12、施料孔;13、第二壳体;14、出水孔;15、第一内腔;16、进料口;17、第二内腔;18、进水口;2、底板;3、第一连杆;4、第一转轴;5、第二连杆;6、套筒滑块;7、第二转轴;8、第一电动推杆;9、夹持组件;91、第一缓冲机构;911、第三壳体;912、伸缩杆;913、半环形板;914、弹簧;92、第二缓冲机构;93、电机;94、丝杆;95、第一固定板;96、第二固定板。
具体实施方式
为使本实用新型实施例的目的、技术方案和优点更加清楚,下面将结合本实用新型实施例中的附图,对本实用新型实施例中的技术方案进行清楚、完整地说明,显然,所描述的实施例是本实用新型一部分实施例,而不是全部的实施例。基于本实用新型中的实施例,本领域普通技术人员在没有做出创造性劳动前提下所获得的所有其他实施例,都属于本实用新型保护的范围。
本实用新型实施提供了一种用于矮晚柚育苗支撑机构。所述一种用于矮晚柚育苗支撑机构,包括喷洒机构1和夹持组件9;示例性的,如图1所示。所述喷洒机构1的两端对称固定连接有一组底板2,两组所述底板2的底端均固定连接有两组第一连杆3,两组所述第一连杆3的底端分别固定连接有PH值检测仪探头和湿度传感器探头;
所述底板2的顶端且远离喷洒机构1的一侧固定连接有第一转轴4,所述第一转轴4转动连接有第二连杆5,所述第二连杆5上滑动套接有套筒滑块6,所述底板2的顶端且靠近喷洒机构1的一侧固定连接有第二转轴7,所述第二转轴7转动连接有第一电动推杆8,且所述第一电动推杆8的输出端通过转轴与套筒滑块6传动连接;
所述夹持组件9转动连接两组所述第二连杆5之间;
所述喷洒机构1包括第一壳体11和第二壳体13;示例性的,如图2和图3所示。所述第一壳体11和第二壳体13均为圆环形结构,且所述第一壳体11的内壁呈环形阵列开设有若干组施料孔12,所述第二壳体13靠近圆心的一端低于另一端,且所述第二壳体13的顶端且靠近施料孔12的一侧开设有若干组出水孔14,所述第一壳体11的顶端与第二壳体13的底端固定连接;
所述第一壳体11的内壁开设有第一内腔15,所述第一壳体11的外壁开设有进料口16,且所述进料口16与第一内腔15相互连通,所述进料口16固定安装有电磁阀;
所述第二壳体13的内壁开设有第二内腔17,所述第二壳体13的外壁开设有进水口18,且所述进水口18与第二内腔17相互连通,所述进水口18固定安装有电磁阀;
所述夹持组件9包括第一缓冲机构91、第二缓冲机构92;示例性的,如图4所示。
所述第一缓冲机构91的外壁固定连接第一固定板95,所述第二缓冲机构92的外壁固定连接有第二固定板96,所述第一固定板95和第二固定板96之间设置有两组丝杆94,且所述第二固定板96靠近第一固定板95的一侧固定连接有两组电机93,两组所述电机93的输出端均与两组丝杆94传动连接,且两组所述丝杆94的另一端均与第一固定板95螺纹连接;
进一步的,所述第一缓冲机构91与第二缓冲机构92的内部结构相同。
所述第一缓冲机构91包括第三壳体911,示例性的,如图5所示。
所述第三壳体911为开放式结构,所述第三壳体911的内壁对称设置有两组伸缩杆912,且两组所示伸缩杆912的端部传动连接有半环形板913,所述半环形板913靠近伸缩杆912的一侧壁与第三壳体911的内壁之间设置有弹簧914,且所述弹簧914位于两组伸缩杆912之间。
当装置需要工作时,首先将两组半环形板913、第一壳体11和第二壳体13套装在矮晚柚苗上,然后将两组底板2连接的第一连杆3插入土中,通过第一连杆3顶端安装的PH值检测仪探头和湿度传感器探头,对栽种幼苗的土壤进行酸碱度检测和土壤湿度检测,通过底板2和第一连杆3的配合使用,使装置能够更加稳固的;
而后将进料口16与营养液连通、进水口18与水管连通,通过进料口16营养液进入第一内腔15中,并通过若干组施料孔12向幼苗进行施肥,通过进水口18水流进入第二内腔17中,并通过若干组出水孔14向幼苗进行浇水,通过倾斜的第二壳体13的设置,使水流不仅能对幼苗本身进行浇水作业,还能对幼苗附近的土壤进行浇灌作业,针对单个幼苗的施肥和浇水也减少了大水漫灌和大片施肥带来的资源浪费。
当装置需要调整支撑高度时,第一电动推杆8带动套筒滑块6在第二连杆5上进行滑动时,电机93带动丝杆94反向旋转,使两组半环形板913对幼苗解除支撑限位,以实现对支撑高度的调整,当第一电动推杆8停止工作后,电机93带动丝杆94正向旋转,使两组半环形板913不断靠近直至对幼苗进行支撑限位;
优选的,培育人员可通过装置内置控制盒对第一电动推杆8和电机93远程控制,可将生长速度相同的幼苗支撑装置调整至同一高度,大大降低了人工工作强度,通过第一电动推杆8和电机93的配合使用,不仅降低了人工工作强度,还提升了培育幼苗的整体效率。
尽管参照前述实施例对本实用新型进行了详细的说明,本领域的普通技术人员应当理解:其依然可以对前述各实施例所记载的技术方案进行修改,或者对其中部分技术特征进行等同替换;而这些修改或者替换,并不使相应技术方案的本质脱离本实用新型各实施例技术方案的精神和范围。

Claims (6)

1.一种用于矮晚柚育苗支撑机构,其特征在于:包括喷洒机构(1)和夹持组件(9);
所述喷洒机构(1)的两端对称固定连接有一组底板(2),两组所述底板(2)的底端均固定连接有两组第一连杆(3),两组所述第一连杆(3)的底端分别固定连接有PH值检测仪探头和湿度传感器探头;
所述底板(2)的顶端且远离喷洒机构(1)的一侧固定连接有第一转轴(4),所述第一转轴(4)转动连接有第二连杆(5),所述第二连杆(5)上滑动套接有套筒滑块(6),所述底板(2)的顶端且靠近喷洒机构(1)的一侧固定连接有第二转轴(7),所述第二转轴(7)转动连接有第一电动推杆(8),且所述第一电动推杆(8)的输出端通过转轴与套筒滑块(6)传动连接;
所述喷洒机构(1)包括第一壳体(11)和第二壳体(13),所述第一壳体(11)和第二壳体(13)均为圆环形结构,且所述第一壳体(11)的内壁呈环形阵列开设有若干组施料孔(12),所述第二壳体(13)靠近圆心的一端低于另一端,且所述第二壳体(13)的顶端且靠近施料孔(12)的一侧开设有若干组出水孔(14),所述第一壳体(11)的顶端与第二壳体(13)的底端固定连接;
所述夹持组件(9)转动连接两组所述第二连杆(5)之间。
2.根据权利要求1所述的一种用于矮晚柚育苗支撑机构,其特征在于:所述第一壳体(11)的内壁开设有第一内腔(15),所述第一壳体(11)的外壁开设有进料口(16),且所述进料口(16)与第一内腔(15)相互连通,所述进料口(16)固定安装有电磁阀。
3.根据权利要求1所述的一种用于矮晚柚育苗支撑机构,其特征在于:所述第二壳体(13)的内壁开设有第二内腔(17),所述第二壳体(13)的外壁开设有进水口(18),且所述进水口(18)与第二内腔(17)相互连通,所述进水口(18)固定安装有电磁阀。
4.根据权利要求1所述的一种用于矮晚柚育苗支撑机构,其特征在于:所述夹持组件(9)包括第一缓冲机构(91)、第二缓冲机构(92),所述第一缓冲机构(91)的外壁固定连接有第一固定板(95),所述第二缓冲机构(92)的外壁固定连接有第二固定板(96),所述第一固定板(95)和第二固定板(96)之间设置有两组丝杆(94),且所述第二固定板(96)靠近第一固定板(95)的一侧固定连接有两组电机(93),两组所述电机(93)的输出端均与两组丝杆(94)传动连接,且两组所述丝杆(94)的另一端均与第一固定板(95)螺纹连接。
5.根据权利要求4所述的一种用于矮晚柚育苗支撑机构,其特征在于:所述第一缓冲机构(91)包括第三壳体(911),所述第三壳体(911)为开放式结构,所述第三壳体(911)的内壁对称设置有两组伸缩杆(912),且两组所示伸缩杆(912)的端部传动连接有半环形板(913),所述半环形板(913)靠近伸缩杆(912)的一侧壁与第三壳体(911)的内壁之间设置有弹簧(914),且所述弹簧(914)位于两组伸缩杆(912)之间。
6.根据权利要求5所述的一种用于矮晚柚育苗支撑机构,其特征在于:所述第一缓冲机构(91)与第二缓冲机构(92)的内部结构相同。
CN202222056499.0U 2022-08-05 2022-08-05 一种用于矮晚柚育苗支撑机构 Expired - Fee Related CN218072748U (zh)

Priority Applications (1)

Application Number Priority Date Filing Date Title
CN202222056499.0U CN218072748U (zh) 2022-08-05 2022-08-05 一种用于矮晚柚育苗支撑机构

Applications Claiming Priority (1)

Application Number Priority Date Filing Date Title
CN202222056499.0U CN218072748U (zh) 2022-08-05 2022-08-05 一种用于矮晚柚育苗支撑机构

Publications (1)

Publication Number Publication Date
CN218072748U true CN218072748U (zh) 2022-12-20

Family

ID=84486530

Family Applications (1)

Application Number Title Priority Date Filing Date
CN202222056499.0U Expired - Fee Related CN218072748U (zh) 2022-08-05 2022-08-05 一种用于矮晚柚育苗支撑机构

Country Status (1)

Country Link
CN (1) CN218072748U (zh)

Similar Documents

Publication Publication Date Title
CN201640134U (zh) 一种适用于蔬菜水培的栽培装置
CN107046851B (zh) 以种子为材料的白及大棚直播育苗方法
CN218072748U (zh) 一种用于矮晚柚育苗支撑机构
CN204697660U (zh) 一种蜂窝型栽培板
CN207639127U (zh) 药用植物定植打孔机
CN215774512U (zh) 一种高成活率番茄大棚土壤育苗栽培装置
CN216146840U (zh) 一种新品种嘉宝果树盆栽选育控制装置
CN101622948A (zh) 一种干旱区红枣快速丰产栽培方法
CN217136187U (zh) 一种蔬菜种植用的种子培育装置
CN214430585U (zh) 一种无花果树种苗种植培育箱
CN212259917U (zh) 一种核桃苗的种植装置
CN211745719U (zh) 一种苦荞麦的育苗装置
CN217608497U (zh) 一种农作物种子营养土栽培装置
CN211982921U (zh) 一种楝树种子育苗装置
CN203748371U (zh) 一种营养基质栽培装置
CN210247713U (zh) 一种番茄大棚土壤育苗栽培装置
CN111819980A (zh) 一种大范围绣球花种植灌溉系统
CN221228201U (zh) 一种农作物种子育苗的催芽装置
CN208446199U (zh) 一种百香果种植设备
CN219698566U (zh) 一种马铃薯用种植培育架装置
CN222442452U (zh) 一种具有自动灌溉功能的草莓幼苗种植架
CN221768890U (zh) 一种蔬菜的自动化育苗设备
CN220915893U (zh) 一种便于移栽的玉米育苗装置
CN217986164U (zh) 一种良种嘉宝果培育装置
CN205567031U (zh) 可拆换多用育苗播种器

Legal Events

Date Code Title Description
GR01 Patent grant
GR01 Patent grant
CF01 Termination of patent right due to non-payment of annual fee
CF01 Termination of patent right due to non-payment of annual fee

Granted publication date: 20221220