CN218048384U - Electrostatic dust removal device of thermal power plant - Google Patents

Electrostatic dust removal device of thermal power plant Download PDF

Info

Publication number
CN218048384U
CN218048384U CN202221711971.3U CN202221711971U CN218048384U CN 218048384 U CN218048384 U CN 218048384U CN 202221711971 U CN202221711971 U CN 202221711971U CN 218048384 U CN218048384 U CN 218048384U
Authority
CN
China
Prior art keywords
fixedly connected
wall
dust removal
filter screen
worm
Prior art date
Legal status (The legal status is an assumption and is not a legal conclusion. Google has not performed a legal analysis and makes no representation as to the accuracy of the status listed.)
Active
Application number
CN202221711971.3U
Other languages
Chinese (zh)
Inventor
戴泽政
高云飞
冯筱
朱波
李健
刘豪豪
张晋嘉
白晶恩
武立旺
杨军
陈运会
林磊
乔世勋
孟杰
张秉谦
孙爱平
Current Assignee (The listed assignees may be inaccurate. Google has not performed a legal analysis and makes no representation or warranty as to the accuracy of the list.)
Huaneng Zuoquan Coal Power Co ltd
Original Assignee
Huaneng Zuoquan Coal Power Co ltd
Priority date (The priority date is an assumption and is not a legal conclusion. Google has not performed a legal analysis and makes no representation as to the accuracy of the date listed.)
Filing date
Publication date
Application filed by Huaneng Zuoquan Coal Power Co ltd filed Critical Huaneng Zuoquan Coal Power Co ltd
Priority to CN202221711971.3U priority Critical patent/CN218048384U/en
Application granted granted Critical
Publication of CN218048384U publication Critical patent/CN218048384U/en
Active legal-status Critical Current
Anticipated expiration legal-status Critical

Links

Images

Classifications

    • YGENERAL TAGGING OF NEW TECHNOLOGICAL DEVELOPMENTS; GENERAL TAGGING OF CROSS-SECTIONAL TECHNOLOGIES SPANNING OVER SEVERAL SECTIONS OF THE IPC; TECHNICAL SUBJECTS COVERED BY FORMER USPC CROSS-REFERENCE ART COLLECTIONS [XRACs] AND DIGESTS
    • Y02TECHNOLOGIES OR APPLICATIONS FOR MITIGATION OR ADAPTATION AGAINST CLIMATE CHANGE
    • Y02ATECHNOLOGIES FOR ADAPTATION TO CLIMATE CHANGE
    • Y02A50/00TECHNOLOGIES FOR ADAPTATION TO CLIMATE CHANGE in human health protection, e.g. against extreme weather
    • Y02A50/20Air quality improvement or preservation, e.g. vehicle emission control or emission reduction by using catalytic converters
    • Y02A50/2351Atmospheric particulate matter [PM], e.g. carbon smoke microparticles, smog, aerosol particles, dust

Landscapes

  • Electrostatic Separation (AREA)

Abstract

The utility model discloses an electrostatic dust collection device of a thermal power plant, which comprises a dust collection box, wherein the top of the dust collection box is fixedly connected with a storage battery, and the top of the inner side of the dust collection box is fixedly connected with a fan; the utility model discloses when using, utilize actuating mechanism, drive mechanism and filter mechanism, the fan inhales the air and discharges through the outlet duct from the intake pipe, can hit from outlet duct exhaust air and hit on drive impeller, drive impeller can pass through the rotation that the actuating lever drove the worm, the worm can pass through the rotation that the worm wheel drove the transfer line, the transfer line can drive the anticlockwise dwang of hitting the ball through hitting the pole, hit the ball and can intermittent type nature hit the bottom of hitting the filter screen and make the filter screen take place the vibration, the vibration can let the filter screen on adnexed dust shake down, can accomplish the clearance to the filter screen, the normal filtration of filter screen has not only been guaranteed, can also let outside air can enter into the inside of dust removal case and remove dust.

Description

Electrostatic dust removal device of thermal power plant
Technical Field
The utility model relates to a dust removal technical field especially relates to an electrostatic precipitator device of thermal power plant.
Background
Some electrostatic dust removal boxes are generally arranged in a thermal power plant, external air is sucked into the electrostatic dust removal boxes through a filter screen through an air inlet pipe of a fan in each electrostatic dust removal box, the air is discharged between two dust removal plates through an air outlet pipe of the fan, and then the dust removal plates are electrified through a storage battery to suck dust in the air onto the dust removal plates of a negative electrode, so that the dust removal effect is realized; but because the air that contains the dust passes through on the current filter screen for a long time, can adhere to the one deck dust on the filter screen, the filtration pore of crossing on the filter screen can be blockked up by the dust, not only can influence the filtration of filter screen like this, still can influence the inside that the air entered into electrostatic precipitator case to can influence the dust removal of electrostatic precipitator case.
SUMMERY OF THE UTILITY MODEL
The utility model aims at solving the problem that the existing filter screen can be attached with one layer of dust due to the long-term passing of the air containing the dust, the filter holes in the filter screen can be blocked by the dust, so that the filter screen can be influenced, the air can be influenced to enter the electrostatic precipitation box, and the electrostatic precipitation device in the thermal power plant can be influenced.
In order to realize the purpose, the utility model adopts the following technical scheme:
the utility model provides a thermal power plant electrostatic precipitator device, includes the dust removal case, the top fixedly connected with battery of dust removal case, the inboard top fixedly connected with fan of dust removal case, the inner wall of dust removal case passes through actuating mechanism and connects the worm, the worm is connected with through drive mechanism and hits the pole, the air inlet that is the rectangle setting is seted up to a lateral wall of dust removal case, the shifting chute has been seted up to the inner wall of air inlet, the inner wall of shifting chute is provided with filtering mechanism.
Preferably, the fan is close to the one end fixedly connected with intake pipe of air inlet, the other end fixedly connected with outlet duct of fan is located the battery below the inboard top symmetry fixedly connected with dust removal board of dust removal case.
Preferably, actuating mechanism includes the actuating lever, the both ends of actuating lever all are rotated with the inner wall of dust removal case and are connected, the actuating lever run through the worm and with worm fixed connection, the outer wall fixedly connected with of actuating lever is evenly distributed's drive impeller.
Preferably, drive mechanism includes worm wheel and transfer line, the inner wall of dust removal case is seted up the rectangle mouth that link up mutually with the shifting chute inside, the one end of transfer line is rotated with the inner wall of dust removal case and is connected, the other end of transfer line runs through the rectangle mouth and is connected with the inner wall rotation of shifting chute.
Preferably, the transmission rod penetrates through the worm wheel and is fixedly connected with the worm wheel, the outer wall of the transmission rod is fixedly connected with the striking rod, and one end, far away from the transmission rod, of the striking rod is fixedly connected with a striking ball.
Preferably, filtering mechanism includes the filter screen with shifting chute inner wall sliding connection, set up the filtration pore that is evenly distributed on the filter screen, the outer wall fixedly connected with of filter screen is evenly distributed's spring, the one end that the filter screen was kept away from to the spring is fixedly connected with the inner wall of shifting chute.
Compared with the prior art, the beneficial effects of the utility model are that:
this equipment is when using, utilize actuating mechanism, drive mechanism and filtering mechanism, the fan inhales the air and discharges through the outlet duct from the intake pipe, can hit from outlet duct exhaust air and hit and beat on drive impeller, drive impeller can drive the rotation of worm through the actuating lever, the worm can drive the rotation of transfer line through the worm wheel, the transfer line can drive the anticlockwise dwang of hitting the ball through hitting the hitting pole, hit the ball can intermittent type nature hit the bottom of hitting the filter screen and make the filter screen take place the vibration, the vibration can let adnexed dust on the filter screen shake down, can accomplish the clearance to the filter screen, the normal filtration of filter screen has not only been guaranteed, can also let outside air can enter into the inside of electrostatic precipitator case and remove dust.
Drawings
Fig. 1 is a schematic external three-dimensional structure diagram of an electrostatic dust collector of a thermal power plant according to the present invention;
fig. 2 is a schematic diagram of an internal three-dimensional structure of an electrostatic precipitator for a thermal power plant according to the present invention;
FIG. 3 is a schematic view of a connection three-dimensional structure of a moving chute and a transmission rod in an electrostatic dust collector of a thermal power plant according to the present invention;
fig. 4 is a schematic view of a partial three-dimensional structure of an electrostatic dust collector of a thermal power plant according to the present invention;
fig. 5 is the utility model provides a spatial structure sketch of filter screen and spring among thermal power plant's electrostatic precipitator device.
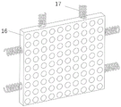
In the figure: the dust removal device comprises a dust removal box 1, a storage battery 2, a fan 3, a worm 4, a striking rod 5, an air inlet 6, a moving groove 7, an air inlet pipe 8, an air outlet pipe 9, a dust removal plate 10, a driving rod 11, a driving impeller 12, a worm wheel 13, a transmission rod 14, a striking ball 15, a filter screen 16 and a spring 17.
Detailed Description
The technical solution in the embodiments of the present invention will be clearly and completely described below with reference to the drawings in the embodiments of the present invention, and it is obvious that the described embodiments are only some embodiments of the present invention, rather than all embodiments, and all other embodiments obtained by a person skilled in the art without creative work belong to the scope of protection of the present invention based on the embodiments of the present invention.
Referring to fig. 1-5, an electrostatic dust removal device for a thermal power plant comprises a dust removal box 1, wherein a storage battery 2 is fixedly connected to the top of the dust removal box 1, the storage battery 2 can electrify the dust removal plates 10, one dust removal plate 10 can serve as an anode, the other dust removal plate can serve as a cathode, dust is adsorbed on the dust removal plate 10 with the cathode, a fan 3 is fixedly connected to the top of the inner side of the dust removal box 1, the inner wall of the dust removal box 1 is connected with a worm 4 through a driving mechanism, the worm 4 is connected with a striking rod 5 through a transmission mechanism, an air inlet 6 which is arranged in a rectangular shape is formed in one side wall of the dust removal box 1, a moving groove 7 is formed in the inner wall of the air inlet 6, and a filtering mechanism is arranged in the inner wall of the moving groove 7;
furthermore, one end of the fan 3 close to the air inlet 6 is fixedly connected with an air inlet pipe 8, the other end of the fan 3 is fixedly connected with an air outlet pipe 9, and the top of the inner side of the dust removing box 1 positioned below the storage battery 2 is symmetrically and fixedly connected with a dust removing plate 10; the driving mechanism comprises a driving rod 11, two ends of the driving rod 11 are rotatably connected with the inner wall of the dust removal box 1, the driving rod 11 penetrates through the worm 4 and is fixedly connected with the worm 4, driving impellers 12 which are uniformly distributed are fixedly connected to the outer wall of the driving rod 11, and the air outlet pipe 9 blows out fast moving air which can hit the driving impellers 12 and drive the driving impellers 12 to rotate, so that continuous driving force can be provided for hitting the filter screen 16;
further, the transmission mechanism comprises a worm wheel 13 and a transmission rod 14, a rectangular opening communicated with the inside of the moving groove 7 is formed in the inner wall of the dust removing box 1, one end of the transmission rod 14 is rotatably connected with the inner wall of the dust removing box 1, and the other end of the transmission rod 14 penetrates through the rectangular opening and is rotatably connected with the inner wall of the moving groove 7; the transmission rod 14 penetrates through the worm wheel 13 and is fixedly connected with the worm wheel 13, the outer wall of the transmission rod 14 is fixedly connected with the hitting rod 5, and one end, far away from the transmission rod 14, of the hitting rod 5 is fixedly connected with a hitting ball 15, wherein the hitting ball 15 is made of rubber, soft in texture and elastic, so that when the filter screen 16 is hit, the filter screen 16 is prevented from being damaged, and the hitting ball 15 can intermittently hit the filter screen 16 and normally rotate;
further, filtering mechanism includes filter screen 16 with moving slot 7 inner wall sliding connection, offers the filtration pore that is evenly distributed on the filter screen 16, and the outer wall fixedly connected with of filter screen 16 is evenly distributed's spring 17, and wherein spring 17 can accomplish the fixed to filter screen 16 position, also can let spring 17 vibrate simultaneously, and spring 17 keeps away from the one end of filter screen 16 and the inner wall fixed connection of moving slot 7.
The utility model discloses when using, fan 3 inhales the air from intake pipe 8 and discharges through outlet duct 9, can hit from outlet duct 9 exhaust air and hit and beat on drive impeller 12, drive impeller 12 can drive the rotation of worm 4 through actuating lever 11, worm 4 can drive the rotation of transfer line 14 through worm wheel 13, transfer line 14 can drive the anticlockwise dwang of hitting ball 15 through hitting pole 5, hit and hit ball 15 can intermittent type nature hit the bottom of hitting filter screen 16 and make filter screen 16 vibrate, the vibration can let adnexed dust shake down on the filter screen 16, can accomplish the clearance to filter screen 16, not only guarantee filter screen 16's normal filtration, can also let external air can enter into dust removal case 1's inside and remove dust.
The above, only be the embodiment of the preferred of the present invention, but the protection scope of the present invention is not limited thereto, and any person skilled in the art is in the technical scope of the present invention, according to the technical solution of the present invention and the utility model, which are designed to be replaced or changed equally, all should be covered within the protection scope of the present invention.

Claims (6)

1. The utility model provides a thermal power plant electrostatic precipitator device, includes dust removal case (1), its characterized in that, top fixedly connected with battery (2) of dust removal case (1), inboard top fixedly connected with fan (3) of dust removal case (1), the inner wall of dust removal case (1) passes through actuating mechanism and connects worm (4), worm (4) are connected with through drive mechanism and hit pole (5), air inlet (6) that are the rectangle setting are seted up to a lateral wall of dust removal case (1), shifting chute (7) have been seted up to the inner wall of air inlet (6), the inner wall of shifting chute (7) is provided with filtering mechanism.
2. The electrostatic dust removal device for the thermal power plant according to claim 1, wherein an air inlet pipe (8) is fixedly connected to one end of the fan (3) close to the air inlet (6), an air outlet pipe (9) is fixedly connected to the other end of the fan (3), and a dust removal plate (10) is symmetrically and fixedly connected to the top of the inner side of the dust removal box (1) below the storage battery (2).
3. The electrostatic precipitator device of a thermal power plant according to claim 1, wherein the driving mechanism comprises a driving rod (11), both ends of the driving rod (11) are rotatably connected with the inner wall of the precipitation box (1), the driving rod (11) penetrates through the worm (4) and is fixedly connected with the worm (4), and the outer wall of the driving rod (11) is fixedly connected with driving impellers (12) which are uniformly distributed.
4. The electrostatic precipitator device of a thermal power plant according to claim 1, wherein the transmission mechanism comprises a worm wheel (13) and a transmission rod (14), a rectangular opening communicated with the inside of the moving groove (7) is formed in the inner wall of the dust removing box (1), one end of the transmission rod (14) is rotatably connected with the inner wall of the dust removing box (1), and the other end of the transmission rod (14) penetrates through the rectangular opening and is rotatably connected with the inner wall of the moving groove (7).
5. The electrostatic precipitator for thermal power plants according to claim 4, wherein the transmission rod (14) penetrates through the worm wheel (13) and is fixedly connected with the worm wheel (13), the outer wall of the transmission rod (14) is fixedly connected with the striking rod (5), and a striking ball (15) is fixedly connected to one end of the striking rod (5) far away from the transmission rod (14).
6. The electrostatic precipitator device of a thermal power plant according to claim 1, wherein the filtering mechanism comprises a filtering net (16) slidably connected with the inner wall of the moving chute (7), the filtering net (16) is provided with uniformly distributed filtering holes, the outer wall of the filtering net (16) is fixedly connected with uniformly distributed springs (17), and one end of the spring (17) far away from the filtering net (16) is fixedly connected with the inner wall of the moving chute (7).
CN202221711971.3U 2022-07-05 2022-07-05 Electrostatic dust removal device of thermal power plant Active CN218048384U (en)

Priority Applications (1)

Application Number Priority Date Filing Date Title
CN202221711971.3U CN218048384U (en) 2022-07-05 2022-07-05 Electrostatic dust removal device of thermal power plant

Applications Claiming Priority (1)

Application Number Priority Date Filing Date Title
CN202221711971.3U CN218048384U (en) 2022-07-05 2022-07-05 Electrostatic dust removal device of thermal power plant

Publications (1)

Publication Number Publication Date
CN218048384U true CN218048384U (en) 2022-12-16

Family

ID=84435267

Family Applications (1)

Application Number Title Priority Date Filing Date
CN202221711971.3U Active CN218048384U (en) 2022-07-05 2022-07-05 Electrostatic dust removal device of thermal power plant

Country Status (1)

Country Link
CN (1) CN218048384U (en)

Cited By (2)

* Cited by examiner, † Cited by third party
Publication number Priority date Publication date Assignee Title
CN119186174A (en) * 2024-11-28 2024-12-27 山西喜跃发道路建设养护集团有限公司 Pitch cigarette remove device
CN119972356A (en) * 2025-03-13 2025-05-13 西安热工研究院有限公司 An electrostatic dust removal device for a thermal power plant

Cited By (2)

* Cited by examiner, † Cited by third party
Publication number Priority date Publication date Assignee Title
CN119186174A (en) * 2024-11-28 2024-12-27 山西喜跃发道路建设养护集团有限公司 Pitch cigarette remove device
CN119972356A (en) * 2025-03-13 2025-05-13 西安热工研究院有限公司 An electrostatic dust removal device for a thermal power plant

Similar Documents

Publication Publication Date Title
CN218048384U (en) Electrostatic dust removal device of thermal power plant
CN111829098A (en) Self-cleaning formula air purifier
CN202844811U (en) Electric-bag combined dust collection device
CN207315546U (en) A kind of dry-type air cleaner pulse ash remover
CN108043767A (en) A kind of lithium battery dust-extraction unit
CN203678186U (en) Water curtain dust collecting device of medicine icing wrapping machine
CN209123536U (en) One kind having blowback modular Cremation Machine bag filter
CN207546099U (en) A kind of wind curtain type air purifier
CN205699984U (en) A kind of orientation dust removal machine
CN208694594U (en) A kind of electric-bag complex dust collector of high-efficiency low-resistance
CN206136574U (en) Electric pile is filled in high -efficient heat dissipation
CN206676157U (en) A kind of pulsed jet cloth filter
CN207413074U (en) Coal-burning boiler electrostatic fabric filter
CN208423477U (en) An elevator emergency power cabinet with automatic dust removal function
CN112317491B (en) Dust removal and recovery device for flour mill and recovery method thereof
CN208691285U (en) A kind of network communication interchanger
CN213375585U (en) Bag collector of usefulness is administered to workshop dust
CN217250550U (en) Medicine electric sieve
CN222695516U (en) Circuit board dust removal device
CN217661373U (en) Table tennis automatic collection device
CN208555308U (en) A kind of convection current dust-extraction unit of Airshower chamber
CN208406379U (en) A kind of long bag dust collector of action of low-voltage pulse blowing
CN109529514A (en) A kind of casting household appliances product V method model casting equipment dust-extraction unit
CN217962920U (en) Edulcoration device for feed processing
CN221433453U (en) Electrostatic dust collector is used in processing of compound vitamin premix

Legal Events

Date Code Title Description
GR01 Patent grant
GR01 Patent grant