CN218036294U - 混凝土抗渗仪及其校准装置 - Google Patents

混凝土抗渗仪及其校准装置 Download PDF

Info

Publication number
CN218036294U
CN218036294U CN202221524140.5U CN202221524140U CN218036294U CN 218036294 U CN218036294 U CN 218036294U CN 202221524140 U CN202221524140 U CN 202221524140U CN 218036294 U CN218036294 U CN 218036294U
Authority
CN
China
Prior art keywords
test piece
bridge plate
base
thick bamboo
concrete
Prior art date
Legal status (The legal status is an assumption and is not a legal conclusion. Google has not performed a legal analysis and makes no representation as to the accuracy of the status listed.)
Active
Application number
CN202221524140.5U
Other languages
English (en)
Inventor
程宏
王霑
李朴
陈凤娟
李文凯
王海峰
娄建
徐敬翔
何天庚
付鹏飞
郝向东
尚廷东
Current Assignee (The listed assignees may be inaccurate. Google has not performed a legal analysis and makes no representation or warranty as to the accuracy of the list.)
ZUNYI INSTITUTE OF PRODUCTS QUALITY INSPECTION AND TESTING
Zhengzhou Dongchen Science & Technology Co ltd
Original Assignee
ZUNYI INSTITUTE OF PRODUCTS QUALITY INSPECTION AND TESTING
Zhengzhou Dongchen Science & Technology Co ltd
Priority date (The priority date is an assumption and is not a legal conclusion. Google has not performed a legal analysis and makes no representation as to the accuracy of the date listed.)
Filing date
Publication date
Application filed by ZUNYI INSTITUTE OF PRODUCTS QUALITY INSPECTION AND TESTING, Zhengzhou Dongchen Science & Technology Co ltd filed Critical ZUNYI INSTITUTE OF PRODUCTS QUALITY INSPECTION AND TESTING
Priority to CN202221524140.5U priority Critical patent/CN218036294U/zh
Application granted granted Critical
Publication of CN218036294U publication Critical patent/CN218036294U/zh
Active legal-status Critical Current
Anticipated expiration legal-status Critical

Links

Images

Landscapes

  • Bridges Or Land Bridges (AREA)

Abstract

本实用新型涉及一种混凝土抗渗仪及其校准装置,混凝土抗渗仪包括抗渗仪底座和试模筒,试模筒具有上小下大的锥形筒腔,试模筒的底部设置有筒法兰,抗渗仪底座上端具有底座凹槽,抗渗仪底座上设置有与底座凹槽相连的进水口,其特征在于:底座凹槽的槽壁和槽底之间形成环形的安装拐角,所述安装拐角处设置有环形的试件密封圈,试件密封圈的上端用于与混凝土试件底部密封配合,试件密封圈的下端用于与槽底密封配合,试件密封圈的内侧壁位于锥形筒腔的大头端的内侧壁的内侧,试件密封圈的外侧壁与槽壁接触配合。本实用新型解决了现有技术中混凝土试件与锥形筒腔之间的密封材料容易密封不严而导致混凝土试件抗渗性能检测不准确的技术问题。

Description

混凝土抗渗仪及其校准装置
技术领域
本实用新型涉及混凝土抗渗检测领域,尤其涉及一种混凝土抗渗仪及其校准装置。
背景技术
混凝土抗渗仪是用于检测混凝土硬化后的防水性能以及测定其抗渗标号的测量仪器。
现有技术中的混凝土抗渗仪如图1所示,包括抗渗仪底座8和试模筒1,试模筒具有上小下大的锥形筒腔2,试模筒的底部设置有筒法兰5,筒法兰5通过多个沿周向间隔布置的螺栓4与抗渗仪底座相连,筒法兰与抗渗仪底座之间设置有法兰密封圈5。抗渗仪底座上端具有与锥形筒腔底部对应设置的底座凹槽6,抗渗仪底座上设置有与底座凹槽相连的进水口7。
使用时,将与锥形筒腔大小适配的混凝土试件外周涂抹融化的蜡,蜡用于混凝土试件与锥形筒腔之间的密封,然后将混凝土试件旋入锥形筒腔中,通过螺栓将筒法兰与抗渗仪底座相连。底座凹槽与混凝土试件之间形成了一个压力腔9,水泵通过水管、进水口7向压力腔9内注水,水管上连接有压力传感器,根据压力腔内的压力损失来检测混凝土试件的防水性能。
现有技术存在的问题在于:理想状态下,蜡可以实现混凝土试件与锥形筒腔之间的密封,但是,实际操作时,由于混凝土试件外周的密封材料即融化蜡涂抹不均,且混凝土试件表面尺寸不规范,导致混凝土试件旋入锥形筒腔的过程中,对蜡层磨损不均,容易导致混凝土试件与锥形筒腔之间出现密封不严而漏水的问题,不利于混凝土试件防水性能的准确测量。
实用新型内容
本实用新型的目的在于提供一种混凝土抗渗仪,以解决现有技术中混凝土试件与锥形筒腔之间的密封材料容易密封不严而导致混凝土试件抗渗性能检测不准确的技术问题;本实用新型的目的还在于提供一种该混凝土抗渗仪的校准装置。
为解决上述技术问题,本实用新型中混凝土抗渗仪的技术方案如下:
一种混凝土抗渗仪,包括抗渗仪底座和试模筒,试模筒具有上小下大的锥形筒腔,试模筒的底部设置有筒法兰,筒法兰通过多个沿周向间隔布置的螺栓与抗渗仪底座相连,抗渗仪底座上端具有与锥形筒腔底部对应设置的底座凹槽,抗渗仪底座上设置有与底座凹槽相连的进水口,底座凹槽的槽壁和槽底之间形成环形的安装拐角,所述安装拐角处设置有环形的试件密封圈,试件密封圈的上端用于与混凝土试件底部密封配合,试件密封圈的下端用于与槽底密封配合,试件密封圈的内侧壁位于锥形筒腔的大头端的内侧壁的内侧,试件密封圈的外侧壁与槽壁接触配合。
试件密封圈的内径与锥形筒腔的小头端内径相同,试件密封圈与锥形筒腔同轴线设置。
抗渗仪底座上于安装拐角的外围设置有密封圈安装槽,密封圈安装槽中设置有实现抗渗仪底座与筒法兰之间密封的法兰密封圈。
法兰密封圈与试件密封圈之间通过环形连接段相连,环形连接段内设置有环形腔,试件密封圈上设置有用于连通压力腔与环形腔的连通通道,环形连接段的上端与试模筒底部密封接触配合,环形连接段的下端与抗渗仪底座的上端密封接触配合。
试件密封圈、环形连接段和法兰密封圈一体成型。
环形腔的内侧延伸至锥形筒腔的大头端内侧。
本实用新型中混凝土抗渗仪的校准装置的技术方案为:
一种混凝土抗渗仪的校准装置,包括长度沿抗渗仪底座径向延伸的桥板,桥板的两端分别设置有用于通过螺栓与抗渗仪底座相连的螺栓通道,桥板上固定有接头,接头上设置有校准用压力传感器,接头内设置有与校准用压力传感器相连的液体通道,液体通道的一端延伸至接头下端面而用于与抗渗仪底座上的进水口相连。
接头的下端于所述液体通道的外围设置有用于实现接头与抗渗仪底座之间密封的接头密封圈。
螺栓通道由设置于桥板一端的第一螺栓通道和设置于桥板另外一端的第二螺栓通道构成。
第一螺栓通道、第二螺栓通道均为长孔结构,桥板由桥板主体和铰接于桥板主体一端的桥板端头构成,桥板主体的长度长于桥板端头,所述接头设置于桥板主体上,第一螺栓通道设置于桥板主体上,第二螺栓通道设置于桥板端头上。
本实用新型的有益效果为:本实用新型中在底座凹槽的槽壁和槽底之间形成的环形的安装拐角处设置环形的试件密封圈,当水泵通过进水口朝混凝土试件与抗渗仪底座之间充水时,试件密封圈的外侧壁与槽壁挡止,以限制试件密封圈的外胀极限,试件密封圈的上端与混凝土试件底部密封配合,试件密封圈的下端与槽底密封配合,这样即使混凝土试件与锥形筒腔腔壁之间的密封不佳,由于试件密封圈的阻隔,水也不会进入到混凝土试件与锥形筒腔腔壁之间,可以保证水不会经过混凝土试件与锥形筒腔腔壁之间泄露,从而保证对混凝土试件的抗渗性能检测。
附图说明
通过参考附图阅读下文的详细描述,本公开示例性实施方式的上述以及其他目的、特征和优点将变得易于理解。在附图中,以示例性而非限制性的方式示出了本公开的若干实施方式,并且相同或对应地标号表示相同或对应地部分,其中:
图1是本实用新型背景技术中混凝土抗渗仪的使用状态图;
图2是本实用新型中混凝土抗渗仪的一个实施例的结构示意图;
图3是图2中的A处放大图;
图4是图2的俯视图;
图5是图2中法兰密封圈、环形连接段和试件密封圈的配合示意图;
图6是本实用新型中校准装置的实施例1的使用状态图;
图7是图6中校准装置的俯视图;
图8是本实用新型中校准装置的实施例2的结构示意图;
图9是本实用新型中校准装置的实施例3的结构示意图;
附图标记说明:1、试模筒;2、锥形筒腔;3、混凝土试件;4、螺栓;5、筒法兰;6、底座凹槽;7、进水口;8、抗渗仪底座;9、压力腔;10、法兰密封圈;11、试件密封圈;12、环形连接段;13、环形腔;14、连通通道;15、安装拐角;16、提手;17、桥板;18、第一螺栓通道;19、第二螺栓通道;20、校准用压力传感器;21、接头;22、液体通道;23、接头密封圈;24、桥板主体;25、桥板端头。
具体实施方式
为了便于理解本实用新型,下面结合附图和具体实施例,对本实用新型进行更详细的说明。附图中给出了本实用新型的较佳的实施例。但是,本实用新型可以以许多不同的形式来实现,并不限于本说明书所描述的实施例。相反地,提供这些实施例的目的是使对本实用新型的公开内容的理解更加透彻全面。
需要说明的是,除非另有定义,本说明书所使用的所有的技术和科学术语与属于本实用新型的技术领域的技术人员通常理解的含义相同。在本实用新型的说明书中所使用的术语只是为了描述具体的实施例的目的,不是用于限制本实用新型。
本实用新型中一种混凝土抗渗仪的实施例如图1~5所示:包括抗渗仪底座8和试模具筒1,试模筒具有上小下大的锥形筒腔2,试模筒的底部设置有筒法兰5,筒法兰5通过多个沿周向间隔布置的螺栓4与抗渗仪底座8相连,本实施例中,筒法兰通过六个沿周向间隔布置的螺栓与抗渗仪底座相连。
抗渗仪底座的上端具有与锥形筒腔底部对应设置的底座凹槽6,抗渗仪底座上设置有与底座凹槽6相连的进水口7。底座凹槽6的槽壁和槽底之间形成环形的安装拐角15,所述安装拐角15处设置有环形的试件密封圈11,试件密封圈的外轮廓截面为方形,试件密封圈11的上端用于与混凝土试件底部密封配合,试件密封圈的下端用于与槽底密封配合,试件密封圈11的内侧壁位于锥形筒腔的大头端的内侧壁的内侧,试件密封圈11的外侧壁与槽壁接触配合。
在本实施例中,试件密封圈的内径与锥形筒腔2的小头端内径相同,试件密封圈与锥形筒腔同轴线设置。
抗渗仪底座上于安装拐角的外围设置有密封圈安装槽,密封圈安装槽中设置有实现抗渗仪底座与筒法兰之间密封的法兰密封圈10,法兰密封圈与试件密封圈之间通过环形连接段12相连,环形连接段12内设置有环形腔13,试件密封圈上设置有用于连通压力腔与环形腔的连通通道14,环形连接段的上端与试模筒底部密封接触配合,环形连接段的下端与抗渗仪底座的上端密封接触配合。连通通道14有多个,多个连通通道见试件密封圈周向间隔布置,各连通通道的长度均沿试件密封圈的径向延伸。
本实施例中,试件密封圈、环形连接段和法兰密封圈一体成型。环形腔的内侧腔壁位于锥形筒腔的大头端内侧。
使用时,选取与锥形筒腔适配的锥形的混凝土试件3,在混凝土试件3外周均匀涂抹融化的密封材料,比如说蜡,然后将混凝土试件旋进于锥形筒腔中,通过螺栓将筒法兰固定于抗渗仪底座上,法兰密封圈用于实现法兰与抗渗仪底座之间的密封,试件密封圈用于实现混凝土试件与抗渗仪底座之间的密封。
混凝土抗渗仪还包括水泵和水管(图中未示出),水管上设置有压力传感器。
水泵通过水管、进水口7向压力腔9内注水,压力腔内的水经过连通进入到环形腔中,因此环形腔内有与压力腔相同的水压,在环形腔内水压的作用下,环形连接段朝上朝下膨胀变形,当然试件密封圈也会朝上朝下膨胀变形,从而保证相应接触面的密封效果,无论压力腔内水压多大,都可以保证密封圈不失效,从而保证密封效果。避免水进入到混凝土试件与锥形筒腔中而导致泄露,进而影响混凝土试件抗渗检测的准确度。试件密封圈的内径与锥形筒腔的小头端内径相同,试件密封圈与锥形筒腔同轴线设置,因此保证混凝土可以受到最大横截面上的有效水压作用。
在本实用新型的其他实施例中,混凝土试件与锥形筒腔之间也可以不再填充密封材料;法兰密封圈也可以不设。
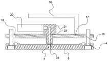
校准装置的实施例1如图6~7所示:校准装置包括长度沿抗渗仪底座径向延伸的桥板17,桥板17的两端分别设置有用于通过螺栓与抗渗仪底座相连的螺栓通道,桥板上固定有接头21,接头上设置有校准用压力传感器20,接头21内设置有与校准用压力传感器相连的液体通道22,液体通道22的一端延伸至接头下端面而用于与抗渗仪底座上的进水口7相连。桥板上设置有用于操作人员手持的提手16。
接头的下端于所述液体通道的外围设置有用于实现接头与抗渗仪底座之间密封的接头密封圈23。螺栓通道由设置于桥板一端的第一螺栓通道18和设置于桥板另外一端的第二螺栓通道19构成,第一螺栓通道18、第二螺栓通道19均为延伸至桥板对应端面的长条形通道。
本实施例中,在需要对混凝土抗渗仪进行校准时,只需要使用两个螺栓将桥板的两端固定于抗渗仪底座上,接头密封圈实现接头与抗渗仪底座之间的密封,水泵通过进水口向接头泵水,通过校准用压力传感器对混凝土抗渗仪的压力传感器进行校准。只需使用两个螺栓即可实现对混凝土抗渗仪的压力传感器进行校准,校准过程简单快捷,整个校准装置的尺寸和重量也不是特别大,方便携带。
校准装置的实施例2如图8所示:实施例2与实施例1不同的是,第一螺栓通道18、第二螺栓通道18均为长度沿桥板长度方向延伸的长孔结构。
校准装置的实施例3如图9所示:实施例3与实施例2不同的是,桥板由桥板主体24和铰接于桥板主体24一端的桥板端头25构成,桥板主体的长度长于桥板端头,所述接头21设置于桥板主体24上,第一螺栓通道18设置于桥板主体24上,第二螺栓通道19设置于桥板端头25上。针对有些混凝土抗渗仪,其上的螺栓孔位可能不是180度对称布置,因此本实用新型中桥板端头可以改变角度,再配合第一螺栓通道、第二螺栓通道均为长孔结构,可以整体移动桥板的位置,并改变桥板端头的角度,来配合对应的螺栓孔位,实现桥板与抗渗仪底座的连接。
在本说明书的上述描述中,除非另有明确的规定和限定,术语“固定”、“安装”、“相连”或“连接”等术语应该做广义的理解。例如,就术语“连接”来说,其可以是固定连接,也可以是可拆卸连接,或成一体;可以是机械连接,也可以是电连接;可以是直接相连,也可以通过中间媒介间接相连,或者可以是两个元件内部的连通或两个元件的相互作用关系。因此,除非本说明书另有明确的限定,本领域技术人员可以根据具体情况理解上述术语在本实用新型中的具体含义。
根据本说明书的上述描述,本领域技术人员还可以理解如下使用的术语,例如“上”、“下”、“前”、“后”、“左”、“右”、“长度”、“宽度”、“厚度”、“竖直”、“水平”、“顶”、“底”“内”、“外”、“轴向”、“径向”、“周向”、“中心”、“纵向”、“横向”、“顺时针”或“逆时针”等指示方位或位置关系的术语是基于本说明书的附图所示的方位或位置关系的,其仅是为了便于阐述本实用新型的方案和简化描述的目的,而不是明示或暗示所涉及的装置或元件必须要具有所述特定的方位、以特定的方位来构造和进行操作,因此上述的方位或位置关系术语不能被理解或解释为对本实用新型方案的限制。
另外,本说明书中所使用的术语“第一”或“第二”等用于指代编号或序数的术语仅用于描述目的,而不能理解为明示或暗示相对重要性或者隐含指明所指示的技术特征的数量。由此,限定有“第一”或“第二”的特征可以明示或者隐含地包括至少一个该特征。在本说明书的描述中,“多个”的含义是至少两个,例如两个,三个或更多个等,除非另有明确具体的限定。
最后应说明的是:以上实施例仅用以说明本实用新型的技术方案,而非对其限制;尽管参照前述实施例对本实用新型进行了详细的说明,本领域的普通技术人员应当理解:其依然可以对前述各实施例所记载的技术方案进行修改,或者对其中部分技术特征进行等同替换;而这些修改或者替换,并不使相应技术方案的本质脱离本实用新型各实施例技术方案的精神和范围。

Claims (10)

1.一种混凝土抗渗仪,包括抗渗仪底座和试模筒,试模筒具有上小下大的锥形筒腔,试模筒的底部设置有筒法兰,筒法兰通过多个沿周向间隔布置的螺栓与抗渗仪底座相连,抗渗仪底座上端具有与锥形筒腔底部对应设置的底座凹槽,抗渗仪底座上设置有与底座凹槽相连的进水口,其特征在于:底座凹槽的槽壁和槽底之间形成环形的安装拐角,所述安装拐角处设置有环形的试件密封圈,试件密封圈的上端用于与混凝土试件底部密封配合,试件密封圈的下端用于与槽底密封配合,试件密封圈的内侧壁位于锥形筒腔的大头端的内侧壁的内侧,试件密封圈的外侧壁与槽壁接触配合。
2.根据权利要求1所述的混凝土抗渗仪,其特征在于:试件密封圈的内径与锥形筒腔的小头端内径相同,试件密封圈与锥形筒腔同轴线设置。
3.根据权利要求1或2所述的混凝土抗渗仪,其特征在于:抗渗仪底座上于安装拐角的外围设置有密封圈安装槽,密封圈安装槽中设置有实现抗渗仪底座与筒法兰之间密封的法兰密封圈。
4.根据权利要求3所述的混凝土抗渗仪,其特征在于:法兰密封圈与试件密封圈之间通过环形连接段相连,环形连接段内设置有环形腔,试件密封圈上设置有用于连通压力腔与环形腔的连通通道,环形连接段的上端与试模筒底部密封接触配合,环形连接段的下端与抗渗仪底座的上端密封接触配合。
5.根据权利要求4所述的混凝土抗渗仪,其特征在于:试件密封圈、环形连接段和法兰密封圈一体成型。
6.根据权利要求4所述的混凝土抗渗仪,其特征在于:环形腔的内侧延伸至锥形筒腔的大头端内侧。
7.一种混凝土抗渗仪的校准装置,其特征在于:包括长度沿抗渗仪底座径向延伸的桥板,桥板的两端分别设置有用于通过螺栓与抗渗仪底座相连的螺栓通道,桥板上固定有接头,接头上设置有校准用压力传感器,接头内设置有与校准用压力传感器相连的液体通道,液体通道的一端延伸至接头下端面而用于与抗渗仪底座上的进水口相连。
8.根据权利要求7所述的校准装置,其特征在于:接头的下端于所述液体通道的外围设置有用于实现接头与抗渗仪底座之间密封的接头密封圈。
9.根据权利要求7所述的校准装置,其特征在于:螺栓通道由设置于桥板一端的第一螺栓通道和设置于桥板另外一端的第二螺栓通道构成。
10.根据权利要求9所述的校准装置,其特征在于:第一螺栓通道、第二螺栓通道均为长孔结构,桥板由桥板主体和铰接于桥板主体一端的桥板端头构成,桥板主体的长度长于桥板端头,所述接头设置于桥板主体上,第一螺栓通道设置于桥板主体上,第二螺栓通道设置于桥板端头上。
CN202221524140.5U 2022-06-18 2022-06-18 混凝土抗渗仪及其校准装置 Active CN218036294U (zh)

Priority Applications (1)

Application Number Priority Date Filing Date Title
CN202221524140.5U CN218036294U (zh) 2022-06-18 2022-06-18 混凝土抗渗仪及其校准装置

Applications Claiming Priority (1)

Application Number Priority Date Filing Date Title
CN202221524140.5U CN218036294U (zh) 2022-06-18 2022-06-18 混凝土抗渗仪及其校准装置

Publications (1)

Publication Number Publication Date
CN218036294U true CN218036294U (zh) 2022-12-13

Family

ID=84376388

Family Applications (1)

Application Number Title Priority Date Filing Date
CN202221524140.5U Active CN218036294U (zh) 2022-06-18 2022-06-18 混凝土抗渗仪及其校准装置

Country Status (1)

Country Link
CN (1) CN218036294U (zh)

Cited By (1)

* Cited by examiner, † Cited by third party
Publication number Priority date Publication date Assignee Title
CN115032134A (zh) * 2022-06-18 2022-09-09 郑州东辰科技有限公司 一种混凝土抗渗仪及其校准装置

Cited By (1)

* Cited by examiner, † Cited by third party
Publication number Priority date Publication date Assignee Title
CN115032134A (zh) * 2022-06-18 2022-09-09 郑州东辰科技有限公司 一种混凝土抗渗仪及其校准装置

Similar Documents

Publication Publication Date Title
CN218036294U (zh) 混凝土抗渗仪及其校准装置
US6423197B1 (en) Sensor housing
CN212779782U (zh) 一种干湿复合两用角阀密封性检测装置
CN115032134A (zh) 一种混凝土抗渗仪及其校准装置
CN117571578A (zh) 一种高安全性防水涂料防水效果测试设备
CN210243441U (zh) 一种混凝土抗渗试模
US6321590B1 (en) Leakage measuring device
CN212931808U (zh) 一种车载镜头防水性测试治具
CN206710265U (zh) 一种建筑房屋浇筑混凝土抗渗测试机构
CN213209845U (zh) 一种用于膜片抗氯离子渗透性的测试装置
CN212458527U (zh) 一种标准金属量器
CN223447884U (zh) 一种用于p+t传感器的检漏接头
CN213481630U (zh) 一种用于气密性检测的气动阀门
CN219301827U (zh) 一种用于小型搅拌罐罐体测温的齐平式测温装置
CN211740997U (zh) 一种用于防水膜的防水检测装置
CN210014821U (zh) 一种同步采样热导式液位传感器
CN107560517B (zh) 一种鼓包通止规
CN222812474U (zh) 一种防漏油双支温度传感器密封装置
CN221198774U (zh) 一种压力传感器测量装置
CN220467568U (zh) 一种实时计量检测液体质量的容器
JPS5841485Y2 (ja) 酸素電極
CN219994678U (zh) 一种紧配的角齿凸缘
CN219736598U (zh) 一种用于搅拌罐内部测温的伸出式测温装置
CN221528344U (zh) 混凝土抗渗性测定仪
CN214538741U (zh) 一种计量装置

Legal Events

Date Code Title Description
GR01 Patent grant
GR01 Patent grant