CN218026275U - A Rare Earth Feed Liquid Graded Extraction Device - Google Patents
A Rare Earth Feed Liquid Graded Extraction Device Download PDFInfo
- Publication number
- CN218026275U CN218026275U CN202222129056.XU CN202222129056U CN218026275U CN 218026275 U CN218026275 U CN 218026275U CN 202222129056 U CN202222129056 U CN 202222129056U CN 218026275 U CN218026275 U CN 218026275U
- Authority
- CN
- China
- Prior art keywords
- extraction
- rare earth
- liquid
- box
- pipe
- Prior art date
- Legal status (The legal status is an assumption and is not a legal conclusion. Google has not performed a legal analysis and makes no representation as to the accuracy of the status listed.)
- Active
Links
Images
Classifications
-
- Y—GENERAL TAGGING OF NEW TECHNOLOGICAL DEVELOPMENTS; GENERAL TAGGING OF CROSS-SECTIONAL TECHNOLOGIES SPANNING OVER SEVERAL SECTIONS OF THE IPC; TECHNICAL SUBJECTS COVERED BY FORMER USPC CROSS-REFERENCE ART COLLECTIONS [XRACs] AND DIGESTS
- Y02—TECHNOLOGIES OR APPLICATIONS FOR MITIGATION OR ADAPTATION AGAINST CLIMATE CHANGE
- Y02P—CLIMATE CHANGE MITIGATION TECHNOLOGIES IN THE PRODUCTION OR PROCESSING OF GOODS
- Y02P10/00—Technologies related to metal processing
- Y02P10/20—Recycling
Landscapes
- Extraction Or Liquid Replacement (AREA)
Abstract
本实用新型公开了一种稀土料液分级萃取装置,包括支架,所述支架的上端竖向码放有多个萃取箱,最下方的所述萃取箱固定连接在支架的上端,所述萃取箱的下端对称固定有两个连接块,所述萃取箱的上端对称设有两个与连接块对应的连接槽,所述连接块的侧壁上设有连接机构,所述萃取箱的上端开设有稀土料液进口,所述萃取箱的下端连接有与稀土料液进口对应的过液管,所述过液管上设有第四阀门,所述支架的下方设有最下方萃取箱上的过液管连接的收集机构,所述萃取箱的内部设有搅拌机构。本实用新型可根据实际萃取的级别需要,选用对应数量的萃取箱,使用灵活、适用性高,且相邻萃取箱拆装便捷,方便操作。
The utility model discloses a graded extraction device for rare earth material liquid, which comprises a bracket. A plurality of extraction boxes are stacked vertically on the upper end of the bracket, and the extraction box at the bottom is fixedly connected to the upper end of the bracket. Two connection blocks are symmetrically fixed on the lower end, two connection grooves corresponding to the connection blocks are symmetrically provided on the upper end of the extraction box, a connection mechanism is provided on the side wall of the connection block, and a rare earth Feed liquid inlet, the lower end of the extraction tank is connected with a liquid passage corresponding to the rare earth feed liquid inlet, a fourth valve is provided on the liquid passage pipe, and a liquid passage on the bottommost extraction tank is provided below the bracket. The pipe is connected to the collection mechanism, and the inside of the extraction box is provided with a stirring mechanism. The utility model can select a corresponding number of extraction boxes according to the actual level of extraction, which is flexible in use and high in applicability, and the adjacent extraction boxes are convenient to disassemble and operate.
Description
技术领域technical field
本实用新型涉及萃取装置技术领域,尤其涉及一种稀土料液分级萃取装置。The utility model relates to the technical field of extraction devices, in particular to a rare earth material liquid classification extraction device.
背景技术Background technique
稀土料液在加工过程中往往需要采用萃取装置进行萃取处理,利用系统中组分在溶剂中有不同的溶解度来分离混合物的单元操作。During the processing of rare earth feed liquid, it is often necessary to use extraction equipment for extraction treatment, and use the different solubility of components in the system to separate the unit operation of the mixture.
中国专利CN207581865U一种稀土料液分级萃取装置,包括萃取箱和流通管道,所述萃取箱安装在支架顶部,所述萃取箱一侧安装回流泵,所述支架底部安装吸泵,所述吸泵一侧安装流通管道,所述流通管道与所述萃取箱以及支架一侧的收集箱相连通,所述萃取箱顶部设置萃取液进管。该专利仅设置一级萃取室、二级萃取室萃取分级较少,进而不能满足更多级萃取的需要,且不能够根据实际的萃取级别的需要进行灵活设置,使用不够便捷。Chinese patent CN207581865U is a rare earth material-liquid graded extraction device, which includes an extraction box and a circulation pipeline. The extraction box is installed on the top of the bracket, and a return pump is installed on one side of the extraction box. A circulation pipeline is installed on one side, and the circulation pipeline communicates with the extraction box and the collection box on one side of the support, and an extraction liquid inlet pipe is arranged on the top of the extraction box. This patent only sets the first-level extraction chamber, and the second-level extraction chamber has fewer extraction grades, which cannot meet the needs of more extraction levels, and cannot be flexibly set according to the actual extraction level requirements, and is not convenient enough to use.
实用新型内容Utility model content
本实用新型的目的是为了解决现有技术中存在的缺点,而提出的一种稀土料液分级萃取装置。The purpose of the utility model is to solve the shortcomings in the prior art, and propose a rare earth material liquid classification extraction device.
为了实现上述目的,本实用新型采用了如下技术方案:In order to achieve the above object, the utility model adopts the following technical solutions:
一种稀土料液分级萃取装置,包括支架,所述支架的上端竖向码放有多个萃取箱,最下方的所述萃取箱固定连接在支架的上端,所述萃取箱的下端对称固定有两个连接块,所述萃取箱的上端对称设有两个与连接块对应的连接槽,所述连接块的侧壁上设有连接机构,所述萃取箱的上端开设有稀土料液进口,所述萃取箱的下端连接有与稀土料液进口对应的过液管,所述过液管上设有第四阀门,所述支架的下方设有最下方萃取箱上的过液管连接的收集机构,所述萃取箱的内部设有搅拌机构,所述萃取箱的侧壁上连接有上下设置的萃取液进管、泄流管,所述萃取液进管、泄流管上分别设有第二阀门、第三阀门。A rare earth material-liquid graded extraction device, comprising a bracket, the upper end of the bracket is vertically stacked with a plurality of extraction boxes, the lowermost extraction box is fixedly connected to the upper end of the bracket, and the lower end of the extraction box is symmetrically fixed with two two connecting blocks, the upper end of the extraction box is symmetrically provided with two connecting grooves corresponding to the connecting blocks, the side wall of the connecting block is provided with a connecting mechanism, and the upper end of the extraction box is provided with a rare earth material liquid inlet, so that The lower end of the extraction box is connected with a liquid pipe corresponding to the inlet of the rare earth material liquid, the liquid pipe is provided with a fourth valve, and the bottom of the bracket is provided with a collection mechanism connected to the liquid pipe on the bottom extraction box , the interior of the extraction box is provided with a stirring mechanism, the side wall of the extraction box is connected with an extraction liquid inlet pipe and a discharge pipe arranged up and down, and the extraction liquid inlet pipe and the discharge pipe are respectively provided with a second Valve, third valve.
优选地,所述连接机构包括贯穿设置在连接块侧壁上的插杆,所述插杆套装有拉簧,所述拉簧的一端固定连接在插杆上,所述拉簧的另一端固定连接在连接块上,所述连接槽的内壁上设有与插杆对应的插槽。Preferably, the connecting mechanism includes an inserting rod that runs through the side wall of the connecting block, the inserting rod is covered with a tension spring, one end of the extension spring is fixedly connected to the inserting rod, and the other end of the extension spring is fixed Connected to the connection block, the inner wall of the connection groove is provided with a slot corresponding to the insertion rod.
优选地,所述搅拌机构包括安装在萃取箱上端的电机,所述电机输出轴贯穿至萃取箱内部并固定连接有搅拌杆。Preferably, the stirring mechanism includes a motor installed on the upper end of the extraction box, and the output shaft of the motor penetrates into the extraction box and is fixedly connected with a stirring rod.
优选地,所述收集机构包括连接在过液管上的排出管,所支架的下方设有吸泵、收集箱,所述吸泵的输入端与排出管连接,所述吸泵的输出端连接有与收集箱连接的卸料管,所述排出管上设有第一阀门。Preferably, the collection mechanism includes a discharge pipe connected to the liquid passing pipe, a suction pump and a collection box are arranged under the support, the input end of the suction pump is connected to the discharge pipe, and the output end of the suction pump is connected to There is a discharge pipe connected with the collection box, and a first valve is arranged on the discharge pipe.
优选地,所述萃取箱的下端对称固定有两个垫块。Preferably, two pads are symmetrically fixed to the lower end of the extraction box.
优选地,所述稀土料液进口内壁上嵌装有密封圈。Preferably, a sealing ring is embedded on the inner wall of the rare earth feed liquid inlet.
本实用新型的有益效果:The beneficial effects of the utility model:
通过设置多个萃取箱,可根据实际萃取的级别需要,选用对应数量的萃取箱,使用更便捷,使用灵活、适用性高。By setting multiple extraction boxes, the corresponding number of extraction boxes can be selected according to the actual level of extraction, which is more convenient to use, flexible to use, and high in applicability.
通过设置连接块、连接槽、连接机构,能够实现相邻萃取箱的便捷连接安装,且拆卸简单,方便操作。By setting the connection block, the connection groove and the connection mechanism, the convenient connection and installation of adjacent extraction boxes can be realized, and the disassembly is simple and convenient to operate.
本实用新型可根据实际萃取的级别需要,选用对应数量的萃取箱,使用灵活、适用性高,且相邻萃取箱拆装便捷,方便操作。The utility model can select a corresponding number of extraction boxes according to the actual level of extraction, which is flexible in use and high in applicability, and the adjacent extraction boxes are convenient to disassemble and operate.
附图说明Description of drawings
图1为本实用新型提出的一种稀土料液分级萃取装置的结构示意图;Fig. 1 is the structural representation of a kind of rare earth material liquid graded extraction device proposed by the utility model;
图2为本实用新型提出的一种稀土料液分级萃取装置的萃取箱内部的结构示意图;Fig. 2 is a structural schematic diagram inside the extraction box of a kind of rare earth feed liquid classification extraction device proposed by the utility model;
图3为本实用新型提出的一种稀土料液分级萃取装置的连接块、连接槽、连接机构的结构示意图。Fig. 3 is a structural schematic diagram of a connecting block, a connecting groove, and a connecting mechanism of a rare earth material-liquid graded extraction device proposed by the utility model.
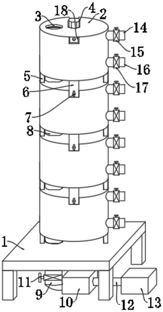
图中:1支架、2萃取箱、3稀土料液进口、4电机、5垫块、6连接块、7插杆、8过液管、9排出管、10吸泵、11第一阀门、12卸料管、13收集箱、14萃取液进管、15第二阀门、16泄流管、17第三阀门、18连接槽、19第四阀门、20搅拌杆、21密封圈、22插槽、23拉簧。In the figure: 1 bracket, 2 extraction box, 3 rare earth material liquid inlet, 4 motor, 5 cushion block, 6 connection block, 7 insert rod, 8 liquid pipe, 9 discharge pipe, 10 suction pump, 11 first valve, 12 Unloading pipe, 13 collection box, 14 extraction liquid inlet pipe, 15 second valve, 16 discharge pipe, 17 third valve, 18 connecting tank, 19 fourth valve, 20 stirring rod, 21 sealing ring, 22 slot, 23 extension springs.
具体实施方式detailed description
下面将结合本实用新型实施例中的附图,对本实用新型实施例中的技术方案进行清楚、完整地描述,显然,所描述的实施例仅仅是本实用新型一部分实施例,而不是全部的实施例。The technical solutions in the embodiments of the present invention will be clearly and completely described below in conjunction with the accompanying drawings in the embodiments of the present invention. Obviously, the described embodiments are only part of the embodiments of the present invention, not all of them. example.
在本实用新型的描述中,需要理解的是,术语“上”、“下”、“前”、“后”、“左”、“右”、“顶”、“底”、“内”、“外”等指示的方位或位置关系为基于附图所示的方位或位置关系,仅是为了便于描述本实用新型和简化描述,而不是指示或暗示所指的装置或元件必须具有特定的方位、以特定的方位构造和操作,因此不能理解为对本实用新型的限制。In describing the present utility model, it should be understood that the terms "upper", "lower", "front", "rear", "left", "right", "top", "bottom", "inner", The orientation or positional relationship indicated by "outside" is based on the orientation or positional relationship shown in the drawings, which is only for the convenience of describing the utility model and simplifying the description, rather than indicating or implying that the referred device or element must have a specific orientation , are constructed and operated in a specific orientation and therefore cannot be construed as limiting the invention.
参照图1-3,一种稀土料液分级萃取装置,包括支架1,支架1的上端竖向码放有多个萃取箱2,最下方的萃取箱2固定连接在支架1的上端,萃取箱2的下端对称固定有两个连接块6,萃取箱2的上端对称设有两个与连接块6对应的连接槽18,连接块6的侧壁上设有连接机构,萃取箱2的下端对称固定有两个垫块5,最下方的萃取箱2下端的垫块5固定连接在支架1上,萃取箱2的上端开设有稀土料液进口3,萃取箱2的下端连接有与稀土料液进口3对应的过液管8,稀土料液进口3内壁上嵌装有密封圈21,在相邻萃取箱2码放连接时,过液管8插入稀土料液进口3内能够有效密封,过液管8上设有第四阀门19,支架1的下方设有最下方萃取箱2上的过液管8连接的收集机构,萃取箱2的内部设有搅拌机构,萃取箱2的侧壁上连接有上下设置的萃取液进管14、泄流管16,萃取液进管14、泄流管16上分别设有第二阀门15、第三阀门17,通过萃取液进管14加入萃取液,通过泄流管16排出废液。Referring to Figures 1-3, a rare earth material-liquid graded extraction device includes a bracket 1, a plurality of
本实用新型中,连接机构包括贯穿设置在连接块6侧壁上的插杆7,插杆7套装有拉簧23,拉簧23的一端固定连接在插杆7上,拉簧23的另一端固定连接在连接块6上,连接槽18的内壁上设有与插杆7对应的插槽22,通过拉簧23的拉力作用在插杆7上,使得插杆7插入插槽22内,即可实现连接块6连接在连接槽18内,能够实现相邻萃取箱2的便捷连接安装,且拆卸简单,方便操作。In the present utility model, the connection mechanism includes the
搅拌机构包括安装在萃取箱2上端的电机4,电机4输出轴贯穿至萃取箱2内部并固定连接有搅拌杆20,通过电机4驱动搅拌杆20转动,能够对稀土料液进行搅拌,提高萃取效率。The stirring mechanism includes a motor 4 installed on the upper end of the
收集机构包括连接在过液管8上的排出管9,所支架1的下方设有吸泵10、收集箱13,吸泵10的输入端与排出管9连接,吸泵10的输出端连接有与收集箱13连接的卸料管12,排出管9上设有第一阀门11,打开第一阀门11,启动吸泵10,将稀土料液流入收集箱13中收集。The collection mechanism includes a
本实用新型使用时,通过稀土料液进口3向最上方的萃取箱2中加入稀土料液,通过萃取液进管14向萃取箱2中加入萃取液,启动电机4驱动搅拌杆20转动,对稀土料液进行搅拌,稀土料液在萃取箱2中萃取后沉积的萃取液通过过液管8流向下一个萃取箱2继续萃取,实现分级萃取,废液通过泄流管16排出,萃取完毕后,启动吸泵10,将稀土料液流入收集箱13中收集。When the utility model is in use, the rare earth material liquid is added to the
以上,仅为本实用新型较佳的具体实施方式,但本实用新型的保护范围并不局限于此,任何熟悉本技术领域的技术人员在本实用新型揭露的技术范围内,根据本实用新型的技术方案及其实用新型构思加以等同替换或改变,都应涵盖在本实用新型的保护范围之内。The above is only a preferred embodiment of the present utility model, but the scope of protection of the present utility model is not limited thereto. Anyone familiar with the technical field within the technical scope disclosed by the utility model, according to the utility model Any equivalent replacement or change of the technical solution and the concept of the utility model shall fall within the scope of protection of the utility model.
Claims (6)
Priority Applications (1)
| Application Number | Priority Date | Filing Date | Title |
|---|---|---|---|
| CN202222129056.XU CN218026275U (en) | 2022-08-12 | 2022-08-12 | A Rare Earth Feed Liquid Graded Extraction Device |
Applications Claiming Priority (1)
| Application Number | Priority Date | Filing Date | Title |
|---|---|---|---|
| CN202222129056.XU CN218026275U (en) | 2022-08-12 | 2022-08-12 | A Rare Earth Feed Liquid Graded Extraction Device |
Publications (1)
| Publication Number | Publication Date |
|---|---|
| CN218026275U true CN218026275U (en) | 2022-12-13 |
Family
ID=84348137
Family Applications (1)
| Application Number | Title | Priority Date | Filing Date |
|---|---|---|---|
| CN202222129056.XU Active CN218026275U (en) | 2022-08-12 | 2022-08-12 | A Rare Earth Feed Liquid Graded Extraction Device |
Country Status (1)
| Country | Link |
|---|---|
| CN (1) | CN218026275U (en) |
-
2022
- 2022-08-12 CN CN202222129056.XU patent/CN218026275U/en active Active
Similar Documents
| Publication | Publication Date | Title |
|---|---|---|
| CN201513200U (en) | Negative-pressure adjustable low-position water-inflow large-displacement automatic slag discharging and water draining device | |
| CN218026275U (en) | A Rare Earth Feed Liquid Graded Extraction Device | |
| CN213511405U (en) | Sewage centrifugal self-priming pump | |
| CN111804038A (en) | A kind of oil cement separation equipment | |
| CN212998566U (en) | Sludge discharge device for sewage treatment | |
| CN209115249U (en) | A kind of buoyancy-driven dosage liquid withdrawal device | |
| CN211144466U (en) | Multi-stage circulating degassing device | |
| CN218931789U (en) | Oil-water separator | |
| CN118768297A (en) | An automatic dosing device for mineral processing reagents | |
| CN211770622U (en) | Oil-water separator | |
| CN116655012A (en) | A kind of organic sewage treatment equipment | |
| CN219262359U (en) | Quantitative degassing system | |
| CN201460960U (en) | Drainage device for colliery gas extracting system | |
| CN110624296A (en) | High-efficient ore pulp dross removal mechanism | |
| CN212076587U (en) | Control system for automatically adding chemicals according to boiler water quality | |
| CN210945531U (en) | Tea-seed oil processing is with subsiding oil conveyor that leads | |
| CN210714536U (en) | Punching device for coal mining | |
| CN201786680U (en) | Full-automatic strong self-priming centrifugal pump | |
| CN221442779U (en) | Oil-gas separation device for air compressor | |
| CN208684479U (en) | A kind of chemical machinery oil receiving equipment | |
| CN108277677A (en) | A kind of paper pulp fiber retracting device | |
| CN206290498U (en) | A kind of servicing unit that liquid is extracted by vacuum power source | |
| CN206508600U (en) | A kind of efficiently straight vacuum extractor | |
| CN113402099B (en) | Oil removal lifting means with heating heat preservation function | |
| CN217449042U (en) | Extraction element is used in traditional chinese medicine processing |
Legal Events
| Date | Code | Title | Description |
|---|---|---|---|
| GR01 | Patent grant | ||
| GR01 | Patent grant |
