CN218011887U - 一种粉尘废气的净化处理装置 - Google Patents

一种粉尘废气的净化处理装置 Download PDF

Info

Publication number
CN218011887U
CN218011887U CN202221465957.XU CN202221465957U CN218011887U CN 218011887 U CN218011887 U CN 218011887U CN 202221465957 U CN202221465957 U CN 202221465957U CN 218011887 U CN218011887 U CN 218011887U
Authority
CN
China
Prior art keywords
purification treatment
gas purification
dust
waste gas
fixedly connected
Prior art date
Legal status (The legal status is an assumption and is not a legal conclusion. Google has not performed a legal analysis and makes no representation as to the accuracy of the status listed.)
Active
Application number
CN202221465957.XU
Other languages
English (en)
Inventor
王娜
刘梦迪
Current Assignee (The listed assignees may be inaccurate. Google has not performed a legal analysis and makes no representation or warranty as to the accuracy of the list.)
Yingkou Economic And Technological Development Zone Jinda Alloy Casting Co ltd
Original Assignee
Yingkou Economic And Technological Development Zone Jinda Alloy Casting Co ltd
Priority date (The priority date is an assumption and is not a legal conclusion. Google has not performed a legal analysis and makes no representation as to the accuracy of the date listed.)
Filing date
Publication date
Application filed by Yingkou Economic And Technological Development Zone Jinda Alloy Casting Co ltd filed Critical Yingkou Economic And Technological Development Zone Jinda Alloy Casting Co ltd
Priority to CN202221465957.XU priority Critical patent/CN218011887U/zh
Application granted granted Critical
Publication of CN218011887U publication Critical patent/CN218011887U/zh
Active legal-status Critical Current
Anticipated expiration legal-status Critical

Links

Images

Landscapes

  • Separation Of Particles Using Liquids (AREA)

Abstract

本实用新型公开了一种粉尘废气的净化处理装置,涉及废气净化领域,包括废气净化处理罐,废气净化处理罐的顶部连通有进气管,废气净化处理罐的一侧连通有出气管,废气净化处理罐的另一侧固定连接有驱动电机,驱动电机的输出端固定连接有驱动杆,驱动杆表面开设滑槽,滑槽的内部滑动连接有滑块,废气净化处理罐的内部中侧固定连接有过滤网,废气净化处理罐远离驱动杆的内壁固定连接有紫外线光源器;该粉尘废气的净化处理装置,通过进水管进水,之后通过雾喷口对废气中的粉尘进行湿润,防止粉尘密度过高造成爆炸,且通过转动杆对雾喷口的水进行再次分散,使水汽更好的弥漫整个空间,且移动到一端可以对粘连在过滤网上的粉尘进行刮除,提高过滤效果。

Description

一种粉尘废气的净化处理装置
技术领域
本实用新型涉及废气净化技术领域,具体涉及一种粉尘废气的净化处理装置。
背景技术
废气是指人类在生产和生活过程中排出的有毒有害的气体。特别是化工厂、钢铁厂、制药厂以及炼焦厂和炼油厂等,排放的废气气味大,严重污染环境和影响人体健康。粉尘,是指悬浮在空气中的固体微粒。习惯上对粉尘有许多名称,如灰尘、尘埃、烟尘、矿尘、砂尘、粉末等,这些名词没有明显的界限。国际标准化组织规定,粒径小于75μm的固体悬浮物定义为粉尘。在大气中粉尘的存在是保持地球温度的主要原因之一,大气中过多或过少的粉尘将对环境产生灾难性的影响。
现有的粉尘废气在进行净化处理时,废气在一个密闭的进行处理,会导致粉尘的密度过高,会有粉尘爆炸危险,从而会造成安全隐患,且在过滤中,灰尘会在过滤中吸附在过滤网上,从而会影响后续过滤效果。
实用新型内容
本实用新型的目的是提供一种粉尘废气的净化处理装置,以解决现有技术中的上述不足之处。
为了实现上述目的,本实用新型提供如下技术方案:一种粉尘废气的净化处理装置,包括废气净化处理罐,所述废气净化处理罐的顶部连通有进气管,所述废气净化处理罐的一侧连通有出气管,所述废气净化处理罐的另一侧固定连接有驱动电机,所述驱动电机的输出端固定连接有驱动杆,所述驱动杆的外表面开设有两个滑槽,所述滑槽的内部滑动连接有滑块,所述废气净化处理罐的内部中侧固定连接有过滤网,所述废气净化处理罐远离驱动杆的内壁固定连接有紫外线光源器。
进一步地,所述废气净化处理罐的外表面固定连接有控制面板,所述控制面板与驱动电机电性连接。
进一步地,所述驱动电机与废气净化处理罐的连接处开设有储水槽,所述储水槽的一侧连通有进水管,所述储水槽位于废气净化处理罐的一侧表面开设有若干个雾喷口。
进一步地,所述滑块的表面固定连接有转动杆,所述转动杆的材质为橡胶材质,所述进水管均设有三根。
进一步地,所述驱动杆位于滑槽的一端开设有放置槽,所述放置槽的内部固定连接有驱动马达。
进一步地,所述过滤网设有双层结构,所述过滤网位于驱动杆一侧的孔径比另一侧的孔径小。
与现有技术相比,本实用新型提供的一种粉尘废气的净化处理装置,通过进水管进水,之后通过雾喷口对废气中的粉尘进行湿润,防止粉尘密度过高造成爆炸,且通过转动杆对雾喷口的水进行再次分散,使水汽更好的弥漫整个空间,且移动到一端可以对粘连在过滤网上的粉尘进行刮除,提高过滤效果。
附图说明
为了更清楚地说明本申请实施例或现有技术中的技术方案,下面将对实施例中所需要使用的附图作简单地介绍,显而易见地,下面描述中的附图仅仅是本实用新型中记载的一些实施例,对于本领域普通技术人员来讲,还可以根据这些附图获得其他的附图。
图1为本实用新型实施例提供的整体结构示意图;
图2为本实用新型实施例提供的内部结构示意图;
图3为本实用新型实施例提供的驱动杆和转动杆结构安装使用示意图;
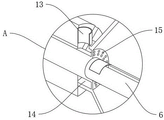
图4为本实用新型实施例提供的图2中A结构放大示意图。
附图标记说明:
1、废气净化处理罐;2、驱动电机;3、进气管;4、出气管;5、控制面板;6、驱动杆;7、过滤网;8、紫外线光源器;9、滑槽;10、放置槽;11、滑块;12、转动杆;13、进水管;14、储水槽;15、雾喷口。
具体实施方式
为了使本领域的技术人员更好地理解本实用新型的技术方案,下面将结合附图对本实用新型作进一步的详细介绍。
请参阅图1-4,一种粉尘废气的净化处理装置,包括废气净化处理罐1,废气净化处理罐1的顶部连通有进气管3,废气净化处理罐1的一侧连通有出气管4,废气净化处理罐1的另一侧固定连接有驱动电机2,驱动电机2的输出端固定连接有驱动杆6,驱动杆6的外表面开设有两个滑槽9,滑槽9的内部滑动连接有滑块11,废气净化处理罐1的内部中侧固定连接有过滤网7,废气净化处理罐1远离驱动杆6的内壁固定连接有紫外线光源器8。
本实施例中,废气净化处理罐1的外表面固定连接有控制面板5,控制面板5与驱动电机2控制连接,通过控制面板5与驱动电机2电性连接,可以控制驱动杆6的转动,进而控制转动杆12的抓到弄,对雾喷口的水进行再次分散,使水汽更好的弥漫整个空间。
本实施例中,驱动电机2与废气净化处理罐1的连接处开设有储水槽14,储水槽14的一侧连通有进水管13,储水槽14位于废气净化处理罐1的一侧表面开设有若干个雾喷口15,通过雾喷口15的设置,对废气中的粉尘进行湿润,防止粉尘密度过高造成爆炸。
本实施例中,滑块11的表面固定连接有转动杆12,转动杆12的材质为橡胶材质,进水管13均设有三根,通过将转动杆12设为橡胶材质,防止水对转动杆12的锈蚀,保障使用寿命。
本实施例中,驱动杆6位于滑槽9的一端开设有放置槽10,放置槽10的内部固定连接有驱动马达,通过转动杆12在滑槽9内部移动,可以对粘连在过滤网上的粉尘进行刮除,提高过滤效果。
本实施例中,过滤网7设有双层结构,过滤网7位于驱动杆6一侧的孔径比另一侧的孔径小,通过不同孔径的过滤网结构,可以提高过滤效果。
工作原理:使用时,连接进气管3进入废气,之后通过控制面板5控制驱动电机2转动,驱动电机2带动驱动杆6转动,驱动杆6可以带动转动杆12进行转动,之后通过进水管13进入水,通过雾喷口15将水喷进废气净化处理罐1中,驱动杆12的转动可以将水二次打散,使其水汽弥漫整个空间,之后通过过滤网7过滤,废气通过紫外线光源器8的紫外线杀毒,通过出气管4排出,在废气处理一段时间后,通过放置槽10内部的驱动马达带动滑块11在滑槽9内部滑动,将转动杆12移动到过滤网7处,通过转动将过滤网7表面的粘连的湿润粉尘刮掉,通过在过滤网7一侧开设出口将粉尘刮出。
以上只通过说明的方式描述了本实用新型的某些示范性实施例,毋庸置疑,对于本领域的普通技术人员,在不偏离本实用新型的精神和范围的情况下,可以用各种不同的方式对所描述的实施例进行修正。因此,上述附图和描述在本质上是说明性的,不应理解为对本实用新型权利要求保护范围的限制。

Claims (6)

1.一种粉尘废气的净化处理装置,包括废气净化处理罐(1),所述废气净化处理罐(1)的顶部连通有进气管(3),所述废气净化处理罐(1)的一侧连通有出气管(4),其特征在于,所述废气净化处理罐(1)的另一侧固定连接有驱动电机(2),所述驱动电机(2)的输出端固定连接有驱动杆(6),所述驱动杆(6)的外表面开设有两个滑槽(9),所述滑槽(9)的内部滑动连接有滑块(11),所述废气净化处理罐(1)的内部中侧固定连接有过滤网(7),所述废气净化处理罐(1)远离驱动杆(6)的内壁固定连接有紫外线光源器(8)。
2.根据权利要求1所述的一种粉尘废气的净化处理装置,其特征在于,所述废气净化处理罐(1)的外表面固定连接有控制面板(5),所述控制面板(5)与驱动电机(2)电性连接。
3.根据权利要求1所述的一种粉尘废气的净化处理装置,其特征在于,所述驱动电机(2)与废气净化处理罐(1)的连接处开设有储水槽(14),所述储水槽(14)的一侧连通有进水管(13),所述储水槽(14)位于废气净化处理罐(1)的一侧表面开设有若干个雾喷口(15)。
4.根据权利要求3所述的一种粉尘废气的净化处理装置,其特征在于,所述滑块(11)的表面固定连接有转动杆(12),所述转动杆(12)的材质为橡胶材质,所述进水管(13)均设有三根。
5.根据权利要求1所述的一种粉尘废气的净化处理装置,其特征在于,所述驱动杆(6)位于滑槽(9)的一端开设有放置槽(10),所述放置槽(10)的内部固定连接有驱动马达。
6.根据权利要求1所述的一种粉尘废气的净化处理装置,其特征在于,所述过滤网(7)设有双层结构,所述过滤网(7)位于驱动杆(6)一侧的孔径比另一侧的孔径小。
CN202221465957.XU 2022-06-13 2022-06-13 一种粉尘废气的净化处理装置 Active CN218011887U (zh)

Priority Applications (1)

Application Number Priority Date Filing Date Title
CN202221465957.XU CN218011887U (zh) 2022-06-13 2022-06-13 一种粉尘废气的净化处理装置

Applications Claiming Priority (1)

Application Number Priority Date Filing Date Title
CN202221465957.XU CN218011887U (zh) 2022-06-13 2022-06-13 一种粉尘废气的净化处理装置

Publications (1)

Publication Number Publication Date
CN218011887U true CN218011887U (zh) 2022-12-13

Family

ID=84376187

Family Applications (1)

Application Number Title Priority Date Filing Date
CN202221465957.XU Active CN218011887U (zh) 2022-06-13 2022-06-13 一种粉尘废气的净化处理装置

Country Status (1)

Country Link
CN (1) CN218011887U (zh)

Cited By (1)

* Cited by examiner, † Cited by third party
Publication number Priority date Publication date Assignee Title
CN118594150A (zh) * 2024-07-29 2024-09-06 江苏维德锅炉有限公司 一种环保型锅炉燃烧废气处理回收装置

Cited By (1)

* Cited by examiner, † Cited by third party
Publication number Priority date Publication date Assignee Title
CN118594150A (zh) * 2024-07-29 2024-09-06 江苏维德锅炉有限公司 一种环保型锅炉燃烧废气处理回收装置

Similar Documents

Publication Publication Date Title
CN206996247U (zh) 一种药厂烟气处理设备
CN218011887U (zh) 一种粉尘废气的净化处理装置
CN210114923U (zh) 有机废气光氧复合设备
CN207831467U (zh) 油烟净化装置及中央油烟净化设备
CN109569226A (zh) 一种焦化废气高效处理装置
CN205392065U (zh) 一种废气粉尘处理装置
CN205606683U (zh) 一种可有效去除细颗粒物的家用抽油烟机
CN210448538U (zh) 焦炉煤气高效燃烧中废气处理装置
CN207899198U (zh) 一种粉尘净化装置
CN108126423A (zh) 一种废气处理装置
CN204093243U (zh) 一种工业除尘净化装置
CN204684863U (zh) 一种简易液体吸附式除尘装置
CN112843970A (zh) 一种环保烟气处理装置
CN206660960U (zh) 一种炒药机废气处理装置
CN107243200B (zh) 精密过滤分离器及油烟废气净化设备
CN218774560U (zh) 一种火力发电烟气净化处理机构
CN208436563U (zh) 一种烟气脱硫余热循环利用装置
CN110107909A (zh) 一种具有余热利用的烟气多级处理收集装置
CN207667427U (zh) 一种油烟处理系统及采用该油烟处理系统的榨油系统
CN213527991U (zh) 一种生物炭成型燃料燃烧烟尘的清洁装置
CN209423343U (zh) 一种复合式废气处理设备
CN207591546U (zh) 一种废气处理设备
CN208512259U (zh) 一种多级烟气除尘塔
CN207102272U (zh) 组合式油烟废气净化系统
CN106422660A (zh) 一种废气净化装置

Legal Events

Date Code Title Description
GR01 Patent grant
GR01 Patent grant