CN217951319U - 一种单向阀的密封结构 - Google Patents
一种单向阀的密封结构 Download PDFInfo
- Publication number
- CN217951319U CN217951319U CN202221743043.5U CN202221743043U CN217951319U CN 217951319 U CN217951319 U CN 217951319U CN 202221743043 U CN202221743043 U CN 202221743043U CN 217951319 U CN217951319 U CN 217951319U
- Authority
- CN
- China
- Prior art keywords
- valve
- liquid
- sealing
- liquid outlet
- check valve
- Prior art date
- Legal status (The legal status is an assumption and is not a legal conclusion. Google has not performed a legal analysis and makes no representation as to the accuracy of the status listed.)
- Expired - Fee Related
Links
- 238000007789 sealing Methods 0.000 title claims abstract description 40
- 239000007788 liquid Substances 0.000 claims abstract description 63
- 230000000694 effects Effects 0.000 abstract description 2
- XLYOFNOQVPJJNP-UHFFFAOYSA-N water Substances O XLYOFNOQVPJJNP-UHFFFAOYSA-N 0.000 abstract description 2
- 230000009286 beneficial effect Effects 0.000 description 2
- 238000010586 diagram Methods 0.000 description 2
- 230000002411 adverse Effects 0.000 description 1
- 230000004075 alteration Effects 0.000 description 1
- 230000006835 compression Effects 0.000 description 1
- 238000007906 compression Methods 0.000 description 1
- 230000004048 modification Effects 0.000 description 1
- 238000012986 modification Methods 0.000 description 1
- 230000002265 prevention Effects 0.000 description 1
- 238000006467 substitution reaction Methods 0.000 description 1
Images
Landscapes
- Check Valves (AREA)
Abstract
本实用新型公开了一种单向阀的密封结构,包括进液阀基座和出液阀壳体,所述进液阀基座的右侧设置有密封凸环,所述出液阀壳体内腔的右侧固定连接有弹簧,所述弹簧的左端设置有导流球体,所述弹簧的另一侧固定连接有阀芯,所述阀芯的左侧开设有凹槽,所述凹槽的内侧固定连接有第二密封垫,所述出液阀壳体左端的顶部和底部均开设有导液孔。本实用新型通过第二密封垫和凹槽以及阀芯和密封凸环的作用,能够在阀芯基础密封的同时,增加两道密封,进而极大提高了本单向阀的密封性能,从而使得本单向阀达到了密封性能好且防泄漏的目的,解决了现有单向阀的密封性能不足,且容易造成泄漏的问题。
Description
技术领域
本实用新型涉及单向阀技术领域,具体为一种单向阀的密封结构。
背景技术
单向阀使流体只能沿进水口流动,出水口介质却无法回流,单向阀又称止回阀或逆止阀,一般用于液压系统中防止油流反向流动,或者用于气动系统中防止压缩空气逆向流动。但现有单向阀的密封性能不足,且容易造成泄漏,不利于人们的使用,为此,我们提出一种单向阀的密封结构。
实用新型内容
本实用新型的目的在于提供一种单向阀的密封结构,具备密封性能好且防泄漏的优点,解决了现有单向阀的密封性能不足,且容易造成泄漏,不利于人们使用的问题。
为实现上述目的,本实用新型提供如下技术方案:一种单向阀的密封结构,包括进液阀基座和出液阀壳体,所述进液阀基座的右侧设置有密封凸环,所述出液阀壳体内腔的右侧固定连接有弹簧,所述弹簧的左端设置有导流球体,所述弹簧的另一侧固定连接有阀芯,所述阀芯的左侧开设有凹槽,所述凹槽的内侧固定连接有第二密封垫,所述出液阀壳体左端的顶部和底部均开设有导液孔; 所述进液阀基座的内表面设置有进液口,所述进液阀基座的右端螺纹连接有出液阀壳体,所述进液阀基座和出液阀壳体之间设置有第一密封垫。
优选的,所述出液阀壳体右端的内表面开设有出液口,所述出液口内腔的左侧开设有通孔。
优选的,所述通孔的数量为多个,且相邻两个通孔之间的夹角均相等。
优选的,所述密封凸环的数量为两个,且密封凸环与第二密封垫的位置相互对应。
与现有技术相比,本实用新型的有益效果如下:
本实用新型通过第二密封垫和凹槽以及阀芯和密封凸环的作用,能够在阀芯基础密封的同时,增加两道密封,进而极大提高了本单向阀的密封性能,从而使得本单向阀达到了密封性能好且防泄漏的目的,解决了现有单向阀的密封性能不足,且容易造成泄漏,不利于人们使用的问题。
附图说明
图1为本实用新型结构示意图;
图2为本实用新型A处放大结构示意图;
图3为本实用新型阀芯左视结构示意图;
图4为本实用新型进液阀基座右视结构示意图。
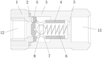
图中:1、进液阀基座;2、第一密封垫;3、出液阀壳体;4、阀芯;5、通孔;6、弹簧;7、导液孔;8、导流球体;9、密封凸环;10、凹槽;11、第二密封垫;12、进液口;13、出液口。
具体实施方式
下面将结合本实用新型实施例中的附图,对本实用新型实施例中的技术方案进行清楚、完整地描述,显然,所描述的实施例仅仅是本实用新型一部分实施例,而不是全部的实施例。基于本实用新型中的实施例,本领域普通技术人员在没有做出创造性劳动前提下所获得的所有其他实施例,都属于本实用新型保护的范围。
请参阅图1-4,一种单向阀的密封结构,包括进液阀基座1和出液阀壳体3,进液阀基座1的右侧设置有密封凸环9,出液阀壳体3内腔的右侧固定连接有弹簧6,弹簧6的左端设置有导流球体8,弹簧6的另一侧固定连接有阀芯4,阀芯4的左侧开设有凹槽10,凹槽10的内侧固定连接有第二密封垫11,出液阀壳体3左端的顶部和底部均开设有导液孔7,通过第二密封垫11和凹槽10以及阀芯4和密封凸环9的作用,能够在阀芯4基础密封的同时,增加两道密封,进而极大提高了本单向阀的密封性能,从而使得本单向阀达到了密封性能好且防泄漏的目的。
进液阀基座1的内表面设置有进液口12,进液阀基座1的右端螺纹连接有出液阀壳体3,进液阀基座1和出液阀壳体3之间设置有第一密封垫2。
出液阀壳体3右端的内表面开设有出液口13,出液口13内腔的左侧开设有通孔5。
通孔5的数量为多个,且相邻两个通孔5之间的夹角均相等。
密封凸环9的数量为两个,且密封凸环9与第二密封垫11的位置相互对应。
使用时,通过第一密封垫2的配合,使得进液阀基座1和出液阀壳体3之间密封连接,同时,阀芯4的左端堵塞进液口12,并且在弹簧6的辅助下,密封凸环9能够挤压第二密封垫11,使第二密封垫11内凹并包裹密封凸环9,从而增加了两道密封结构,在液体经进液口12进入本单向阀后,在其液体压力大于弹簧6张力后,液体能够推动阀芯4向右运动,并压缩弹簧6,进而液体能够经导液孔7和导流球体8的辅助,通过通孔5进入出液口13排出,反之,液体经出液口13进入出液阀壳体3内时,弹簧6恢复张力后能够再次进行密封,从而避免了液体的逆流,满足了人们的使用需求。
尽管已经示出和描述了本实用新型的实施例,对于本领域的普通技术人员而言,可以理解在不脱离本实用新型的原理和精神的情况下可以对这些实施例进行多种变化、修改、替换和变型,本实用新型的范围由所附权利要求及其等同物限定。
Claims (4)
1.一种单向阀的密封结构,包括进液阀基座(1)和出液阀壳体(3),其特征在于:所述进液阀基座(1)的右侧设置有密封凸环(9),所述出液阀壳体(3)内腔的右侧固定连接有弹簧(6),所述弹簧(6)的左端设置有导流球体(8),所述弹簧(6)的另一侧固定连接有阀芯(4),所述阀芯(4)的左侧开设有凹槽(10),所述凹槽(10)的内侧固定连接有第二密封垫(11),所述出液阀壳体(3)左端的顶部和底部均开设有导液孔(7); 所述进液阀基座(1)的内表面设置有进液口(12),所述进液阀基座(1)的右端螺纹连接有出液阀壳体(3),所述进液阀基座(1)和出液阀壳体(3)之间设置有第一密封垫(2)。
2.根据权利要求1所述的一种单向阀的密封结构,其特征在于:所述出液阀壳体(3)右端的内表面开设有出液口(13),所述出液口(13)内腔的左侧开设有通孔(5)。
3.根据权利要求2所述的一种单向阀的密封结构,其特征在于:所述通孔(5)的数量为多个,且相邻两个通孔(5)之间的夹角均相等。
4.根据权利要求1所述的一种单向阀的密封结构,其特征在于:所述密封凸环(9)的数量为两个,且密封凸环(9)与第二密封垫(11)的位置相互对应。
Priority Applications (1)
| Application Number | Priority Date | Filing Date | Title |
|---|---|---|---|
| CN202221743043.5U CN217951319U (zh) | 2022-07-07 | 2022-07-07 | 一种单向阀的密封结构 |
Applications Claiming Priority (1)
| Application Number | Priority Date | Filing Date | Title |
|---|---|---|---|
| CN202221743043.5U CN217951319U (zh) | 2022-07-07 | 2022-07-07 | 一种单向阀的密封结构 |
Publications (1)
| Publication Number | Publication Date |
|---|---|
| CN217951319U true CN217951319U (zh) | 2022-12-02 |
Family
ID=84220594
Family Applications (1)
| Application Number | Title | Priority Date | Filing Date |
|---|---|---|---|
| CN202221743043.5U Expired - Fee Related CN217951319U (zh) | 2022-07-07 | 2022-07-07 | 一种单向阀的密封结构 |
Country Status (1)
| Country | Link |
|---|---|
| CN (1) | CN217951319U (zh) |
Cited By (1)
| Publication number | Priority date | Publication date | Assignee | Title |
|---|---|---|---|---|
| CN117985349A (zh) * | 2024-04-03 | 2024-05-07 | 山东凯布尔化工有限公司 | 一种均四甲苯投料用密闭罐 |
-
2022
- 2022-07-07 CN CN202221743043.5U patent/CN217951319U/zh not_active Expired - Fee Related
Cited By (2)
| Publication number | Priority date | Publication date | Assignee | Title |
|---|---|---|---|---|
| CN117985349A (zh) * | 2024-04-03 | 2024-05-07 | 山东凯布尔化工有限公司 | 一种均四甲苯投料用密闭罐 |
| CN117985349B (zh) * | 2024-04-03 | 2024-05-31 | 山东凯布尔化工有限公司 | 一种均四甲苯投料用密闭罐 |
Similar Documents
| Publication | Publication Date | Title |
|---|---|---|
| CN208687000U (zh) | 一种双向密封浮动硬密封球阀弹簧防压并结构 | |
| CN217951319U (zh) | 一种单向阀的密封结构 | |
| CN216477779U (zh) | 隔膜压缩机气缸密封结构、压缩气缸及隔膜压缩机 | |
| CN114776578A (zh) | 防外泄内循环式柱塞泵 | |
| CN217421504U (zh) | 防外泄内循环式柱塞泵 | |
| CN201215192Y (zh) | 一种改良结构的球阀 | |
| CN204140344U (zh) | 一种隔膜泵的密封结构 | |
| CN213270530U (zh) | 一种油气混用的分体式缸体 | |
| CN215806546U (zh) | 一种防止泄漏的止回阀 | |
| CN214063975U (zh) | 提升阀填料室密封结构 | |
| CN214699322U (zh) | 一种新型气动三通阀 | |
| CN211289194U (zh) | 替代管道进出口检修阀门的塞式密封装置 | |
| CN209213061U (zh) | 一种控水单向球阀 | |
| CN222046633U (zh) | 一种截止阀 | |
| CN212717962U (zh) | 抽气阀操作座防漏水o型圈 | |
| CN220956828U (zh) | 一种应用于插装阀的密封结构 | |
| CN222543007U (zh) | 一种可调节式密封圈 | |
| CN220416217U (zh) | 一种免弹簧的橡胶泛塞密封圈 | |
| CN218913712U (zh) | 一种密封圈 | |
| CN223399268U (zh) | 一种高密性能的电磁阀芯 | |
| CN218992468U (zh) | 一种具有防泄漏效果的止回阀 | |
| CN220102176U (zh) | 高压导流止回阀 | |
| CN217301764U (zh) | 一种长寿命卸荷阀 | |
| CN222185937U (zh) | 一种密封调节止回阀 | |
| CN223257587U (zh) | 一种密封效果好的球形截止阀 |
Legal Events
| Date | Code | Title | Description |
|---|---|---|---|
| GR01 | Patent grant | ||
| GR01 | Patent grant | ||
| CF01 | Termination of patent right due to non-payment of annual fee |
Granted publication date: 20221202 |
|
| CF01 | Termination of patent right due to non-payment of annual fee |