CN217946499U - Vertical transmission device of Lithocarpus litseifolius leaf - Google Patents
Vertical transmission device of Lithocarpus litseifolius leaf Download PDFInfo
- Publication number
- CN217946499U CN217946499U CN202222380671.8U CN202222380671U CN217946499U CN 217946499 U CN217946499 U CN 217946499U CN 202222380671 U CN202222380671 U CN 202222380671U CN 217946499 U CN217946499 U CN 217946499U
- Authority
- CN
- China
- Prior art keywords
- protective shell
- leaves
- hopper
- pulley
- vertical
- Prior art date
- Legal status (The legal status is an assumption and is not a legal conclusion. Google has not performed a legal analysis and makes no representation as to the accuracy of the status listed.)
- Expired - Fee Related
Links
Images
Landscapes
- Combined Means For Separation Of Solids (AREA)
Abstract
本实用新型公开了一种木姜叶柯叶片立式传输装置,包括防护外壳、支撑底座、进料斗和出料斗,防护外壳内腔设置有用于木姜叶柯叶片竖直上料的立式输送机构,出料斗内腔底部固定设置有呈倾斜状的板式滤网,板式滤网的底端固定设置有漏斗罩,漏斗罩的底端通过铰链铰接设置有封口板,漏斗罩两侧外壁均转动设置有用于封口板自动开闭的伸缩气缸。本实用新型利用出料斗内设置的板式滤网,再配合漏斗罩、封口板和伸缩气缸的设置,能够对经过防护外壳内立式输送机构输送的木姜叶柯叶片进行出料及筛分,使得从出料斗排出的物料夹杂的碎屑较少,以达到提高木姜叶柯叶片的生产质量,从而提高对立式输送装置对木姜叶柯叶片的输送质量。
The utility model discloses a vertical conveying device for the blades of A. japonica, which comprises a protective shell, a support base, a feeding hopper and a hopper for discharging. The bottom of the inner cavity of the hopper is fixed with an inclined plate filter, the bottom of the plate filter is fixed with a funnel cover, the bottom of the funnel cover is hinged with a sealing plate, and the outer walls on both sides of the funnel cover are rotated. A telescopic cylinder for automatic opening and closing of the sealing plate. The utility model utilizes the plate filter set in the discharge hopper, cooperates with the setting of the funnel cover, the sealing plate and the telescopic cylinder, and can discharge and sieve the leaves of the arborescens that are transported by the vertical conveying mechanism in the protective shell, so that the The material discharged from the hopper contains less debris, so as to improve the production quality of the leaves of Mujiang Yeke, so as to improve the conveying quality of the leaves of Mu Jiang Yeke by the opposite conveying device.
Description
技术领域technical field
本实用新型涉及立式传输装置技术领域,特别涉及一种木姜叶柯叶片立式传输装置。The utility model relates to the technical field of vertical conveying devices, in particular to a vertical conveying device for the blades of arborescens.
背景技术Background technique
传统的木姜叶柯叶片筛分机上料输送采用倾斜开放式结构,在物料传输过程中粉尘多,易漏料和受到外部污染,工作环境差且占地面积大。采用立式的输送设备具有占地面积小、封闭式传输过程,无粉尘泄露,能够有效避免木姜叶柯叶片受到污染。The feeding and conveying of the traditional Mujiangyeke blade screening machine adopts an inclined open structure. During the material transmission process, there is a lot of dust, easy to leak and be polluted by the outside, the working environment is poor and the floor area is large. The vertical conveying equipment has a small footprint, a closed transmission process, and no dust leakage, which can effectively prevent the leaves from being polluted.
在现今使用立式传输设备进行木姜叶柯叶片的传输作业时,木姜叶柯叶片中难免存在由于运输或倒料过程出现破碎的成分,这些破碎的木姜叶柯叶片直接通过立式传输设备进行上料会导致后续生产的木姜叶柯叶片的质量降低,而现今使用的立式传输装置无法讲破碎的木姜叶柯叶片筛选出,从而降低了对木姜叶柯叶片的输送质量。When vertical transmission equipment is used for the transmission of the leaves of Xingerleaf, it is unavoidable that there will be broken components in the leaves of Xingerifolia due to the transportation or unloading process, and the direct feeding of these broken Xingerifolia leaves through the vertical transmission equipment will cause The quality of the subsequent production of the leaves of A. japonica is reduced, and the vertical conveying device used today cannot screen out the broken leaves of the .
实用新型内容Utility model content
本实用新型的目的在于提供一种木姜叶柯叶片立式传输装置,以解决上述背景技术中提出的问题。The purpose of this utility model is to provide a kind of vertical transmission device for the blades of Xingjiangyeke to solve the problems raised in the above-mentioned background technology.
为实现上述目的,本实用新型提供如下技术方案:一种木姜叶柯叶片立式传输装置,包括:In order to achieve the above purpose, the utility model provides the following technical solutions: a vertical transmission device for the blades of Ginger Yeke, comprising:
防护外壳,所述防护外壳内腔设置有用于木姜叶柯叶片竖直上料的立式输送机构;A protective shell, the inner cavity of the protective shell is provided with a vertical conveying mechanism for the vertical feeding of the leaves of Mujiang Yeke;
支撑底座,设置于防护外壳的底端,用于防护外壳的支撑;The supporting base is arranged at the bottom of the protective shell for supporting the protective shell;
进料斗,与防护外壳一侧底部固定连通,用于木姜叶柯叶片的进料;The feeding hopper is fixedly connected with the bottom of one side of the protective shell, and is used for feeding the leaves of Mujiang Yeke;
出料斗,与防护外壳另一侧顶部固定连通,用于木姜叶柯叶片的出料;The discharge hopper is fixedly communicated with the top of the other side of the protective shell, and is used for discharging the leaves of Mujiangyeke;
所述出料斗内腔底部固定设置有呈倾斜状的板式滤网,所述板式滤网的底端固定设置有漏斗罩,所述漏斗罩的底端通过铰链铰接设置有封口板,所述漏斗罩两侧外壁均转动设置有用于封口板自动开闭的伸缩气缸。The bottom of the inner cavity of the hopper is fixedly provided with an inclined plate filter screen, the bottom end of the plate filter screen is fixedly provided with a funnel cover, and the bottom end of the funnel cover is hinged to be provided with a sealing plate. The outer walls on both sides of the cover are rotated and provided with telescopic cylinders for automatic opening and closing of the sealing plate.
优选的,所述出料斗的两侧及底端均为开口状,所述漏斗罩的内部空腔呈上宽下窄状,所述板式滤网靠近防护外壳的一端高度较高。Preferably, both sides and the bottom end of the hopper are open, the inner cavity of the funnel cover is wide at the top and narrow at the bottom, and the height of the plate filter close to the protective shell is higher.
优选的,所述立式输送机构包括两个驱动辊,两个所述驱动辊分别转动设置于防护外壳内腔的顶部和底部,两个所述驱动辊的外壁传动套设有同步带,所述同步带的外壁间隔固定设置有多个取料斗。Preferably, the vertical conveying mechanism includes two driving rollers, the two driving rollers are respectively rotatably arranged on the top and bottom of the inner cavity of the protective shell, and the outer wall transmission sleeves of the two driving rollers are provided with a timing belt, so The outer wall of the synchronous belt is fixedly provided with a plurality of feeding hoppers at regular intervals.
优选的,所述防护外壳的顶部设置有用于立式输送机构运动的驱动机构,所述驱动机构包括固定设置于防护外壳外壁顶部的驱动电机,所述驱动电机的输出轴通过设置的联动组件与位于防护外壳顶部的驱动辊传动连接。Preferably, the top of the protective shell is provided with a drive mechanism for the movement of the vertical conveying mechanism, the drive mechanism includes a drive motor fixed on the top of the outer wall of the protective shell, and the output shaft of the drive motor communicates with the The drive roller drive connection located on top of the protective housing.
优选的,所述联动组件包括第一带轮、第二带轮和传动带,所述第一带轮传动设置于对应位置的驱动辊的端部,所述第二带轮传动设置于驱动电机输出轴的端部,所述传动带套设于第一带轮和第二带轮的外壁。Preferably, the linkage assembly includes a first pulley, a second pulley and a drive belt, the first pulley is set at the end of the driving roller at the corresponding position, and the second pulley is set at the output of the drive motor At the end of the shaft, the drive belt is sheathed on the outer walls of the first pulley and the second pulley.
优选的,所述防护外壳的底部通过开设的安装孔固定设置有弧形滤网,所述支撑底座的内部开设有与弧形滤网相连通的导料腔,所述支撑底座的外壁固定设置有与导料腔相连通的出料管。Preferably, the bottom of the protective shell is fixedly provided with an arc-shaped filter screen through the opened installation hole, the inside of the support base is provided with a material guide chamber connected with the arc-shaped filter screen, and the outer wall of the support base is fixedly provided with There is a discharge pipe communicated with the material guide chamber.
本实用新型的技术效果和优点:Technical effect and advantage of the present utility model:
(1)本实用新型利用出料斗内设置的板式滤网,再配合漏斗罩、封口板和伸缩气缸的设置,能够对经过防护外壳内立式输送机构输送的木姜叶柯叶片进行出料及筛分,使得从出料斗排出的物料夹杂的碎屑较少,以达到提高木姜叶柯叶片的生产质量,从而提高对立式输送装置对木姜叶柯叶片的输送质量;(1) The utility model utilizes the plate filter set in the discharge hopper, and cooperates with the setting of the funnel cover, the sealing plate and the telescopic cylinder, and can discharge and sieve the leaves of the arborescens that are transported by the vertical conveying mechanism in the protective shell, It makes the material discharged from the hopper contain less debris, so as to improve the production quality of the leaves of Mujiang Yeke, so as to improve the conveying quality of the leaves of Mu Jiang Yeke by the opposite conveying device;
(2)本实用新型利用防护外壳和支撑底座上设置的弧形滤网、导料腔和出料管,使得从进料斗进入防护外壳内的木姜叶柯叶片能够经过初步筛分,将部分碎屑排出,使得立式输送机构输送的木姜叶柯叶片质量更高,从而进一步提高了对木姜叶柯叶片的输送质量。(2) The utility model utilizes the arc-shaped filter screen, the material guide cavity and the discharge pipe provided on the protective shell and the supporting base, so that the leaves of the genus Lemongrass that enter the protective shell from the feed hopper can be screened initially, and some of them will be crushed. Chips are discharged, so that the quality of the leaves of Mujiang Yeke conveyed by the vertical conveying mechanism is higher, thereby further improving the quality of conveying the leaves of Mu Jiang Yeke.
附图说明Description of drawings
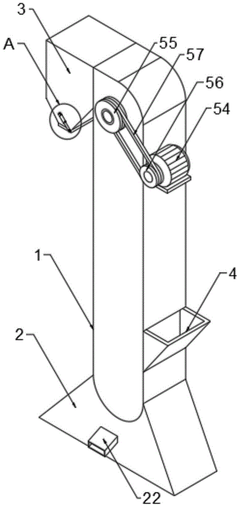
图1为本实用新型立体结构示意图。Fig. 1 is a schematic diagram of the three-dimensional structure of the utility model.
图2为本实用新型正面剖视结构示意图。Fig. 2 is a frontal cross-sectional structural diagram of the utility model.
图3为本实用新型图1的A处局部放大结构示意图。Fig. 3 is a schematic diagram of a partially enlarged structure at A in Fig. 1 of the present utility model.
图中:1、防护外壳;11、弧形滤网;2、支撑底座;21、导料腔;22、出料管;3、出料斗;31、板式滤网;32、漏斗罩;33、封口板;34、伸缩气缸;4、进料斗;5立式输送机构;51、驱动辊;52、同步带;53、取料斗;54、驱动电机;55、第一带轮;56、第二带轮;57、传动带。In the figure: 1. Protective shell; 11. Curved filter screen; 2. Support base; 21. Material guide cavity; 22. Discharge pipe; 3. Discharge hopper; 31. Plate filter screen; 32. Funnel cover; 33. Sealing plate; 34, telescopic cylinder; 4, feed hopper; 5 vertical conveying mechanism; 51, driving roller; 52, synchronous belt; 53, retrieving hopper; Two pulleys; 57, transmission belt.
具体实施方式Detailed ways
下面将结合本实用新型实施例中的附图,对本实用新型实施例中的技术方案进行清楚、完整地描述,显然,所描述的实施例仅仅是本实用新型一部分实施例,而不是全部的实施例。基于本实用新型中的实施例,本领域普通技术人员在没有做出创造性劳动前提下所获得的所有其他实施例,都属于本实用新型保护的范围。The technical solutions in the embodiments of the present invention will be clearly and completely described below in conjunction with the accompanying drawings in the embodiments of the present invention. Obviously, the described embodiments are only part of the embodiments of the present invention, not all of them. example. Based on the embodiments of the present utility model, all other embodiments obtained by persons of ordinary skill in the art without making creative efforts belong to the scope of protection of the present utility model.
本实用新型提供了如图1-3所示的一种木姜叶柯叶片立式传输装置,包括:The utility model provides a vertical transmission device for the blades of arborescens as shown in Figure 1-3, comprising:
防护外壳1,防护外壳1内腔设置有用于木姜叶柯叶片竖直上料的立式输送机构5,防护外壳1的顶部和底部均呈半圆头状,防护外壳1的底部通过开设的安装孔固定设置有弧形滤网11,弧形滤网11和板式滤网31均可由不锈钢片表面遍布开设滤孔制得,通过弧形滤网11对进入到防护外壳1内的木姜叶柯叶片进行初步筛分;The protective shell 1, the inner cavity of the protective shell 1 is provided with a
支撑底座2,设置于防护外壳1的底端,用于防护外壳1的支撑,支撑底座2的内部开设有与弧形滤网11相连通的导料腔21,支撑底座2的外壁固定设置有与导料腔21相连通的出料管22,利用导料腔21的开设,使得从弧形滤网11滤出的碎渣可以进入到导料腔21内,并顺着导料腔21从出料管22排出;The supporting
进料斗4,与防护外壳1一侧底部固定连通,用于木姜叶柯叶片的进料;The
出料斗3,出料斗3的两侧及底端均为开口状,与防护外壳1另一侧顶部固定连通,用于木姜叶柯叶片的出料。The discharge hopper 3, the two sides and the bottom of the
出料斗3内腔底部固定设置有呈倾斜状的板式滤网31,板式滤网31的底端固定设置有漏斗罩32,倾斜设置的板式滤网31,使得从其上滚落的木姜叶柯叶片能够达到一个过滤的目的,使得其中夹杂的碎渣能够过滤出落入到漏斗罩32内进行储存,漏斗罩32的底端通过铰链铰接设置有封口板33,漏斗罩32的内部空腔呈上宽下窄状,板式滤网31靠近防护外壳1的一端高度较高,漏斗罩32两侧外壁均转动设置有用于封口板33自动开闭的伸缩气缸34,伸缩气缸34和驱动电机54分别通过外接开关与外部电源电性连接,利用伸缩气缸34动作伸长,带动封口板33围绕铰链转动,将漏斗罩32的端口打开,方便收集的碎渣的排料;The bottom of the inner cavity of the
立式输送机构5包括两个驱动辊51,两个驱动辊51分别转动设置于防护外壳1内腔的顶部和底部,两个驱动辊51的外壁传动套设有同步带52,同步带52的外壁间隔固定设置有多个取料斗53,防护外壳1的顶部设置有用于立式输送机构5运动的驱动机构,驱动机构包括固定设置于防护外壳1外壁顶部的驱动电机54,驱动电机54的输出轴通过设置的联动组件与位于防护外壳1顶部的驱动辊51传动连接,驱动电机54的输出通过联动组件带动其中一个驱动辊51转动,使得同步带52能够在两个驱动辊51的外壁循环移动,从而使同步带52外壁的多个取料斗53能够对防护外壳1内腔底部的木姜叶柯叶片进行取料以及向上输送,最后从防护外壳1与出料斗3连接位置出倒出,进入到出料斗3的板式滤网31上下料;
联动组件包括第一带轮55、第二带轮56和传动带57,第一带轮55传动设置于对应位置的驱动辊51的端部,第二带轮56传动设置于驱动电机54输出轴的端部,传动带57套设于第一带轮55和第二带轮56的外壁,利用第一带轮55、第二带轮56和传动带57的同步传动作用,使得驱动电机54能够稳定的带动驱动辊51转动。The linkage assembly includes a
本实用新型工作原理:木姜叶柯叶片从进料斗4倒入到防护外壳1内,木姜叶柯叶片滑落到防护外壳1内的弧形滤网11位置出,使得木姜叶柯叶片内部分碎屑从弧形滤网11进入到导料腔21内并从出料管22排出,随后通过立式输送机构5将防护外壳1内的木姜叶柯叶片从低处输送到高处后从出料斗3排出,木姜叶柯叶片顺着板式滤网31滚落时,直径较小的碎屑从板式滤网31的网孔漏出,储存在漏斗罩32内,操作者只需控制伸缩气缸34动作,使伸缩气缸34伸长带动封口板33转动即可将漏斗罩32底端端口打开。The working principle of the utility model: the blades of the genus japonica are poured into the protective shell 1 from the
在本实用新型的描述中,除非另有明确的规定和限定,术语“设置”、“安装”、“相连”、“连接”、“固定”应做广义理解,例如,可以是固定连接,也可以是可拆卸连接,或成一体;可以是机械连接,也可以是电连接;可以是直接相连,也可以通过中间媒介间接相连,可以是两个元件内部的连通或两个元件的相互作用关系。对于本领域的普通技术人员而言,可以具体情况理解上述术语在本实用新型中的具体含义。In the description of the present utility model, unless otherwise clearly stipulated and limited, the terms "installation", "installation", "connection", "connection", and "fixation" should be understood in a broad sense, for example, it can be a fixed connection, or It can be a detachable connection or integrated; it can be a mechanical connection or an electrical connection; it can be a direct connection or an indirect connection through an intermediary; it can be the internal communication of two components or the interaction relationship between two components . Those of ordinary skill in the art can understand the specific meanings of the above terms in the present utility model in specific situations.
本实用新型使用到的标准零件均可以从市场上购买,异形件根据说明书的和附图的记载均可以进行订制。The standard parts used by the utility model can be purchased from the market, and the special-shaped parts can be customized according to the description and the accompanying drawings.
尽管已经示出和描述了本实用新型的实施例,对于本领域的普通技术人员而言,可以理解在不脱离本实用新型的原理和精神的情况下可以对这些实施例进行多种变化、修改、替换和变型,本实用新型的范围由所附权利要求及其等同物限定。Although the embodiments of the present invention have been shown and described, those skilled in the art can understand that various changes and modifications can be made to these embodiments without departing from the principle and spirit of the present invention , replacements and modifications, the scope of the present utility model is defined by the appended claims and their equivalents.
Claims (6)
Priority Applications (1)
| Application Number | Priority Date | Filing Date | Title |
|---|---|---|---|
| CN202222380671.8U CN217946499U (en) | 2022-09-07 | 2022-09-07 | Vertical transmission device of Lithocarpus litseifolius leaf |
Applications Claiming Priority (1)
| Application Number | Priority Date | Filing Date | Title |
|---|---|---|---|
| CN202222380671.8U CN217946499U (en) | 2022-09-07 | 2022-09-07 | Vertical transmission device of Lithocarpus litseifolius leaf |
Publications (1)
| Publication Number | Publication Date |
|---|---|
| CN217946499U true CN217946499U (en) | 2022-12-02 |
Family
ID=84211280
Family Applications (1)
| Application Number | Title | Priority Date | Filing Date |
|---|---|---|---|
| CN202222380671.8U Expired - Fee Related CN217946499U (en) | 2022-09-07 | 2022-09-07 | Vertical transmission device of Lithocarpus litseifolius leaf |
Country Status (1)
| Country | Link |
|---|---|
| CN (1) | CN217946499U (en) |
-
2022
- 2022-09-07 CN CN202222380671.8U patent/CN217946499U/en not_active Expired - Fee Related
Similar Documents
| Publication | Publication Date | Title |
|---|---|---|
| CN217376048U (en) | Anti-blocking device on screw conveyer | |
| CN217946499U (en) | Vertical transmission device of Lithocarpus litseifolius leaf | |
| CN117718224A (en) | Novel graphite screening machine | |
| CN117125421A (en) | Closed screw conveyor and conveying method thereof | |
| CN211756816U (en) | Gastrodia elata sieving mechanism | |
| CN221907370U (en) | Novel broken crushing and mixing integrated equipment of medicinal material | |
| CN209935190U (en) | A special equipment for producing water-milled glutinous rice flour dumplings | |
| CN221693280U (en) | A high-efficient dissolving device for rosin | |
| CN220919853U (en) | Screening device for fish feed | |
| CN219334511U (en) | Machining feeding auxiliary device | |
| CN210752884U (en) | A coarse material screening machine | |
| CN213010347U (en) | Rice assembly line processing conveyer | |
| CN116408333A (en) | Solid waste separation compaction treatment facility based on municipal environment | |
| CN219098141U (en) | Automatic powder feeding equipment | |
| CN221717510U (en) | A nylon particle screening device | |
| CN209953252U (en) | A kind of repeated stone separator for separation of stone and soil | |
| CN216704515U (en) | A kind of waste nut shell environmental protection treatment device for nut production | |
| CN215141824U (en) | A high-efficiency screening device for concrete raw materials | |
| CN219708154U (en) | Feeding mechanism for edible oil raw material processing | |
| CN217221835U (en) | Raw materials reducing mechanism is used in essence production and processing | |
| CN218155364U (en) | Rapeseed drying equipment | |
| CN218210628U (en) | Rice drying and transporting machine | |
| CN221764149U (en) | Drum type rice drying equipment | |
| CN221934513U (en) | Lotus seed screening machine | |
| CN218531189U (en) | Solid waste treatment equipment |
Legal Events
| Date | Code | Title | Description |
|---|---|---|---|
| GR01 | Patent grant | ||
| GR01 | Patent grant | ||
| CF01 | Termination of patent right due to non-payment of annual fee |
Granted publication date: 20221202 |
