CN217924125U - 一种槽钢支座结构 - Google Patents
一种槽钢支座结构 Download PDFInfo
- Publication number
- CN217924125U CN217924125U CN202222294472.5U CN202222294472U CN217924125U CN 217924125 U CN217924125 U CN 217924125U CN 202222294472 U CN202222294472 U CN 202222294472U CN 217924125 U CN217924125 U CN 217924125U
- Authority
- CN
- China
- Prior art keywords
- channel
- bottom plate
- main part
- steel main
- channel steel
- Prior art date
- Legal status (The legal status is an assumption and is not a legal conclusion. Google has not performed a legal analysis and makes no representation as to the accuracy of the status listed.)
- Active
Links
- 229910000831 Steel Inorganic materials 0.000 title claims abstract description 69
- 239000010959 steel Substances 0.000 title claims abstract description 69
- 230000006978 adaptation Effects 0.000 claims description 7
- 230000008093 supporting effect Effects 0.000 abstract description 15
- 230000005484 gravity Effects 0.000 abstract description 4
- 239000006185 dispersion Substances 0.000 abstract description 2
- OKTJSMMVPCPJKN-UHFFFAOYSA-N Carbon Chemical compound [C] OKTJSMMVPCPJKN-UHFFFAOYSA-N 0.000 description 1
- 229910000746 Structural steel Inorganic materials 0.000 description 1
- 230000009286 beneficial effect Effects 0.000 description 1
- 229910052799 carbon Inorganic materials 0.000 description 1
- 238000010276 construction Methods 0.000 description 1
- 230000000694 effects Effects 0.000 description 1
- 238000004519 manufacturing process Methods 0.000 description 1
Images
Landscapes
- Revetment (AREA)
Abstract
本实用新型提供一种槽钢支座结构,涉及槽钢支座技术领域,包括底板,所述底板上设置有固定板,所述底板的顶端设置有槽钢主体;支撑结构,所述支撑结构包括支撑杆,所述支撑杆安装在槽钢主体的内部,所述支撑杆的外侧对称设置有衔接块,两组所述衔接块的顶端设置有转轴,所述转轴外侧铰接有连接杆,所述槽钢主体的底部对称安装有连接块,所述连接杆的顶端与连接块相连接,本实用新型设置的支撑结构,在进行支撑物品时将槽钢主体的承重力提升,可以防止槽钢主体承受重力过重出现变形的情况,直角板在槽钢主体的两侧同样实现支撑效果,当槽钢主体顶部受力,通过支撑结构将受到的重力进行分散承受。
Description
技术领域
本实用新型涉及槽钢支座技术领域,尤其涉及一种槽钢支座结构。
背景技术
槽钢是截面为凹槽形的长条钢材,属建造用和机械用碳素结构钢,是复杂断面的型钢钢材,其断面形状为凹槽形,槽钢主要用于建筑结构、幕墙工程、机械设备和车辆制造等,槽钢分普通槽钢和轻型槽钢,支座是指用以支承和固定设备的部件,支座的结构型式主要由容器自身的型式和支座的形状来决定,通常分为立式支座、卧式支座和球形容器支座三类。
现有的槽钢支座,结构一般都是固定的,通过螺栓紧固安装,槽钢本身的形状为凹槽形,支撑物品时,两翼承受重量,容易将两翼弯曲,将整体支座的形状破坏,影响下次使用,因此,提出一种槽钢支座结构。
实用新型内容
为解决现有技术存在的问题,本实用新型提供了一种槽钢支座结构,包括:
底板,所述底板上设置有固定板,所述底板的顶端设置有槽钢主体;
支撑结构,所述支撑结构包括支撑杆,所述支撑杆安装在槽钢主体的内部,所述支撑杆的外侧对称设置有衔接块,两组所述衔接块的顶端设置有转轴,所述转轴外侧铰接有连接杆,所述槽钢主体的底部对称安装有连接块,所述连接杆的顶端与连接块相连接。
所述固定板相对底板中心对称设置,所述固定板共设置有四组,分别设置在底板的四个顶角处。
所述底板的内部对称安装有限位杆,所述固定板的底部均安装有滑块,所述底板上设置有与滑块相适配的滑槽。
所述滑块位于底板的内部,且滑块上设置有与限位杆相适配的滑孔,所述限位杆上对称设置有第一弹簧。
所述槽钢主体的顶端安装有支撑板,所述槽钢主体上对称安装有直角板,所述直角板上安装有三角板。
每组所述固定板上均对称设置安装孔,该安装孔内部均设置有紧固螺栓,所述固定板通过紧固螺栓与槽钢主体固定连接。
所述连接杆的顶端设置有连接轴,两组所述连接块上设置有与连接轴相适配的连接孔,且连接杆与连接块相铰接。
所述限位杆的外侧对称设置有第二弹簧,所述第二弹簧位于两组衔接块的一侧。
与现有技术相比,本实用新型的有益效果是:
设置的支撑结构,在进行支撑物品时将槽钢主体的承重力提升,可以防止槽钢主体承受重力过重出现变形的情况,直角板在槽钢主体的两侧同样实现支撑效果,当槽钢主体顶部受力,通过支撑结构将受到的重力进行分散承受。
附图说明
图1为本实用新型整体结构示意图;
图2为本实用新型底板内部结构示意图;
图3为本实用新型整体结构侧视图;
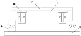
附图标记:1、底板;2、固定板;3、槽钢主体;4、支撑板;5、连接块;6、直角板;7、支撑杆;8、衔接块;9、第二弹簧;10、转轴;11、连接杆;12、限位杆;13、第一弹簧;14、滑块。
具体实施方式
为了使本实用新型实现的技术手段、创作特征、达成目的与功效易于明白了解,下面结合具体实施例和附图,进一步阐述本实用新型,但下述实施例仅仅为本实用新型的优选实施例,并非全部。基于实施方式中的实施例,本领域技术人员在没有做出创造性劳动的前提下所获得其它实施例,都属于本实用新型的保护范围。
下面结合附图描述本实用新型的具体实施例
如图1-3所示,一种槽钢支座结构,包括底板1,其特征在于:底板1上设置有固定板2,底板1的顶端设置有槽钢主体3;
支撑结构,支撑结构包括支撑杆7,支撑杆7安装在槽钢主体3的内部,支撑杆7的外侧对称设置有衔接块8,两组衔接块8的顶端设置有转轴10,转轴10外侧铰接有连接杆11,槽钢主体3的底部对称安装有连接块5,连接杆11的顶端与连接块5相连接。
与常见的槽钢支座有所区别的是,本实用新型在支座上设置了支撑结构,支撑杆7的两端与槽钢主体3的内壁两侧固定连接,两组衔接块8的内部设置有与支撑杆7相适配的滑孔,两组衔接块8滑动连接在支撑杆7的外侧,连接杆11的顶端设置有连接轴,两组连接块5上设置有与连接轴相适配的连接孔,且连接杆11与连接块5相铰接,连接杆11呈倾斜状与衔接块8和连接块5相铰接,限位杆12的外侧对称设置有第二弹簧9,第二弹簧9位于两组衔接块8的一侧。
对于上述的使用过程,一些进一步的设置为支撑解结构对于槽钢主体3的称承重效果作出提升,具体在于:
其一,固定板2相对底板1中心对称设置,固定板2共设置有四组,分别设置在底板1的四个顶角处,每组固定板2上均对称设置安装孔,该安装孔内部均设置有紧固螺栓,固定板2通过紧固螺栓与槽钢主体3固定连接,槽钢主体3的顶端安装有支撑板4,槽钢主体3上对称安装有直角板6,直角板6上安装有三角板,直角板6上的三角板提升直角板6的支撑力,将支撑板4在槽钢主体3顶端伸出的部位进行支撑;
其二,底板1的内部对称安装有限位杆12,固定板2的底部均安装有滑块14,底板1上设置有与滑块14相适配的滑槽,滑块14位于底板1的内部,且滑块14上设置有与限位杆12相适配的滑孔,限位杆12上对称设置有第一弹簧13,固定板2通过滑块14在限位杆12的外侧滑动,可以将位置进行调整,便于适用不同尺寸的槽钢主体3,滑块14滑动的时候挤压第一弹簧13,通过第一弹簧13的张力,固定板2在槽钢主体3的两侧外部夹紧,再通过紧固螺栓将固定板2与槽钢主体3固定连接。
工作原理:将固定板2移动,固定板2通过滑块14在底板1上移动,槽钢主体3在底板1的顶端放置,滑块14滑动的时候挤压第一弹簧13,通过第一弹簧13的张力,固定板2在槽钢主体3的两侧外部夹紧,再通过紧固螺栓将固定板2与槽钢主体3固定连接,直角板6通过螺钉在槽钢主体3的两侧安装,直角板6的顶端与支撑板4的底部固定连接,槽钢主体3内部的支撑结构,当槽钢主体3顶部受力,连接杆11带动衔接块8在支撑杆7的外侧移动,挤压第二弹簧9,将受到的力实现分散承受,提高承重力。
Claims (8)
1.一种槽钢支座结构,包括底板(1),其特征在于:所述底板(1)上设置有固定板(2),所述底板(1)的顶端设置有槽钢主体(3);
支撑结构,所述支撑结构包括支撑杆(7),所述支撑杆(7)安装在槽钢主体(3)的内部,所述支撑杆(7)的外侧对称设置有衔接块(8),两组所述衔接块(8)的顶端设置有转轴(10),所述转轴(10)外侧铰接有连接杆(11),所述槽钢主体(3)的底部对称安装有连接块(5),所述连接杆(11)的顶端与连接块(5)相连接。
2.根据权利要求1所述的一种槽钢支座结构,其特征在于:所述固定板(2)相对底板(1)中心对称设置,所述固定板(2)共设置有四组,分别设置在底板(1)的四个顶角处。
3.根据权利要求1所述的一种槽钢支座结构,其特征在于:所述底板(1)的内部对称安装有限位杆(12),所述固定板(2)的底部均安装有滑块(14),所述底板(1)上设置有与滑块(14)相适配的滑槽。
4.根据权利要求3所述的一种槽钢支座结构,其特征在于:所述滑块(14)位于底板(1)的内部,且滑块(14)上设置有与限位杆(12)相适配的滑孔,所述限位杆(12)上对称设置有第一弹簧(13)。
5.根据权利要求4所述的一种槽钢支座结构,其特征在于:所述槽钢主体(3)的顶端安装有支撑板(4),所述槽钢主体(3)上对称安装有直角板(6),所述直角板(6)上安装有三角板。
6.根据权利要求1所述的一种槽钢支座结构,其特征在于:每组所述固定板(2)上均对称设置安装孔,该安装孔内部均设置有紧固螺栓,所述固定板(2)通过紧固螺栓与槽钢主体(3)固定连接。
7.根据权利要求1所述的一种槽钢支座结构,其特征在于:所述连接杆(11)的顶端设置有连接轴,两组所述连接块(5)上设置有与连接轴相适配的连接孔,且连接杆(11)与连接块(5)相铰接。
8.根据权利要求3所述的一种槽钢支座结构,其特征在于:所述限位杆(12)的外侧对称设置有第二弹簧(9),所述第二弹簧(9)位于两组衔接块(8)的一侧。
Priority Applications (1)
| Application Number | Priority Date | Filing Date | Title |
|---|---|---|---|
| CN202222294472.5U CN217924125U (zh) | 2022-08-30 | 2022-08-30 | 一种槽钢支座结构 |
Applications Claiming Priority (1)
| Application Number | Priority Date | Filing Date | Title |
|---|---|---|---|
| CN202222294472.5U CN217924125U (zh) | 2022-08-30 | 2022-08-30 | 一种槽钢支座结构 |
Publications (1)
| Publication Number | Publication Date |
|---|---|
| CN217924125U true CN217924125U (zh) | 2022-11-29 |
Family
ID=84172074
Family Applications (1)
| Application Number | Title | Priority Date | Filing Date |
|---|---|---|---|
| CN202222294472.5U Active CN217924125U (zh) | 2022-08-30 | 2022-08-30 | 一种槽钢支座结构 |
Country Status (1)
| Country | Link |
|---|---|
| CN (1) | CN217924125U (zh) |
-
2022
- 2022-08-30 CN CN202222294472.5U patent/CN217924125U/zh active Active
Similar Documents
| Publication | Publication Date | Title |
|---|---|---|
| CN217924125U (zh) | 一种槽钢支座结构 | |
| CN112012098A (zh) | 一种轻轨大位移量伸缩装置 | |
| CN218103046U (zh) | 一种光伏电池板的可调支架 | |
| CN212510346U (zh) | 一种高承压组合式钢结构 | |
| CN207990144U (zh) | 一种采集器支架安装机构 | |
| CN223425211U (zh) | 预埋式景观灯 | |
| CN220565044U (zh) | 一种便于移动的全自动液压栈桥 | |
| CN210086483U (zh) | 一种用于纵向网壳结构的支座连接系统 | |
| CN214737050U (zh) | 一种新型的悬挂式单轨交通用轨道梁与立柱连接结构 | |
| CN223103856U (zh) | 一种适用于槽钢的可调钢底座 | |
| CN220485239U (zh) | 一种用于建筑施工升降平台 | |
| CN219880303U (zh) | 一种悬挂式自动输送装置 | |
| CN221219129U (zh) | 一种装配式用h型钢构件 | |
| CN108951025B (zh) | 一种住校学生用的晾晒架 | |
| CN219932216U (zh) | 一种防倒、防塌液压支架组 | |
| CN223018434U (zh) | 一种吊轨门上滑轨结构 | |
| CN206705616U (zh) | 一种自平衡建筑用型钢搬运机 | |
| CN213448641U (zh) | 一种用于挖掘机的配重装置 | |
| CN216564359U (zh) | 一种装配式节能桥架 | |
| CN216689084U (zh) | 一种节段梁架设施工中用到的小型安全装置 | |
| CN111945942A (zh) | 一种钢构建筑改进型钢结构 | |
| CN217106320U (zh) | 一种滑动平移构件的胎架顶部装置 | |
| CN217720554U (zh) | 一种桥架安装加固用底座机构 | |
| CN222183862U (zh) | 一种钢结构组合横梁 | |
| CN116216487B (zh) | 一种可适配曲率的pc轨道梁吊具 |
Legal Events
| Date | Code | Title | Description |
|---|---|---|---|
| GR01 | Patent grant | ||
| GR01 | Patent grant |