CN217877407U - 一种皮带轮端面到齿形的中心线检测仪器 - Google Patents
一种皮带轮端面到齿形的中心线检测仪器 Download PDFInfo
- Publication number
- CN217877407U CN217877407U CN202221468657.7U CN202221468657U CN217877407U CN 217877407 U CN217877407 U CN 217877407U CN 202221468657 U CN202221468657 U CN 202221468657U CN 217877407 U CN217877407 U CN 217877407U
- Authority
- CN
- China
- Prior art keywords
- fixedly connected
- belt pulley
- bearing plate
- transfer line
- workstation
- Prior art date
- Legal status (The legal status is an assumption and is not a legal conclusion. Google has not performed a legal analysis and makes no representation as to the accuracy of the status listed.)
- Expired - Fee Related
Links
- 230000006835 compression Effects 0.000 claims description 9
- 238000007906 compression Methods 0.000 claims description 9
- 230000005540 biological transmission Effects 0.000 claims description 8
- 230000006978 adaptation Effects 0.000 claims description 6
- 230000033001 locomotion Effects 0.000 description 4
- 229910000831 Steel Inorganic materials 0.000 description 3
- 238000005266 casting Methods 0.000 description 3
- 239000010959 steel Substances 0.000 description 3
- 230000009286 beneficial effect Effects 0.000 description 2
- 230000000694 effects Effects 0.000 description 2
- 230000003028 elevating effect Effects 0.000 description 2
- 208000037805 labour Diseases 0.000 description 2
- 239000000463 material Substances 0.000 description 2
- 238000000034 method Methods 0.000 description 2
- 229910001018 Cast iron Inorganic materials 0.000 description 1
- 229920000742 Cotton Polymers 0.000 description 1
- 229910001208 Crucible steel Inorganic materials 0.000 description 1
- 239000003638 chemical reducing agent Substances 0.000 description 1
- 238000005242 forging Methods 0.000 description 1
- 238000003754 machining Methods 0.000 description 1
- 238000004519 manufacturing process Methods 0.000 description 1
- 238000005259 measurement Methods 0.000 description 1
- 238000005065 mining Methods 0.000 description 1
- 238000004806 packaging method and process Methods 0.000 description 1
- 239000004753 textile Substances 0.000 description 1
Images
Landscapes
- A Measuring Device Byusing Mechanical Method (AREA)
Abstract
本实用新型提供了一种皮带轮端面到齿形的中心线检测仪器,包括工作台,所述工作台的顶部中心处开设有矩形槽,所述矩形槽的内部设有丝柱,所述丝柱的输入端设有摇把,所述工作台的顶部设有两个承重板,其中一个所述承重板与工作台固定连接,另一个所述承重板的底部固定连接有与矩形槽相适配的滑块,所述滑块的内部开设有与丝柱相适配的螺纹孔,所述承重板的顶部固定连接有立柱,所述立柱的一侧上方安装有工作电机;本装置具有限位结构,可以对不同规定的皮带轮进行夹持定位,方便对其皮带轮端面到齿形的中心线进行检查,同时具有翻转功能,便于对皮带轮的两端都进行检查,使装置的测量数据更准确,提高了装置的实用性。
Description
技术领域
本实用新型涉及皮带轮测量技术领域,尤其涉及一种皮带轮端面到齿形的中心线检测仪器。
背景技术
皮带轮,属于盘毂类零件,一般相对尺寸比较大,制造工艺上一般以铸造、锻造为主。一般尺寸较大的设计为用铸造的方法,材料一般都是铸铁(铸造性能较好),很少用铸钢(钢的铸造性能不佳);一般尺寸较小的,可以设计为锻造,材料为钢。
皮带轮主要用于远距离传送动力的场合,例如小型柴油机动力的输出,农用车,拖拉机,汽车,矿山机械,机械加工设备,纺织机械,包装机械,车床,锻床,一些小马力摩托车动力的传动,农业机械动力的传送,空压机,减速器,减速机,发电机,轧花机等等。
目前皮带轮在工厂被加工出来之后,需要工人手动对皮带轮的规格进行测量,不仅浪费了大量的劳动力,且工作效率低下,并且皮带轮测量结果容易出现误差,影响皮带轮的使用质量。
发明内容
本实用新型提供一种皮带轮端面到齿形的中心线检测仪器,以解决皮带轮在工厂被加工出来之后,需要工人手动对皮带轮的规格进行测量,不仅浪费了大量的劳动力,且工作效率低下,并且皮带轮测量结果容易出现误差,影响皮带轮的使用质量的问题。
为了解决上述的问题,本实用新型提出一种皮带轮端面到齿形的中心线检测仪器,包括工作台,所述工作台的顶部中心处开设有矩形槽,所述矩形槽的内部设有丝柱,所述丝柱的输入端设有摇把,所述工作台的顶部设有两个承重板,其中一个所述承重板与工作台固定连接,另一个所述承重板的底部固定连接有与矩形槽相适配的滑块,所述滑块的内部开设有与丝柱相适配的螺纹孔,所述承重板的顶部固定连接有立柱,所述立柱的一侧上方安装有工作电机,所述工作电机的输出端设有第一转盘,所述立柱的内部开设有导向孔所述导向孔的内部滑动连接有滑板。
优选的,所述滑板的顶部中心处开设有第一丝孔,所述第一丝孔的内部螺纹连接有工作丝杆,工作丝杆的输入端设有第二转盘,所述第一转盘与第二转盘之间通过皮带连接。
优选的,所述滑板的一侧固定连接有横板,所述滑板的一侧设有U型板,所述U型板的顶部螺纹连接有与横板相接触的定位螺栓。
优选的,所述U型板的一侧固定连接有安装板,所述安装板的顶部开设有安装孔,所述安装板的一端设有第一电机,所述第一电机的输出端设有传动杆,所述传动杆的一端设有夹持板,所述传动杆与夹持板的数量均设置有两个,其中一个所述传动杆与夹持板之间通过工作轴承连接,另一个所述传动杆与夹持板固定连接。
优选的,所述安装板的数量设置有两个,其中一个所述安装板的内部螺纹连接有与传动杆相接触的固定螺栓。
优选的,所述工作台的顶部固定连接有支撑杆,所述支撑杆的顶部固定连接有抗压板,所述抗压板的外侧套接有空心板,所述空心板的顶部螺纹连接有与抗压板相接触的工作螺栓,所述空心板的一端固定连接有安装环,所述安装环的内部安装有测量仪。
本实用新型的有益效果为:使用时转动摇把,使摇把带动丝柱转动,便于对承重板的水平位置进行调节,通过承重板移动带动另一个夹持板运动,便于对不同规格的皮带轮进行夹持,接着通过工作电机带动第一转盘转动,第一转盘在皮带作用下带动丝柱与第二转盘转动,便于带动滑板在导向孔内部做升降运动,方便用户对皮带轮的高度进行调节,当需要对皮带轮进行翻转时,通过第一电机带动其中一个传动杆与夹持板转动,并使两个夹持板对皮带轮进行夹持,方便对皮带轮进行旋转,从而使装置的测量数据更加准确,本装置具有限位结构,可以对不同规定的皮带轮进行夹持定位,方便对其皮带轮端面到齿形的中心线进行检查,同时具有翻转功能,便于对皮带轮的两端都进行检查,使装置的测量数据更准确,提高了装置的实用性。
附图说明
图1为本实用新型的整体结构示意图;
图2为本实用新型的U型板安装结构示意图;
图3为本实用新型的夹持板安装结构示意图。
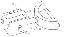
其中:1、工作台;2、矩形槽;3、丝柱;4、摇把;5、承重板;6、立柱;7、工作电机;8、第一转盘;9、导向孔;10、滑板;11、工作丝杆;12、第二转盘;13、横板;14、U型板;15、安装板;16、安装孔;17、传动杆;18、夹持板;19、固定螺栓;20、支撑杆;21、抗压板;22、空心板;23、安装环。
具体实施方式
下面将结合本实用新型实施例中的附图,对本实用新型实施例中的技术方案进行清楚、完整地描述,显然,所描述的实施例仅仅是本实用新型一部分实施例,而不是全部的实施例。
根据图1、2、3所示,本实施例提出了一种皮带轮端面到齿形的中心线检测仪器,包括工作台1,所述工作台1的顶部中心处开设有矩形槽2,所述矩形槽2的内部设有丝柱3,所述丝柱3的输入端设有摇把4,所述工作台1的顶部设有两个承重板5,其中一个所述承重板5与工作台1固定连接,另一个所述承重板5的底部固定连接有与矩形槽2相适配的滑块,所述滑块的内部开设有与丝柱3相适配的螺纹孔,所述承重板5的顶部固定连接有立柱6,所述立柱6的一侧上方安装有工作电机7,所述工作电机7的输出端设有第一转盘8,所述立柱6的内部开设有导向孔9所述导向孔9的内部滑动连接有滑板10。
所述滑板10的顶部中心处开设有第一丝孔,所述第一丝孔的内部螺纹连接有工作丝杆11,工作丝杆11的输入端设有第二转盘12,所述第一转盘8与第二转盘12之间通过皮带连接,便于带动工作丝杆11转动。
所述滑板10的一侧固定连接有横板13,所述滑板10的一侧设有U型板14,所述U型板14的顶部螺纹连接有与横板13相接触的定位螺栓,方便用户对U型板14进行拆装。
所述U型板14的一侧固定连接有安装板15,所述安装板15的顶部开设有安装孔16,所述安装板15的一端设有第一电机,所述第一电机的输出端设有传动杆17,所述传动杆17的一端设有夹持板18,所述传动杆17与夹持板18的数量均设置有两个,其中一个所述传动杆17与夹持板18之间通过工作轴承连接,另一个所述传动杆17与夹持板18固定连接,通过第一电机带动其中一个传动杆17与夹持板18转动,并使两个夹持板18对皮带轮进行夹持,方便对皮带轮进行旋转。
所述安装板15的数量设置有两个,其中一个所述安装板15的内部螺纹连接有与传动杆17相接触的固定螺栓19,方便用户对其中一个传动杆17和夹持板18的水平位置进行调节。
所述工作台1的顶部固定连接有支撑杆20,所述支撑杆20的顶部固定连接有抗压板21,所述抗压板21的外侧套接有空心板22,所述空心板22的顶部螺纹连接有与抗压板21相接触的工作螺栓,所述空心板22的一端固定连接有安装环23,所述安装环23的内部安装有测量仪,便于对空心板22的水平位置进行调节,同时通过安装环23安装型号为W1200 Pro的测量仪,便于对皮带轮端面到齿形的中心线的距离进行检测。
本实用新型的工作原理如下:
在使用时,将皮带轮放置在夹持板18的顶部,同时转动摇把4,使摇把4带动丝柱3转动,便于对承重板5的水平位置进行调节,通过承重板5移动带动另一个夹持板18运动,便于对不同规格的皮带轮进行夹持,接着通过工作电机7带动第一转盘8转动,第一转盘8在皮带作用下带动丝柱3与第二转盘12转动,便于带动滑板10在导向孔9内部做升降运动,方便用户对皮带轮的高度进行调节,当需要对皮带轮进行翻转时,通过第一电机带动其中一个传动杆17与夹持板18转动,并使两个夹持板18对皮带轮进行夹持,方便对皮带轮进行旋转,从而使装置的测量数据更加准确。
本实用新型具有如下有益效果:
本装置使用时转动摇把4,使摇把4带动丝柱3转动,便于对承重板5的水平位置进行调节,通过承重板5移动带动另一个夹持板18运动,便于对不同规格的皮带轮进行夹持,接着通过工作电机7带动第一转盘8转动,第一转盘8在皮带作用下带动丝柱3与第二转盘12转动,便于带动滑板10在导向孔9内部做升降运动,方便用户对皮带轮的高度进行调节,当需要对皮带轮进行翻转时,通过第一电机带动其中一个传动杆17与夹持板18转动,并使两个夹持板18对皮带轮进行夹持,方便对皮带轮进行旋转,从而使装置的测量数据更加准确,本装置具有限位结构,可以对不同规定的皮带轮进行夹持定位,方便对其皮带轮端面到齿形的中心线进行检查,同时具有翻转功能,便于对皮带轮的两端都进行检查,使装置的测量数据更准确,提高了装置的实用性。
以上所述仅为本实用新型的实施例,并非因此限制本实用新型的专利范围,凡是利用本实用新型说明书及附图内容所作的等效结构或等效流程变换,或直接或间接运用在其它相关的技术领域,均同理包括在本实用新型的专利保护范围内。
Claims (6)
1.一种皮带轮端面到齿形的中心线检测仪器,包括工作台(1),其特征在于:所述工作台(1)的顶部中心处开设有矩形槽(2),所述矩形槽(2)的内部设有丝柱(3),所述丝柱(3)的输入端设有摇把(4),所述工作台(1)的顶部设有两个承重板(5),其中一个所述承重板(5)与工作台(1)固定连接,另一个所述承重板(5)的底部固定连接有与矩形槽(2)相适配的滑块,所述滑块的内部开设有与丝柱(3)相适配的螺纹孔,所述承重板(5)的顶部固定连接有立柱(6),所述立柱(6)的一侧上方安装有工作电机(7),所述工作电机(7)的输出端设有第一转盘(8),所述立柱(6)的内部开设有导向孔(9)所述导向孔(9)的内部滑动连接有滑板(10)。
2.根据权利要求1所述的一种皮带轮端面到齿形的中心线检测仪器,其特征在于:所述滑板(10)的顶部中心处开设有第一丝孔,所述第一丝孔的内部螺纹连接有工作丝杆(11),工作丝杆(11)的输入端设有第二转盘(12),所述第一转盘(8)与第二转盘(12)之间通过皮带连接。
3.根据权利要求2所述的一种皮带轮端面到齿形的中心线检测仪器,其特征在于:所述滑板(10)的一侧固定连接有横板(13),所述滑板(10)的一侧设有U型板(14),所述U型板(14)的顶部螺纹连接有与横板(13)相接触的定位螺栓。
4.根据权利要求3所述的一种皮带轮端面到齿形的中心线检测仪器,其特征在于:所述U型板(14)的一侧固定连接有安装板(15),所述安装板(15)的顶部开设有安装孔(16),所述安装板(15)的一端设有第一电机,所述第一电机的输出端设有传动杆(17),所述传动杆(17)的一端设有夹持板(18),所述传动杆(17)与夹持板(18)的数量均设置有两个,其中一个所述传动杆(17)与夹持板(18)之间通过工作轴承连接,另一个所述传动杆(17)与夹持板(18)固定连接。
5.根据权利要求4所述的一种皮带轮端面到齿形的中心线检测仪器,其特征在于:所述安装板(15)的数量设置有两个,其中一个所述安装板(15)的内部螺纹连接有与传动杆(17)相接触的固定螺栓(19)。
6.根据权利要求1所述的一种皮带轮端面到齿形的中心线检测仪器,其特征在于:所述工作台(1)的顶部固定连接有支撑杆(20),所述支撑杆(20)的顶部固定连接有抗压板(21),所述抗压板(21)的外侧套接有空心板(22),所述空心板(22)的顶部螺纹连接有与抗压板(21)相接触的工作螺栓,所述空心板(22)的一端固定连接有安装环(23),所述安装环(23)的内部安装有测量仪。
Priority Applications (1)
| Application Number | Priority Date | Filing Date | Title |
|---|---|---|---|
| CN202221468657.7U CN217877407U (zh) | 2022-06-14 | 2022-06-14 | 一种皮带轮端面到齿形的中心线检测仪器 |
Applications Claiming Priority (1)
| Application Number | Priority Date | Filing Date | Title |
|---|---|---|---|
| CN202221468657.7U CN217877407U (zh) | 2022-06-14 | 2022-06-14 | 一种皮带轮端面到齿形的中心线检测仪器 |
Publications (1)
| Publication Number | Publication Date |
|---|---|
| CN217877407U true CN217877407U (zh) | 2022-11-22 |
Family
ID=84095126
Family Applications (1)
| Application Number | Title | Priority Date | Filing Date |
|---|---|---|---|
| CN202221468657.7U Expired - Fee Related CN217877407U (zh) | 2022-06-14 | 2022-06-14 | 一种皮带轮端面到齿形的中心线检测仪器 |
Country Status (1)
| Country | Link |
|---|---|
| CN (1) | CN217877407U (zh) |
Cited By (1)
| Publication number | Priority date | Publication date | Assignee | Title |
|---|---|---|---|---|
| CN118528094A (zh) * | 2024-07-26 | 2024-08-23 | 常州富益德精密机械有限公司 | 一种皮带轮的加工设备 |
-
2022
- 2022-06-14 CN CN202221468657.7U patent/CN217877407U/zh not_active Expired - Fee Related
Cited By (1)
| Publication number | Priority date | Publication date | Assignee | Title |
|---|---|---|---|---|
| CN118528094A (zh) * | 2024-07-26 | 2024-08-23 | 常州富益德精密机械有限公司 | 一种皮带轮的加工设备 |
Similar Documents
| Publication | Publication Date | Title |
|---|---|---|
| CN217877407U (zh) | 一种皮带轮端面到齿形的中心线检测仪器 | |
| CN110977391B (zh) | 涡轮增压器的自动组装设备 | |
| CN219531971U (zh) | 一种用于轮毂平面度检测装置 | |
| CN218411091U (zh) | 一种中间轴万向节组件的轴向间隙测试装置 | |
| CN209036134U (zh) | 一种金属圆锯床立柱锯切力测试装置 | |
| CN219837269U (zh) | 一种攻丝机 | |
| CN218121224U (zh) | 一种轴连轴承用扭矩检测装置 | |
| CN211425729U (zh) | 一种电动滚筒转矩的测量装置 | |
| CN213688750U (zh) | 一种摇臂门开门机测功工装 | |
| CN110986799A (zh) | 一种水泵法兰和叶轮检测设备 | |
| CN213543454U (zh) | 圆柱类零件挠度检测装置 | |
| CN201043932Y (zh) | 从动盘总成扭转特性检测机 | |
| CN208953198U (zh) | 一种可实现自我核查功能的叠加式力标准机 | |
| CN210773794U (zh) | 一种汽车助力转向系统传动轴检具 | |
| CN201945280U (zh) | 用于伞齿轮背面外圆及端面形位偏差测量装置 | |
| CN207548591U (zh) | 差速器壳体检具的带转机构 | |
| CN223449649U (zh) | 拉力试验机 | |
| CN101412203B (zh) | 探测内、外阀套油槽位置的方法 | |
| CN209036135U (zh) | 一种多维力圆锯床锯切力测试装置 | |
| CN220932574U (zh) | 一种焊接强度检验装置 | |
| CN222232487U (zh) | 一种车桥abs系统在线检测装置 | |
| CN220583764U (zh) | 一种张紧轮轴承测试组件 | |
| CN222652084U (zh) | 一种汽车发动机轴承盖数据采集测量设备 | |
| CN217541761U (zh) | 一种铝质气雾罐罐口内径快速检测工具 | |
| CN223678436U (zh) | 一种杆状工件的多边形结构的检测装置 |
Legal Events
| Date | Code | Title | Description |
|---|---|---|---|
| GR01 | Patent grant | ||
| GR01 | Patent grant | ||
| CF01 | Termination of patent right due to non-payment of annual fee |
Granted publication date: 20221122 |
|
| CF01 | Termination of patent right due to non-payment of annual fee |