CN217870530U - A pipe trench excavation protective equipment for earthwork construction - Google Patents
A pipe trench excavation protective equipment for earthwork construction Download PDFInfo
- Publication number
- CN217870530U CN217870530U CN202221865228.3U CN202221865228U CN217870530U CN 217870530 U CN217870530 U CN 217870530U CN 202221865228 U CN202221865228 U CN 202221865228U CN 217870530 U CN217870530 U CN 217870530U
- Authority
- CN
- China
- Prior art keywords
- plate
- protective
- protection
- chute
- pipe trench
- Prior art date
- Legal status (The legal status is an assumption and is not a legal conclusion. Google has not performed a legal analysis and makes no representation as to the accuracy of the status listed.)
- Expired - Fee Related
Links
Images
Landscapes
- Laying Of Electric Cables Or Lines Outside (AREA)
Abstract
本实用新型提供一种土石方施工用的管沟挖掘防护设备,包括防护设备本体,所述防护设备本体包括固定基座、防护组件和支撑组件,所述固定基座的底端设置有延伸板,所述延伸板的中间设置有滑轨,所述延伸板的底部安装有固定结构,所述滑轨的内部开设有滑槽,所述防护组件的一端插入到滑槽的内部,所述防护组件的顶部设置有立板,通过将防护组件和固定基座连接为整体,把连接基座固定在沟槽顶部一侧的地面上,从而对防护组件进行连接支撑,不需要占用沟槽内部地面空间,增加了沟槽内部可活动范围,能够使用少量的该防护设备即可对施工区域提供保护效果,并随着施工区域的变化而自由移动,减少了施工成本和设备成本。
The utility model provides a pipe ditch excavation protective device for earthwork construction, which includes a protective device body, the protective device body includes a fixed base, a protective component and a supporting component, and the bottom end of the fixed base is provided with an extension plate. A slide rail is arranged in the middle of the extension plate, a fixed structure is installed on the bottom of the extension plate, a chute is opened inside the slide rail, one end of the protection assembly is inserted into the inside of the chute, and the protection assembly The top of the tank is provided with a vertical plate. By connecting the protective component and the fixed base as a whole, the connecting base is fixed on the ground on the top side of the trench, so as to connect and support the protective component without occupying the ground space inside the trench. , increasing the movable range inside the trench, a small amount of this protective equipment can be used to provide protection for the construction area, and it can move freely as the construction area changes, reducing construction costs and equipment costs.
Description
技术领域technical field
本实用新型涉及管路施工技术领域,具体为一种土石方施工用的管沟挖掘防护设备。The utility model relates to the technical field of pipeline construction, in particular to a protective equipment for excavating pipe trenches for earthwork construction.
背景技术Background technique
在管沟挖掘的过程中,需要对沟槽进行支撑,避免发生塌陷导致对施工人员产生伤害,因此要用到专业的防护设备,现有技术中,通过直接在沟槽内部使用木架搭建挡板来实现防护效果,但是该结构需要占用大量的沟槽内面积,因此会缩小内部可通行区域,对后续的的管路施工过程产生阻碍,影响施工进程,另一方面,在挖掘过程中,施工人员集中在沟槽的施工区域,而搭建木架由于拆卸安装费时费力,因此无法根据施工区域的变化而进行自由移动,只能够布设在全部的已挖掘沟槽中,增加了施工成本和设备成本。During the excavation of the pipe trench, it is necessary to support the trench to avoid the damage to the construction personnel caused by the collapse, so professional protective equipment is required. However, this structure needs to occupy a large area in the trench, so it will reduce the internal passable area, hinder the subsequent pipeline construction process, and affect the construction process. On the other hand, during the excavation process, The construction workers are concentrated in the construction area of the trench, and it takes time and effort to disassemble and install the wooden frame, so it cannot move freely according to the change of the construction area, and can only be laid in all the excavated trenches, which increases construction costs and equipment cost.
实用新型内容Utility model content
针对现有技术存在的不足,本实用新型目的是提供一种土石方施工用的管沟挖掘防护设备,以解决上述背景技术中提出的问题,本实用新型缩小了沟槽内占用面积,安全性高,灵活性强。Aiming at the deficiencies of the existing technology, the purpose of this utility model is to provide a pipe trench excavation protection equipment for earthwork construction to solve the problems raised in the above background technology. The utility model reduces the occupied area of the trench and has high safety , strong flexibility.
为了实现上述目的,本实用新型是通过如下的技术方案来实现:一种土石方施工用的管沟挖掘防护设备,包括防护设备本体,所述防护设备本体包括固定基座、防护组件和支撑组件,所述固定基座的底端设置有延伸板,所述延伸板的中间设置有滑轨,所述延伸板的底部安装有固定结构,所述滑轨的内部开设有滑槽,所述防护组件的一端插入到滑槽的内部,所述防护组件的顶部设置有立板,所述立板的前端安装有螺纹套筒,所述螺纹套筒的内部设置有支撑组件。In order to achieve the above object, the utility model is achieved through the following technical solutions: a pipe trench excavation protective equipment for earthwork construction, including a protective equipment body, the protective equipment body includes a fixed base, a protective component and a support component, The bottom end of the fixed base is provided with an extension plate, the middle of the extension plate is provided with a slide rail, the bottom of the extension plate is equipped with a fixed structure, the inside of the slide rail is provided with a chute, and the protection assembly One end is inserted into the inside of the chute, the top of the protection assembly is provided with a vertical plate, the front end of the vertical plate is installed with a threaded sleeve, and the inside of the threaded sleeve is provided with a support assembly.
进一步的,所述固定基座包括滑轨和延伸板,所述固定结构的顶部从延伸板的内部穿过,所述固定结构的底端设置有插板,所述滑槽的两端均设置有开口,且防护组件从滑槽的端部向内穿入。Further, the fixed base includes a slide rail and an extension plate, the top of the fixed structure passes through the inside of the extension plate, the bottom end of the fixed structure is provided with a plug-in plate, and both ends of the slide groove are provided with There is an opening, and the guard assembly penetrates inwardly from the end of the chute.
进一步的,所述插板的顶部安装有对接块,所述对接块的顶部通过螺丝与固定板连接,所述固定板、延伸板和对接块的表面均开设有规格相同的螺纹孔。Further, a docking block is installed on the top of the plug-in board, and the top of the docking block is connected to the fixing plate by screws, and the surfaces of the fixing board, the extension plate and the docking block are all provided with threaded holes of the same specification.
进一步的,所述滑轨的两端均设置有插接杆和承接孔,相邻的两个固定基座之间通过插接杆插入到承接孔内进行对齐。Further, both ends of the slide rail are provided with insertion rods and receiving holes, and two adjacent fixed bases are inserted into the receiving holes through the insertion rods for alignment.
进一步的,所述防护组件包括压板和防护挡板,所述压板的后端设置有连接杆,所述连接杆的末端设置有滚筒,所述压板的前端顶部设置有立板,所述压板前端的底部设置有防护挡板,所述支撑组件与立板的表面保持垂直。Further, the protective assembly includes a pressing plate and a protective baffle, a connecting rod is provided at the rear end of the pressing plate, a roller is provided at the end of the connecting rod, a vertical plate is provided at the top of the front end of the pressing plate, and the front end of the pressing plate is A protective baffle is provided at the bottom of the stand, and the support assembly is kept perpendicular to the surface of the stand.
进一步的,所述压板安装在沟槽外侧的地面上,所述防护挡板覆盖在沟槽的内壁上,所述滚筒插入到滑槽的内侧。Further, the pressing plate is installed on the ground outside the groove, the protective baffle covers the inner wall of the groove, and the roller is inserted into the inner side of the chute.
进一步的,所述支撑组件包括对接压垫和螺纹柱,所述对接压垫固定安装在螺纹柱的端部,所述螺纹柱的表面安装有转动环。Further, the support assembly includes a butt joint pressure pad and a threaded column, the butt joint pressure pad is fixedly installed on the end of the threaded post, and a rotating ring is installed on the surface of the threaded post.
进一步的,所述转动环设置在靠近对接压垫的一侧,两个相向的防护组件之间通过对接压垫进行贴合支撑。Further, the rotating ring is arranged on a side close to the butt joint pressure pad, and the two facing protective components are fitted and supported by the butt joint press pad.
本实用新型的有益效果:本实用新型的一种土石方施工用的管沟挖掘防护设备,包括防护设备本体,所述防护设备本体包括固定基座、固定结构、防护组件、支撑组件、压板、连接杆、滚筒、立板、螺纹套筒、螺纹柱、对接压垫、转动环、防护挡板、滑轨、滑槽、延伸板、固定板、对接块、插板、插接杆、承接孔。Beneficial effects of the present utility model: a protective device for pipe ditch excavation used in earthwork construction of the present utility model includes a protective device body, and the protective device body includes a fixed base, a fixed structure, a protective component, a support component, a pressure plate, a connection Rod, roller, vertical plate, threaded sleeve, threaded column, butt joint pressure pad, rotating ring, protective baffle, slide rail, chute, extension plate, fixed plate, butt block, insert plate, insert rod, socket hole.
1.该土石方施工用的管沟挖掘防护设备通过将防护组件和固定基座连接为整体,通过把连接基座固定在沟槽顶部一侧的地面上,从而对防护组件进行连接支撑,不需要占用沟槽内部地面空间,增加了沟槽内部可活动范围。1. The pipe trench excavation protective equipment for earthwork construction connects the protective component and the fixed base as a whole, and fixes the connecting base on the ground on the top side of the trench, so as to connect and support the protective component. Occupies the ground space inside the trench and increases the movable range inside the trench.
2.该土石方施工用的管沟挖掘防护设备在固定基座的内部设置有滑槽,能够直接拉动防护组件沿着滑槽仅需要移动,因此能够使用少量的该防护设备即可对使用区域提供保护效果,并随着施工区域的变化而自由移动,减少了施工成本和设备成本。2. The trench excavation protection equipment for earthwork construction is equipped with a chute inside the fixed base, which can directly pull the protection component and only need to move along the chute, so a small amount of this protection equipment can be used to provide protection for the use area. Protective effect, and move freely as the construction area changes, reducing construction costs and equipment costs.
3.该土石方施工用的管沟挖掘防护设备在防护组件的顶端通过支撑组件将沟槽顶部两侧的该设备进行对接,使顶部通过支撑组件之间的对接按压,提供额外的支撑固定结构,提高了该设备安装有的牢固性和稳定性,即使底部的固定基座产生松脱,仍旧通过顶部对接的支撑组件提供足够的保护效果。3. The protective equipment for pipe trench excavation used in earthwork construction connects the equipment on both sides of the top of the trench through the supporting components at the top of the protective component, so that the top can be pressed through the butt joint between the supporting components to provide an additional support and fixation structure, The firmness and stability of the installation of the device are improved, and even if the fixed base at the bottom is loosened, sufficient protection effect is still provided by the support assembly docked at the top.
附图说明Description of drawings
图1为本实用新型一种土石方施工用的管沟挖掘防护设备的外形的结构示意图;Fig. 1 is the structural representation of the profile of a kind of pipe ditch excavation protective equipment used for earthwork construction of the present utility model;
图2为本实用新型一种土石方施工用的管沟挖掘防护设备防护组件部分的结构示意图;Fig. 2 is a schematic structural view of the protection component part of the pipe ditch excavation protection equipment for earthwork construction of the present invention;
图3为本实用新型一种土石方施工用的管沟挖掘防护设备固定基座部分的结构示意图;Fig. 3 is a schematic structural view of the fixed base part of the pipe ditch excavation protective equipment for earthwork construction of the present invention;
图4为本实用新型一种土石方施工用的管沟挖掘防护设备固定基座对接部分的剖视图;Fig. 4 is a cross-sectional view of the docking part of the fixed base of the pipe ditch excavation protective equipment for earthwork construction of the present invention;
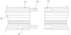
图中:1、固定基座;2、固定结构;3、防护组件;4、支撑组件;5、压板;6、连接杆;7、滚筒;8、立板;9、螺纹套筒;10、螺纹柱;11、对接压垫;12、转动环;13、防护挡板;14、滑轨;15、滑槽;16、延伸板;17、固定板;18、对接块;19、插板;20、插接杆;21、承接孔。In the figure: 1, fixed base; 2, fixed structure; 3, protective component; 4, support component; 5, pressure plate; 6, connecting rod; 7, roller; 8, vertical plate; 9, threaded sleeve; threaded column; 11. docking pressure pad; 12. rotating ring; 13. protective baffle; 14. slide rail; 15. chute; 16. extension plate; 17. fixed plate; 18. docking block; 20, inserting rod; 21, accepting hole.
具体实施方式Detailed ways
为使本实用新型实现的技术手段、创作特征、达成目的与功效易于明白了解,下面结合具体实施方式,进一步阐述本实用新型。In order to make the technical means, creative features, goals and effects achieved by the utility model easy to understand, the utility model will be further elaborated below in conjunction with specific embodiments.
请参阅图1至图4,本实用新型提供一种技术方案:一种土石方施工用的管沟挖掘防护设备,包括防护设备本体,所述防护设备本体包括固定基座1、防护组件3和支撑组件4,所述固定基座1的底端设置有延伸板16,所述延伸板16的中间设置有滑轨14,所述延伸板16的底部安装有固定结构2,所述滑轨14的内部开设有滑槽15,所述防护组件3的一端插入到滑槽15的内部,所述防护组件3的顶部设置有立板8,所述立板8的前端安装有螺纹套筒9,所述螺纹套筒9的内部设置有支撑组件4,该土石方施工用的管沟挖掘防护设备主要用于对管沟挖掘过程中沟槽的内壁进行覆盖遮挡,提供有效的支撑和防护功能,安装时,直接通过使用多个固定结构2将固定基座1安装在已开设的沟槽顶部侧边的地面上,然后将防护组件3与固定基座1进行连接,将防护组件3搭放在沟槽的内壁以及内壁顶部,即可在固定基座1的拉动支撑下使用防护组件3将沟槽的内壁进行按压,避免其滑脱,另一方面,通过防护组件3顶部前端的支撑组件4,能够将安装在沟槽内侧两处相向位置上的该防护设备进行对接,在顶部形成额外的支撑,进一步提升了牢固性。Please refer to Fig. 1 to Fig. 4, the utility model provides a technical solution: a pipe trench excavation protective equipment for earthwork construction, including a protective equipment body, the protective equipment body includes a fixed base 1, a
本实施例,所述固定基座1包括滑轨14和延伸板16,所述固定结构2的顶部从延伸板16的内部穿过,所述固定结构2的底端设置有插板19,所述滑槽15的两端均设置有开口,且防护组件3从滑槽15的端部向内穿入,所述插板19的顶部安装有对接块18,所述对接块18的顶部通过螺丝与固定板17连接,所述固定板17、延伸板16和对接块18的表面均开设有规格相同的螺纹孔,通过将防护组件3和固定基座1连接为整体,通过把连接基座固定在沟槽顶部一侧的地面上,从而对防护组件3进行连接支撑,不需要占用沟槽内部地面空间,增加了沟槽内部可活动范围,安装时,将每个插板19插入到地面下,然后将固定基座1四角的螺纹孔与插入地面的插板19对齐,然后使用螺丝穿过固定板17、延伸板16和对接块18,即可将固定基座1利用多个固定结构2进行安装,然后将防护组件3插入到滑槽15内,使前端的防护挡板13卡在沟槽内壁上,即可实现防护效果。In this embodiment, the fixed base 1 includes a
本实施例,所述滑轨14的两端均设置有插接杆20和承接孔21,相邻的两个固定基座1之间通过插接杆20插入到承接孔21内进行对齐,该设备仅对目前的施工区域进行防护,以达到精准保护的作用,最大化的利用器材,由于该防护组件3通过外部的固定基座1进行连接,因此处于沟槽内侧的部分仅有防护挡板13部分,当随着沟槽的施工进行,防护区域同样需要进行移动。In this embodiment, both ends of the
本实施例,所述防护组件3包括压板5和防护挡板13,所述压板5的后端设置有连接杆6,所述连接杆6的末端设置有滚筒7,所述压板5的前端顶部设置有立板8,所述压板5前端的底部设置有防护挡板13,所述支撑组件4与立板8的表面保持垂直,所述压板5安装在沟槽外侧的地面上,所述防护挡板13覆盖在沟槽的内壁上,所述滚筒7插入到滑槽15的内侧,在固定基座1的内部设置有滑槽15,能够直接拉动防护组件3沿着滑槽15仅需要移动,因此能够使用少量的该防护设备即可对使用区域提供保护效果,并随着施工区域的变化而自由移动,减少了施工成本和设备成本,移动时,先将另一个固定基座1通过端部的插接杆20和承接孔21与已安装的固定基座1对齐,标记底部的固定位置后,即可再次使用固定结构2进行固定,此时即可通过滑槽15的对接,将原始位置的防护组件3沿着该对接后的滑槽15移动到下一个施工区域中,不需要对整个装置继续拆除,简化移动流程。In this embodiment, the
本实施例,所述支撑组件4包括对接压垫11和螺纹柱10,所述对接压垫11固定安装在螺纹柱10的端部,所述螺纹柱10的表面安装有转动环12,所述转动环12设置在靠近对接压垫11的一侧,两个相向的防护组件3之间通过对接压垫11进行贴合支撑,在防护组件3的顶端通过支撑组件4将沟槽顶部两侧的该设备进行对接,使顶部通过支撑组件4之间的对接按压,提供额外的支撑固定结构2,提高了该设备安装有的牢固性和稳定性,即使底部的固定基座1产生松脱,仍旧通过顶部对接的支撑组件4提供足够的保护效果,对接时需要逐一将每个螺纹杆旋装到螺纹套筒9的最内侧,然后再将两侧的防护组件3安装到位,最后反向转动螺纹杆将其旋出,直至两个对接压垫11相互接触贴合并产生一定的压力,即可再顶部形成支撑效果,而通过立板8将该支撑组件4抬高,可以避免对底部的施工人员产生阻挡。In this embodiment, the support assembly 4 includes a butt
以上显示和描述了本实用新型的基本原理和主要特征和本实用新型的优点,对于本领域技术人员而言,显然本实用新型不限于上述示范性实施例的细节,而且在不背离本实用新型的精神或基本特征的情况下,能够以其他的具体形式实现本实用新型。因此,无论从哪一点来看,均应将实施例看作是示范性的,而且是非限制性的,本实用新型的范围由所附权利要求而不是上述说明限定,因此旨在将落在权利要求的等同要件的含义和范围内的所有变化囊括在本实用新型内。不应将权利要求中的任何附图标记视为限制所涉及的权利要求。The basic principles and main features of the utility model and the advantages of the utility model have been shown and described above. For those skilled in the art, it is obvious that the utility model is not limited to the details of the above-mentioned exemplary embodiments, and without departing from the utility model The present utility model can be realized in other specific forms without the spirit or essential features. Therefore, no matter from all points of view, the embodiments should be regarded as exemplary and non-restrictive, and the scope of the present invention is defined by the appended claims rather than the above description, so it is intended to fall within the scope of the claims All changes within the meaning and range of equivalents of the required elements are included in the present invention. Any reference sign in a claim should not be construed as limiting the claim concerned.
此外,应当理解,虽然本说明书按照实施方式加以描述,但并非每个实施方式仅包含一个独立的技术方案,说明书的这种叙述方式仅仅是为清楚起见,本领域技术人员应当将说明书作为一个整体,各实施例中的技术方案也可以经适当组合,形成本领域技术人员可以理解的其他实施方式。In addition, it should be understood that although this specification is described according to implementation modes, not each implementation mode only contains an independent technical solution, and this description in the specification is only for clarity, and those skilled in the art should take the specification as a whole , the technical solutions in the various embodiments can also be properly combined to form other implementations that can be understood by those skilled in the art.
Claims (8)
Priority Applications (1)
| Application Number | Priority Date | Filing Date | Title |
|---|---|---|---|
| CN202221865228.3U CN217870530U (en) | 2022-07-19 | 2022-07-19 | A pipe trench excavation protective equipment for earthwork construction |
Applications Claiming Priority (1)
| Application Number | Priority Date | Filing Date | Title |
|---|---|---|---|
| CN202221865228.3U CN217870530U (en) | 2022-07-19 | 2022-07-19 | A pipe trench excavation protective equipment for earthwork construction |
Publications (1)
| Publication Number | Publication Date |
|---|---|
| CN217870530U true CN217870530U (en) | 2022-11-22 |
Family
ID=84054170
Family Applications (1)
| Application Number | Title | Priority Date | Filing Date |
|---|---|---|---|
| CN202221865228.3U Expired - Fee Related CN217870530U (en) | 2022-07-19 | 2022-07-19 | A pipe trench excavation protective equipment for earthwork construction |
Country Status (1)
| Country | Link |
|---|---|
| CN (1) | CN217870530U (en) |
Cited By (2)
| Publication number | Priority date | Publication date | Assignee | Title |
|---|---|---|---|---|
| CN116591186A (en) * | 2023-06-19 | 2023-08-15 | 山东汇通建设集团有限公司 | Combined cover plate assembly for pipeline trench construction protection |
| CN118223500A (en) * | 2024-05-27 | 2024-06-21 | 山东源毅豪建筑工程有限公司 | Earth and stone square support device |
-
2022
- 2022-07-19 CN CN202221865228.3U patent/CN217870530U/en not_active Expired - Fee Related
Cited By (3)
| Publication number | Priority date | Publication date | Assignee | Title |
|---|---|---|---|---|
| CN116591186A (en) * | 2023-06-19 | 2023-08-15 | 山东汇通建设集团有限公司 | Combined cover plate assembly for pipeline trench construction protection |
| CN118223500A (en) * | 2024-05-27 | 2024-06-21 | 山东源毅豪建筑工程有限公司 | Earth and stone square support device |
| CN118223500B (en) * | 2024-05-27 | 2024-08-13 | 山东源毅豪建筑工程有限公司 | Earth and stone square support device |
Similar Documents
| Publication | Publication Date | Title |
|---|---|---|
| CN217870530U (en) | A pipe trench excavation protective equipment for earthwork construction | |
| CN205849167U (en) | 90 degree of corner screens | |
| CN220732258U (en) | MPP cable protection tube convenient to overhaul | |
| CN219198360U (en) | Water conservancy pipeline safety support device | |
| CN212775955U (en) | A kind of pipe pillow for reinforced concrete drainage pipe | |
| CN220506226U (en) | A tunnel monitor | |
| CN217438949U (en) | A foundation pit support structure with guiding function | |
| CN220247004U (en) | Environment-friendly inspection well convenient to assemble and disassemble | |
| CN221885685U (en) | Connecting plate in power distribution room | |
| CN220302158U (en) | a protective support structure | |
| CN219801852U (en) | Power tunnel cable support | |
| CN217308058U (en) | Deep foundation pit operation integration intelligent machine | |
| CN220705387U (en) | A kind of enclosure for soil and water loss monitoring | |
| CN112991963A (en) | Outdoor display screen of concatenation formula | |
| CN210038638U (en) | Novel computer hard disk is fixed device | |
| CN221443535U (en) | Auxiliary support mechanism for foundation construction | |
| CN219889038U (en) | a protective device | |
| CN221353879U (en) | Cable power trench well | |
| CN223434180U (en) | Road construction foundation pit encloses fender structure | |
| CN216110107U (en) | Foundation ditch protector that construction used | |
| CN219343217U (en) | Foundation pit supporting structure | |
| CN218715527U (en) | Waterproof device for building engineering | |
| CN223343326U (en) | Suspension type utility tunnel device | |
| CN221855539U (en) | Combined deep foundation pit supporting device | |
| CN221881185U (en) | Safety protection device |
Legal Events
| Date | Code | Title | Description |
|---|---|---|---|
| GR01 | Patent grant | ||
| GR01 | Patent grant | ||
| TR01 | Transfer of patent right |
Effective date of registration: 20240412 Address after: Room 1, 2nd Floor, E-commerce Town Building, Hongdong Road, Honglin Town, Xuanzhou District, Xuancheng City, Anhui Province, 242000 Patentee after: Anhui Zhongwang Construction Engineering Co.,Ltd. Country or region after: China Address before: No. 1-2, 1st Floor, Building 13, Hanyang District Residential and Commercial Service Facilities Project (Phase II) (Wuhan Hengda Feicuihuating Phase II), 430000, Hubei Province Patentee before: Hubei Tiantianhaoyunnian Construction Engineering Co.,Ltd. Country or region before: China |
|
| TR01 | Transfer of patent right | ||
| CF01 | Termination of patent right due to non-payment of annual fee |
Granted publication date: 20221122 |
|
| CF01 | Termination of patent right due to non-payment of annual fee |
