CN217802565U - 一种建筑装修用瓷砖可调切割器 - Google Patents

一种建筑装修用瓷砖可调切割器 Download PDF

Info

Publication number
CN217802565U
CN217802565U CN202221304465.2U CN202221304465U CN217802565U CN 217802565 U CN217802565 U CN 217802565U CN 202221304465 U CN202221304465 U CN 202221304465U CN 217802565 U CN217802565 U CN 217802565U
Authority
CN
China
Prior art keywords
fixedly connected
box
motor
rod
threaded
Prior art date
Legal status (The legal status is an assumption and is not a legal conclusion. Google has not performed a legal analysis and makes no representation as to the accuracy of the status listed.)
Expired - Fee Related
Application number
CN202221304465.2U
Other languages
English (en)
Inventor
马峻丽
Current Assignee (The listed assignees may be inaccurate. Google has not performed a legal analysis and makes no representation or warranty as to the accuracy of the list.)
China National Complete Plant Import & Export Corp ltd
Original Assignee
China National Complete Plant Import & Export Corp ltd
Priority date (The priority date is an assumption and is not a legal conclusion. Google has not performed a legal analysis and makes no representation as to the accuracy of the date listed.)
Filing date
Publication date
Application filed by China National Complete Plant Import & Export Corp ltd filed Critical China National Complete Plant Import & Export Corp ltd
Priority to CN202221304465.2U priority Critical patent/CN217802565U/zh
Application granted granted Critical
Publication of CN217802565U publication Critical patent/CN217802565U/zh
Expired - Fee Related legal-status Critical Current
Anticipated expiration legal-status Critical

Links

Images

Classifications

    • YGENERAL TAGGING OF NEW TECHNOLOGICAL DEVELOPMENTS; GENERAL TAGGING OF CROSS-SECTIONAL TECHNOLOGIES SPANNING OVER SEVERAL SECTIONS OF THE IPC; TECHNICAL SUBJECTS COVERED BY FORMER USPC CROSS-REFERENCE ART COLLECTIONS [XRACs] AND DIGESTS
    • Y02TECHNOLOGIES OR APPLICATIONS FOR MITIGATION OR ADAPTATION AGAINST CLIMATE CHANGE
    • Y02PCLIMATE CHANGE MITIGATION TECHNOLOGIES IN THE PRODUCTION OR PROCESSING OF GOODS
    • Y02P70/00Climate change mitigation technologies in the production process for final industrial or consumer products
    • Y02P70/10Greenhouse gas [GHG] capture, material saving, heat recovery or other energy efficient measures, e.g. motor control, characterised by manufacturing processes, e.g. for rolling metal or metal working

Landscapes

  • Processing Of Stones Or Stones Resemblance Materials (AREA)

Abstract

本实用新型公开了一种建筑装修用瓷砖可调切割器,包括支撑箱,所述支撑箱的顶部固定连接有夹持台,所述夹持台的顶部开设有夹持槽。本实用新型通过支撑箱、夹持台、夹持槽、第一电机、第一螺纹杆、螺纹管、调节杆、夹持板、过滤箱、金属过滤网、调节箱、第二电机、转盘、传动轴、移动杆、衔接杆、刷板、驱动箱、第三电机、第二螺纹杆、螺纹套、液压推杆、切割机、收集管和排风机的配合使用,具备过滤灰尘和固定稳固的优点,解决了现有的建筑装修用切割机在使用的过程中会产生大量的灰尘颗粒,直接排放在空气中,容易对作业环境造成污染,而且不能对瓷砖进行快速限位固定,从而不利于人们使用的问题。

Description

一种建筑装修用瓷砖可调切割器
技术领域
本实用新型涉及建筑装修技术领域,具体为一种建筑装修用瓷砖可调切割器。
背景技术
建筑装修是指对住宅、桥梁、体育馆等等,用石材,木材等建筑材料搭建的一种供人居住和使用的物体用各种材料对其进行外部面貌或者内部环境的美化和改进,使其更具有情调,更同时具有居住和商业价值,在建筑装修的过程中需要用到切割机对瓷砖进行切割加工,然而现有的建筑装修用切割机在使用的过程中会产生大量的灰尘颗粒,直接排放在空气中,容易对作业环境造成污染,而且不能对瓷砖进行快速限位固定,从而不利于人们使用。
实用新型内容
本实用新型的目的在于提供一种建筑装修用瓷砖可调切割器,具备过滤灰尘和固定稳固的优点,解决了现有的建筑装修用切割机在使用的过程中会产生大量的灰尘颗粒,直接排放在空气中,容易对作业环境造成污染,而且不能对瓷砖进行快速限位固定,从而不利于人们使用的问题。
为实现上述目的,本实用新型提供如下技术方案:一种建筑装修用瓷砖可调切割器,包括支撑箱,所述支撑箱的顶部固定连接有夹持台,所述夹持台的顶部开设有夹持槽,所述支撑箱内腔左侧的顶部固定连接有第一电机,所述第一电机的输出端固定连接有第一螺纹杆,所述第一螺纹杆表面的右侧螺纹连接有螺纹管,所述螺纹管的右侧贯穿支撑箱并固定连接有调节杆,所述调节杆的左侧贯穿至夹持槽的内腔并固定连接有夹持板,所述支撑箱的左侧固定连接有过滤箱,所述过滤箱内腔的顶部与底部之间固定连接有金属过滤网,所述过滤箱的顶部固定连接有调节箱,所述调节箱内腔左侧的顶部固定连接有第二电机,所述第二电机的输出端固定连接有转盘,所述转盘右侧的顶部固定连通有传动轴,所述传动轴的表面活动连接有移动杆,所述移动杆的底部活动连接有衔接杆,所述衔接杆的底部贯穿至过滤箱的内腔并固定连接有刷板,所述调节箱右侧的顶部固定连接有驱动箱,所述驱动箱内腔的左侧固定连接有第三电机,所述第三电机的输出端固定连接有第二螺纹杆,所述第二螺纹杆的表面螺纹连接有螺纹套,所述螺纹套的底部固定连接有液压推杆,所述液压推杆的底部固定连接有切割机,所述液压推杆左侧的底部设置有收集管,所述收集管的左端与过滤箱连通,所述调节箱的正面连通有排风机。
优选的,所述收集管的表面套设有固定套,固定套的右侧与液压推杆固定连接。
优选的,所述调节箱内腔底部的左侧固定连接有竖杆,竖杆的顶部贯穿至衔接杆的顶部。
优选的,所述金属过滤网左侧的底部设置有收集盒,所述金属过滤网的右侧设置有活性炭过滤网。
优选的,所述夹持台的前侧和后侧均设置有手轮,手轮相对的一侧均固定连接有螺杆,螺杆远离手轮的一侧贯穿至夹持槽的内腔并固定连接有固定板。
优选的,所述螺纹管底部的左侧固定连接有衔接套,衔接套的内腔滑动连接有支杆,支杆的两端均与支撑箱的内壁固定连接。
与现有技术相比,本实用新型的有益效果如下:
1、本实用新型通过支撑箱、夹持台、夹持槽、第一电机、第一螺纹杆、螺纹管、调节杆、夹持板、过滤箱、金属过滤网、调节箱、第二电机、转盘、传动轴、移动杆、衔接杆、刷板、驱动箱、第三电机、第二螺纹杆、螺纹套、液压推杆、切割机、收集管和排风机的配合使用,具备过滤灰尘和固定稳固的优点,解决了现有的建筑装修用切割机在使用的过程中会产生大量的灰尘颗粒,直接排放在空气中,容易对作业环境造成污染,而且不能对瓷砖进行快速限位固定,从而不利于人们使用的问题。
2、本实用新型通过设置固定套,能够对收集管进行支撑,通过设置竖杆,能够提高调节杆移动时的稳定性,通过设置收集盒,能够对清洁下的灰尘进行收集,方便操作人员进行清理,通过设置活性炭过滤网,能够进入过滤箱内的空气进行二次过滤,提高过滤效果。
附图说明
图1为本实用新型结构示意图;
图2为本实用新型结构夹持台的俯视图;
图3为本实用新型结构主视图。
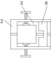
图中:1、支撑箱;2、夹持台;3、夹持槽;4、第一电机;5、第一螺纹杆;6、螺纹管;7、调节杆;8、夹持板;9、过滤箱;10、金属过滤网;11、调节箱;12、第二电机;13、转盘;14、传动轴;15、移动杆;16、衔接杆;17、刷板;18、驱动箱;19、第三电机;20、第二螺纹杆;21、螺纹套;22、液压推杆;23、切割机;24、收集管;25、排风机;26、收集盒。
具体实施方式
下面将结合本实用新型实施例中的附图,对本实用新型实施例中的技术方案进行清楚、完整地描述,显然,所描述的实施例仅仅是本实用新型一部分实施例,而不是全部的实施例。基于本实用新型中的实施例,本领域普通技术人员在没有做出创造性劳动前提下所获得的所有其他实施例,都属于本实用新型保护的范围。
请参阅图1-3,一种建筑装修用瓷砖可调切割器,包括支撑箱1,支撑箱1的顶部固定连接有夹持台2,夹持台2的顶部开设有夹持槽3,支撑箱1内腔左侧的顶部固定连接有第一电机4,第一电机4的输出端固定连接有第一螺纹杆5,第一螺纹杆5表面的右侧螺纹连接有螺纹管6,螺纹管6的右侧贯穿支撑箱1并固定连接有调节杆7,调节杆7的左侧贯穿至夹持槽3的内腔并固定连接有夹持板8,支撑箱1的左侧固定连接有过滤箱9,过滤箱9内腔的顶部与底部之间固定连接有金属过滤网10,过滤箱9的顶部固定连接有调节箱11,调节箱11内腔左侧的顶部固定连接有第二电机12,第二电机12的输出端固定连接有转盘13,转盘13右侧的顶部固定连通有传动轴14,传动轴14的表面活动连接有移动杆15,移动杆15的底部活动连接有衔接杆16,衔接杆16的底部贯穿至过滤箱9的内腔并固定连接有刷板17,调节箱11右侧的顶部固定连接有驱动箱18,驱动箱18内腔的左侧固定连接有第三电机19,第三电机19的输出端固定连接有第二螺纹杆20,第二螺纹杆20的表面螺纹连接有螺纹套21,螺纹套21的底部固定连接有液压推杆22,液压推杆22的底部固定连接有切割机23,液压推杆22左侧的底部设置有收集管24,收集管24的左端与过滤箱9连通,调节箱11的正面连通有排风机25,收集管24的表面套设有固定套,通过设置固定套,能够对收集管24进行支撑,固定套的右侧与液压推杆22固定连接,调节箱11内腔底部的左侧固定连接有竖杆,通过设置竖杆,能够提高调节杆7移动时的稳定性,竖杆的顶部贯穿至衔接杆16的顶部,金属过滤网10左侧的底部设置有收集盒26,通过设置收集盒26,能够对清洁下的灰尘进行收集,方便操作人员进行清理,金属过滤网10的右侧设置有活性炭过滤网,通过设置活性炭过滤网,能够进入过滤箱9内的空气进行二次过滤,提高过滤效果,夹持台2的前侧和后侧均设置有手轮,手轮相对的一侧均固定连接有螺杆,螺杆远离手轮的一侧贯穿至夹持槽3的内腔并固定连接有固定板,螺纹管6底部的左侧固定连接有衔接套,衔接套的内腔滑动连接有支杆,支杆的两端均与支撑箱1的内壁固定连接,通过支撑箱1、夹持台2、夹持槽3、第一电机4、第一螺纹杆5、螺纹管6、调节杆7、夹持板8、过滤箱9、金属过滤网10、调节箱11、第二电机12、转盘13、传动轴14、移动杆15、衔接杆16、刷板17、驱动箱18、第三电机19、第二螺纹杆20、螺纹套21、液压推杆22、切割机23、收集管24和排风机25的配合使用,具备过滤灰尘和固定稳固的优点,解决了现有的建筑装修用切割机在使用的过程中会产生大量的灰尘颗粒,直接排放在空气中,容易对作业环境造成污染,而且不能对瓷砖进行快速限位固定,从而不利于人们使用的问题。
使用时,操作人员将需要加工的瓷砖放置在夹持槽3内,然后通过外接控制器启动第一电机4,第一电机4配合第一螺纹杆5带动螺纹管6移动,螺纹管6配合调节杆7带动夹持板8移动,对瓷砖进行快速夹持定位,然后启动液压推杆22和切割机23对瓷砖进行切割加工,在切割的过程中产生灰尘颗粒时,启动排风机25,排风机25配合收集管24将灰尘颗粒抽入过滤箱9内,通过金属过滤网10对灰尘颗粒进行过滤,启动第二电机12,第二电机12配合转盘13带动传动轴14转动,传动轴14配合移动杆15带动衔接杆16移动,衔接杆16移动带动刷板17对金属过滤网10表面的灰尘进行清洁,避免灰尘堵塞金属过滤网10,影响过滤效果,然后通过活性炭过滤网进行二次过滤,进一步提高过滤效果。
尽管已经示出和描述了本实用新型的实施例,对于本领域的普通技术人员而言,可以理解在不脱离本实用新型的原理和精神的情况下可以对这些实施例进行多种变化、修改、替换和变型,本实用新型的范围由所附权利要求及其等同物限定。

Claims (6)

1.一种建筑装修用瓷砖可调切割器,包括支撑箱(1),其特征在于:所述支撑箱(1)的顶部固定连接有夹持台(2),所述夹持台(2)的顶部开设有夹持槽(3),所述支撑箱(1)内腔左侧的顶部固定连接有第一电机(4),所述第一电机(4)的输出端固定连接有第一螺纹杆(5),所述第一螺纹杆(5)表面的右侧螺纹连接有螺纹管(6),所述螺纹管(6)的右侧贯穿支撑箱(1)并固定连接有调节杆(7),所述调节杆(7)的左侧贯穿至夹持槽(3)的内腔并固定连接有夹持板(8),所述支撑箱(1)的左侧固定连接有过滤箱(9),所述过滤箱(9)内腔的顶部与底部之间固定连接有金属过滤网(10),所述过滤箱(9)的顶部固定连接有调节箱(11),所述调节箱(11)内腔左侧的顶部固定连接有第二电机(12),所述第二电机(12)的输出端固定连接有转盘(13),所述转盘(13)右侧的顶部固定连通有传动轴(14),所述传动轴(14)的表面活动连接有移动杆(15),所述移动杆(15)的底部活动连接有衔接杆(16),所述衔接杆(16)的底部贯穿至过滤箱(9)的内腔并固定连接有刷板(17),所述调节箱(11)右侧的顶部固定连接有驱动箱(18),所述驱动箱(18)内腔的左侧固定连接有第三电机(19),所述第三电机(19)的输出端固定连接有第二螺纹杆(20),所述第二螺纹杆(20)的表面螺纹连接有螺纹套(21),所述螺纹套(21)的底部固定连接有液压推杆(22),所述液压推杆(22)的底部固定连接有切割机(23),所述液压推杆(22)左侧的底部设置有收集管(24),所述收集管(24)的左端与过滤箱(9)连通,所述调节箱(11)的正面连通有排风机(25)。
2.根据权利要求1所述的一种建筑装修用瓷砖可调切割器,其特征在于:所述收集管(24)的表面套设有固定套,固定套的右侧与液压推杆(22)固定连接。
3.根据权利要求1所述的一种建筑装修用瓷砖可调切割器,其特征在于:所述调节箱(11)内腔底部的左侧固定连接有竖杆,竖杆的顶部贯穿至衔接杆(16)的顶部。
4.根据权利要求1所述的一种建筑装修用瓷砖可调切割器,其特征在于:所述金属过滤网(10)左侧的底部设置有收集盒(26),所述金属过滤网(10)的右侧设置有活性炭过滤网。
5.根据权利要求1所述的一种建筑装修用瓷砖可调切割器,其特征在于:所述夹持台(2)的前侧和后侧均设置有手轮,手轮相对的一侧均固定连接有螺杆,螺杆远离手轮的一侧贯穿至夹持槽(3)的内腔并固定连接有固定板。
6.根据权利要求1所述的一种建筑装修用瓷砖可调切割器,其特征在于:所述螺纹管(6)底部的左侧固定连接有衔接套,衔接套的内腔滑动连接有支杆,支杆的两端均与支撑箱(1)的内壁固定连接。
CN202221304465.2U 2022-05-28 2022-05-28 一种建筑装修用瓷砖可调切割器 Expired - Fee Related CN217802565U (zh)

Priority Applications (1)

Application Number Priority Date Filing Date Title
CN202221304465.2U CN217802565U (zh) 2022-05-28 2022-05-28 一种建筑装修用瓷砖可调切割器

Applications Claiming Priority (1)

Application Number Priority Date Filing Date Title
CN202221304465.2U CN217802565U (zh) 2022-05-28 2022-05-28 一种建筑装修用瓷砖可调切割器

Publications (1)

Publication Number Publication Date
CN217802565U true CN217802565U (zh) 2022-11-15

Family

ID=83986133

Family Applications (1)

Application Number Title Priority Date Filing Date
CN202221304465.2U Expired - Fee Related CN217802565U (zh) 2022-05-28 2022-05-28 一种建筑装修用瓷砖可调切割器

Country Status (1)

Country Link
CN (1) CN217802565U (zh)

Similar Documents

Publication Publication Date Title
CN217802565U (zh) 一种建筑装修用瓷砖可调切割器
CN219423953U (zh) 一种除尘机构
CN215969202U (zh) 木材刨削装置
CN212977806U (zh) 一种建筑钢模板用角度可调式打磨装置
CN210368419U (zh) 一种沙发面料生产用高效平板切割装置
CN209664927U (zh) 一种除尘效果好的双头切铝机
CN219380925U (zh) 一种具有收集碎屑功能的开槽机
CN208410092U (zh) 一种新型板材切割机
CN216329232U (zh) 一种能减少空气污染的瓷砖生产用无尘切割装置
CN214026121U (zh) 一种板式家具用的板材开槽装置
CN109500603A (zh) 一种铝型材端面加工用铣床
CN211053900U (zh) 一种高效摇臂锯
CN216139099U (zh) 一种具有自清洁功能的木工裁板机
CN222627066U (zh) 一种带有除杂功能的雕刻机
CN219213413U (zh) 一种无尘式杨木板加工装置
CN221021429U (zh) 一种木地板加工成形装置
CN219583095U (zh) 一种建筑板材切割装置
CN219819252U (zh) 一种铝型材生产用抛光装置
CN219563496U (zh) 一种带除尘装置的木材刨床
CN210584238U (zh) 一种具有除尘功能的建筑材料用切割装置
CN220718780U (zh) 一种快速磨边装置
CN222712385U (zh) 一种木雕铣床
CN222270641U (zh) 四工位开槽机
CN222832612U (zh) 一种可收集废料的雕塑加工底座
CN217967454U (zh) 一种生产木制品用数控打孔雕刻加工装置

Legal Events

Date Code Title Description
GR01 Patent grant
GR01 Patent grant
CF01 Termination of patent right due to non-payment of annual fee
CF01 Termination of patent right due to non-payment of annual fee

Granted publication date: 20221115