CN217801619U - Toolbox convenient to deposit fixedly - Google Patents

Toolbox convenient to deposit fixedly Download PDF

Info

Publication number
CN217801619U
CN217801619U CN202221173962.3U CN202221173962U CN217801619U CN 217801619 U CN217801619 U CN 217801619U CN 202221173962 U CN202221173962 U CN 202221173962U CN 217801619 U CN217801619 U CN 217801619U
Authority
CN
China
Prior art keywords
box
fixed
post
fixedly connected
socle
Prior art date
Legal status (The legal status is an assumption and is not a legal conclusion. Google has not performed a legal analysis and makes no representation as to the accuracy of the status listed.)
Active
Application number
CN202221173962.3U
Other languages
Chinese (zh)
Inventor
陈超
高广林
叶宏伟
Current Assignee (The listed assignees may be inaccurate. Google has not performed a legal analysis and makes no representation or warranty as to the accuracy of the list.)
Zhejiang Baolian Plastic Co ltd
Original Assignee
Zhejiang Baolian Plastic Co ltd
Priority date (The priority date is an assumption and is not a legal conclusion. Google has not performed a legal analysis and makes no representation as to the accuracy of the date listed.)
Filing date
Publication date
Application filed by Zhejiang Baolian Plastic Co ltd filed Critical Zhejiang Baolian Plastic Co ltd
Priority to CN202221173962.3U priority Critical patent/CN217801619U/en
Application granted granted Critical
Publication of CN217801619U publication Critical patent/CN217801619U/en
Active legal-status Critical Current
Anticipated expiration legal-status Critical

Links

Images

Landscapes

  • Toys (AREA)

Abstract

The utility model belongs to the technical field of the toolbox, and a toolbox convenient to deposit fixedly is disclosed, including fixed box, the inside activity joint of fixed box has the toolbox, the inside activity joint of toolbox has the bull stick, the upper and lower both ends difference fixedly connected with gag lever post of bull stick right-hand member, the outside fixedly connected with box of fixed box, the first cover post of the inside downside fixedly connected with of box. The utility model discloses a first socle, the bull stick, the gag lever post, magnet, second socle and communicating pipe isotructure cooperation make the device fixed effectual, press the bull stick left, rotatory bull stick 90 degrees, two gag lever posts contact and make first socle shrink with first socle, first socle inside gas passes to second socle inside through communicating pipe, second socle extension promotes magnet and fixed box contact, make the device fixed effectual through first socle, the bull stick, the gag lever post, magnet, second socle and communicating pipe isotructure cooperation.

Description

Toolbox convenient to deposit fixedly
Technical Field
The utility model belongs to the technical field of the toolbox, specifically a toolbox convenient to deposit fixedly.
Background
The tool box is a container, is a container for storing tools and various household sundries, can be used for various purposes such as production, household, maintenance, fishing and the like, is widely used, is divided into a movable type and a fixed type, and needs to be used for placing and carrying the tools for maintenance during maintenance, so that the tool box convenient for storing and fixing is needed for placing and carrying the tools for maintenance.
The inside a plurality of recesses that are equipped with of current toolbox comes to deposit the instrument, can only carry out simple classification to the instrument like this to because detect needs, often meet the condition of jolting, the internal tool lacks fixedly, and easy the production is rocked, makes different instruments mix the doping, provides a toolbox of being convenient for deposit fixedly now and solves above problem.
SUMMERY OF THE UTILITY MODEL
The utility model aims at the above problem, the utility model provides a toolbox convenient to deposit fixedly has fixed effectual, the closed advantage of preventing pressing from both sides.
In order to achieve the above object, the utility model provides a following technical scheme: the utility model provides a toolbox convenient to deposit fixedly, includes fixed box, the inside activity joint of fixed box has the toolbox, the inside activity joint of toolbox has the bull stick, the upper and lower both ends difference fixedly connected with gag lever post of bull stick right-hand member, the outside fixedly connected with box of fixed box, the first set of post of downside fixedly connected with of box inside, the fixed intercommunication in left end of first set of post has communicating pipe, the fixed intercommunication in lower extreme of communicating pipe has second set of post, the rear side fixedly connected with magnet of second set of post, the vertical axis face both ends structure of gag lever post is unanimous completely.
As a preferred technical scheme of the utility model, the top swing joint of box left end has the apron, the fixed knot of bottom side fixedly connected with of apron right-hand member, the right-hand member activity joint of fixed knot has the fixed pin, the top activity joint of box right-hand member has the buffer block, presses left through lapping for fixed knot contacts with the buffer block, and presses the buffer block downwards, makes the third spring shrink, fixed pin and box contact, fixed pin left end displacement, makes the second spring shrink, when pressing to notch department, the second spring extension promotes the fixed pin right displacement and with the notch joint.
As a preferred technical scheme of the utility model, the left end of bull stick is equipped with the lug, is convenient for manual rotation and pull tool holder, rectangular hole and gag lever post looks adaptation have been seted up at the middle part of fixed box right-hand member, and through pressing the bull stick right-hand member and rotatory, can fix the tool holder with fixed box right side joint.
As a preferred technical scheme of the utility model, the front side fixedly connected with box of second cover post, the inside of first cover post is equipped with first spring and box fixed connection, makes gag lever post and first cover post contactless through rotatory bull stick, and first spring extension promotes the extension of first cover post, can take out the inside gas of second cover post to first cover post inside through communicating pipe for second cover post shrink and pull magnet, the front end activity post of first cover post inclines to the bull stick middle part, and the rotation of the gag lever post of being convenient for makes gag lever post and first cover post joint more smooth, the right-hand member of fixed box is the nonmetal sheet metal for magnet can be fixed with tool holder absorption through magnetic force.
As an optimal technical scheme of the utility model, cooperation structures such as box, three fixed box of row four in the inside fixed equidistance fixedly connected with of box, tool holder make the instrument can classify through setting up a plurality of tool holders and place, the front end of first set of post can contact with the gag lever post, the right-hand member of tool holder is made by the metal for magnet can adsorb fixedly to the tool holder, the rear side upper end of tool holder left end is equipped with the memo, and the categorised seeking of instrument of being convenient for, the tool holder is the chevron shape structure.
As a preferred technical scheme of the utility model, the left side of fixed pin is equipped with the second spring, the left end fixedly connected with of second spring is fixed to be detained, the bottom side fixedly connected with third spring of buffer block when the apron pushes down and closes, through third spring and fixed knot contact buffering for the device has the effect of preventing pressing from both sides, notch and fixed round pin looks adaptation joint have been seted up to the right-hand member at box top, and through pressing the fixed pin, upwards stimulate the apron again, open the device.
Compared with the prior art, the beneficial effects of the utility model are as follows:
the utility model discloses a first set of post, the bull stick, the gag lever post, magnet, second set of post and communicating pipe isotructure cooperation make the device fixed effectual, through putting into the instrument inside the tool holder and with tool holder and fixed box joint, press the bull stick left, rotate the bull stick 90 degrees after the gag lever post passes the rectangular hole, carry out spacing through the gag lever post to the tool holder, make two gag lever posts contact with first set of post and make first set of post shrink, first spring shrink, first set of post inside gas passes to second set of post inside through communicating pipe, make second set of post extend and promote magnet and fixed box contact, and adsorb fixedly through magnet with the tool holder, make the device fixed effectual through first set of post, the bull stick, the gag lever post, magnet, second set of post and communicating pipe isotructure cooperation;
the utility model discloses an apron, fixed knot, fixed pin and buffer block isotructure make the device have the closed effect of preventing pressing from both sides, press left through lapping, make fixed knot and buffer block contact, and press the buffer block downwards, make the third spring shrink, fixed pin and box contact, the fixed pin is the displacement of left end, make the second spring shrink, when pressing to notch department, the second spring extension, promote the fixed pin displacement right and with the notch joint, through lapping, fixed knot, fixed pin and buffer block isotructure make the device have the closed effect of preventing pressing from both sides.
Drawings
FIG. 1 is a schematic sectional view of a part of the structure of the present invention;
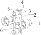
FIG. 2 is a diagram showing the position relationship among the first sleeve column, the rotating rod, the limiting rod, the magnet, the second sleeve column and the communicating tube;
FIG. 3 is a schematic front sectional view of the present invention;
fig. 4 is a schematic view of the overlooking relationship of the first sleeve column, the rotating rod, the limiting rod, the magnet, the second sleeve column and the communicating pipe of the present invention;
fig. 5 is a schematic cross-sectional view of the rotating rod, the fixing box and the tool box of the present invention;
fig. 6 is a front view schematically illustrating the present invention.
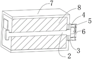
In the figure: 1. a first set of columns; 2. a rotating rod; 3. a limiting rod; 4. a magnet; 5. a second set of columns; 6. a communicating pipe; 7. a fixing box; 8. a tool box; 9. a box body; 10. a cover plate; 11. a fixing buckle; 12. a fixing pin; 13. and a buffer block.
Detailed Description
The technical solutions in the embodiments of the present invention will be described clearly and completely with reference to the accompanying drawings in the embodiments of the present invention, and it is obvious that the described embodiments are only some embodiments of the present invention, not all embodiments. Based on the embodiments in the present invention, all other embodiments obtained by a person skilled in the art without creative work belong to the protection scope of the present invention.
As shown in fig. 1 to 6, the utility model provides a toolbox convenient to deposit fixedly, including fixed box 7, the inside activity joint of fixed box 7 has toolbox 8, the inside activity joint of toolbox 8 has bull stick 2, the upper and lower both ends difference fixedly connected with gag lever post 3 of 2 right-hand members of bull stick, the outside fixedly connected with box 9 of fixed box 7, the first sleeve post 1 of the inside downside fixedly connected with of box 9, the fixed intercommunication in left end of first sleeve post 1 has communicating pipe 6, the fixed intercommunication in lower extreme of communicating pipe 6 has second sleeve post 5, the rear side fixedly connected with magnet 4 of second sleeve post 5, the vertical axis both ends structure of gag lever post 3 is completely unanimous.
Wherein, the top swing joint of box 9 left end has apron 10, the bottom side fixedly connected with of apron 10 right-hand member is fixed to be detained 11, the right-hand member activity joint of fixed knot 11 has fixed pin 12, the top activity joint of box 9 right-hand member has buffer block 13, press left through lapping 10, make fixed knot 11 and buffer block 13 contact, and press buffer block 13 downwards, make the shrink of third spring, fixed pin 12 and box 9 contact, fixed pin 12 left end displacement, make the shrink of second spring, when pressing to notch department, the extension of second spring, promote fixed pin 12 right displacement and with notch joint.
Wherein, the left end of bull stick 2 is equipped with the lug, is convenient for manual rotation and pull tool holder 8, and rectangular hole and 3 looks adaptations of gag lever post have been seted up at the middle part of fixed 7 right-hand members of box, through pressing and rotating bull stick 2 right-hand member, can fix tool holder 8 with fixed 7 right sides joint.
Wherein, the front side fixedly connected with box 9 of second cover post 5, the inside of first cover post 1 is equipped with first spring and box 9 fixed connection, make gag lever post 3 and first cover post 1 contactless through rotatory bull stick 2, first spring extension promotes first cover post 1 extension, can take out the inside gas of second cover post 5 to first cover post 1 inside through communicating pipe 6, make second cover post 5 shrink and pulling magnet 4, the front end activity post of first cover post 1 inclines to bull stick 2 middle part, the rotation of the gag lever post 3 of being convenient for, make gag lever post 3 more smooth with first cover post 1 joint, the right-hand member of fixed box 7 is the non-metal sheet, make magnet 4 can adsorb fixedly with tool holder 8 through magnetic force.
Wherein, the inside fixed equidistance fixedly connected with three rows of four rows of fixed boxes 7 of box 9, cooperation structures such as tool holder 8 make the instrument can classify through setting up a plurality of tool holders 8 and place, the front end of first set of post 1 can contact with gag lever post 3, the right-hand member of tool holder 8 is made by the metal, it is fixed to make magnet 4 adsorb tool holder 8, the rear side upper end of 8 left ends of tool holder is equipped with the memo, the categorised seeking of instrument of being convenient for, tool holder 8 is the chevron shape structure.
Wherein, the left side of fixed pin 12 is equipped with the second spring, the left end fixedly connected with of second spring is detained 11 fixedly, the bottom side fixedly connected with third spring of buffer block 13, when apron 10 pushes down and closes, through third spring and the fixed 11 contact cushions of detaining, make the device have and prevent pressing from both sides the effect, notch and 12 looks adaptations joints of fixed pin have been seted up to the right-hand member at box 9 top, through pressing down fixed pin 12, upwards stimulate apron 10 again, open the device.
The utility model discloses a theory of operation and use flow:
firstly, an operator presses the fixing pin 12, then pulls the cover plate 10 upwards to open the device, rotates the ninety degrees at the left end of the rotating rod 2 to ensure that the limiting rod 3 is not contacted with the first sleeve column 1, the first spring extends and pushes the first sleeve column 1 to extend, gas in the second sleeve column 5 can be pumped into the first sleeve column 1 through the communicating pipe 6 to ensure that the second sleeve column 5 contracts and pulls the magnet 4, the rotating rod 2 is pulled leftwards, the limiting rod 3 pushes the tool box 8 to displace leftwards, the tool is placed in the tool box 8, the tool box 8 is placed in the tool box 8 and clamped with the fixing box 7 through placing the tool in the tool box 8, the rotating rod 2 is pressed leftwards, the rotating rod 2 is rotated ninety degrees after the limiting rod 3 passes through the rectangular hole, and the tool box 8 is limited through the limiting rod 3, make two gag lever post 3 and first sleeve post 1 contact and make first sleeve post 1 shrink, first spring shrink, first sleeve post 1 inside gas passes to inside second sleeve post 5 through communicating pipe 6, make second sleeve post 5 extension and promote magnet 4 and fixed box 7 contact, and adsorb fixedly with tool holder 8 through magnet 4, press down through lapping 10 left, make fixed knot 11 and buffer block 13 contact, and press buffer block 13 downwards, make the shrink of third spring, fixed pin 12 contacts with box 9, fixed pin 12 is the displacement of left end, make the shrink of second spring, when pressing to notch department, the extension of second spring, promote fixed pin 12 to displace right and with the notch joint, accomplish the operation.
It should be noted that, in this document, relational terms such as first and second, and the like are used solely to distinguish one entity or action from another entity or action without necessarily requiring or implying any actual such relationship or order between such entities or actions. Also, the terms "comprises," "comprising," or any other variation thereof, are intended to cover a non-exclusive inclusion, such that a process, method, article, or apparatus that comprises a list of elements does not include only those elements but may include other elements not expressly listed or inherent to such process, method, article, or apparatus.
Although embodiments of the present invention have been shown and described, it will be appreciated by those skilled in the art that changes, modifications, substitutions and alterations can be made in these embodiments without departing from the principles and spirit of the invention, the scope of which is defined in the appended claims and their equivalents.

Claims (6)

1. A toolbox convenient to store and fix, comprising a fixing box (7), characterized in that: the inside activity joint of fixed box (7) has tool holder (8), the inside activity joint of tool holder (8) has bull stick (2), upper and lower both ends difference fixedly connected with gag lever post (3) of bull stick (2) right-hand member, the outside fixedly connected with box (9) of fixed box (7), the first sleeve post of downside fixedly connected with (1) of box (9) inside, the left end fixed intercommunication of first sleeve post (1) has communicating pipe (6), the lower extreme fixed intercommunication of communicating pipe (6) has second sleeve post (5), the rear side fixedly connected with magnet (4) of second sleeve post (5), the vertical axis face both ends structure in gag lever post (3) is completely unanimous.
2. A tool case for easy storage and securement as claimed in claim 1, wherein: the top swing joint of box (9) left end has apron (10), the bottom side fixedly connected with of apron (10) right-hand member is fixed to be buckled (11), the right-hand member activity joint of fixed knot (11) has fixed pin (12), the top activity joint of box (9) right-hand member has buffer block (13).
3. A tool case for easy storage and securement as claimed in claim 1, wherein: the left end of the rotating rod (2) is provided with a convex block, and the middle part of the right end of the fixed box (7) is provided with a rectangular hole matched with the limiting rod (3).
4. A tool case for easy storage and securement as claimed in claim 1, wherein: the front side fixedly connected with box (9) of second socle (5), the inside of first socle (1) is equipped with first spring and box (9) fixed connection, the front end activity post of first socle (1) inclines to bull stick (2) middle part, the right-hand member of fixed box (7) is the non-metal sheet.
5. A tool case for easy storage and securement as claimed in claim 1, wherein: the front end of first set of post (1) can contact with gag lever post (3), the right-hand member of tool holder (8) is made by the metal, the rear side upper end of tool holder (8) left end is equipped with the memo, tool holder (8) are the chevron structure.
6. A tool case for easy storage and securement as claimed in claim 2, wherein: the left side of fixed pin (12) is equipped with the second spring, the left end fixedly connected with of second spring is detained fixedly (11), the bottom side fixedly connected with third spring of buffer block (13), the notch and fixed pin (12) looks adaptation joint have been seted up to the right-hand member at box (9) top.
CN202221173962.3U 2022-05-17 2022-05-17 Toolbox convenient to deposit fixedly Active CN217801619U (en)

Priority Applications (1)

Application Number Priority Date Filing Date Title
CN202221173962.3U CN217801619U (en) 2022-05-17 2022-05-17 Toolbox convenient to deposit fixedly

Applications Claiming Priority (1)

Application Number Priority Date Filing Date Title
CN202221173962.3U CN217801619U (en) 2022-05-17 2022-05-17 Toolbox convenient to deposit fixedly

Publications (1)

Publication Number Publication Date
CN217801619U true CN217801619U (en) 2022-11-15

Family

ID=83984061

Family Applications (1)

Application Number Title Priority Date Filing Date
CN202221173962.3U Active CN217801619U (en) 2022-05-17 2022-05-17 Toolbox convenient to deposit fixedly

Country Status (1)

Country Link
CN (1) CN217801619U (en)

Similar Documents

Publication Publication Date Title
CN209209305U (en) A kind of plant DNA extraction kit
CN217801619U (en) Toolbox convenient to deposit fixedly
CN210642943U (en) List accommodating and managing device for civil engineering cost
CN215456398U (en) Bookshelf is deposited with data to engineering cost
CN211201502U (en) Pet cage door lock
CN204105656U (en) A kind of rack
CN214555347U (en) A sorting device for copper rods with different diameters
CN214449734U (en) Bill clamping device for accounting
CN213616755U (en) A new type of gripper
CN212146348U (en) Measuring tool bin for building decoration
CN206801405U (en) A kind of toilet door with mobile phone grip slipper
CN209592837U (en) New Air Data Storage
CN210253924U (en) Turnover clamping type fin turnover appliance
CN209124212U (en) A kind of spraying hanging tool
CN206550913U (en) A kind of accessory battery clamping device
CN221105235U (en) Land contract strorage device of contractual arrangement with classification structure
CN217101332U (en) IBC ton bucket that conveniently piles up
CN210374902U (en) Single-side table detection tool
CN215859519U (en) Key management box
CN201140899Y (en) a shelf
CN219211300U (en) Automatic stamping equipment of stainless steel spare
CN216361697U (en) On-spot toolbox for sampling of environmental monitoring
CN212513729U (en) Solid chemicals sampler
CN210126365U (en) Portable file box with clamping and positioning mechanism
CN214602215U (en) Height-adjustable material blocking plate shearing device

Legal Events

Date Code Title Description
GR01 Patent grant
GR01 Patent grant