CN217776312U - 薄壁类壳体零件铣削辅助装置 - Google Patents
薄壁类壳体零件铣削辅助装置 Download PDFInfo
- Publication number
- CN217776312U CN217776312U CN202221971916.8U CN202221971916U CN217776312U CN 217776312 U CN217776312 U CN 217776312U CN 202221971916 U CN202221971916 U CN 202221971916U CN 217776312 U CN217776312 U CN 217776312U
- Authority
- CN
- China
- Prior art keywords
- supporting plate
- face
- plate
- upright post
- base
- Prior art date
- Legal status (The legal status is an assumption and is not a legal conclusion. Google has not performed a legal analysis and makes no representation as to the accuracy of the status listed.)
- Active
Links
- 238000003801 milling Methods 0.000 title claims abstract description 26
- 238000003825 pressing Methods 0.000 claims abstract description 29
- 238000009434 installation Methods 0.000 claims abstract description 10
- 238000003466 welding Methods 0.000 claims abstract description 4
- 229910000831 Steel Inorganic materials 0.000 claims description 5
- 239000010959 steel Substances 0.000 claims description 5
- 238000004519 manufacturing process Methods 0.000 abstract description 7
- 238000003754 machining Methods 0.000 abstract description 5
- 238000006243 chemical reaction Methods 0.000 abstract description 2
- 239000000463 material Substances 0.000 description 7
- 238000000034 method Methods 0.000 description 2
- 125000006850 spacer group Chemical group 0.000 description 2
- 230000009286 beneficial effect Effects 0.000 description 1
- 230000000694 effects Effects 0.000 description 1
- 210000003205 muscle Anatomy 0.000 description 1
Images
Landscapes
- Jigs For Machine Tools (AREA)
Abstract
本实用新型属于机械加工的技术领域,具体涉及一种薄壁类壳体零件铣削辅助装置。所述装置包括基座、立柱、压板、A面支撑板、紧固螺母、垫块、B面支撑板和C面支撑板;所述的基座为矩形板形状,作为该装置的安装平台,左右两端设置有U形槽,用于与铣床的铣削平台通过紧固螺栓固定连接;所述的立柱下端通过螺纹或焊接等形式与基座固定连接,立柱的外表面设置有螺纹,用于与紧固螺母配合连接;所述的压板为U形结构,中间设置有椭圆形槽孔,所述的立柱穿过椭圆形槽孔;本实用新型结构容易制造,无复杂结构件,制作成本较低;该装置原理简单,操作方便,通过几个支撑板的转换即可快速完成多个薄壁面的铣削加工,方便快捷,保证了加工精度。
Description
技术领域
本实用新型属于机械加工的技术领域,具体涉及一种薄壁类壳体零件铣削辅助装置。
背景技术
本实用新型涉及了一种薄壁类壳体零件铣削辅助装置。薄壁类壳体零件广泛用于生产及生活中的各项产品中,在飞机装配生产中,薄壁类壳体零件也得到广泛的应用。该类型的零件,由于尺寸较大,整体壁板厚度较薄,整体壁板尺寸150*150mm以上,壁厚在3mm左右,空间结构。该类零件的生产中,如果采用板料类毛坯件加工十分困难,因为需要去除的材料较多,产生的参与应力或变形程度更加难以控制,同时,薄壁类壳体零件通常受限于刀具的规格材料等限制,很多部位刀具无法进行加工。为此,薄壁类的壳体零件,尤其是存在深腔结构的壳体零件,通常采用铸件的来料形式,然后采用铣削等方式去除余量。
实用新型内容
本实用新型的目的是提供一种薄壁类壳体零件铣削辅助装置,以解决现有技术中存在的上述问题。
本实用新型的技术方案如下:
薄壁类壳体零件铣削辅助装置,包括基座、立柱、压板、A面支撑板、紧固螺母、垫块、B面支撑板和C面支撑板。
所述的基座为钢制材料制成,为矩形板形状,作为该装置的安装平台,左右两端设置有U形槽,用于与铣床的铣削平台通过紧固螺栓固定连接。
所述的立柱为钢制材料支撑,下端通过螺纹或焊接等形式与基座固定连接,立柱的外表面设置有螺纹,用于与紧固螺母配合连接。
所述的压板为U形结构,中间设置有椭圆形槽孔,所述的立柱穿过椭圆形槽孔,且能通过椭圆形槽孔调整位置;所述的压板一端设置有缺口,用于在保证有足够的压紧面积时能够避免与待加工零件干涉。
所述的A面支撑板为T形结构,其上设置有椭圆形槽孔,用于立柱穿过,其中椭圆形槽孔可以保证其余立柱的相对位置能在安装时得到调整。
所述的垫块为下部中空壳体接头,下端一侧面设置有U形槽,用于躲避在压板的压紧位置,保证压板能够实现对零件的压紧;所述的垫块上端面设置有圆孔,用于立柱穿过。
所述的B面支撑板为T形结构,其上设置有椭圆形槽孔,用于立柱穿过,与A面支撑板的区别在于B面支撑板的支撑面积更大,
所述的C面支撑板整体为T形结构,T形底边左右长度不一致,其上设置有椭圆形槽孔,用于立柱穿过,其支撑面设置有两个U形槽,用于躲避C面所在立板的筋条M,使支撑面顶在D面上。
与现有技术相比,本实用新型的有益效果是:
1、该装置结构,容易制造,无复杂结构件,制作成本较低;
2、另外,该装置原理简单,操作方便,通过几个支撑板的转换即可快速完成多个薄壁面的铣削加工,方便快捷,保证了加工精度。
附图说明
图1为待加工零件结构示意图;
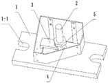
图2为面A的铣削加工装夹示意图;
图3为压板3的结构示意图;
图4为面B的铣削加工装夹示意图;
图5为垫块6的主视图和左视图;
图6为垫块6的轴侧视图;
图7为面C的铣削加工装夹示意图;
图中:1-基座;2-立柱;3-压板;4-A面支撑板;5-紧固螺母;6-垫块;7-B 面支撑板;8-C面支撑板。
具体实施方式
以下结合附图和技术方案,进一步说明本实用新型的具体实施方式。
应当了解,所附附图并非按比例地绘制,而仅是为了说明本实用新型的基本原理的各种特征的适当简化的画法。本文所公开的本实用新型的具体设计特征包括例如具体尺寸、方向、位置和外形将部分地由具体所要应用和使用的环境来确定。在所附多个附图中,同样的或等同的部件(元素)以相同的附图标记标引。
实施例1:
薄壁类壳体零件铣削辅助装置,包括基座1、立柱2、压板3、A面支撑板4、紧固螺母5、垫块6、B面支撑板7和C面支撑板8。
所述的基座1为钢制材料制成,为矩形板形状,作为该装置的安装平台,左右两端设置有U形槽,用于与铣床的铣削平台通过紧固螺栓固定连接。
所述的立柱2为钢制材料支撑,下端通过螺纹或焊接等形式与基座1固定连接,立柱的外表面设置有螺纹,用于与紧固螺母5配合连接。
所述的压板3为U形结构,中间设置有椭圆形槽孔3-1,所述的立柱2穿过椭圆形槽孔3-1,且能通过椭圆形槽孔3-1调整位置;所述的压板3一端设置有缺口3-2,用于在保证有足够的压紧面积时能够避免与待加工零件干涉。
所述的A面支撑板4为T形结构,其上设置有椭圆形槽孔,用于立柱2穿过,其中椭圆形槽孔可以保证其余立柱2的相对位置能在安装时得到调整。
所述的垫块6为下部中空壳体接头,下端一侧面设置有U形槽6-1,用于躲避在压板3的压紧位置,保证压板3能够实现对零件的压紧;所述的垫块6 上端面设置有圆孔6-2,用于立柱2穿过。
所述的B面支撑板7为T形结构,其上设置有椭圆形槽孔,用于立柱2穿过,与A面支撑板4的区别在于B面支撑板7的支撑面积更大,
所述的C面支撑板8整体为T形结构,T形底边左右长度不一致,其上设置有椭圆形槽孔,用于立柱2穿过,其支撑面设置有两个U形槽,用于躲避C 面所在立板的筋条M,使支撑面顶在D面上。
实施例2:
一种薄壁类壳体零件铣削辅助装置,该装置包括:基座1、立柱2、压板3、A面支撑板4、紧固螺母5、垫块6、B面支撑板7和C面支撑板8。在铣削面 A、B、C时,具体操作步骤如下:
1首先,在加工A面时,按照如图2的顺序安装零件,将压板3通过椭圆形槽孔3-1放置在零件腔体内,然后使得立柱穿过A面支撑板4上的椭圆形槽孔,调整A面支撑板4,使得支撑面紧贴A面所在的立板得内侧面,并采用紧固螺母5拧紧,完成零件的夹紧和A面的支撑,在普通铣床上即可完成A面的加工。
2待A面加工完成后,进行B面加工。将A面支撑板4卸下,将垫块6按照如图4的方式进行放置,将使立柱2穿过B面支撑板7的椭圆形槽孔,调整 B面支撑板7,使得支撑面紧贴B面所在的立板得内侧面,并采用紧固螺母5 拧紧,完成零件的夹紧和B面的支撑,在普通铣床上即可完成A面的加工。
3待B面加工完成后,进行C面加工。将B面支撑板7卸下,将C面支撑板8按照如图7的方式安装,安装及调整方式同上,采用紧固螺母5拧紧,注意在安装C面支撑板8时,要保证零件上的筋M位于支撑面的凹槽内,使得支撑面顶在面D上,保证定位效果,放置因为大面积悬空而变形。
Claims (3)
1.薄壁类壳体零件铣削辅助装置,其特征在于,包括基座(1)、立柱(2)、压板(3)、A面支撑板(4)、紧固螺母(5)、垫块(6)、B面支撑板(7)和C面支撑板(8);
所述的基座(1)为矩形板形状,作为该装置的安装平台,左右两端设置有U形槽,用于与铣床的铣削平台通过紧固螺栓固定连接;
所述的立柱(2)下端通过螺纹或焊接等形式与基座(1)固定连接,立柱(2)的外表面设置有螺纹,用于与紧固螺母(5)配合连接;
所述的压板(3)为U形结构,中间设置有椭圆形槽孔(3-1),所述的立柱(2)穿过椭圆形槽孔(3-1),且能通过椭圆形槽孔(3-1)调整位置;所述的压板(3)一端设置有缺口(3-2),用于在保证有足够的压紧面积时能够避免与待加工零件干涉;
所述的A面支撑板(4)为T形结构,其上设置有椭圆形槽孔,用于立柱(2)穿过,其中椭圆形槽孔可以保证其余立柱(2)的相对位置能在安装时得到调整;
所述的垫块(6)为下部中空壳体接头,下端一侧面设置有U形槽(6-1),用于躲避在压板(3)的压紧位置,保证压板(3)能够实现对零件的压紧;所述的垫块(6)上端面设置有圆孔(6-2),用于立柱(2)穿过;
所述的B面支撑板(7)为T形结构,其上设置有椭圆形槽孔,用于立柱(2)穿过,与A面支撑板(4)的区别在于B面支撑板(7)的支撑面积更大,
所述的C面支撑板(8)上设置有椭圆形槽孔,用于立柱(2)穿过,其支撑面设置有两个U形槽,用于躲避C面所在立板的筋条M,使支撑面顶在D面上。
2.如权利要求1所述的薄壁类壳体零件铣削辅助装置,其特征在于,所述的基座(1)和立柱(2)为钢制材料制成。
3.如权利要求1或2所述的薄壁类壳体零件铣削辅助装置,其特征在于,所述的C面支撑板(8)整体为T形结构,T形底边左右长度不一致。
Priority Applications (1)
| Application Number | Priority Date | Filing Date | Title |
|---|---|---|---|
| CN202221971916.8U CN217776312U (zh) | 2022-07-29 | 2022-07-29 | 薄壁类壳体零件铣削辅助装置 |
Applications Claiming Priority (1)
| Application Number | Priority Date | Filing Date | Title |
|---|---|---|---|
| CN202221971916.8U CN217776312U (zh) | 2022-07-29 | 2022-07-29 | 薄壁类壳体零件铣削辅助装置 |
Publications (1)
| Publication Number | Publication Date |
|---|---|
| CN217776312U true CN217776312U (zh) | 2022-11-11 |
Family
ID=83942990
Family Applications (1)
| Application Number | Title | Priority Date | Filing Date |
|---|---|---|---|
| CN202221971916.8U Active CN217776312U (zh) | 2022-07-29 | 2022-07-29 | 薄壁类壳体零件铣削辅助装置 |
Country Status (1)
| Country | Link |
|---|---|
| CN (1) | CN217776312U (zh) |
-
2022
- 2022-07-29 CN CN202221971916.8U patent/CN217776312U/zh active Active
Similar Documents
| Publication | Publication Date | Title |
|---|---|---|
| CN102039532B (zh) | 用于工件机加工的定位方法及其自动夹具 | |
| CN113953859B (zh) | 一种叶片六点定位工装 | |
| CN102347668B (zh) | 可调斜槽度整圆定子冲片压装模具结构 | |
| CN113798518B (zh) | 一种密封支座组件车加工变形控制装置及控制方法 | |
| CN217776312U (zh) | 薄壁类壳体零件铣削辅助装置 | |
| CN102284616A (zh) | 可调式z形断差折弯模具 | |
| CN107378572B (zh) | 用于加工风力发电机定子盘的工装 | |
| CN220480900U (zh) | 一种机匣加工用装夹工装 | |
| CN201900464U (zh) | 用于工件机加工的自动夹具 | |
| CN2481449Y (zh) | 翼型轴承座磨内圆夹具 | |
| CN218518210U (zh) | 一种用于预燃室下部结构加工定位的安装装置 | |
| CN209157739U (zh) | 一种长条件铣削夹具 | |
| CN216503162U (zh) | 一种矽钢片叠压焊接工装 | |
| CN202668151U (zh) | 一种供发动机缸盖钻铣结合面加工使用的夹具 | |
| CN203579258U (zh) | 一种发动机机匣的安装夹具 | |
| CN206382664U (zh) | 一种用于加工圆形大凹模的治具 | |
| CN214489744U (zh) | 一种锥形薄壁环件加工装置 | |
| CN215144734U (zh) | 用于发电机密封瓦的加工胎具 | |
| KR20190099790A (ko) | 클린칭 스터드 볼트 가공용 전조 다이스 | |
| CN213702604U (zh) | 一种用于法兰的复合加工工装 | |
| CN103128560A (zh) | 端面铣加工单面斜度斜垫板的方法 | |
| CN210927383U (zh) | 一种大功率泵用电机铁心车胎 | |
| CN216373474U (zh) | 一种用于模具的下垫板 | |
| CN223368854U (zh) | 一种泥浆泵连杆精镗孔成型工装 | |
| CN223789963U (zh) | 一种用于薄壁环形件机加工的装夹工装 |
Legal Events
| Date | Code | Title | Description |
|---|---|---|---|
| GR01 | Patent grant | ||
| GR01 | Patent grant |
