CN217756083U - Netted winding membrane processingequipment - Google Patents
Netted winding membrane processingequipment Download PDFInfo
- Publication number
- CN217756083U CN217756083U CN202221915848.3U CN202221915848U CN217756083U CN 217756083 U CN217756083 U CN 217756083U CN 202221915848 U CN202221915848 U CN 202221915848U CN 217756083 U CN217756083 U CN 217756083U
- Authority
- CN
- China
- Prior art keywords
- fixed
- cylinder
- winding
- roller
- stretch film
- Prior art date
- Legal status (The legal status is an assumption and is not a legal conclusion. Google has not performed a legal analysis and makes no representation as to the accuracy of the status listed.)
- Active
Links
Images
Landscapes
- Winding Of Webs (AREA)
Abstract
本实用新型公开了一种网状缠绕膜加工装置,包括底板、移动底座、定位机构,收卷辊,所述底板的端面左侧中部开设有凹槽,所述凹槽的内部底侧水平固定有导向滑杆,所述导向滑杆上套接有移动块,通过升降气缸推动支撑板上移,并且支撑板的上移推动料辊支撑块上移,使其料辊支撑块通过设置弧形卸料槽对收卷辊进行支撑,随后使第一方形长条块和第二方形长条块脱离方形插槽,然后通过升降气缸收缩使收卷辊向下移动,随后能够轻松的将缠绕膜成品从手段辊上卸下,此种卸料的方式不仅节省了人力的使用,也提高了缠绕膜卷收的效率。
The utility model discloses a reticulated wrapping film processing device, comprising a bottom plate, a moving base, a positioning mechanism and a winding roller. A groove is formed in the middle of the left side of the end face of the bottom plate, and the inner bottom side of the groove is horizontally fixed. There is a guide sliding rod, a moving block is sleeved on the guide sliding rod, the support plate is moved by the lifting cylinder, and the upward movement of the support plate pushes the material roller support block to move up, so that the material roller support block passes through the setting arc. The discharge chute supports the take-up roller, and then the first square block and the second square block are disengaged from the square slot, and then retracted by the lifting cylinder to move the take-up roller downward, and then the winding can be easily wound The finished film is unloaded from the means roll. This unloading method not only saves the use of manpower, but also improves the efficiency of winding film.
Description
技术领域technical field
本实用新型属于缠绕膜加工技术领域,具体涉及一种网状缠绕膜加工装置。The utility model belongs to the technical field of winding film processing, and in particular relates to a net-shaped winding film processing device.
背景技术Background technique
缠绕膜在加工完毕后,需要对缠绕膜进行收卷以方便运输;现有的收卷装置在使用时容易发生褶皱的情况,影响缠绕膜平整性;同时收卷缠绕膜所用的收卷辊在安装与拆卸上也存在不便,影响使用效果。After the stretch film is processed, the stretch film needs to be rolled up to facilitate transportation; the existing winding device is prone to wrinkles during use, which affects the flatness of the stretch film; at the same time, the winding roller used for winding the stretch film is There is also inconvenience in installation and disassembly, which affects the use effect.
为此,公告号为“CN212740054U”的一种缠绕膜加工用收卷装置,包括工作底板、收卷支架、固定支架以及活动支架,所述收卷支架、固定支架、活动支架均设置有两根;所述收卷支架、固定支架底部均与工作底板固定连接,在两根固定支架之间设置有换向辊,在两根活动支架之间设置有张紧辊;所述活动支架安装在固定支架上侧,且在活动支架下侧设置有调节丝杆,调节丝杆安装在固定支架中;在两根收卷支架之间设置有缠绕辊,收卷支架上设置有卡块,在缠绕辊两端设置有卡槽,所述卡块配合设置在卡槽中。For this reason, a winding device for stretch film processing with the announcement number "CN212740054U" includes a working base plate, a winding support, a fixed support and a movable support, and the rolling support, the fixed support and the movable support are all provided with two ; The bottom of the rewinding support and the fixed support are fixedly connected to the working base, a reversing roller is arranged between the two fixed supports, and a tensioning roller is arranged between the two movable supports; the movable support is installed on the fixed The upper side of the bracket, and the adjustable screw rod is arranged on the lower side of the movable bracket. Both ends are provided with card slots, and the card blocks are matched and arranged in the card slots.
对于上述该缠绕膜加工用收卷装置,虽然调整张紧辊对膜的张紧程度,保证缠绕膜收卷的平整度,但是其在使用过程中仍然存在以下较为明显的缺陷:上述的收卷装置在虽然能能够对缠绕膜进行收卷,然而在收卷辊在对缠绕膜收卷完成后需要进行卸料时,基本都是通过人工手动通过辅助工具将收卷辊从收卷支架上拆卸,随后将收卷辊抬下收卷支架进行卸料,此种卸料的方式不仅浪费人力物力,同时由于收卷辊较重的情况下人工抬取较为费劲并且较为麻烦,并且会直接降低对缠绕膜的收卷效率,在上述装置中没有设置在收卷辊对缠绕膜进收卷的定位装置,容易使缠绕膜在收卷的过程中出现跑偏的问题,从而使缠绕膜在收卷辊上的体积变大,并且收卷的成品缠绕膜层与层之间出现参差不齐的问题。For the above-mentioned winding device for stretch film processing, although the tension degree of the tension roller to the film is adjusted to ensure the flatness of the stretch film winding, it still has the following obvious defects in the use process: the above-mentioned winding Although the device is capable of winding the stretch film, when the winding roller needs to be unloaded after winding the stretch film, the winding roller is basically manually disassembled from the winding support through auxiliary tools. , and then lift the rewinding roller down the rewinding bracket for unloading. This unloading method not only wastes manpower and material resources, but also is laborious and cumbersome to lift manually when the rewinding roller is heavy, and will directly reduce the load on the The winding efficiency of the stretch film, in the above-mentioned device, there is no positioning device for the winding roller to wind the stretch film, which is easy to cause the stretch film to deviate during the winding process, so that the stretch film is in the process of winding The volume on the rolls becomes larger, and there is a problem of unevenness between the layers of the finished stretch film wound up.
实用新型内容Utility model content
本实用新型的目的在于提供一种网状缠绕膜加工装置,以解决上述背景技术中提出的问题。The purpose of this utility model is to provide a net-shaped stretch film processing device to solve the problems raised in the above-mentioned background technology.
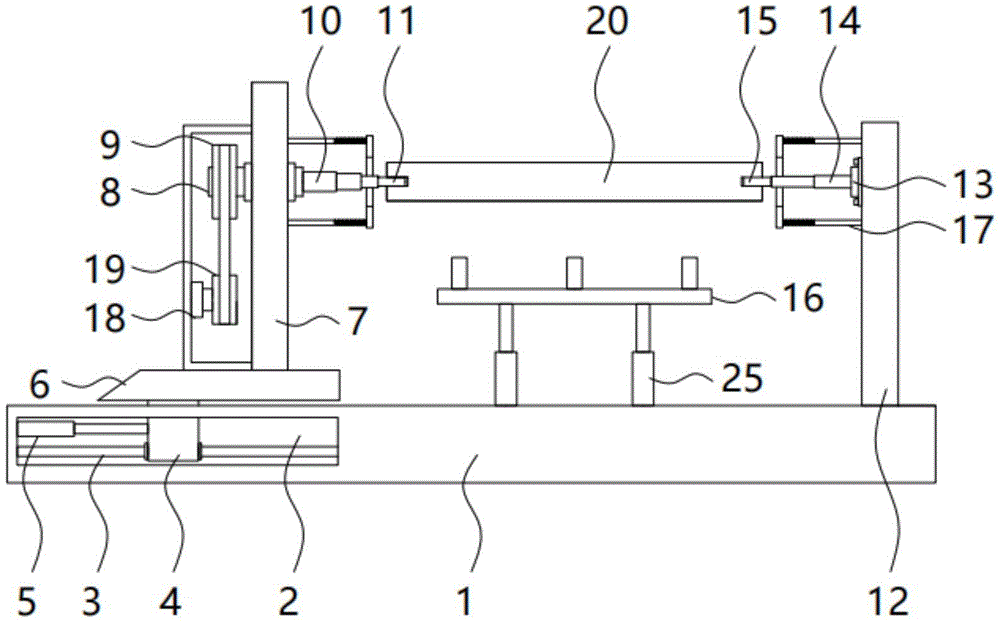
为实现上述目的,本实用新型提供如下技术方案:一种网状缠绕膜加工装置,包括底板、移动底座、定位机构,收卷辊,所述底板的端面左侧中部开设有凹槽,所述凹槽的内部底侧水平固定有导向滑杆,所述导向滑杆上套接有移动块,所述导向滑杆的左侧上端固定有第一气缸,所述移动底座的的端面右侧固定有立杆,所述立杆的上端通过轴承套贯穿安装有传动轴,所述传动轴的左端设有第一皮带轮,且传动轴的右端固定有第二气缸,所述第二气缸的活塞杆一端固定有第一方形长条块,所述底板的端面右侧中部设有固定立杆,所述固定立杆的左侧面上端固定有轴承座,所述轴承座的右侧转动固定有第三气缸,所述第三气缸的活塞杆一端固定有第二方形长条块,所述底板端面中部设有卸料组件,所述定位机构设置有两组,两组所述定位机构的一端分别固定在立杆和固定立杆的一侧,所述收卷辊的两侧面设有方形插槽。In order to achieve the above purpose, the utility model provides the following technical solutions: a net-shaped winding film processing device, including a bottom plate, a moving base, a positioning mechanism, and a winding roller. The inner bottom side of the groove is horizontally fixed with a guide slide bar, the guide slide bar is sleeved with a moving block, the left upper end of the guide slide bar is fixed with the first cylinder, and the end face of the mobile base is fixed on the right side There is a vertical rod, the upper end of the vertical rod is installed with a transmission shaft through a bearing sleeve, the left end of the transmission shaft is provided with a first pulley, and the right end of the transmission shaft is fixed with a second cylinder, the piston rod of the second cylinder One end is fixed with a first square strip, the middle part of the end face of the bottom plate is provided with a fixed vertical rod, the upper end of the left side of the fixed vertical rod is fixed with a bearing seat, and the right side of the bearing seat is rotated and fixed with a The third cylinder, one end of the piston rod of the third cylinder is fixed with a second rectangular strip, the middle part of the end face of the bottom plate is provided with a discharge assembly, the positioning mechanism is provided with two groups, and one end of the positioning mechanism of the two groups They are respectively fixed on one side of the vertical rod and the fixed vertical rod, and the two sides of the winding roller are provided with square slots.
所述立杆的左侧设有防护框,且防护框内部底端的左侧设有电机,所述电机的转轴上安装有第二皮带轮,所述第二皮带轮通过皮带与第一皮带轮之间传动连接,此项在需要对缠绕膜进行收卷时,通过电机的启动带动第二皮带轮转动,且第二皮带轮通过皮带带动第一皮带轮转动,且第一皮带轮的转动带动传动轴进行转动,通过传动轴的转动带动收卷辊转动,从而实现对缠绕膜的收卷缠绕工作,并且通过防护框的保护设计,可使工作人员在此靠近工作更加的安全。The left side of the pole is provided with a protective frame, and the left side of the inner bottom of the protective frame is provided with a motor, and a second pulley is installed on the rotating shaft of the motor, and the second pulley is driven by a belt and the first pulley. Connection, when it is necessary to rewind the stretch film, the motor starts to drive the second pulley to rotate, and the second pulley drives the first pulley to rotate through the belt, and the rotation of the first pulley drives the transmission shaft to rotate, through the transmission The rotation of the shaft drives the winding roller to rotate, so as to realize the winding and winding work of the stretch film, and through the protection design of the protective frame, it is safer for the staff to work close to it.
所述定位机构包括两组伸缩气缸,两组所述伸缩气缸的活塞杆上套接有弹簧件,且两组所述伸缩气缸的一端固定有活动定位盘,所述活动定位盘的中部为圆形贯穿孔设计,所述圆形贯穿孔的内径大于收卷辊的直径,且活动定位盘分别活动套接在第二气缸与第三气缸的表面,此行在收卷辊对缠绕膜进行收卷时,可通过伸缩气缸的活动活塞杆推动活动定位盘移动套接在收卷辊的两端表面,能够使缠绕膜在收卷的过程中保持直线稳定性,避免了出现缠绕膜收卷出现跑偏,从而导致缠绕砸收卷辊上的缠绕膜参差不齐的问题,进一步提高缠绕膜的收卷质量,同时能够对不同宽度的缠绕膜进行活动限位的作用。The positioning mechanism includes two groups of telescopic cylinders, the piston rods of the two groups of telescopic cylinders are sleeved with spring parts, and one end of the two groups of telescopic cylinders is fixed with a movable positioning plate, and the middle part of the movable positioning plate is a circle The inner diameter of the circular through hole is larger than the diameter of the winding roller, and the movable positioning discs are respectively movably socketed on the surfaces of the second cylinder and the third cylinder. When rolling, the movable positioning plate can be pushed by the movable piston rod of the telescopic cylinder to move and socketed on the two ends of the winding roller, so that the stretching film can maintain linear stability during the winding process and avoid the occurrence of the winding film. Deviation, which leads to the unevenness of the stretched film on the winding roll, further improves the winding quality of the stretched film, and at the same time can limit the movement of stretched films of different widths.
所述第一气缸的活塞杆一端与移动块的左侧面固定连接,且移动块的顶部延伸延至凹槽的上端并且与所设移动底座底部的中端固定连接,此项通过第一气缸的活塞杆伸缩移动,能够使其移动块在导向滑杆上定向滑动,可保证移动块在往复移动中更加的稳定,同时移动块的移动带动移动底座在底板上往复滑动,并且使立杆与其上面设置的其他构件进行调节移动,从而实现对使立杆与固定立杆之间的间距进行调节,进而能够对不同长度的收卷辊进行活动拆解的作用,从而使不同长度收卷辊可对不同宽度的缠绕膜进行收卷的功能,进一步提高该装置的实用性。One end of the piston rod of the first cylinder is fixedly connected to the left side of the moving block, and the top of the moving block extends to the upper end of the groove and is fixedly connected to the middle end of the bottom of the set moving base. The telescopic movement of the piston rod can make the moving block slide directionally on the guide slide rod, which can ensure that the moving block is more stable during the reciprocating movement. The other components set up are adjusted and moved, so as to realize the adjustment of the distance between the vertical rod and the fixed vertical rod, and then can disassemble the winding rollers of different lengths, so that the winding rollers of different lengths can be adjusted The function of rewinding stretch films of different widths further improves the practicability of the device.
所述第一方形长条块、第二方形长条块分别与收卷辊的两端所设方形插槽之间相配合活动插接,此项在需要对完成收卷的收卷辊进行卸料时,通过第二气缸和第三气缸使活塞杆回缩分别让第一方形长条块、第二方形长条块从收卷辊两端设置的方形插槽自动移出,并且通过卸料组件对收卷辊进行顶起,从而实现对收卷辊从料架上自动卸料的功能。The first square strip block and the second square strip block are respectively matched with the square slots provided at the two ends of the winding roller for movable insertion. When unloading, the piston rod is retracted through the second cylinder and the third cylinder, so that the first square strip and the second square strip are automatically moved out of the square slots provided at both ends of the winding roller, and through the unloading The material component jacks up the winding roller, so as to realize the function of automatically unloading the winding roller from the material rack.
所述卸料组件包括两组升降气缸,两组所述升降气缸的活塞杆顶部水平设有支撑板,所述支撑板的端面等距设有料辊支撑块,且料辊支撑块的表面设有弧形卸料槽,所述弧形卸料槽内部设有保护垫片,此项在需要将卸料时,通过升降气缸推动支撑板上移,并且支撑板的上移推动料辊支撑块上移,使其料辊支撑块通过设置弧形卸料槽对收卷辊进行支撑,随后使第一方形长条块和第二方形长条块脱离方形插槽,然后通过升降气缸收缩使收卷辊向下移动,随后能够轻松的将缠绕膜成品从手段辊上卸下,此种卸料的方式不仅节省了人力的使用,也提高了缠绕膜卷收的效率。The unloading assembly includes two groups of lifting cylinders, the tops of the piston rods of the two groups of lifting cylinders are horizontally provided with support plates, the end faces of the support plates are equidistantly provided with material roller support blocks, and the surface of the material roller support blocks is provided with Arc-shaped unloading chute, the interior of the arc-shaped unloading chute is equipped with a protective gasket. When the material needs to be unloaded, the lifting cylinder pushes the support plate to move, and the upward movement of the support plate pushes the material roller support block Move the material roller support block to support the winding roller through the arc-shaped unloading groove, and then make the first square strip and the second square strip out of the square slot, and then shrink the winding roller through the lifting cylinder The winding roller moves downward, and then the finished stretch film can be easily unloaded from the means roller. This unloading method not only saves the use of manpower, but also improves the efficiency of stretch film winding.
本实用新型的技术效果和优点:该网状缠绕膜加工装置,在需要对缠绕膜进行收卷时,通过电机的启动带动第二皮带轮转动,且第二皮带轮通过皮带带动第一皮带轮转动,且第一皮带轮的转动带动传动轴进行转动,通过传动轴的转动带动收卷辊转动,从而实现对缠绕膜的收卷缠绕工作,并且通过防护框的保护设计,可使工作人员在此靠近工作更加的安全,通过伸缩气缸的活动活塞杆推动活动定位盘移动套接在收卷辊的两端表面,能够使缠绕膜在收卷的过程中保持直线稳定性,避免了出现缠绕膜收卷出现跑偏,从而导致缠绕砸收卷辊上的缠绕膜参差不齐的问题,进一步提高缠绕膜的收卷质量,同时能够对不同宽度的缠绕膜进行活动限位的作用。The technical effects and advantages of the utility model: when the stretch film processing device needs to be wound up, the motor starts to drive the second pulley to rotate, and the second pulley drives the first pulley to rotate through the belt, and The rotation of the first pulley drives the transmission shaft to rotate, and the rotation of the transmission shaft drives the winding roller to rotate, so as to realize the winding and winding work of the stretch film, and through the protection design of the protective frame, the staff can work closer here. The movable positioning plate is pushed by the movable piston rod of the telescopic cylinder to move and socketed on the two ends of the winding roller, so that the stretching film can maintain linear stability during the winding process and avoid the occurrence of stretching when the stretching film is wound up. Offset, resulting in the unevenness of the stretched film on the winding roll, further improving the winding quality of the stretched film, and at the same time, it can limit the movement of stretched films of different widths.
通过第一气缸的活塞杆伸缩移动,能够使其移动块在导向滑杆上定向滑动,可保证移动块在往复移动中更加的稳定,同时移动块的移动带动移动底座在底板上往复滑动,并且使立杆与其上面设置的其他构件进行调节移动,从而实现对使立杆与固定立杆之间的间距进行调节,进而能够对不同长度的收卷辊进行活动拆解的作用,从而使不同长度收卷辊可对不同宽度的缠绕膜进行收卷的功能,进一步提高该装置的实用性。Through the telescopic movement of the piston rod of the first cylinder, the moving block can be oriented to slide on the guide slide rod, which can ensure that the moving block is more stable in the reciprocating movement, and at the same time, the movement of the moving block drives the moving base to reciprocate on the bottom plate, and Adjust and move the vertical rod and other components arranged on it, so as to realize the adjustment of the distance between the vertical rod and the fixed vertical rod, and then can disassemble the winding rollers of different lengths, so that different lengths The rewinding roller can rewind stretch films of different widths, which further improves the practicability of the device.
在需要对完成收卷的收卷辊进行卸料时,通过第二气缸和第三气缸使活塞杆回缩分别让第一方形长条块、第二方形长条块从收卷辊两端设置的方形插槽自动移出,并且通过卸料组件对收卷辊进行顶起,从而实现对收卷辊从料架上自动卸料的功能,进而解决了人工手动通过辅助工具将收卷辊从收卷支架上拆卸,随后将收卷辊抬下收卷支架进行卸料,此种卸料的方式不仅浪费人力物力,同时由于收卷辊较重的情况下人工抬取较为费劲并且较为麻烦的问题,进一步提高该装置卸料的效率。When it is necessary to unload the rewinding roller that has been rewound, the piston rod is retracted through the second cylinder and the third cylinder to allow the first square long piece and the second square long piece to move from both ends of the rewinding roller. The set square slot is automatically moved out, and the rewinding roller is jacked up by the unloading component, so as to realize the function of automatically unloading the rewinding roller from the material rack, thereby solving the problem of manually removing the rewinding roller from the rack through auxiliary tools. Disassemble from the rewinding support, and then lift the rewinding roller down the rewinding support for unloading. This unloading method not only wastes manpower and material resources, but also because the rewinding roller is heavy, it is laborious and troublesome to lift manually. Problem, further improve the efficiency of the device unloading.
在需要将卸料时,通过升降气缸推动支撑板上移,并且支撑板的上移推动料辊支撑块上移,使其料辊支撑块通过设置弧形卸料槽对收卷辊进行支撑,随后使第一方形长条块和第二方形长条块脱离方形插槽,然后通过升降气缸收缩使收卷辊向下移动,随后能够轻松的将缠绕膜成品从手段辊上卸下,此种卸料的方式不仅节省了人力的使用,也提高了缠绕膜卷收的效率。When unloading is required, the support plate is moved up by the lifting cylinder, and the support plate is moved up to push the support block of the material roller to move up, so that the support block of the material roll can support the winding roller by setting an arc-shaped discharge groove. Then the first rectangular strip and the second rectangular strip are separated from the square slot, and then the winding roller moves downward through the contraction of the lifting cylinder, and then the finished stretch film can be easily unloaded from the means roller. This unloading method not only saves the use of manpower, but also improves the efficiency of stretch film winding.
附图说明Description of drawings
图1为本实用新型的结构示意图;Fig. 1 is the structural representation of the utility model;
图2为本实用新型定位机构局部放大图;Fig. 2 is a local enlarged view of the positioning mechanism of the utility model;
图3为本实用新型收卷辊侧视图;Fig. 3 is a side view of the utility model winding roller;
图4为本实用新型卸料组件局部侧视图。Fig. 4 is a partial side view of the unloading assembly of the present invention.
图中:1、底板;2、凹槽;3、导向滑杆;4、移动块;5、第一气缸;6、移动底座;7、立杆;8、传动轴;9、第一皮带轮;10、第二气缸;11、第一方形长条块;12、固定立杆;13、轴承座;14、第三气缸;15、第二方形长条块;16、卸料组件;17、定位机构;18、电机;19、第二皮带轮;20、收卷辊;21、方形插槽;22、伸缩气缸;23、弹簧件;24、活动定位盘;25、升降气缸;26、支撑板;27、料辊支撑块;28、弧形卸料槽。In the figure: 1. Base plate; 2. Groove; 3. Guide slide bar; 4. Moving block; 5. First cylinder; 6. Moving base; 7. Upright rod; 8. Transmission shaft; 10. The second cylinder; 11. The first rectangular block; 12. The fixed pole; 13. The bearing seat; 14. The third cylinder; 15. The second rectangular block; 16. The unloading assembly; 17. Positioning mechanism; 18, motor; 19, second pulley; 20, winding roller; 21, square slot; 22, telescopic cylinder; 23, spring member; 24, movable positioning plate; 25, lifting cylinder; 26, support plate ; 27, material roller support block; 28, arc discharge chute.
具体实施方式Detailed ways
下面将结合本实用新型实施例中的附图,对本实用新型实施例中的技术方案进行清楚、完整地描述,显然,所描述的实施例仅仅是本实用新型一部分实施例,而不是全部的实施例。基于本实用新型中的实施例,本领域普通技术人员在没有做出创造性劳动前提下所获得的所有其他实施例,都属于本实用新型保护的范围。The technical solutions in the embodiments of the present invention will be clearly and completely described below in conjunction with the accompanying drawings in the embodiments of the present invention. Obviously, the described embodiments are only part of the embodiments of the present invention, not all of them. example. Based on the embodiments of the present utility model, all other embodiments obtained by persons of ordinary skill in the art without making creative efforts belong to the scope of protection of the present utility model.
请参阅图1-4,本实用新型提供一种技术方案:一种网状缠绕膜加工装置,包括底板1、移动底座6、定位机构17,收卷辊20,底板1的端面左侧中部开设有凹槽2,且凹槽2的内部底侧水平固定有导向滑杆3,可使移动块4左右进行调节滑动,导向滑杆3上套接有移动块4,可使移动底座6进行滑动,导向滑杆3的左侧上端固定有第一气缸5,可使移动块4自动在导向滑杆3上进行滑动,第一气缸5的活塞杆一端与移动块4的左侧面固定连接,且移动块4的顶部延伸延至凹槽2的上端并且与所设移动底座6底部的中端固定连接,可根据收卷辊20的宽度进行调节进行夹持,移动底座6的的端面右侧固定有立杆7,便于传动轴8的贯穿转动设置。Please refer to Figures 1-4, the utility model provides a technical solution: a net-shaped winding film processing device, including a
立杆7的上端通过轴承套贯穿安装有传动轴8,且传动轴8的左端设有第一皮带轮9,可使传动轴8转动,立杆7的左侧设有防护框,实现对内部构件的防护作用,防护框内部底端的左侧设有电机18,可使第二皮带轮19转动,电机18的转轴上安装有第二皮带轮19,且第二皮带轮19通过皮带与第一皮带轮9之间传动连接,带动收卷辊20进行转动,传动轴8的右端固定有第二气缸10,且第二气缸10的活塞杆一端固定有第一方形长条块11,实现对收卷辊20左端的插接定位,底板1的端面右侧中部设有固定立杆12,且固定立杆12的左侧面上端固定有轴承座13,可使第三气缸14进转动,轴承座13的右侧转动固定有第三气缸14,便于第二方形长条块15一端的设置固定。The upper end of the vertical rod 7 is installed with a
第三气缸14的活塞杆一端固定有第二方形长条块15,便于对收卷辊20的右端插接,底板1端面中部设有卸料组件16,且卸料组件16包括两组升降气缸25,实现支撑板26的升降,两组升降气缸25的活塞杆顶部水平设有支撑板26,便于料辊支撑块27的在其表面的等距设置,支撑板26的端面等距设有料辊支撑块27,且料辊支撑块27的表面设有弧形卸料槽28,便于对收卷辊20的支撑,弧形卸料槽28内部设有保护垫片,起到对收卷辊20的支撑卸料保护作用,定位机构17包括两组伸缩气缸22,且两组伸缩气缸22的活塞杆上套接有弹簧件23,使活动定位盘24具备较好的缓冲弹性。One end of the piston rod of the
两组伸缩气缸22的一端固定有活动定位盘24,实现对缠绕膜收卷时的定位作用,活动定位盘24的中部为圆形贯穿孔设计,圆形贯穿孔的内径大于收卷辊20的直径,能够活动套接在收卷辊20的表面两端,且活动定位盘24分别活动套接在第二气缸10与第三气缸14的表面,能够使活动定位盘24进行左右移动,定位机构17设置有两组,两组定位机构17的一端分别固定在立杆7和固定立杆12的一侧,定位机构17包括两组伸缩气缸22,实现活动定位盘24的移动进行间距的调节,两组伸缩气缸22的活塞杆上套接有弹簧件23,提高活动定位盘24的弹性。One end of the two groups of
两组伸缩气缸22的一端固定有活动定位盘24,活动定位盘24的中部为圆形贯穿孔设计,圆形贯穿孔的内径大于收卷辊20的直径,且活动定位盘24分别活动套接在第二气缸10与第三气缸14的表面,可实现对不同宽度缠绕膜的收卷定位,收卷辊20的两侧面设有方形插槽21,便于方形条块的对其进行插接定位,第一方形长条块11、第二方形长条块15分别与收卷辊20的两端所设方形插槽21之间相配合活动插接,便于后续的收卷辊20的卸料·。One end of the two groups of
具体的,使用时在需要对完成收卷的收卷辊20进行卸料时,通过第二气缸10和第三气缸14使活塞杆回缩分别让第一方形长条块11、第二方形长条块15从收卷辊20两端设置的方形插槽21自动移出,并且通过卸料组件16对收卷辊20进行顶起,从而实现对收卷辊20从料架上自动卸料的功能,进而解决了人工手动通过辅助工具将收卷辊20从收卷支架上拆卸,随后将收卷辊20抬下收卷支架进行卸料,此种卸料的方式不仅浪费人力物力,同时由于收卷辊20较重的情况下人工抬取较为费劲并且较为麻烦的问题,进一步提高该装置卸料的效率。Specifically, when in use, when it is necessary to unload the winding
在需要将卸料时,通过升降气缸25推动支撑板26上移,并且支撑板26的上移推动料辊支撑块27上移,使其料辊支撑块27通过设置弧形卸料槽28对收卷辊20进行支撑,随后使第一方形长条块11和第二方形长条块15脱离方形插槽21,然后通过升降气缸25收缩使收卷辊20向下移动,随后能够轻松的将缠绕膜成品从手段辊上卸下,此种卸料的方式不仅节省了人力的使用,也提高了缠绕膜卷收的效率。When it is necessary to unload, the lifting
最后应说明的是:以上所述仅为本实用新型的优选实施例而已,并不用于限制本实用新型,尽管参照前述实施例对本实用新型进行了详细的说明,对于本领域的技术人员来说,其依然可以对前述各实施例所记载的技术方案进行修改,或者对其中部分技术特征进行等同替换,凡在本实用新型的精神和原则之内,所作的任何修改、等同替换、改进等,均应包含在本实用新型的保护范围之内。Finally, it should be noted that: the above is only a preferred embodiment of the utility model, and is not intended to limit the utility model, although the utility model has been described in detail with reference to the foregoing embodiments, for those skilled in the art , it can still modify the technical solutions recorded in the foregoing embodiments, or perform equivalent replacements on some of the technical features. Any modifications, equivalent replacements, improvements, etc. made within the spirit and principles of the present utility model, All should be included within the protection scope of the present utility model.
Claims (6)
Priority Applications (1)
| Application Number | Priority Date | Filing Date | Title |
|---|---|---|---|
| CN202221915848.3U CN217756083U (en) | 2022-07-21 | 2022-07-21 | Netted winding membrane processingequipment |
Applications Claiming Priority (1)
| Application Number | Priority Date | Filing Date | Title |
|---|---|---|---|
| CN202221915848.3U CN217756083U (en) | 2022-07-21 | 2022-07-21 | Netted winding membrane processingequipment |
Publications (1)
| Publication Number | Publication Date |
|---|---|
| CN217756083U true CN217756083U (en) | 2022-11-08 |
Family
ID=83876252
Family Applications (1)
| Application Number | Title | Priority Date | Filing Date |
|---|---|---|---|
| CN202221915848.3U Active CN217756083U (en) | 2022-07-21 | 2022-07-21 | Netted winding membrane processingequipment |
Country Status (1)
| Country | Link |
|---|---|
| CN (1) | CN217756083U (en) |
Cited By (1)
| Publication number | Priority date | Publication date | Assignee | Title |
|---|---|---|---|---|
| CN117509276A (en) * | 2024-01-05 | 2024-02-06 | 常州华福环境科技股份有限公司 | PTFE film automatic winding equipment and winding method |
-
2022
- 2022-07-21 CN CN202221915848.3U patent/CN217756083U/en active Active
Cited By (2)
| Publication number | Priority date | Publication date | Assignee | Title |
|---|---|---|---|---|
| CN117509276A (en) * | 2024-01-05 | 2024-02-06 | 常州华福环境科技股份有限公司 | PTFE film automatic winding equipment and winding method |
| CN117509276B (en) * | 2024-01-05 | 2024-04-12 | 常州华福环境科技股份有限公司 | PTFE film automatic winding equipment and winding method |
Similar Documents
| Publication | Publication Date | Title |
|---|---|---|
| CN201670604U (en) | a winding mechanism | |
| CN215248478U (en) | Reflecting material processing coiling mechanism | |
| CN217756083U (en) | Netted winding membrane processingequipment | |
| CN209740328U (en) | A film-loading roll for aluminum sheet film production | |
| CN208103560U (en) | A kind of rolling machine that winding effect is good | |
| CN110844702A (en) | A drawing frame device for yarn production and method of using the same | |
| CN216613310U (en) | Coiling mechanism of substrate film production usefulness | |
| CN223028749U (en) | A filter component laser cutting device | |
| CN213356507U (en) | Paper rope rewinding machine | |
| CN207890752U (en) | A kind of wrap-up of antistatic material | |
| CN218988281U (en) | A thin steel plate winding device | |
| CN217756034U (en) | Winding and unwinding device for composite geomembrane production | |
| CN223409040U (en) | A plastic packaging film winding device with limit protection | |
| CN212241870U (en) | A universal mold holder for the production of rubber products | |
| CN221680248U (en) | A winder with guiding function | |
| CN115303838A (en) | A kind of insulating crepe paper winding device | |
| CN221234858U (en) | A winding device for film production | |
| CN219156086U (en) | Paper cutting rewinder | |
| CN219078990U (en) | Stainless steel coil packaging bearing device | |
| CN217534850U (en) | A kind of unloading device for fabric winding | |
| CN221420068U (en) | A cloth winding and unwinding device | |
| CN221886771U (en) | Hot melt adhesive film static electricity removing device | |
| CN219429271U (en) | A plastic sheet winding device with a dust removal mechanism | |
| CN217758089U (en) | Pile yarn cutting mechanism of chenille machine | |
| CN220033506U (en) | Melt-blown cloth winding mechanism with adjustable tensioning |
Legal Events
| Date | Code | Title | Description |
|---|---|---|---|
| GR01 | Patent grant | ||
| GR01 | Patent grant |
