CN217725781U - A broken recovery plant for macromolecular material lamp shade - Google Patents
A broken recovery plant for macromolecular material lamp shade Download PDFInfo
- Publication number
- CN217725781U CN217725781U CN202221675215.XU CN202221675215U CN217725781U CN 217725781 U CN217725781 U CN 217725781U CN 202221675215 U CN202221675215 U CN 202221675215U CN 217725781 U CN217725781 U CN 217725781U
- Authority
- CN
- China
- Prior art keywords
- case
- quick
- witted
- casing
- broken
- Prior art date
- Legal status (The legal status is an assumption and is not a legal conclusion. Google has not performed a legal analysis and makes no representation as to the accuracy of the status listed.)
- Active
Links
- 239000000463 material Substances 0.000 title claims abstract description 18
- 238000011084 recovery Methods 0.000 title claims abstract description 9
- 230000007246 mechanism Effects 0.000 claims description 14
- 239000002861 polymer material Substances 0.000 claims 5
- 238000004064 recycling Methods 0.000 claims 5
- 239000004744 fabric Substances 0.000 claims 2
- 238000012216 screening Methods 0.000 claims 1
- 239000000843 powder Substances 0.000 abstract description 7
- 238000012423 maintenance Methods 0.000 abstract description 3
- 230000002950 deficient Effects 0.000 description 4
- 239000002245 particle Substances 0.000 description 4
- 230000005540 biological transmission Effects 0.000 description 3
- 238000000034 method Methods 0.000 description 3
- 230000008569 process Effects 0.000 description 3
- 239000004594 Masterbatch (MB) Substances 0.000 description 2
- 230000000903 blocking effect Effects 0.000 description 2
- 238000005266 casting Methods 0.000 description 2
- 230000008859 change Effects 0.000 description 2
- 230000008878 coupling Effects 0.000 description 2
- 238000010168 coupling process Methods 0.000 description 2
- 238000005859 coupling reaction Methods 0.000 description 2
- 239000000428 dust Substances 0.000 description 2
- 238000004519 manufacturing process Methods 0.000 description 2
- 239000004033 plastic Substances 0.000 description 2
- 229920003023 plastic Polymers 0.000 description 2
- 238000003825 pressing Methods 0.000 description 2
- 238000000926 separation method Methods 0.000 description 2
- 230000008901 benefit Effects 0.000 description 1
- 239000008187 granular material Substances 0.000 description 1
- 238000007689 inspection Methods 0.000 description 1
- 238000002844 melting Methods 0.000 description 1
- 230000008018 melting Effects 0.000 description 1
- 238000012986 modification Methods 0.000 description 1
- 230000004048 modification Effects 0.000 description 1
- 238000005457 optimization Methods 0.000 description 1
- 238000007789 sealing Methods 0.000 description 1
- 239000002699 waste material Substances 0.000 description 1
Images
Classifications
-
- Y—GENERAL TAGGING OF NEW TECHNOLOGICAL DEVELOPMENTS; GENERAL TAGGING OF CROSS-SECTIONAL TECHNOLOGIES SPANNING OVER SEVERAL SECTIONS OF THE IPC; TECHNICAL SUBJECTS COVERED BY FORMER USPC CROSS-REFERENCE ART COLLECTIONS [XRACs] AND DIGESTS
- Y02—TECHNOLOGIES OR APPLICATIONS FOR MITIGATION OR ADAPTATION AGAINST CLIMATE CHANGE
- Y02W—CLIMATE CHANGE MITIGATION TECHNOLOGIES RELATED TO WASTEWATER TREATMENT OR WASTE MANAGEMENT
- Y02W30/00—Technologies for solid waste management
- Y02W30/50—Reuse, recycling or recovery technologies
- Y02W30/62—Plastics recycling; Rubber recycling
Landscapes
- Disintegrating Or Milling (AREA)
Abstract
The utility model discloses a broken recovery plant for macromolecular material lamp shade, including the frame, install quick-witted case in the frame, the top and the bottom of machine case are opened, and quick-witted incasement installs the broken tool bit through drive arrangement driven, install the casing on the machine case, the casing is articulated with quick-witted case one side, the casing contain the feed inlet and with quick-witted roof portion complex bottom opening, feed inlet department is provided with hides the curtain, and quick-witted bottom of the case portion is provided with the workbin, only feeds through feed inlet and outside through the casing after casing, quick-witted case, workbin are connected. The utility model provides a reduce giving off of powder when LED lamp shade section bar to macromolecular material is broken to make things convenient for the broken recovery plant who is used for the macromolecular material lamp shade of the maintenance of broken tool bit.
Description
Technical Field
The utility model relates to a broken recovery plant for macromolecular material lamp shade belongs to crushing plant technical field.
Background
It has the advantage that production efficiency is high, the cost to extrude to make LED lamp shade section bar through plastics master batch melting, but especially can produce a large amount of defective products in the preheating debugging stage just beginning in process of production, for not causing the waste, defective products can be recycled in the broken tiny particle reentrant plastics master batch, but current crushing apparatus can give off a large amount of powders to lamp shade section bar broken process to also be difficult for overhauing when broken tool bit goes wrong.
Disclosure of Invention
The utility model aims to solve the technical problem that a broken recovery plant for macromolecular material lamp shade is provided, reduces giving off of powder when the LED lamp shade section bar to macromolecular material is broken to make things convenient for the maintenance of broken tool bit, can solve prior art's not enough.
The technical scheme of the utility model is that: the utility model provides a broken recovery plant for macromolecular material lamp shade, includes the frame, installs quick-witted case in the frame, and the top and the bottom of quick-witted case are opened, and quick-witted incasement installs the broken tool bit through drive arrangement driven, install the casing on the quick-witted case, the casing is articulated with quick-witted case one side, the casing contain the feed inlet and with quick-witted roof portion complex bottom opening, feed inlet department is provided with hides the curtain, and quick-witted bottom of the case portion is provided with the workbin, only feeds through feed inlet and outside through the casing after casing, quick-witted case, workbin are connected.
Furthermore, the hinged opposite sides of the machine shell and the machine case are provided with matched connecting mechanisms, and the machine shell and the machine case are fixedly arranged on the hinged opposite sides through the matched connection of the connecting mechanisms.
The screen is detachably arranged between the case and the material box.
Furthermore, the screen is connected between the case and the material box in a sliding manner, and a dust blocking curtain is arranged on the screen.
Furthermore, a plurality of rollers are arranged on the rack.
And further, a second connecting mechanism matched with the screen is arranged between the screen and the case, and the screen and the case are fixed through the matching connection of the second connecting mechanism.
Through implementing the utility model discloses, treat that broken LED lamp shade defective products are put into from the feed inlet of casing and fall into in the workbin after the casing is broken into small granule by broken tool bit in falling into the workbin, a housing, a machine case, only feed inlet and outside intercommunication through the casing after the workbin is connected, the powder that gives off in crushing process can only outwards give off through the feed inlet, and the blind that feed inlet department set up can effectively block the powder outwards and give off when not influencing that to treat that broken thing puts into, the casing is along rotating the cooperation and the separation of realization and quick-witted case with quick-witted case articulated department, when the maintenance to broken tool bit, only need to rotate the casing and quick-witted case separation, can be to the inspection of the broken tool bit of quick-witted incasement, convenient change and clearance.
Drawings
Fig. 1 is a perspective view of the present invention;
FIG. 2 is a schematic view of the bin when open;
FIG. 3 is a schematic view of the connection mechanism at A of FIG. 2;
FIG. 4 is a schematic view of the enclosure when open;
figure 5 is a schematic of a screen opening.
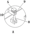
Shown in the figure: a frame 1; a case 2; a motor 3; a housing 4; a pressing member 5; a blind 6; a material box 7; a connecting column 8; a card slot 9; a connecting member 10; a screen 11; a dust-blocking curtain 12; and a roller 13.
Detailed Description
The embodiment of the utility model provides a: as shown in fig. 1 to 5, a broken recovery plant for macromolecular material lamp shade, which comprises a frame 1, install quick-witted case 2 in the frame 1, the top and the bottom of quick-witted case 2 are opened, install broken tool bit (last mark) through drive arrangement drive in quick-witted case 2, wherein drive arrangement is prior art, including installing motor 3 in frame 1, the transmission device who is connected with motor 3, the broken tool bit of installing in quick-witted case 2 passes through transmission device transmission work, install casing 4 on quick-witted case 2, casing 4 is articulated with quick-witted case 2 rear side, casing 4 contains the feed inlet and with quick-witted case 2 top complex bottom opening, feed inlet department is provided with blind 6, machine case 2 bottom is provided with workbin 7, casing 4, quick-witted case 2, after the workbin 7 is connected only through the feed inlet and outside intercommunication of casing 4, during the use, treat that broken LED lamp shade defective goods are put into and fall into quick-witted case 2 through the feed inlet 4 and broken tool bit breakage becomes the back behind the small particle material, casing 4, the workbin machine case 2, quick-witted case 2, the powder can only pass through the change that the feed inlet department of casing 4 outside the grinding head sets up and the influence the grinding machine case and the grinding head and the grinding machine case is not to the grinding machine case and the grinding machine case 2 and the grinding the influence of the grinding head and the grinding machine case is released, the effective clearance, the grinding machine case is not to the grinding machine case is released, the influence of the grinding machine case 2, the grinding machine case is released, the outside.
As a preferred, casing 4 and 2 front sides of quick-witted case are provided with matched with coupling mechanism, coupling mechanism includes spliced pole 8 of switching on quick-witted case 2, the fixed connecting piece 10 that is equipped with the draw-in groove 9 with spliced pole 8 matched with that sets up on casing 4, 8 top threaded connection of spliced pole have casting die 5, rotate the draw-in groove 9 cooperation of spliced pole 8 and connecting piece 10, it compresses tightly connecting piece 10 to screw up casting die 5 again, the realization is fixed in the front side to casing 4 and quick-witted case 2, prevent casing 4 and quick-witted case 2 relative movement in the use, easy operation is convenient.
Preferably, the sieve 11 is detachably arranged between the case 2 and the bin 7, the crushed particles fall into the bin 7 after being screened by the sieve 11, and different sieves 11 can be replaced according to the size of the crushed particles.
Preferably, the screen 11 is slidably connected between the case 2 and the bin 7 for facilitating the opening and closing of the bin 7, the bin 7 is also slidably connected to the case 2 for facilitating the opening and closing of the bin 7, and the screen 11 is provided with the dust blocking curtain 12 for increasing the sealing performance between the screen 11 and the bin 7 and reducing the emission of powder when the bin 7 is opened.
Preferably, a plurality of rollers 13 are installed on the frame 1, and the rollers 13 are four rollers installed at four corners of the frame 1, so that the movement of the equipment is facilitated.
As an optimization, a matched second connecting mechanism is arranged between the screen mesh 11 and the case 2, the second connecting mechanism is the same as the first connecting mechanism in structure and comprises a connecting column which is connected to the screen mesh 2 in a switching mode and a connecting piece which is fixedly arranged on the case 2 and provided with a clamping groove matched with the connecting column, and a pressing piece is connected to the top of the connecting column in a threaded mode, so that the screen mesh 11 can be conveniently fixed relative to the case 2.
In addition to the above preferred embodiments, the present invention has other embodiments, and those skilled in the art can make various changes and modifications according to the present invention without departing from the spirit of the present invention, which should fall within the scope defined by the appended claims.
Claims (6)
1. The utility model provides a broken recovery plant for macromolecular material lamp shade, includes the frame, installs quick-witted case in the frame, and the top and the bottom of quick-witted case are opened, and quick-witted incasement installs the broken tool bit through drive arrangement driven, its characterized in that: the improved multifunctional computer case is characterized in that a case is installed on the case, the case is hinged to one side of the case, the case comprises a feed port and a bottom opening matched with the top of the case, a curtain is arranged at the feed port, a material box is arranged at the bottom of the case, and the feed port of the case is communicated with the outside only through the case after the case, the case and the material box are connected.
2. The crushing and recycling device for the polymer material lampshade of claim 1, wherein: and the hinged opposite sides of the shell and the case are provided with matched connecting mechanisms, and the shell and the case are fixed at the hinged opposite sides through the matched connection of the connecting mechanisms.
3. The crushing and recycling device for the polymer material lampshade of claim 1, wherein: the screening device comprises a screen, wherein the screen is detachably arranged between a case and a material box.
4. The crushing and recycling device for the polymer material lampshade of claim 3, wherein: the screen cloth sliding connection is between quick-witted case and workbin, is provided with the dirt curtain on the screen cloth.
5. The crushing and recycling device for the polymer material lampshade of claim 1, wherein: and a plurality of rollers are arranged on the frame.
6. The crushing and recycling device for the polymer material lampshade of claim 4, wherein: and a second connecting mechanism matched with the screen is arranged between the screen and the case, and the screen and the case are fixed through the matching connection of the second connecting mechanism.
Priority Applications (1)
| Application Number | Priority Date | Filing Date | Title |
|---|---|---|---|
| CN202221675215.XU CN217725781U (en) | 2022-07-01 | 2022-07-01 | A broken recovery plant for macromolecular material lamp shade |
Applications Claiming Priority (1)
| Application Number | Priority Date | Filing Date | Title |
|---|---|---|---|
| CN202221675215.XU CN217725781U (en) | 2022-07-01 | 2022-07-01 | A broken recovery plant for macromolecular material lamp shade |
Publications (1)
| Publication Number | Publication Date |
|---|---|
| CN217725781U true CN217725781U (en) | 2022-11-04 |
Family
ID=83843892
Family Applications (1)
| Application Number | Title | Priority Date | Filing Date |
|---|---|---|---|
| CN202221675215.XU Active CN217725781U (en) | 2022-07-01 | 2022-07-01 | A broken recovery plant for macromolecular material lamp shade |
Country Status (1)
| Country | Link |
|---|---|
| CN (1) | CN217725781U (en) |
-
2022
- 2022-07-01 CN CN202221675215.XU patent/CN217725781U/en active Active
Similar Documents
| Publication | Publication Date | Title |
|---|---|---|
| CN215550169U (en) | Plastic granules material loading machine of area screening function | |
| CN111604116A (en) | Cement clinker raw material efficient crusher with screening function | |
| CN216909981U (en) | Dust recovery device that environmental protection performance is high | |
| CN217725781U (en) | A broken recovery plant for macromolecular material lamp shade | |
| CN219964994U (en) | Ore dressing dust removal recovery unit | |
| CN220991811U (en) | Raw material screening dust collector is used in pig feed production | |
| CN209917975U (en) | Feeding mechanism of jigging coal washer | |
| CN218613104U (en) | Metal debris recoverer | |
| CN216756683U (en) | Structure for recycling large particles discharged by grinding and discharging | |
| CN217512270U (en) | Full-automatic screening equipment of powder coating | |
| CN210705227U (en) | Resource recycling device | |
| CN220160080U (en) | Drum screen for refractory material production | |
| CN222153344U (en) | A chemical raw material pressing material recovery device | |
| CN221268942U (en) | Sand screening machine with dustproof structure for building engineering | |
| CN220406244U (en) | Glass sand sieving mechanism | |
| CN221452690U (en) | Leftover material cleaning device for computer hardware development | |
| CN220179869U (en) | Breaker is used in macromolecular material production | |
| CN223145251U (en) | Screening device for titanium dioxide production | |
| CN221046172U (en) | Raw material hydraulic crushing equipment for silicon micropowder production | |
| CN215235823U (en) | A vibration classifying screen device for lepidolite ore recovery | |
| CN220371134U (en) | Scrap steel recovery device | |
| CN222057519U (en) | Screening structure for vertical flour mill | |
| CN221775023U (en) | Grinder for plastic granules | |
| CN217726179U (en) | Tea processing is with classified screening device | |
| CN215389485U (en) | Waste concrete smashing device for building |
Legal Events
| Date | Code | Title | Description |
|---|---|---|---|
| GR01 | Patent grant | ||
| GR01 | Patent grant |