CN217720418U - Power distribution cabinet assembly with adjustable inner space - Google Patents
Power distribution cabinet assembly with adjustable inner space Download PDFInfo
- Publication number
- CN217720418U CN217720418U CN202220426107.2U CN202220426107U CN217720418U CN 217720418 U CN217720418 U CN 217720418U CN 202220426107 U CN202220426107 U CN 202220426107U CN 217720418 U CN217720418 U CN 217720418U
- Authority
- CN
- China
- Prior art keywords
- box body
- power distribution
- distribution cabinet
- fixedly arranged
- inner space
- Prior art date
- Legal status (The legal status is an assumption and is not a legal conclusion. Google has not performed a legal analysis and makes no representation as to the accuracy of the status listed.)
- Expired - Fee Related
Links
- 238000001035 drying Methods 0.000 claims abstract description 18
- 238000009423 ventilation Methods 0.000 claims abstract description 15
- 239000002274 desiccant Substances 0.000 claims abstract description 6
- 239000000428 dust Substances 0.000 claims description 6
- 241000886569 Cyprogenia stegaria Species 0.000 claims 1
- 239000011148 porous material Substances 0.000 claims 1
- 238000009434 installation Methods 0.000 description 3
- 230000009286 beneficial effect Effects 0.000 description 1
- 238000010586 diagram Methods 0.000 description 1
- 230000000694 effects Effects 0.000 description 1
- 230000007613 environmental effect Effects 0.000 description 1
- 238000000034 method Methods 0.000 description 1
- 238000012986 modification Methods 0.000 description 1
- 230000004048 modification Effects 0.000 description 1
- 238000005192 partition Methods 0.000 description 1
Images
Landscapes
- Patch Boards (AREA)
Abstract
本实用新型公开了一种内部空间可调的配电柜组件,包括箱体,所述箱体前端通过转动铰链转动设置有箱门,所述箱体内部下端固定设置有干燥盒,所述干燥盒内部设置有干燥剂,所述干燥盒上端固定设置有底板,所述底板上端四角处均固定设置有滑杆,四个所述滑杆前端固定设置有多个定位孔,四个所述滑杆上滑动设置有两个放置板,所述箱体一侧固定设置有多个第一通风口。本实用新型公开了一种内部空间可调的配电柜组件,放置板通过滑槽在四个滑杆上滑动,再将螺杆螺纹拧在定位孔内部,对放置板进行固定,使该装置实现对其内部空间进行调节,提高了该装置的实用性。
The utility model discloses a power distribution cabinet assembly with adjustable internal space, comprising a box body, a box door is rotatably arranged at the front end of the box body through a rotating hinge, a drying box is fixedly arranged at the lower end of the box body, and the drying box is arranged. The inside of the box is provided with a desiccant, the upper end of the drying box is fixedly provided with a bottom plate, the four corners of the upper end of the bottom plate are fixedly provided with sliding rods, the front ends of the four sliding rods are fixedly provided with a plurality of positioning holes, and the four sliding rods are fixedly provided with a plurality of positioning holes. Two placing plates are slidably arranged on the rod, and a plurality of first ventilation openings are fixedly arranged on one side of the box body. The utility model discloses a power distribution cabinet assembly with adjustable internal space. A placing plate slides on four sliding rods through sliding grooves, and then screw threads are screwed into the positioning holes to fix the placing plate, so that the device can realize Adjusting its inner space improves the practicability of the device.
Description
技术领域technical field
本实用新型涉及配电柜技术领域,尤其涉及一种内部空间可调的配电柜组件。The utility model relates to the technical field of power distribution cabinets, in particular to a power distribution cabinet assembly with an adjustable inner space.
背景技术Background technique
配电柜具有体积小、安装简便,技术性能特殊、位置固定,配置功能独特、不受场地限制,应用比较普遍,操作稳定可靠,空间利用率高,占地少且具有环保效应的特点,其为指挥供电线路中各种元器件合理分配电能的控制中心,是可靠接纳上端电源,正确馈出荷载电能的控制环节,也是获取用户对供电质量满意与否的关键,但是常规配电柜在组装完成之后,内部的隔间固定、夹层空间难以通过二次拆卸调节,导致柜体内的空间利用率不足。The power distribution cabinet has the characteristics of small size, easy installation, special technical performance, fixed position, unique configuration function, not limited by the site, common application, stable and reliable operation, high space utilization rate, less land occupation and environmental protection effect. The control center for directing the various components in the power supply line to reasonably distribute electric energy is the control link that reliably receives the upper-end power supply and correctly feeds out the load electric energy, and is also the key to obtaining whether the user is satisfied with the quality of the power supply. After completion, the internal compartments are fixed, and the mezzanine space is difficult to adjust through secondary disassembly, resulting in insufficient space utilization in the cabinet.
现有专利(申请号为:CN201920962330.7)公开了一种可调分区的配电柜,包括壳体、柜门和托盘单元;所述壳体包括分布于边角处的四根支撑柱、固定于所述支撑柱顶部的顶板、固定于所述支撑柱底部的底板,以及固定在支撑柱之间的侧板,所述支架组件的前侧开口,所述柜门设置于所述支架组件前侧的开口处,所述托盘单元包括托盘体和设置于所述托盘体上的连接组件,所述托盘体通过所述连接组件进行可拆卸式地固定于所述壳体的内部,本实用新型能够灵活调节各个托板的高度,灵活改变各层区域的空间大小。但是,该装置不能对配电柜内部进行散热,降低该装置的实用性。The existing patent (application number: CN201920962330.7) discloses a power distribution cabinet with adjustable partitions, including a housing, a cabinet door and a tray unit; the housing includes four support columns distributed at the corners, The top plate fixed on the top of the support column, the bottom plate fixed on the bottom of the support column, and the side plate fixed between the support columns, the front side opening of the support assembly, the cabinet door is arranged on the support assembly At the opening on the front side, the tray unit includes a tray body and a connecting assembly arranged on the tray body, and the tray body is detachably fixed inside the housing through the connecting assembly. The new type can flexibly adjust the height of each pallet, and flexibly change the space size of each floor area. However, the device cannot dissipate heat inside the power distribution cabinet, reducing the practicability of the device.
实用新型内容Utility model content
本实用新型的目的是为了解决现有技术中存在的缺点,而提出的一种内部空间可调的配电柜组件。The purpose of the utility model is to solve the shortcomings in the prior art, and propose a power distribution cabinet assembly with an adjustable inner space.
为了实现上述目的,本实用新型采用了如下技术方案:一种内部空间可调的配电柜组件,包括箱体,所述箱体前端通过转动铰链转动设置有箱门,所述箱体内部下端固定设置有干燥盒,所述干燥盒内部设置有干燥剂,所述干燥盒上端固定设置有底板,所述底板上端四角处均固定设置有滑杆,四个所述滑杆前端固定设置有多个定位孔,四个所述滑杆上滑动设置有两个放置板,所述箱体一侧固定设置有多个第一通风口,所述箱体内部靠近第一通风口处固定设置有风扇壳,所述箱体远离第一通风口的一侧固定设置有多个第二通风口,所述箱体内部靠近第二通风口处固定设置有安装架。In order to achieve the above object, the utility model adopts the following technical scheme: a power distribution cabinet assembly with an adjustable internal space, including a box body, the front end of the box body is provided with a box door through a rotating hinge, and the inner lower end of the box body A drying box is fixedly installed, and a desiccant is arranged inside the drying box. A base plate is fixedly installed on the upper end of the drying box. Slide bars are fixedly installed at the four corners of the upper end of the base plate. two positioning holes, two placement plates are slidably arranged on the four slide bars, a plurality of first air vents are fixedly arranged on one side of the box body, and a fan is fixedly arranged inside the box body close to the first air vents. The shell, the side of the box body away from the first ventilation opening is fixedly provided with a plurality of second ventilation openings, and the inside of the box body is fixedly provided with a mounting bracket close to the second ventilation openings.
作为上述技术方案的进一步描述:As a further description of the above technical solution:
所述箱体下端四角处均固定设置有支撑脚,所述箱体上端固定设置有防水盖。The four corners of the lower end of the box are fixedly provided with supporting feet, and the upper end of the box is fixedly provided with a waterproof cover.
作为上述技术方案的进一步描述:As a further description of the above technical solution:
所述底板上设置有多个开孔。A plurality of openings are arranged on the bottom plate.
作为上述技术方案的进一步描述:As a further description of the above technical solution:
两个所述放置板四角处均固定设置有滑槽,两个所述放置板通过滑槽在滑杆上滑动。The four corners of the two placing plates are fixedly provided with slide grooves, and the two placing plates slide on the slide bar through the slide grooves.
作为上述技术方案的进一步描述:As a further description of the above technical solution:
四个所述滑杆上且位于两个放置板下端的定位孔内部均螺纹设置有螺杆。Screw rods are threaded inside the positioning holes on the four slide rods and located at the lower ends of the two placement plates.
作为上述技术方案的进一步描述:As a further description of the above technical solution:
所述风扇壳内部固定设置有固定杆,所述固定杆中部固定设置有驱动电机,所述驱动电机的输出端固定连接有扇叶。A fixing rod is fixedly arranged inside the fan case, a driving motor is fixedly arranged in the middle of the fixing rod, and a fan blade is fixedly connected to an output end of the driving motor.
作为上述技术方案的进一步描述:As a further description of the above technical solution:
所述安装架内部固定设置有防尘网。A dust-proof net is fixed inside the installation frame.
作为上述技术方案的进一步描述:As a further description of the above technical solution:
所述箱体两侧且位于第一通风口和第二通风口上端均固定设置有防雨棚。Both sides of the box and the upper ends of the first vent and the second vent are fixedly provided with rainproof sheds.
本实用新型具有如下有益效果:The utility model has the following beneficial effects:
1、本实用新型提出的一种内部空间可调的配电柜组件,放置板通过滑槽在四个滑杆上滑动,再将螺杆螺纹拧在定位孔内部,对放置板进行固定,使该装置实现对其内部空间进行调节,提高了该装置的实用性。1. The utility model proposes a power distribution cabinet assembly with an adjustable internal space. The placement plate slides on the four sliding rods through the chute, and then the screw thread is screwed into the positioning hole to fix the placement plate so that the The device realizes the adjustment of its internal space, which improves the practicability of the device.
2、本实用新型提出的一种内部空间可调的配电柜组件,该装置通过驱动电机带动扇叶,扇叶的使用可以对箱体内部的电器进行散热,提高内部电器的使用寿命,同时通过防尘网,防止灰尘进入到箱体内部,进一步的提高电器的使用寿命。2. The utility model proposes a power distribution cabinet assembly with an adjustable internal space. The device drives the fan blades through the drive motor. The use of the fan blades can dissipate heat from the electrical appliances inside the box, improving the service life of the internal electrical appliances, and at the same time Through the dust-proof net, dust is prevented from entering the inside of the box, and the service life of the electrical appliance is further improved.
3、本实用新型提出的一种内部空间可调的配电柜组件,在干燥盒内部放置干燥剂,提高箱体内部的干燥性,增加内部电器的使用寿命。3. The utility model proposes a power distribution cabinet assembly with an adjustable internal space. A desiccant is placed inside the drying box to improve the dryness inside the box and increase the service life of the internal electrical appliances.
附图说明Description of drawings
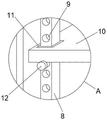
图1为本实用新型提出的一种内部空间可调的配电柜组件的立体图;Fig. 1 is a perspective view of a power distribution cabinet assembly with an adjustable internal space proposed by the utility model;
图2为本实用新型提出的一种内部空间可调的配电柜组件的正剖视图;Fig. 2 is a front sectional view of a power distribution cabinet assembly with an adjustable internal space proposed by the utility model;
图3为本实用新型提出的一种内部空间可调的配电柜组件的放置板结构示意图,Fig. 3 is a schematic structural diagram of a placement board of a power distribution cabinet assembly with an adjustable internal space proposed by the utility model,
图4为图1中A处的放大图。Fig. 4 is an enlarged view of point A in Fig. 1 .
图例说明:illustration:
1、箱体;2、支撑脚;3、防水盖;4、箱门;5、干燥盒;6、底板;7、开孔;8、滑杆;9、定位孔;10、放置板;11、滑槽;12、螺杆;13、第一通风口;14、风扇壳;15、固定杆;16、驱动电机;17、扇叶;18、第二通风口;19、安装架;20、防尘网;21、防雨棚。1. Box body; 2. Support feet; 3. Waterproof cover; 4. Box door; 5. Drying box; , chute; 12, screw; 13, first air vent; 14, fan case; 15, fixed rod; 16, drive motor; 17, fan blade; 18, second air vent; Dust net; 21, rain shelter.
具体实施方式Detailed ways
下面将结合本实用新型实施例中的附图,对本实用新型实施例中的技术方案进行清楚、完整地描述,显然,所描述的实施例仅仅是本实用新型一部分实施例,而不是全部的实施例。基于本实用新型中的实施例,本领域普通技术人员在没有做出创造性劳动前提下所获得的所有其他实施例,都属于本实用新型保护的范围。The technical solutions in the embodiments of the present invention will be clearly and completely described below in conjunction with the accompanying drawings in the embodiments of the present invention. Obviously, the described embodiments are only part of the embodiments of the present invention, not all of them. example. Based on the embodiments of the present utility model, all other embodiments obtained by persons of ordinary skill in the art without making creative efforts belong to the scope of protection of the present utility model.
在本实用新型的描述中,需要说明的是,术语“中心”、“上”、“下”、“左”、“右”、“竖直”、“水平”、“内”、“外”等指示的方位或位置关系为基于附图所示的方位或位置关系,仅是为了便于描述本实用新型和简化描述,而不是指示或暗示所指的装置或元件必须具有特定的方位、以特定的方位构造和操作,因此不能理解为对本实用新型的限制;术语“第一”、“第二”、“第三”仅用于描述目的,而不能理解为指示或暗示相对重要性,此外,除非另有明确的规定和限定,术语“安装”、“相连”、“连接”应做广义理解,例如,可以是固定连接,也可以是可拆卸连接,或一体地连接;可以是机械连接,也可以是电连接;可以是直接相连,也可以通过中间媒介间接相连,可以是两个元件内部的连通。对于本领域的普通技术人员而言,可以具体情况理解上述术语在本实用新型中的具体含义。In the description of the present utility model, it should be noted that the terms "center", "upper", "lower", "left", "right", "vertical", "horizontal", "inner", "outer" The orientation or positional relationship indicated by etc. is based on the orientation or positional relationship shown in the drawings, which is only for the convenience of describing the utility model and simplifying the description, rather than indicating or implying that the device or element referred to must have a specific orientation, use a specific Therefore, it cannot be construed as a limitation on the present invention; the terms "first", "second", and "third" are only used for descriptive purposes, and cannot be interpreted as indicating or implying relative importance. In addition, Unless otherwise clearly specified and limited, the terms "installation", "connection" and "connection" should be interpreted in a broad sense, for example, it may be a fixed connection, a detachable connection, or an integral connection; it may be a mechanical connection, It can also be an electrical connection; it can be a direct connection, or an indirect connection through an intermediary, or an internal communication between two components. Those of ordinary skill in the art can understand the specific meanings of the above terms in the present utility model in specific situations.
参照图1-4,本实用新型提供的一种实施例:一种内部空间可调的配电柜组件,包括箱体1,箱体1前端通过转动铰链转动设置有箱门4,箱体1内部下端固定设置有干燥盒5,干燥盒5内部设置有干燥剂,提高箱体1内部的干燥性,干燥盒5上端固定设置有底板6,底板6上端四角处均固定设置有滑杆8,四个滑杆8前端固定设置有多个定位孔9,四个滑杆8上滑动设置有两个放置板10,箱体1一侧固定设置有多个第一通风口13,箱体1内部靠近第一通风口13处固定设置有风扇壳14,箱体1远离第一通风口13的一侧固定设置有多个第二通风口18,箱体1内部靠近第二通风口18处固定设置有安装架19;Referring to Figures 1-4, an embodiment provided by the utility model: a power distribution cabinet assembly with an adjustable internal space, including a
箱体1下端四角处均固定设置有支撑脚2,箱体1上端固定设置有防水盖3,底板6上设置有多个开孔7,两个放置板10四角处均固定设置有滑槽11,两个放置板10通过滑槽11在滑杆8上滑动,四个滑杆8上且位于两个放置板10下端的定位孔9内部均螺纹设置有螺杆12,放置板10通过滑槽11在四个滑杆8上滑动,再将螺杆12螺纹拧在定位孔9内部,对放置板10进行固定,使该装置实现对其内部空间进行调节,风扇壳14内部固定设置有固定杆15,固定杆15中部固定设置有驱动电机16,驱动电机16的输出端固定连接有扇叶17,通过驱动电机16带动扇叶17,扇叶17的使用可以对箱体1内部的电器进行散热,安装架19内部固定设置有防尘网20,通过防尘网20,防止灰尘进入到箱体1内部,箱体1两侧且位于第一通风口13和第二通风口18上端均固定设置有防雨棚21,放置雨水进入到箱体1内部。The four corners of the lower end of the
工作原理:该内部空间可调的配电柜组件使用时,放置板10通过滑槽11在四个滑杆8上滑动,再将螺杆12螺纹拧在定位孔9内部,对放置板10进行固定,使该装置实现对其内部空间进行调节,通过驱动电机16带动扇叶17,扇叶17的使用可以对箱体1内部的电器进行散热,提高内部电器的使用寿命,同时通过防尘网20,防止灰尘进入到箱体1内部,在干燥盒5内部放置干燥剂,提高箱体1内部的干燥性。Working principle: When the power distribution cabinet assembly with adjustable internal space is used, the
最后应说明的是:以上所述仅为本实用新型的优选实施例而已,并不用于限制本实用新型,尽管参照前述实施例对本实用新型进行了详细的说明,对于本领域的技术人员来说,其依然可以对前述各实施例所记载的技术方案进行修改,或者对其中部分技术特征进行等同替换,凡在本实用新型的精神和原则之内,所作的任何修改、等同替换、改进等,均应包含在本实用新型的保护范围之内。Finally, it should be noted that: the above is only a preferred embodiment of the utility model, and is not intended to limit the utility model, although the utility model has been described in detail with reference to the foregoing embodiments, for those skilled in the art , it can still modify the technical solutions recorded in the foregoing embodiments, or perform equivalent replacements on some of the technical features. Any modifications, equivalent replacements, improvements, etc. made within the spirit and principles of the present utility model, All should be included within the protection scope of the present utility model.
Claims (8)
Priority Applications (1)
| Application Number | Priority Date | Filing Date | Title |
|---|---|---|---|
| CN202220426107.2U CN217720418U (en) | 2022-03-01 | 2022-03-01 | Power distribution cabinet assembly with adjustable inner space |
Applications Claiming Priority (1)
| Application Number | Priority Date | Filing Date | Title |
|---|---|---|---|
| CN202220426107.2U CN217720418U (en) | 2022-03-01 | 2022-03-01 | Power distribution cabinet assembly with adjustable inner space |
Publications (1)
| Publication Number | Publication Date |
|---|---|
| CN217720418U true CN217720418U (en) | 2022-11-01 |
Family
ID=83787166
Family Applications (1)
| Application Number | Title | Priority Date | Filing Date |
|---|---|---|---|
| CN202220426107.2U Expired - Fee Related CN217720418U (en) | 2022-03-01 | 2022-03-01 | Power distribution cabinet assembly with adjustable inner space |
Country Status (1)
| Country | Link |
|---|---|
| CN (1) | CN217720418U (en) |
-
2022
- 2022-03-01 CN CN202220426107.2U patent/CN217720418U/en not_active Expired - Fee Related
Similar Documents
| Publication | Publication Date | Title |
|---|---|---|
| CN209592750U (en) | A kind of distribution box with temperature control device | |
| CN111182765A (en) | Computer network equipment box that radiating effect is good | |
| CN216055980U (en) | Switch board with dust removal and heat radiation structure | |
| CN217720418U (en) | Power distribution cabinet assembly with adjustable inner space | |
| CN212258011U (en) | Dust-proof and dehumidification equipment for power distribution cabinets | |
| CN216981217U (en) | High-voltage ring main unit | |
| CN211860364U (en) | Video monitoring data storage device | |
| CN220273001U (en) | Kitchen switch board with safeguard function | |
| CN209730585U (en) | A kind of low voltage outdoor electricity distribution box | |
| CN210608031U (en) | An outdoor safe electrical control device | |
| CN216672255U (en) | Power distribution cabinet convenient for heat dissipation | |
| CN220358623U (en) | Block terminal protective structure | |
| CN219628219U (en) | 5G base station control cabinet | |
| CN223079607U (en) | A ring main unit | |
| CN216873708U (en) | Power communication heat dissipation dust keeper | |
| CN214589884U (en) | Movable small power distribution cabinet | |
| CN210137103U (en) | Wall-hanging switch board easy to assemble | |
| CN216750792U (en) | Switch board with heat dissipation function | |
| CN218275620U (en) | Low-voltage anti-islanding control cabinet | |
| CN213071727U (en) | Low-voltage complete switch equipment | |
| CN215772108U (en) | Electrical distribution box of high efficiency heat dissipation usefulness | |
| CN213959417U (en) | Outdoor switch box | |
| CN222089979U (en) | PLC switch board that possesses circulation ventilation function | |
| CN220857376U (en) | High-voltage ring network cabinet | |
| CN221176963U (en) | Outdoor low-voltage power distribution cabinet |
Legal Events
| Date | Code | Title | Description |
|---|---|---|---|
| GR01 | Patent grant | ||
| GR01 | Patent grant | ||
| CF01 | Termination of patent right due to non-payment of annual fee |
Granted publication date: 20221101 |
|
| CF01 | Termination of patent right due to non-payment of annual fee |
