CN217715755U - A drying device for fire retardant production - Google Patents

A drying device for fire retardant production Download PDF

Info

Publication number
CN217715755U
CN217715755U CN202222028305.6U CN202222028305U CN217715755U CN 217715755 U CN217715755 U CN 217715755U CN 202222028305 U CN202222028305 U CN 202222028305U CN 217715755 U CN217715755 U CN 217715755U
Authority
CN
China
Prior art keywords
copper
fixedly connected
fixed
drying cylinder
cylinder
Prior art date
Legal status (The legal status is an assumption and is not a legal conclusion. Google has not performed a legal analysis and makes no representation as to the accuracy of the status listed.)
Active
Application number
CN202222028305.6U
Other languages
Chinese (zh)
Inventor
贾娟
闫炜
Current Assignee (The listed assignees may be inaccurate. Google has not performed a legal analysis and makes no representation or warranty as to the accuracy of the list.)
Shandong Brousson New Materials Co ltd
Original Assignee
Shandong Brousson New Materials Co ltd
Priority date (The priority date is an assumption and is not a legal conclusion. Google has not performed a legal analysis and makes no representation as to the accuracy of the date listed.)
Filing date
Publication date
Application filed by Shandong Brousson New Materials Co ltd filed Critical Shandong Brousson New Materials Co ltd
Priority to CN202222028305.6U priority Critical patent/CN217715755U/en
Application granted granted Critical
Publication of CN217715755U publication Critical patent/CN217715755U/en
Active legal-status Critical Current
Anticipated expiration legal-status Critical

Links

Images

Landscapes

  • Drying Of Solid Materials (AREA)

Abstract

本实用新型涉及阻燃剂生产技术领域,且公开了一种用于阻燃剂生产的烘干装置,解决了通过搅拌轴和风机能够对阻燃剂进行烘干,但是湿气通过出气口排出,会将阻燃剂中的有害物质吹送至空气中,不便于对有害气体定向排放、处理的技术问题;包括烘干筒,烘干筒的两侧均通过螺丝固定设有挡板,两个挡板的一侧均固定设有电热丝,烘干筒一侧的顶部固定设有滤盒,滤盒的内部设有空气滤芯,滤盒的一侧通过螺栓固定连接有限位板;本实用新型通过两个电热丝能够对两个铜罩加热,铜罩能够将高温传递至烘干筒内,铜轴、第一铜杆和第二铜杆具有良好的导热能够力,可提高对阻燃剂的加热效果,通过减速电机驱动铜轴,可使阻燃剂受热均匀。

Figure 202222028305

The utility model relates to the technical field of flame retardant production, and discloses a drying device for flame retardant production, which solves the problem that the flame retardant can be dried through a stirring shaft and a fan, but moisture is discharged through an air outlet. , the harmful substances in the flame retardant will be blown into the air, which is not convenient for the directional discharge and treatment of harmful gases; including the drying cylinder, the two sides of the drying cylinder are fixed with baffles by screws, and the two One side of the baffle is fixed with electric heating wires, the top of one side of the drying cylinder is fixed with a filter box, the inside of the filter box is provided with an air filter element, and one side of the filter box is fixedly connected to the limiting plate by bolts; the utility model The two copper covers can be heated by two heating wires, and the copper covers can transmit high temperature to the drying cylinder. The copper shaft, the first copper rod and the second copper rod have good thermal conductivity, which can improve the resistance to flame retardants. The heating effect of the flame retardant can be evenly heated by driving the copper shaft through the geared motor.

Figure 202222028305

Description

A drying device for fire retardant production
Technical Field
The utility model relates to a fire retardant production technical field especially relates to a drying device for fire retardant production.
Background
The flame retardant is a functional auxiliary agent for endowing a flammable polymer with flame retardancy, is mainly designed aiming at the flame retardancy of a high polymer material, has various types, is divided into an additive flame retardant and a reactive flame retardant according to a using method, and needs to be dried and dehumidified in the process of producing the flame retardant;
according to the drier for the fire retardant provided by the Chinese patent grant publication No. CN207006778U, the fire retardant can be dried through the stirring shaft and the fan, but moisture is discharged through the air outlet, harmful substances in the fire retardant can be blown into the air, so that the harmful gases are not conveniently and directionally discharged and treated, and the drier barrel is horizontally installed, so that the dried fire retardant is not conveniently blanked.
SUMMERY OF THE UTILITY MODEL
The utility model provides a drying device for fire retardant production has solved and can be dried to the fire retardant through (mixing) shaft and fan, but the moisture passes through the gas outlet and discharges, can blow the harmful substance in the fire retardant to the air in, is not convenient for to the technical problem of harmful gas directional emission, processing.
For solving the technical problem, the utility model provides a pair of a drying device for fire retardant production, including the drying cylinder, the both sides of drying cylinder all are equipped with the baffle, two through the screw fixation the equal fixed heating wire that is equipped with in one side of baffle, the fixed filter box that is equipped with in top of drying cylinder one side, the inside of filter box is equipped with air filter, bolt fixedly connected with limiting plate is passed through to one side of filter box, the passageway has all been seted up at the surface of limiting plate and the top of drying cylinder one side, the bottom mounting of drying cylinder is equipped with down the hopper, the fixed electric valve that is equipped with in middle part of hopper bottom down, the three supporting leg of hopper fixedly connected with down, the fixed cover that is equipped with in top of drying cylinder, the fixed water conservancy diversion subassembly that is equipped with in one side on cover top, the middle part fixed mounting on cover top has gear motor, the inside of drying cylinder is equipped with the copper axle, gear motor's output shaft runs through the cover and with copper axle fixed connection, two first copper pole fixedly connected with, two equal fixedly connected with second copper poles, two the equal fixedly connected with scraper blade of one end of first copper pole, two inside copper covers are located two heating wires respectively.
Preferably, the diversion component comprises a fan cover, an exhaust fan, a mounting ring and an elbow, the exhaust fan is mounted inside the fan cover, the mounting ring is fixedly arranged at the bottom end of the fan cover, the bottom end of the mounting ring is fixedly connected with one side of the top end of the barrel cover, and the elbow is fixedly connected with the top end of the fan cover.
Preferably, an air suction opening is formed in one side of the top end of the cylinder cover, a protective net is fixedly arranged on the surface of the air suction opening, and the air suction opening is coaxial with the air suction cover.
Preferably, a feeding hopper is fixedly arranged on the other side of the top end of the cylinder cover, and a sealing cover is hinged to the top end of the feeding hopper.
Preferably, the middle parts of the two scraping plates are fixedly connected with inclined struts, and one ends of the inclined struts are fixedly connected with the bottom ends of the copper shafts.
Preferably, the top end of the drying cylinder is fixedly provided with a supporting ring, the top end of the supporting ring is connected with a sealing ring in a clamping manner, and the top end of the supporting ring is fixedly connected with the bottom end of the cylinder cover.
Compared with the prior art, the beneficial effects of the utility model are that:
the utility model provides a drying device for fire retardant production, can heat two copper sheathing through two heating wires, the copper sheathing can be with high temperature transmission to the stoving section of thick bamboo in, the copper axle, first copper pole and second copper pole have good heat conduction can power, can improve the heating effect to the fire retardant, drive the copper axle through gear motor, the copper axle can drive first copper pole and second copper pole and stir the fire retardant, can make the fire retardant heated evenly, moisture in the fire retardant can evaporate, through connecting the elbow with exhaust-gas treatment equipment, the inside moisture of stoving section of thick bamboo can be extracted to the exhaust-gas treatment equipment that can discharge the moisture to the moisture, be convenient for to harmful gas directional emission, handle, can prevent that waste gas from discharging to the air;
can be spacing to air filter element through straining box and limiting plate, when the inside moisture of an extraction fan extraction drying cylinder, outside air can get into in the drying cylinder through the passageway, air filter can filter dust and impurity in the air current, but air-purifying, keep the cleanness of air, can avoid the inside of dust and impurity pollution drying cylinder, through opening electric valve, down the hopper can be to the fire retardant direction after drying, can pass through electric valve with the fire retardant after drying and discharge, when the copper axle rotates, can drive two scraper blades and rotate, two scraper blades can strike off the fire retardant of adhesion hopper inner wall under, and can accelerate the unloading speed of fire retardant.
Drawings
Fig. 1 is a schematic structural view of the present invention;
FIG. 2 is a schematic view of the cross-sectional structure of the drying cylinder of the present invention;
fig. 3 is a schematic cross-sectional view of the flow guiding assembly of the present invention;
fig. 4 is an enlarged schematic structural view of the point a of the present invention.
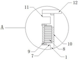
The reference numbers in the figures: 1. a drying drum; 2. a baffle plate; 3. an electric heating wire; 4. feeding a hopper; 5. supporting legs; 6. an electrically operated valve; 7. a filter box; 8. an air filter element; 9. a limiting plate; 10. a channel; 11. a ring; 12. a cylinder cover; 13. a flow guide assembly; 131. a fan housing; 132. an exhaust fan; 133. a mounting ring; 134. bending the pipe; 14. a protective net; 15. feeding a hopper; 16. a sealing cover; 17. a reduction motor; 18. a copper shaft; 19. a first copper rod; 20. a second copper rod; 21. a squeegee; 22. bracing; 23. and a copper shield.
Detailed Description
The technical solutions in the embodiments of the present invention will be clearly and completely described below with reference to the drawings in the embodiments of the present invention, and it is obvious that the described embodiments are only some embodiments of the present invention, not all embodiments; based on the embodiments in the present invention, all other embodiments obtained by a person skilled in the art without creative work belong to the protection scope of the present invention.
Referring to fig. 1-4, a drying device for fire retardant production, comprising a drying cylinder 1, wherein two sides of the drying cylinder 1 are both fixedly provided with baffle plates 2 through screws, one side of each of the two baffle plates 2 is fixedly provided with an electric heating wire 3, the top of one side of the drying cylinder 1 is fixedly provided with a filter box 7, the inside of the filter box 7 is provided with an air filter element 8, one side of the filter box 7 is fixedly connected with a limit plate 9 through bolts, the surface of the limit plate 9 and the top of one side of the drying cylinder 1 are both provided with a channel 10, the bottom end of the drying cylinder 1 is fixedly provided with a blanking hopper 4, the middle part of the bottom end of the blanking hopper 4 is fixedly provided with an electric valve 6, the blanking hopper 4 is fixedly connected with three supporting legs 5, the top end of the drying cylinder 1 is fixedly provided with a cylinder cover 12, one side of the top end of the cylinder cover 12 is fixedly provided with a flow guide assembly 13, the middle part of the top end of the cylinder cover 12 is fixedly provided with a speed reducing motor 17, the inside of the drying cylinder 1 is provided with a copper shaft 18, the output shaft of gear motor 17 runs through cover 12, and with copper axle 18 fixed connection, two first copper poles 19 of copper axle 18 fixedly connected with, two equal fixedly connected with second copper poles 20 of two first copper poles 19, the equal fixedly connected with scraper blade 21 of one end of two first copper poles 19, the inside of drying section of thick bamboo 1 is equipped with two copper covers 23, two heating wires 3 are located the inside of two copper covers 23 respectively, can heat two copper covers 23 through two heating wires 3, copper cover 23 can transmit high temperature to drying section of thick bamboo 1 in, copper axle 18, first copper pole 19 and second copper pole 20 have good heat conduction can the power, the heating effect of fire retardant can be improved, drive copper axle 18 through gear motor 17, copper axle 18 can drive first copper pole 19 and second copper pole 20 and stir the fire retardant, can make the fire retardant be heated evenly, moisture in the fire retardant can evaporate.
Referring to fig. 3, the flow guiding assembly 13 includes a fan housing 131, an exhaust fan 132, a mounting ring 133 and an elbow 134, the exhaust fan 132 is installed inside the fan housing 131, the mounting ring 133 is fixedly installed at the bottom end of the fan housing 131, the bottom end of the mounting ring 133 is fixedly connected to one side of the top end of the drum cover 12, the top end of the fan housing 131 is fixedly connected to the elbow 134, and by connecting the elbow 134 to the exhaust gas treatment device, the exhaust fan 132 can extract moisture inside the drying drum 1 and can discharge moisture containing moisture into the exhaust gas treatment device, so that the harmful gas can be discharged and treated in a directional manner, and the exhaust gas can be prevented from being discharged into the air.
Referring to fig. 2 and 3, an air suction opening is formed at one side of the top end of the cylinder cover 12, a protective screen 14 is fixed on the surface of the air suction opening, and the air suction opening is coaxial with the air suction cover 131 and can ensure the circulation of air through the air suction opening.
Referring to fig. 1, a feeding hopper 15 is fixedly provided at the other side of the top end of the cylinder cover 12, a sealing cover 16 is hinged to the top end of the feeding hopper 15, the feeding of the fire retardant is facilitated through the feeding hopper 15, and the feeding hopper 15 can be sealed by closing the sealing cover 16.
Referring to fig. 2, the middle parts of the two scraping plates 21 are fixedly connected with inclined struts 22, one ends of the two inclined struts 22 are fixedly connected with the bottom ends of the copper shafts 18, and the scraping plates 21 and the copper shafts 18 can be reinforced through the inclined struts 22.
Referring to fig. 1, a supporting ring 11 is fixedly arranged at the top end of the drying cylinder 1, a sealing ring is clamped and connected at the top end of the supporting ring 11, and the top end of the supporting ring 11 is fixedly connected with the bottom end of the cylinder cover 12, so that the cylinder cover 12 can be conveniently mounted and dismounted.
To sum up, the utility model discloses in, the staff at first inputs the fire retardant through feeding hopper 15 toward drying cylinder 1 in, close sealed lid 16 again, then connect exhaust-gas treatment equipment with elbow 134, later heat two copper shroud 23 through two heating wires 3, copper shroud 23 can transmit high temperature to drying cylinder 1 in, copper shaft 18, first copper pole 19 and second copper pole 20 have good heat conduction can do, can improve the heating effect to the fire retardant, at last drive copper shaft 18 through gear motor 17, copper shaft 18 can drive first copper pole 19 and second copper pole 20 and stir the fire retardant, can make the fire retardant be heated evenly, moisture in the fire retardant can evaporate, staff control suction fan 132 extracts the inside moisture of drying cylinder 1, and can discharge the moisture that contains moisture to inside the exhaust-gas treatment equipment, can be to the directional emission of harmful gas, handle, can prevent exhaust emission to the air, in this in-process, outside air passes through in passageway 10 gets into drying cylinder 1, air filter element 8 can filter dust and impurity in the air current, the clean air keeps the clean air of air valve, the dry retardant is opened behind the fire retardant after the scraper blade 6 can drive the drying cylinder 21, the drying hopper 6, the dry retardant can drive the unloading after two dry flame retardant, the dry fire retardant, the dry-gas is discharged, the dry-gas is discharged to the speed of people, the dry-gas is increased.
It is noted that, herein, relational terms such as first and second, and the like may be used solely to distinguish one entity or action from another entity or action without necessarily requiring or implying any actual such relationship or order between such entities or actions. Also, the terms "comprises," "comprising," or any other variation thereof, are intended to cover a non-exclusive inclusion, such that a process, method, article, or apparatus that comprises a list of elements does not include only those elements but may include other elements not expressly listed or inherent to such process, method, article, or apparatus.
Although embodiments of the present invention have been shown and described, it will be appreciated by those skilled in the art that changes, modifications, substitutions and alterations can be made in these embodiments without departing from the principles and spirit of the invention, the scope of which is defined in the appended claims and their equivalents.

Claims (6)

1.一种用于阻燃剂生产的烘干装置,包括烘干筒(1),其特征在于:所述烘干筒(1)的两侧均通过螺丝固定设有挡板(2),两个所述挡板(2)的一侧均固定设有电热丝(3),所述烘干筒(1)一侧的顶部固定设有滤盒(7),所述滤盒(7)的内部设有空气滤芯(8),所述滤盒(7)的一侧通过螺栓固定连接有限位板(9),所述限位板(9)的表面和烘干筒(1)一侧的顶部均开设有通道(10),所述烘干筒(1)的底端固定设有下料斗(4),所述下料斗(4)底端的中部固定设有电动阀门(6),所述下料斗(4)固定连接有三个支撑腿(5),所述烘干筒(1)的顶端固定设有筒盖(12),所述筒盖(12)顶端的一侧固定设有导流组件(13),所述筒盖(12)顶端的中部固定安装有减速电机(17),所述烘干筒(1)的内部设有铜轴(18),所述减速电机(17)的输出轴贯穿筒盖(12)、并与铜轴(18)固定连接,所述铜轴(18)固定连接有两个第一铜杆(19),两个所述第一铜杆(19)均固定连接有第二铜杆(20),两个所述第一铜杆(19)的一端均固定连接有刮板(21),所述烘干筒(1)的内部设有两个铜罩(23),两个所述电热丝(3)分别位于两个铜罩(23)的内部。1. A drying device for the production of flame retardants, comprising a drying cylinder (1), characterized in that: both sides of the drying cylinder (1) are fixed with baffles (2), One side of the two baffles (2) is fixed with a heating wire (3), and the top of one side of the drying cylinder (1) is fixed with a filter box (7), and the filter box (7) There is an air filter element (8) inside, and one side of the filter box (7) is fixedly connected to the limiting plate (9) by bolts, and the surface of the limiting plate (9) is connected to one side of the drying cylinder (1) The top of the drying cylinder (1) is provided with a channel (10), the bottom of the drying cylinder (1) is fixed with a lower hopper (4), and the middle of the bottom of the lower hopper (4) is fixed with an electric valve (6). The lower hopper (4) is fixedly connected with three support legs (5), the top of the drying cylinder (1) is fixed with a cylinder cover (12), and one side of the top of the cylinder cover (12) is fixed with a guide Flow assembly (13), the middle part of the top of the cylinder cover (12) is fixedly installed with a geared motor (17), the inside of the drying cylinder (1) is provided with a copper shaft (18), and the geared motor (17) The output shaft of the output shaft passes through the cylinder cover (12) and is fixedly connected with the copper shaft (18). The copper shaft (18) is fixedly connected with two first copper rods (19), and the two first copper rods (19 ) are fixedly connected with a second copper rod (20), one end of the two first copper rods (19) is fixedly connected with a scraper (21), and the inside of the drying cylinder (1) is provided with two Copper cover (23), the two heating wires (3) are respectively located inside the two copper covers (23). 2.根据权利要求1所述的一种用于阻燃剂生产的烘干装置,其特征在于,所述导流组件(13)包括风罩(131)、抽风扇(132)、安装环(133)和弯头(134),所述风罩(131)的内部安装有抽风扇(132),所述风罩(131)的底端固定设有安装环(133),所述安装环(133)的底端与筒盖(12)顶端的一侧固定连接,所述风罩(131)的顶端固定连接弯头(134)。2. A drying device for flame retardant production according to claim 1, characterized in that, the guide assembly (13) includes a windshield (131), an exhaust fan (132), a mounting ring ( 133) and an elbow (134), the fan (132) is installed inside the windshield (131), and the bottom end of the windshield (131) is fixed with a mounting ring (133), and the mounting ring ( The bottom end of 133) is fixedly connected to one side of the top end of the cylinder cover (12), and the top end of the air cover (131) is fixedly connected to the elbow (134). 3.根据权利要求2所述的一种用于阻燃剂生产的烘干装置,其特征在于,所述筒盖(12)顶端的一侧开设有抽风口,所述抽风口的表面固定设有防护网(14),所述抽风口与抽风罩(131)同轴。3. A drying device for flame retardant production according to claim 2, characterized in that, one side of the top of the cylinder cover (12) is provided with an air outlet, and the surface of the air outlet is fixed There is a protective net (14), and the air exhaust port is coaxial with the exhaust hood (131). 4.根据权利要求1所述的一种用于阻燃剂生产的烘干装置,其特征在于,所述筒盖(12)顶端的另一侧固定设有上料斗(15),所述上料斗(15)的顶端铰接有密封盖(16)。4. A drying device for flame retardant production according to claim 1, characterized in that, the other side of the top of the cylinder cover (12) is fixed with an upper hopper (15), and the upper The top of the hopper (15) is hinged with a sealing cover (16). 5.根据权利要求1所述的一种用于阻燃剂生产的烘干装置,其特征在于,两个所述刮板(21)的中部均固定连接有斜撑(22),两个所述斜撑(22)的一端均与铜轴(18)的底端固定连接。5. A drying device for flame retardant production according to claim 1, characterized in that, the middle parts of the two scrapers (21) are fixedly connected with braces (22), and the two scrapers (21) are fixedly connected with braces (22). One end of said diagonal brace (22) is all fixedly connected with the bottom end of copper shaft (18). 6.根据权利要求1所述的一种用于阻燃剂生产的烘干装置,其特征在于,所述烘干筒(1)的顶端固定设有托环(11),所述托环(11)的顶端卡合连接有密封圈,所述托环(11)的顶端与筒盖(12)的底端固定连接。6. A drying device for flame retardant production according to claim 1, characterized in that, the top of the drying cylinder (1) is fixed with a support ring (11), and the support ring ( The top end of 11) is engaged with a sealing ring, and the top end of the support ring (11) is fixedly connected with the bottom end of the cylinder cover (12).
CN202222028305.6U 2022-08-03 2022-08-03 A drying device for fire retardant production Active CN217715755U (en)

Priority Applications (1)

Application Number Priority Date Filing Date Title
CN202222028305.6U CN217715755U (en) 2022-08-03 2022-08-03 A drying device for fire retardant production

Applications Claiming Priority (1)

Application Number Priority Date Filing Date Title
CN202222028305.6U CN217715755U (en) 2022-08-03 2022-08-03 A drying device for fire retardant production

Publications (1)

Publication Number Publication Date
CN217715755U true CN217715755U (en) 2022-11-01

Family

ID=83787678

Family Applications (1)

Application Number Title Priority Date Filing Date
CN202222028305.6U Active CN217715755U (en) 2022-08-03 2022-08-03 A drying device for fire retardant production

Country Status (1)

Country Link
CN (1) CN217715755U (en)

Similar Documents

Publication Publication Date Title
CN108718654A (en) A kind of gardens weeds fallen leaves processing vehicle
CN217715755U (en) A drying device for fire retardant production
CN208643474U (en) A lithium battery cell production and cleaning device
CN222462481U (en) A preheating device for wire and cable production
CN207515455U (en) A kind of waste cable drying equipment of flash baking
CN217275292U (en) Moxa liquid draws back moxa sediment processing apparatus
CN212133110U (en) Porous upper and lower air-out distributor
CN208349796U (en) A kind of extractor fan of environment protection drying furnace
CN211503417U (en) Cooling device for steel structure production and processing
CN221662769U (en) Sludge treatment drying device
CN211188291U (en) Traditional Chinese medicine processing device
CN209174304U (en) A spray drying equipment
CN221924227U (en) A carbon black re-mixing device for carbon black production
CN222205023U (en) A sludge treatment equipment
CN223623290U (en) Rice drying device for rice processing
CN222504769U (en) A drying device for water reducing agent capable of eliminating caking
CN206916444U (en) A kind of composite material-feeding heats color-fixing device
CN218566021U (en) Rice drying device is used in rice processing
CN212700575U (en) Drying device for polyaluminium chloride
CN218077114U (en) Tail gas treatment device for innocent treatment
CN216701505U (en) Dry all-in-one is retrieved in washing
CN220576242U (en) Still kettle waste heat recovery equipment
CN205482276U (en) Prevent blockking up rotation type desiccator
CN221666460U (en) Efficient drying device
CN222783845U (en) A hot air drying device for garbage disposal box

Legal Events

Date Code Title Description
GR01 Patent grant
GR01 Patent grant