CN217710382U - 一种桥梁开裂后组合加固装置 - Google Patents
一种桥梁开裂后组合加固装置 Download PDFInfo
- Publication number
- CN217710382U CN217710382U CN202221850032.7U CN202221850032U CN217710382U CN 217710382 U CN217710382 U CN 217710382U CN 202221850032 U CN202221850032 U CN 202221850032U CN 217710382 U CN217710382 U CN 217710382U
- Authority
- CN
- China
- Prior art keywords
- bridge
- carbon fiber
- plate
- web
- prestressed carbon
- Prior art date
- Legal status (The legal status is an assumption and is not a legal conclusion. Google has not performed a legal analysis and makes no representation as to the accuracy of the status listed.)
- Active
Links
- 238000005336 cracking Methods 0.000 title claims abstract description 22
- 230000003014 reinforcing effect Effects 0.000 title 1
- 229920000049 Carbon (fiber) Polymers 0.000 claims abstract description 75
- 239000004917 carbon fiber Substances 0.000 claims abstract description 75
- VNWKTOKETHGBQD-UHFFFAOYSA-N methane Chemical compound C VNWKTOKETHGBQD-UHFFFAOYSA-N 0.000 claims abstract description 74
- 229910000831 Steel Inorganic materials 0.000 claims abstract description 58
- 239000010959 steel Substances 0.000 claims abstract description 58
- 230000002787 reinforcement Effects 0.000 claims abstract description 25
- 238000004873 anchoring Methods 0.000 claims abstract description 10
- 239000000853 adhesive Substances 0.000 claims abstract description 3
- 230000001070 adhesive effect Effects 0.000 claims abstract description 3
- 239000003292 glue Substances 0.000 claims description 16
- 238000007667 floating Methods 0.000 claims description 11
- 239000002519 antifouling agent Substances 0.000 claims description 4
- 239000000178 monomer Substances 0.000 claims description 3
- 238000005728 strengthening Methods 0.000 abstract description 4
- 238000011161 development Methods 0.000 abstract description 3
- 230000009467 reduction Effects 0.000 abstract description 2
- 239000002131 composite material Substances 0.000 abstract 1
- 238000000034 method Methods 0.000 description 6
- 238000005516 engineering process Methods 0.000 description 3
- OKTJSMMVPCPJKN-UHFFFAOYSA-N Carbon Chemical compound [C] OKTJSMMVPCPJKN-UHFFFAOYSA-N 0.000 description 2
- 229910052799 carbon Inorganic materials 0.000 description 2
- 238000010276 construction Methods 0.000 description 2
- 238000010586 diagram Methods 0.000 description 2
- 239000000463 material Substances 0.000 description 2
- 230000009471 action Effects 0.000 description 1
- 230000009286 beneficial effect Effects 0.000 description 1
- 238000007796 conventional method Methods 0.000 description 1
- 230000007797 corrosion Effects 0.000 description 1
- 238000005260 corrosion Methods 0.000 description 1
- 230000007812 deficiency Effects 0.000 description 1
- 238000013461 design Methods 0.000 description 1
- 230000000694 effects Effects 0.000 description 1
- 230000006872 improvement Effects 0.000 description 1
- 238000012423 maintenance Methods 0.000 description 1
- 230000007935 neutral effect Effects 0.000 description 1
- 230000008439 repair process Effects 0.000 description 1
Images
Landscapes
- Bridges Or Land Bridges (AREA)
Abstract
本实用新型提供一种桥梁开裂后组合加固装置,属于桥梁工程技术领域,其结构是在桥梁开裂段的桥梁腹板的底面上设置有预应力碳纤维板,每条预应力碳纤维板互相平行布置,每条预应力碳纤维板通过其长度方向两端的锚固装置锚固张拉在所在桥梁腹板底面,在预应力碳纤维板与所在桥梁腹板底面之间通过结构胶固定粘接;在桥梁开裂段的桥梁腹板的两个侧面上分别固定连接有一带肋钢板;带肋钢板的板体部通过锚栓固定锚接在桥梁腹板侧面。本实用新型在桥梁产生结构性裂缝后,在腹板和底板进行组合加固。既提高了主梁的强度,又解决了腹板开裂引起的刚度降低问题,有效提高了主梁刚度,并限制主梁裂缝发展,达到加固桥梁结构的目的。
Description
技术领域
本实用新型涉及桥梁工程技术领域,具体地说是一种桥梁开裂后组合加固装置。
背景技术
一般的,随着交通量的不断增长,大量早期修建的桥梁,由于承载力不满足车辆荷载增长的需求,在关键部位产生了结构性裂缝。常用的加固方法,如粘贴钢板加固法、预应力碳纤维板加固法等,仅对桥梁底板进行了加固处理,提高了主梁整体强度,但忽略了腹板开裂问题,在外荷载作用下,由于裂缝处应力集中问题,腹板裂缝张开,主梁不是全截面受力状态,刚度大幅降低,因此,常规方法加固后桥梁刚度提升非常有限,效果不佳。
实用新型内容
本实用新型的技术任务是解决现有技术的不足,提供一种桥梁开裂后组合加固装置。
本实用新型的技术方案是按以下方式实现的,本实用新型的一种桥梁开裂后组合加固装置,其结构包括预应力碳纤维板、带肋钢板、锚栓,
在桥梁开裂段的桥梁腹板的底面上设置有预应力碳纤维板,
预应力碳纤维板设置为长条状,在桥梁腹板的底面上的横向跨度间隔均匀布置于桥梁腹板的底面,每条预应力碳纤维板互相平行布置,每条预应力碳纤维板的纵向长度小于开裂段整个桥梁单体的长度跨度,每条预应力碳纤维板通过其长度方向两端的锚固装置锚固张拉在所在桥梁腹板底面,两端的锚固装置其中之一端对预应力碳纤维板固定、另一端对预应力碳纤维板张拉连接;在预应力碳纤维板与所在桥梁腹板底面之间通过结构胶固定粘接,
在桥梁开裂段的桥梁腹板的两个侧面上分别固定连接有一带肋钢板;
所述带肋钢板设置有板体部和肋筋部,板体部通过锚栓固定锚接在梁体腹板侧面,肋筋部暴露在外界,肋筋部的肋筋走向沿桥梁腹板的长度方向平行设置。
预应力碳纤维板的锚固装置设置为固定端锚具和张拉端锚具,
固定端锚具和张拉端锚具在一条预应力碳纤维板的两端处分别固定锚固在桥梁腹板底面上,
预应力碳纤维板的固定端固定连接固定头件,固定头件固定在固定端锚具上,
预应力碳纤维板的张拉端固定连接有张拉头件,张拉头件固定在浮动张拉件上,浮动张拉件滑动配合并通过轨道约束在张拉端锚具上,在张拉端锚具和浮动张拉件之间配置有张拉千斤顶,张拉千斤顶张力顶撑浮动张拉件使预应力碳纤维板张拉;张拉状态的预应力碳纤维板和桥梁腹板底面之间涂布结构胶固定粘接。
预应力碳纤维板在桥梁腹板的底面上的横向宽度跨度间隔40cm均匀布置于桥梁腹板的底面。
带肋钢板的板体部的竖向高度小于等于桥梁腹板中心轴高度,
带肋钢板的肋筋部设置有n个水平走向的U型肋筋,U型肋筋的U型开口部固定焊接在板体部表面上,U型肋筋n的数量大于等于3,小于等于10;
带肋钢板的板体部倾斜度与桥梁腹板侧面的倾斜度一致;
带肋钢板的板体部内表面通过粘钢胶与桥梁腹板侧面固定粘接。
带肋钢板的肋筋部相临两个U型肋之间沿着中心线设置有一排锚栓孔,每一处锚栓孔上配置锚栓,锚栓头和带肋钢板的板体部之间设置有垫圈,锚栓孔之间的水平跨度间隔距离设置为15cm,每个锚栓孔接触垫圈的外表面设置有环形固定槽,环形固定槽的外圆直径大于垫圈外圆直径,槽深度小于垫圈的厚度,垫圈厚度呈斜坡设置,其斜度与桥梁腹板侧面斜度相匹配,匹配后垫圈的外暴露面设置为竖直面,垫圈厚度最薄处设置为3mm,垫圈贴合带肋钢板钢板板体部的内表面设置为防滑磨砂面。
桥梁腹板侧面对应锚栓的位置开设有预钻孔,预钻孔的直径大于锚栓直径,待带肋钢板就位、灌注粘钢胶后,拧紧锚栓,挤压出桥梁腹板侧面和带肋钢板板体部之间多余的粘钢胶液,形成密贴紧固。
预应力碳纤维板的表面涂布有防护涂料。
本实用新型与现有技术相比所产生的有益效果是:
本实用新型的一种桥梁开裂后组合加固装置,是在桥梁产生结构性裂缝后,在腹板和底板进行组合加固。
本实用新型代替了传统的单一加固方法,既提高了主梁的强度,又解决了腹板开裂引起的刚度降低问题,有效提高了主梁刚度,并限制主梁裂缝发展,达到加固桥梁结构的目的。
在外荷载作用下,有效保证主梁的受力状态,从而保证加固后桥梁刚度的提升。
预应力碳纤维板加固技术是通过预应力施加充分发挥碳纤维材料强度,为一种主动加固技术,增加结构的强度和刚度的同时能减少结构的挠度变形,并能减少和封闭裂缝。
本实用新型的一种桥梁开裂后组合加固装置设计合理、结构简单、安全可靠、使用方便、易于维护,具有很好的推广使用价值。
附图说明
附图1是本实用新型的用于桥梁开裂后的组合加固构造的结构示意图;
附图2是本实用新型的所采用的组合构造大样的结构示意图;
附图3是本实用新型的所采用的带肋钢板的构造结构示意图;
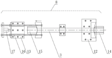
附图4是本实用新型的所采用的锚固装置的结构示意图。
附图中的标记分别表示:
1、带肋钢板,2、锚栓,3、预应力碳纤维板。
4、桥梁,5、腹板,6、腹板底面,7、腹板侧面,
8、锚固装置,9、结构胶,
10、板体部,11、肋筋部,
12、固定端锚具,13、张拉端锚具,
14、固定头件,15、张拉头件,
16、浮动张拉件,17、张拉千斤顶,
18、U型肋筋,19、粘钢胶,
20、锚栓孔,21、垫圈,22、环形固定槽,23、防滑磨砂面,
24、预钻孔,25、防护涂料。
具体实施方式
下面结合附图对本实用新型的一种桥梁开裂后组合加固装置作以下详细说明。
如附图所示,本实用新型的一种桥梁开裂后组合加固装置,其结构包括预应力碳纤维板3、带肋钢板1、锚栓2,
在桥梁开裂段的桥梁腹板底面6上设置有预应力碳纤维板3,
预应力碳纤维板3设置为长条状,在桥梁腹板底面6上的横向跨度间隔均匀布置于桥梁腹板底面6,每条预应力碳纤维板3互相平行布置,每条预应力碳纤维板的纵向长度小于开裂段整个桥梁单体的长度跨度,每条预应力碳纤维板通过其长度方向两端的锚固装置8锚固张拉在所在桥梁腹板底面6,两端的锚固装置其中之一端对预应力碳纤维板固定、另一端对预应力碳纤维板张拉连接;在预应力碳纤维板与所在桥梁腹板底面之间通过结构胶9固定粘接,
在桥梁开裂段的桥梁腹板的两个侧面上分别固定连接有一带肋钢板;
所述带肋钢板1设置有板体部10和肋筋部11,板体部10通过锚栓2固定锚接在梁体腹板侧面7,肋筋部11暴露在外界,肋筋部的肋筋走向沿桥梁腹板的长度方向平行设置。
预应力碳纤维板的锚固装置8设置为固定端锚具12和张拉端锚具13,
固定端锚具12和张拉端锚具13在一条预应力碳纤维板的两端处分别固定锚固在桥梁腹板底面上,
预应力碳纤维板3的固定端固定连接固定头件14,固定头件14固定在固定端锚具12上,
预应力碳纤维板3的张拉端固定连接有张拉头件15,张拉头件15固定在浮动张拉件16上,浮动张拉件16滑动配合并通过轨道约束在张拉端锚具13上,在张拉端锚具13和浮动张拉件16之间配置有张拉千斤顶17,张拉千斤顶17张力顶撑浮动张拉件使预应力碳纤维板张拉;张拉状态的预应力碳纤维板和桥梁腹板底面之间涂布结构胶9固定粘接。
预应力碳纤维板3在桥梁腹板底面6上的横向跨度间隔40cm均匀布置于桥梁腹板的底面。
带肋钢板1的板体部的竖向高度小于等于桥梁腹板中心轴高度,
带肋钢板1的肋筋部11设置有n个水平走向的U型肋筋18,U型肋筋的U型开口部固定焊接在板体部表面上,U型肋筋n的数量大于等于3;
带肋钢板的板体部倾斜度与桥梁腹板侧面的倾斜度一致;
带肋钢板的板体部内表面通过粘钢胶19与桥梁腹板侧面7固定粘接。
带肋钢板的肋筋部相临两个U型肋之间沿着中心线设置有一排锚栓孔20,每一处锚栓孔上配置锚栓2,锚栓头和带肋钢板的板体部之间设置有垫圈21,锚栓孔之间的水平跨度间隔距离设置为15cm,每个锚栓孔接触垫圈的外表面设置有环形固定槽22,环形固定槽的外圆直径大于垫圈外圆直径,槽深度小于垫圈的厚度,垫圈厚度呈斜坡设置,其斜度与桥梁腹板侧面斜度相匹配,匹配后垫圈的外暴露面设置为竖直面,垫圈厚度最薄处设置为3mm,垫圈贴合带肋钢板钢板板体部的内表面设置为防滑磨砂面23。
桥梁腹板侧面对应锚栓的位置开设有预钻孔24,预钻孔的直径大于锚栓直径,待带肋钢板就位、灌注粘钢胶后,拧紧锚栓,挤压出桥梁腹板侧面和带肋钢板板体部之间多余的粘钢胶液,形成密贴紧固。
预应力碳纤维板的表面涂布有防护涂料25。
本实用新型的一种桥梁开裂后组合加固装置,其中:
所述预应力碳纤维板长条状碳纤维板,横向间隔40cm均匀布置于混凝土梁底面,纵向长度略小于桥梁跨度,通过两端锚固装置和结构胶与桥梁腹板固定,单端张拉,施工顺序为先在碳纤维板表面涂抹结构胶,再安装就位,张拉碳纤维板。
所述带肋钢板材料采用Q235B,竖向高度D0为梁体中心轴高度,包括n个纵向U型肋,具体数量依据中性轴高度和U型肋尺寸计算确定;带肋钢板倾斜度与梁体腹板倾斜度一致;带肋钢板纵向长度依据腹板跨中位置裂缝分布情况而定;带肋钢板通过粘钢胶与混凝土梁体固定在一起。
所述两个U型肋之间沿着中心线设置有一排锚栓孔,螺钉孔之间的纵向间隔距离为15cm,每个锚栓孔接触垫圈的外表面设置有环形固定槽,环形固定槽的外圆直径大于垫圈外圆直径,槽深度小于垫圈的厚度,垫圈厚度依据带肋钢板斜度调整,最薄处为3mm,垫圈外缘贴合钢板的表面设置防滑磨砂面;
所述锚栓为Φ12mm锚栓,粘贴带肋钢板之前,在混凝土梁体对应位置进行预钻孔,孔径大于锚栓直径,待带肋钢板就位、灌注粘钢胶后,拧紧螺栓,挤压出多余粘钢胶液,达到密贴程度。
本实用新型的具体实施方法为:先在桥梁腹板底面安装预应力碳纤维板并张拉,使桥梁主梁底板和腹板有一定的预压应力,然后在跨中开裂范围内粘贴带肋钢板,并用锚栓压紧密贴。
锚固装置采用预应力碳纤维板加固系统,它主要有碳纤维板、锚固系统(含支座、锚头、张拉杆等)、碳板胶、张拉机具(含千斤顶、工具挡板、工具杆及高强螺母等)和压条等6个主要部分组成。它的使用原理就是对于需要加固的构件,用涂有碳板胶的碳纤维板进行预应力张拉,修复构件问题,让碳纤维板与构件形成统一整体,提高构件承载能力。
碳纤维具有强度高、模量高、耐高温、耐腐蚀、耐疲劳等多种特性。碳纤维板的抗拉强度比钢筋高出10倍,甚至更多。预应力碳纤维板技术在碳纤维板承载高负荷重量之前,就处于一个较高能力的适应水平,提前支配了一定的强度性,让碳纤维板高强度的性能发挥得更加充分。除此之外,平衡结构更能增强结构的刚度,这大大缓解裂缝开展,并减小了裂缝的宽度,更好地提升公路桥梁的承载能力预应力碳纤维板对施工员的技术要求较高。需要细致的操作,避免碳纤维受到破坏。
Claims (7)
1.一种桥梁开裂后组合加固装置,其特征在于包括预应力碳纤维板、带肋钢板、锚栓,
在桥梁开裂段的桥梁腹板的底面上设置有预应力碳纤维板,
预应力碳纤维板设置为长条状,在桥梁腹板的底面上的横向跨度间隔均匀布置于桥梁腹板的底面,每条预应力碳纤维板互相平行布置,每条预应力碳纤维板的纵向长度小于开裂段整个桥梁单体的长度跨度,每条预应力碳纤维板通过其长度方向两端的锚固装置锚固张拉在所在桥梁腹板底面,两端的锚固装置其中之一端对预应力碳纤维板固定、另一端对预应力碳纤维板张拉连接;在预应力碳纤维板与所在桥梁腹板底面之间通过结构胶固定粘接,
在桥梁开裂段的桥梁腹板的两个侧面上分别固定连接有一带肋钢板;
所述带肋钢板设置有板体部和肋筋部,板体部通过锚栓固定锚接在桥梁腹板侧面,肋筋部暴露在外界,肋筋部的肋筋走向沿桥梁腹板的长度方向平行设置。
2.根据权利要求1所述的一种桥梁开裂后组合加固装置,其特征在于:
预应力碳纤维板的锚固装置设置为固定端锚具和张拉端锚具,
固定端锚具和张拉端锚具在一条预应力碳纤维板的两端处分别固定锚固在桥梁腹板底面上,
预应力碳纤维板的固定端固定连接固定头件,固定头件固定在固定端锚具上,
预应力碳纤维板的张拉端固定连接有张拉头件,张拉头件固定在浮动张拉件上,浮动张拉件滑动配合并通过轨道约束在张拉端锚具上,在张拉端锚具和浮动张拉件之间配置有张拉千斤顶,张拉千斤顶张力顶撑浮动张拉件使预应力碳纤维板张拉;张拉状态的预应力碳纤维板和桥梁腹板底面之间涂布结构胶固定粘接。
3.根据权利要求1所述的一种桥梁开裂后组合加固装置,其特征在于:
预应力碳纤维板在桥梁腹板底面上的横向宽度跨度间隔40cm均匀布置于桥梁腹板底面。
4.根据权利要求1所述的一种桥梁开裂后组合加固装置,其特征在于:
带肋钢板的板体部的竖向高度小于等于桥梁腹板中心轴高度,
带肋钢板的肋筋部设置有n个水平走向的U型肋筋,U型肋筋的U型开口部固定焊接在板体部表面上,U型肋筋n的数量大于等于3;
带肋钢板的板体部倾斜度与桥梁腹板侧面的倾斜度一致;
带肋钢板的板体部内表面通过粘钢胶与桥梁腹板侧面固定粘接。
5.根据权利要求4所述的一种桥梁开裂后组合加固装置,其特征在于:
带肋钢板的肋筋部相临两个U型肋之间沿着中心线设置有一排锚栓孔,每一处锚栓孔上配置锚栓,锚栓头和带肋钢板的板体部之间设置有垫圈,锚栓孔之间的水平跨度间隔距离设置为15cm,每个锚栓孔接触垫圈的外表面设置有环形固定槽,环形固定槽的外圆直径大于垫圈外圆直径,环形固定槽槽深度小于垫圈的厚度,垫圈厚度呈斜坡设置,其斜度与桥梁腹板侧面斜度相匹配,匹配后垫圈的外暴露面设置为竖直面,垫圈厚度最薄处设置为3mm,垫圈贴合带肋钢板钢板板体部的内表面设置为防滑磨砂面。
6.根据权利要求1所述的一种桥梁开裂后组合加固装置,其特征在于:
桥梁腹板侧面对应锚栓的位置开设有预钻孔,预钻孔的直径大于锚栓直径,待带肋钢板就位、灌注粘钢胶后,拧紧锚栓,挤压出桥梁腹板侧面和带肋钢板板体部之间多余的粘钢胶液,形成密贴紧固。
7.根据权利要求1所述的一种桥梁开裂后组合加固装置,其特征在于:
预应力碳纤维板的表面涂布有防护涂料。
Priority Applications (1)
| Application Number | Priority Date | Filing Date | Title |
|---|---|---|---|
| CN202221850032.7U CN217710382U (zh) | 2022-07-18 | 2022-07-18 | 一种桥梁开裂后组合加固装置 |
Applications Claiming Priority (1)
| Application Number | Priority Date | Filing Date | Title |
|---|---|---|---|
| CN202221850032.7U CN217710382U (zh) | 2022-07-18 | 2022-07-18 | 一种桥梁开裂后组合加固装置 |
Publications (1)
| Publication Number | Publication Date |
|---|---|
| CN217710382U true CN217710382U (zh) | 2022-11-01 |
Family
ID=83779918
Family Applications (1)
| Application Number | Title | Priority Date | Filing Date |
|---|---|---|---|
| CN202221850032.7U Active CN217710382U (zh) | 2022-07-18 | 2022-07-18 | 一种桥梁开裂后组合加固装置 |
Country Status (1)
| Country | Link |
|---|---|
| CN (1) | CN217710382U (zh) |
Cited By (1)
| Publication number | Priority date | Publication date | Assignee | Title |
|---|---|---|---|---|
| CN115874554A (zh) * | 2023-01-10 | 2023-03-31 | 中交一公局第一工程有限公司 | 一种对旧桥梁板进行复合加固的结构及方法 |
-
2022
- 2022-07-18 CN CN202221850032.7U patent/CN217710382U/zh active Active
Cited By (1)
| Publication number | Priority date | Publication date | Assignee | Title |
|---|---|---|---|---|
| CN115874554A (zh) * | 2023-01-10 | 2023-03-31 | 中交一公局第一工程有限公司 | 一种对旧桥梁板进行复合加固的结构及方法 |
Similar Documents
| Publication | Publication Date | Title |
|---|---|---|
| CN103321430B (zh) | 预应力碳纤维片材加固大跨混凝土结构的施工方法 | |
| CN203320978U (zh) | 预应力碳纤维片材加固大跨混凝土结构的张拉锚固装置 | |
| CN205206350U (zh) | 一种预应力碳纤维板张拉锚固装置 | |
| CN202131566U (zh) | 波形钢板与混凝土组合的索塔锚固结构 | |
| US11674323B2 (en) | Device and method for reinforcing round section wood beam by combination of prestressed FRP sheet and high strength steel wire rope | |
| CN106193643A (zh) | 一种加固钢梁及组合梁的预应力cfrp板张拉锚固装置 | |
| CN109025353A (zh) | 一种预应力frp片材加固钢筋混凝土梁的装置和施工方法 | |
| CN102367649B (zh) | 设开孔钢板连接件的钢木组合桥梁结构 | |
| CN217710382U (zh) | 一种桥梁开裂后组合加固装置 | |
| CN103291082A (zh) | 一种木梁加固体外预应力施工方法 | |
| CN204589830U (zh) | 一种中小跨径桥梁托举式加固装置 | |
| CN101701497B (zh) | 预应力纤维布加固混凝土立柱的方法 | |
| CN115369784A (zh) | 一种预应力混凝土箱梁横向主动加固结构及施工方法 | |
| CN204676920U (zh) | 一种力纤维布加固结构 | |
| CN2712994Y (zh) | 碳纤维布预应力张拉器 | |
| CN210067217U (zh) | 一种装配式大悬挑钢结构 | |
| CN107794851A (zh) | 预应力活性粉末混凝土声屏障单元板的制作方法 | |
| CN115772863B (zh) | 一种t梁粘贴钢板转换箱梁的加固系统及其加固方法 | |
| CN219080117U (zh) | 一种t梁粘贴钢板转换箱梁的加固结构 | |
| CN113047171B (zh) | 一种内置式钢绞线-撑杆斜拉桥索塔锚固结构 | |
| CN117211200A (zh) | 一种钢筋混凝土t形梁桥的加固装置及其施工方法 | |
| CN217579818U (zh) | 一种桥墩加固装置 | |
| CN207537863U (zh) | 一种组合梁预应力施加连接结构 | |
| CN201649685U (zh) | 一种采用预应力碳纤维板加固梁的装置 | |
| CN215631038U (zh) | 一种耐腐蚀大跨度预应力双t板 |
Legal Events
| Date | Code | Title | Description |
|---|---|---|---|
| GR01 | Patent grant | ||
| GR01 | Patent grant |