CN217704079U - Driving side wall plate drilling device - Google Patents
Driving side wall plate drilling device Download PDFInfo
- Publication number
- CN217704079U CN217704079U CN202221505181.XU CN202221505181U CN217704079U CN 217704079 U CN217704079 U CN 217704079U CN 202221505181 U CN202221505181 U CN 202221505181U CN 217704079 U CN217704079 U CN 217704079U
- Authority
- CN
- China
- Prior art keywords
- plate
- drilling
- adjustment
- workbench
- rod
- Prior art date
- Legal status (The legal status is an assumption and is not a legal conclusion. Google has not performed a legal analysis and makes no representation as to the accuracy of the status listed.)
- Expired - Fee Related
Links
Images
Landscapes
- Processing Of Stones Or Stones Resemblance Materials (AREA)
Abstract
本实用新型涉及钻孔设备技术领域,具体是一种驱动侧墙板钻孔装置,所述驱动侧墙板钻孔装置包括:工作台,所述工作台远离地面的一端固定安装有固定板和L型支撑板,工作台远离地面的一端安装有夹持组件;钻孔组件,所述钻孔组件位于工作台远离地面的一端;调节组件,所述调节组件转动连接于工作台与L型支撑板之间;与现有技术相比较,该钻孔装置能够根据墙板的大小对其进行相应的夹持固定,通过双向加持能够提高墙板在钻孔加工过程中的稳定性,进而提高墙板的钻孔精度,同时还能够对墙板的各个位置进行打孔,提高了墙板在进行多位置钻孔时的加工效率。
The utility model relates to the technical field of drilling equipment, in particular to a device for driving side wall panel drilling. The driving side wall panel drilling device comprises: a workbench, one end of the workbench away from the ground is fixedly mounted with a fixing plate and a L-shaped support plate, a clamping assembly is installed on the end of the workbench away from the ground; drilling assembly, the drilling assembly is located at one end of the workbench away from the ground; adjustment assembly, the adjustment assembly is rotatably connected to the workbench and the L-shaped support Compared with the prior art, the drilling device can clamp and fix the wall board correspondingly according to the size of the wall board, and the stability of the wall board during the drilling process can be improved by the two-way support, thereby improving the wall board. The drilling accuracy of the board can be improved, and at the same time, various positions of the wall board can be drilled, and the processing efficiency of the wall board when drilling at multiple positions can be improved.
Description
技术领域technical field
本实用新型涉及钻孔设备技术领域,具体是一种驱动侧墙板钻孔装置。The utility model relates to the technical field of drilling equipment, in particular to a drilling device for driving side wall panels.
背景技术Background technique
建筑是建筑物与构筑物的总称,是人们为了满足社会生活需要,利用所掌握的物质技术手段,并运用一定的科学规律、风水理念和美学法则创造的人工环境,建筑中常用到墙板,按所用材料和建造方法的不同可墙板分为混合结构、装配式大板结构、现浇式墙板结构三类。Architecture is the general term for buildings and structures. It is an artificial environment created by people in order to meet the needs of social life, using the material and technological means they have mastered, and using certain scientific laws, Feng Shui concepts and aesthetic principles. Wall panels are commonly used in buildings. According to the different materials and construction methods, wall panels can be divided into three types: hybrid structure, prefabricated large panel structure, and cast-in-place wall panel structure.
现有的钻孔装置在对墙板进行钻孔加工时,不能够根据墙板的大小对其进行相应的夹持固定调节,导致墙板的固定效果较差,增大其加工误差,因此需要在此基础上作出进一步的改进。When the existing drilling device is drilling the wallboard, it cannot be clamped and fixed according to the size of the wallboard, which leads to poor fixing effect of the wallboard and increases its processing error. Therefore, it is necessary to Make further improvements on this basis.
实用新型内容Utility model content
本实用新型的目的在于提供一种驱动侧墙板钻孔装置,以解决上述背景技术中提出的问题。The purpose of this utility model is to provide a driving device for drilling holes in side wall panels, so as to solve the problems raised in the above-mentioned background technology.
为实现上述目的,本实用新型提供如下技术方案:In order to achieve the above object, the utility model provides the following technical solutions:
一种驱动侧墙板钻孔装置,所述驱动侧墙板钻孔装置包括:A drilling device for driving side wall panels, the drilling device for driving side wall panels includes:
工作台,所述工作台远离地面的一端固定安装有固定板和L型支撑板,工作台远离地面的一端安装有夹持组件,所述夹持组件能够根据墙板的不同大小进行相应调节;A workbench, the end of the workbench away from the ground is fixedly installed with a fixing plate and an L-shaped support plate, and the end of the workbench away from the ground is equipped with a clamping assembly, and the clamping assembly can be adjusted accordingly according to different sizes of the wall panels;
钻孔组件,所述钻孔组件位于工作台远离地面的一端,能够对墙板进行钻孔加工;Drilling assembly, the drilling assembly is located at one end of the workbench away from the ground, capable of drilling the wallboard;
调节组件,所述调节组件转动连接于工作台与L型支撑板之间,能够根据墙板的钻孔需求对钻孔组件的位置进行相应调节。An adjustment assembly, the adjustment assembly is rotatably connected between the workbench and the L-shaped support plate, and can adjust the position of the drilling assembly according to the drilling requirements of the wallboard.
作为本实用新型进一步的方案:所述夹持组件包括:As a further solution of the utility model: the clamping assembly includes:
调节板,所述调节板滑动连接于工作台位于固定板的一端,调节板的内部设置有导轨,导轨关于调节板对称设置,调节板远离工作台的一端设置有滑槽;An adjustment plate, the adjustment plate is slidably connected to the workbench at one end of the fixed plate, the inside of the adjustment plate is provided with guide rails, the guide rails are arranged symmetrically with respect to the adjustment plate, and the end of the adjustment plate away from the workbench is provided with a chute;
菱形板,所述菱形板转动连接于调节板内部,调节板内部对称设置有滑块,滑块沿导轨和滑槽路径滑动,滑块与菱形板之间设置有调节杆,调节杆的两端分别与菱形板和滑块铰接,滑块穿过滑槽的一端固定连接有夹板。Diamond-shaped plate, the diamond-shaped plate is rotatably connected to the inside of the adjustment plate, and a slider is symmetrically arranged inside the adjustment plate, and the slider slides along the guide rail and the chute path, and an adjustment rod is arranged between the slider and the diamond-shaped board, and the two ends of the adjustment rod They are respectively hinged with the diamond-shaped plate and the slider, and one end of the slider passing through the chute is fixedly connected with a splint.
作为本实用新型再一步的方案:所述调节组件包括:As a further solution of the utility model: the adjustment assembly includes:
丝杆一,所述丝杆一转动连接于固定板和L型支撑板之间,固定板和L型支撑板之间固定连接有固定杆一,固定杆一与丝杆一平行设置,调节板与丝杆一螺纹连接的同时与固定杆一滑动连接;Screw
安装板,所述安装板固定安装于L型支撑板远离工作台的一端,安装板的中部设置有丝杆二和固定杆二,丝杆二与安装板转动连接,固定杆二和安装板固定连接,丝杆二与固定杆二平行设置。The mounting plate is fixedly installed on the end of the L-shaped support plate away from the workbench. The middle part of the mounting plate is provided with a
作为本实用新型再一步的方案:所述钻孔组件包括:As a further solution of the utility model: the drilling assembly includes:
调节块,所述调节块位于安装板中部,调节块与丝杆二螺纹连接的同时与固定杆二滑动连接,调节块靠近地面的一端固定安装有气缸;An adjustment block, the adjustment block is located in the middle of the mounting plate, the adjustment block is threadedly connected with the second screw rod and is slidingly connected with the second fixed rod at the same time, and the end of the adjustment block close to the ground is fixedly installed with a cylinder;
驱动件,所述驱动件固定安装有气缸远离调节块的一端,驱动件靠近地面的一端传动连接有钻头。The driving part is fixedly installed with an end of the cylinder away from the adjustment block, and the end of the driving part close to the ground is connected with a drill bit through transmission.
作为本实用新型再一步的方案:所述工作台靠近地面的一端对称设置有支撑腿,支撑腿与工作台通过螺栓固定连接。As a further solution of the utility model: the end of the workbench close to the ground is symmetrically provided with support legs, and the support legs are fixedly connected to the workbench by bolts.
作为本实用新型再一步的方案:所述工作台的一侧固定安装有控制面板,所述控制面板的输出端与丝杆一、丝杆二和气缸的输入端通过PLC控制连接。As a further solution of the utility model: a control panel is fixedly installed on one side of the workbench, and the output end of the control panel is connected to the input end of the first screw rod, the second screw rod and the cylinder through PLC control.
与现有技术相比,本实用新型的有益效果是:Compared with the prior art, the beneficial effects of the utility model are:
本实用新型的一种驱动侧墙板钻孔装置,将所需要进行钻孔加工的墙板放置在调节板的上端,通过电机带动调节板内部的菱形板转动,由于调节杆的两端分别与菱形板和滑块铰接,当菱形板转动时能够带动滑块沿导轨和滑槽路径滑动,进而带动夹板沿滑槽路径相向移动,完成对墙板的夹持固定,完成墙板的夹持固定后,通过控制面板分别控制丝杆一、丝杆二和气缸运动,当丝杆一转动时,由于调节板与丝杆一之间螺纹连接,能够使调节板沿固定杆一路径滑动,对墙板位置进行水平横向调节,当丝杆二转动时,由于调节块与丝杆二之间螺纹连接,能够使调节块沿固定杆二路径滑动,对钻孔组件进行水平纵向调节,而通过气缸伸缩,能够对钻孔组件进行竖直方向上的调节,通过钻孔位置完成对墙板和钻孔组件的调节后,最终通过驱动件带动钻头转动,完成对墙板的钻孔加工。A driving side wall board drilling device of the utility model places the wall board required for drilling on the upper end of the adjustment plate, and drives the rhombus plate inside the adjustment board to rotate through the motor. The diamond-shaped plate and the slider are hinged. When the diamond-shaped plate rotates, it can drive the slider to slide along the guide rail and the chute path, and then drive the splint to move toward each other along the chute path to complete the clamping and fixing of the wall panel. Finally, through the control panel to control the movement of the
与现有技术相比较,该钻孔装置能够根据墙板的大小对其进行相应的夹持固定,通过双向加持能够提高墙板在钻孔加工过程中的稳定性,进而提高墙板的钻孔精度,同时还能够对墙板的各个位置进行打孔,提高了墙板在进行多位置钻孔时的加工效率。Compared with the prior art, the drilling device can clamp and fix the wallboard according to the size of the wallboard, and the stability of the wallboard during the drilling process can be improved through bidirectional clamping, thereby improving the drilling efficiency of the wallboard. Accuracy, and at the same time, it can also drill holes in various positions of the wallboard, which improves the processing efficiency of the wallboard when performing multi-position drilling.
附图说明Description of drawings
图1为本实用新型驱动侧墙板钻孔装置的结构示意图。Fig. 1 is a structural schematic diagram of the utility model driving sidewall panel drilling device.
图2为本实用新型驱动侧墙板钻孔装置中工作台的俯视图。Fig. 2 is a top view of the workbench in the driving sidewall panel drilling device of the present invention.
图3为本实用新型驱动侧墙板钻孔装置中调节板的内部结构示意图。Fig. 3 is a schematic diagram of the internal structure of the regulating plate in the drilling device for the drive side wall panel of the present invention.
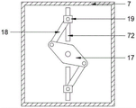
图中:1-工作台、2-控制面板、3-支撑腿、4-固定板、5-L型支撑板、6-丝杆一、7-调节板、71-滑槽、72-导轨、8-夹板、9-安装板、10-丝杆二、11-固定杆二、12-调节块、13-气缸、14-驱动件、15-钻头、16-固定杆一、17-菱形板、18-调节杆、19-滑块。In the figure: 1-workbench, 2-control panel, 3-support leg, 4-fixed plate, 5-L-shaped support plate, 6-screw one, 7-adjusting plate, 71-chute, 72-guide rail, 8-splint, 9-installation plate, 10-
具体实施方式Detailed ways
下面将结合本实用新型实施例中的附图,对本实用新型实施例中的技术方案进行清楚、完整地描述,显然,所描述的实施例仅仅是本实用新型一部分实施例,而不是全部的实施例。基于本实用新型中的实施例,本领域普通技术人员在没有做出创造性劳动前提下所获得的所有其他实施例,都属于本实用新型保护的范围。The technical solutions in the embodiments of the present invention will be clearly and completely described below in conjunction with the accompanying drawings in the embodiments of the present invention. Obviously, the described embodiments are only part of the embodiments of the present invention, not all of them. example. Based on the embodiments of the present utility model, all other embodiments obtained by persons of ordinary skill in the art without making creative efforts belong to the scope of protection of the present utility model.
如图1-3所示,作为本实用新型的一种实施例,一种驱动侧墙板钻孔装置,所述驱动侧墙板钻孔装置包括:As shown in Figures 1-3, as an embodiment of the present invention, a driving side wall drilling device, the driving side wall drilling device includes:
工作台1,所述工作台1远离地面的一端固定安装有固定板4和L型支撑板5,工作台1远离地面的一端安装有夹持组件,所述夹持组件能够根据墙板的不同大小进行相应调节;A
钻孔组件,所述钻孔组件位于工作台1远离地面的一端,能够对墙板进行钻孔加工;Drilling assembly, the drilling assembly is located at one end of the
调节组件,所述调节组件转动连接于工作台1与L型支撑板5之间,能够根据墙板的钻孔需求对钻孔组件的位置进行相应调节;An adjustment assembly, the adjustment assembly is rotatably connected between the
与现有技术相比较,该钻孔装置能够根据墙板的大小对其进行相应的夹持固定,通过双向加持能够提高墙板在钻孔加工过程中的稳定性,进而提高墙板的钻孔精度,同时还能够对墙板的各个位置进行打孔,提高了墙板在进行多位置钻孔时的加工效率。Compared with the prior art, the drilling device can clamp and fix the wallboard according to the size of the wallboard, and the stability of the wallboard during the drilling process can be improved through bidirectional clamping, thereby improving the drilling efficiency of the wallboard. Accuracy, and at the same time, it can also drill holes in various positions of the wallboard, which improves the processing efficiency of the wallboard when performing multi-position drilling.
如图1-3所示,作为本实用新型的一种优选实施例,所述夹持组件包括:As shown in Figures 1-3, as a preferred embodiment of the present invention, the clamping assembly includes:
调节板7,所述调节板7滑动连接于工作台1位于固定板4的一端,调节板7的内部设置有导轨72,导轨72关于调节板7对称设置,调节板7远离工作台1的一端设置有滑槽71;Adjusting
菱形板17,所述菱形板17转动连接于调节板7内部,调节板7内部对称设置有滑块19,滑块19沿导轨72和滑槽71路径滑动,滑块19与菱形板17之间设置有调节杆18,调节杆18的两端分别与菱形板17和滑块19铰接,滑块19穿过滑槽71的一端固定连接有夹板8;Rhombus
将所需要进行钻孔加工的墙板放置在调节板7的上端,通过电机带动调节板7内部的菱形板17转动,由于调节杆18的两端分别与菱形板17和滑块19铰接,当菱形板17转动时能够带动滑块19沿导轨72和滑槽71路径滑动,进而带动夹板8沿滑槽71路径相向移动,完成对墙板的夹持固定。Place the wallboard that needs to be drilled on the upper end of the adjusting
如图1-2所示,作为本实用新型的一种优选实施例,所述调节组件包括:As shown in Figure 1-2, as a preferred embodiment of the present utility model, the adjustment assembly includes:
丝杆一6,所述丝杆一6转动连接于固定板4和L型支撑板5之间,固定板4和L型支撑板5之间固定连接有固定杆一16,固定杆一16与丝杆一6平行设置,调节板7与丝杆一6螺纹连接的同时与固定杆一16滑动连接;Screw mandrel one 6, described screw mandrel one 6 is rotatably connected between the
安装板9,所述安装板9固定安装于L型支撑板5远离工作台1的一端,安装板9的中部设置有丝杆二10和固定杆二11,丝杆二10与安装板9转动连接,固定杆二11和安装板9固定连接,丝杆二10与固定杆二11平行设置;
如图1所示,作为本实用新型的一种优选实施例,所述钻孔组件包括:As shown in Figure 1, as a preferred embodiment of the present invention, the drilling assembly includes:
调节块12,所述调节块12位于安装板9中部,调节块12与丝杆二10螺纹连接的同时与固定杆二11滑动连接,调节块12靠近地面的一端固定安装有气缸13;Adjusting
驱动件14,所述驱动件14固定安装有气缸13远离调节块12的一端,驱动件14靠近地面的一端传动连接有钻头15;A
所述工作台1的一侧固定安装有控制面板2,所述控制面板2的输出端与丝杆一6、丝杆二10和气缸13的输入端通过PLC控制连接;A
完成墙板的夹持固定后,通过控制面板2分别控制丝杆一6、丝杆二10和气缸13运动,当丝杆一6转动时,由于调节板7与丝杆一6之间螺纹连接,能够使调节板7沿固定杆一16路径滑动,对墙板位置进行水平横向调节,当丝杆二10转动时,由于调节块12与丝杆二10之间螺纹连接,能够使调节块12沿固定杆二11路径滑动,对钻孔组件进行水平纵向调节,而通过气缸13伸缩,能够对钻孔组件进行竖直方向上的调节,通过钻孔位置完成对墙板和钻孔组件的调节后,最终通过驱动件14带动钻头15转动,完成对墙板的钻孔加工。After the clamping and fixing of the wallboard is completed, the movement of the
除了上述技术方案外,本实用新型还提供另外一种实施例,该实施例与上述实施例的区别之处在于:所述工作台1靠近地面的一端对称设置有支撑腿3,支撑腿3与工作台1通过螺栓固定连接,能够提高装置整体在钻孔加工过程中的稳定性。In addition to the above-mentioned technical solution, the utility model also provides another embodiment, which is different from the above-mentioned embodiment in that: the end of the
本实用新型的工作原理是:The working principle of the utility model is:
在本实施例中,将所需要进行钻孔加工的墙板放置在调节板7的上端,通过电机带动调节板7内部的菱形板17转动,由于调节杆18的两端分别与菱形板17和滑块19铰接,当菱形板17转动时能够带动滑块19沿导轨72和滑槽71路径滑动,进而带动夹板8沿滑槽71路径相向移动,完成对墙板的夹持固定,完成墙板的夹持固定后,通过控制面板2分别控制丝杆一6、丝杆二10和气缸13运动,当丝杆一6转动时,由于调节板7与丝杆一6之间螺纹连接,能够使调节板7沿固定杆一16路径滑动,对墙板位置进行水平横向调节,当丝杆二10转动时,由于调节块12与丝杆二10之间螺纹连接,能够使调节块12沿固定杆二11路径滑动,对钻孔组件进行水平纵向调节,而通过气缸13伸缩,能够对钻孔组件进行竖直方向上的调节,通过钻孔位置完成对墙板和钻孔组件的调节后,最终通过驱动件14带动钻头15转动,完成对墙板的钻孔加工。In this embodiment, the wallboard that needs to be drilled is placed on the upper end of the
对于本领域技术人员而言,显然本实用新型不限于上述示范性实施例的细节,而且在不背离本实用新型的精神或基本特征的情况下,能够以其他的具体形式实现本实用新型。因此,无论从哪一点来看,均应将实施例看作是示范性的,而且是非限制性的,本实用新型的范围由所附权利要求而不是上述说明限定,因此旨在将落在权利要求的等同要件的含义和范围内的所有变化囊括在本实用新型内。不应将权利要求中的任何附图标记视为限制所涉及的权利要求。It is obvious to those skilled in the art that the present invention is not limited to the details of the above-mentioned exemplary embodiments, and that the present invention can be implemented in other specific forms without departing from the spirit or essential features of the present invention. Therefore, no matter from all points of view, the embodiments should be regarded as exemplary and non-restrictive, and the scope of the present invention is defined by the appended claims rather than the above description, so it is intended to fall within the scope of the claims All changes within the meaning and range of equivalents of the required elements are included in the present invention. Any reference sign in a claim should not be construed as limiting the claim concerned.
此外,应当理解,虽然本说明书按照实施方式加以描述,但并非每个实施方式仅包含一个独立的技术方案,说明书的这种叙述方式仅仅是为清楚起见,本领域技术人员应当将说明书作为一个整体,各实施例中的技术方案也可以经适当组合,形成本领域技术人员可以理解的其他实施方式。In addition, it should be understood that although this specification is described according to implementation modes, not each implementation mode only includes an independent technical solution, and this description in the specification is only for clarity, and those skilled in the art should take the specification as a whole , the technical solutions in the various embodiments can also be properly combined to form other implementations that can be understood by those skilled in the art.
Claims (6)
Priority Applications (1)
| Application Number | Priority Date | Filing Date | Title |
|---|---|---|---|
| CN202221505181.XU CN217704079U (en) | 2022-06-16 | 2022-06-16 | Driving side wall plate drilling device |
Applications Claiming Priority (1)
| Application Number | Priority Date | Filing Date | Title |
|---|---|---|---|
| CN202221505181.XU CN217704079U (en) | 2022-06-16 | 2022-06-16 | Driving side wall plate drilling device |
Publications (1)
| Publication Number | Publication Date |
|---|---|
| CN217704079U true CN217704079U (en) | 2022-11-01 |
Family
ID=83800594
Family Applications (1)
| Application Number | Title | Priority Date | Filing Date |
|---|---|---|---|
| CN202221505181.XU Expired - Fee Related CN217704079U (en) | 2022-06-16 | 2022-06-16 | Driving side wall plate drilling device |
Country Status (1)
| Country | Link |
|---|---|
| CN (1) | CN217704079U (en) |
-
2022
- 2022-06-16 CN CN202221505181.XU patent/CN217704079U/en not_active Expired - Fee Related
Similar Documents
| Publication | Publication Date | Title |
|---|---|---|
| CN205684760U (en) | A kind of window frame drilling equipment | |
| CN217704079U (en) | Driving side wall plate drilling device | |
| CN207816325U (en) | A multifunctional replaceable test fixture | |
| CN210740121U (en) | An LED downlight with adjustable rotation angle | |
| CN209986908U (en) | An adjustable base for transmission test bench | |
| CN212823681U (en) | Fixing and clamping device for cable bridge production and processing | |
| CN215936640U (en) | Assembled architectural design device based on BIM technique | |
| CN218346887U (en) | Steel structure erection auxiliary equipment | |
| CN217942658U (en) | Clamping structure for processing switch panel | |
| CN105045201A (en) | Slope-adjustable slope experimental device | |
| CN222140825U (en) | Building construction supporting equipment | |
| CN219041132U (en) | Electrical engineering positioning and mounting mechanism | |
| CN218264751U (en) | Auxiliary tooling for interior door installation | |
| CN211094191U (en) | Fixing and adjusting device for X-ray source assembly | |
| CN211115815U (en) | An adjustable hydraulic support for a horizontal directional drilling rig | |
| CN218744962U (en) | Steel construction drilling frock | |
| CN219703846U (en) | Pipe cutting equipment | |
| CN219432632U (en) | Pipeline laying positioning structure | |
| CN215326735U (en) | Based on BIM pipeline support frame for construction | |
| CN220488472U (en) | Pipeline installation auxiliary assembly convenient to adjust | |
| CN220270220U (en) | Desktop type simulation trainer convenient to use | |
| CN221034347U (en) | Pipe network erection and installation structure | |
| CN221087328U (en) | Efficient drilling device for machining steel back edges | |
| CN219342714U (en) | Special adjuster for ballastless track plate | |
| CN218291705U (en) | Road bridge is maintained and is used restriction device |
Legal Events
| Date | Code | Title | Description |
|---|---|---|---|
| GR01 | Patent grant | ||
| GR01 | Patent grant | ||
| CF01 | Termination of patent right due to non-payment of annual fee | ||
| CF01 | Termination of patent right due to non-payment of annual fee |
Granted publication date: 20221101 |
