CN217702978U - Multi-station five-axis rotating shaft tool for grinding - Google Patents
Multi-station five-axis rotating shaft tool for grinding Download PDFInfo
- Publication number
- CN217702978U CN217702978U CN202222039750.2U CN202222039750U CN217702978U CN 217702978 U CN217702978 U CN 217702978U CN 202222039750 U CN202222039750 U CN 202222039750U CN 217702978 U CN217702978 U CN 217702978U
- Authority
- CN
- China
- Prior art keywords
- tailstock
- linear guide
- power head
- base
- bed hedgehopping
- Prior art date
- Legal status (The legal status is an assumption and is not a legal conclusion. Google has not performed a legal analysis and makes no representation as to the accuracy of the status listed.)
- Active
Links
- 238000003754 machining Methods 0.000 claims abstract description 13
- 230000005540 biological transmission Effects 0.000 claims abstract description 4
- 238000010030 laminating Methods 0.000 claims description 3
- 125000003003 spiro group Chemical group 0.000 claims description 3
- 238000000034 method Methods 0.000 abstract description 4
- 230000001105 regulatory effect Effects 0.000 description 6
- 230000000694 effects Effects 0.000 description 2
- 230000004075 alteration Effects 0.000 description 1
- 230000009286 beneficial effect Effects 0.000 description 1
- 238000012986 modification Methods 0.000 description 1
- 230000004048 modification Effects 0.000 description 1
- 238000006467 substitution reaction Methods 0.000 description 1
- 239000000725 suspension Substances 0.000 description 1
Images
Landscapes
- Grinding And Polishing Of Tertiary Curved Surfaces And Surfaces With Complex Shapes (AREA)
Abstract
The utility model relates to a frock technical field specifically is a be used for five rotation axis frocks of abrasive machining multistation, including five rotation axis bodies of base and multistation, the top of base is leaned on the position of one side to install unit head bed hedgehopping piece, and the top of unit head bed hedgehopping piece installs the unit head, and the output transmission of unit head is connected with power head connector, and there is linear guide in the top of base by the position of opposite side, and linear guide's surface sliding connection has the mounting panel, and tailstock bed hedgehopping piece is installed on the top of mounting panel, and the tailstock is installed on the top of tailstock bed hedgehopping piece. Through the setting of parts such as unit head, power head connector, tail seat connector, tailstock bed hedgehopping piece, tailstock, linear guide binding clasp, mounting panel and linear guide, can effectually solve before the abrasive machining and need utilize the frock to carry out corresponding centre gripping with five rotation axes, but at this in-process, current frock can not convenient, swift carry out the problem that the centre gripping was fixed with it.
Description
Technical Field
The utility model relates to a frock technical field specifically is a be used for five rotation axis frocks of abrasive machining multistation.
Background
In the machining process of the five-axis rotating shaft, the surface of the five-axis rotating shaft needs to be correspondingly ground, so that the five-axis rotating shaft needs to be correspondingly clamped by a tool before grinding machining, and then is rotated by a motor, and accordingly the surface of the five-axis rotating shaft can be conveniently and subsequently ground.
The existing tool for grinding the multi-station five-axis rotating shaft has the problem that the existing tool cannot conveniently and quickly clamp the five-axis rotating shaft for fixing the five-axis rotating shaft before grinding, and meanwhile, the problem that the power head can not stably drive the five-axis rotating shaft to rotate and further influence the machining efficiency due to the fact that the power head can vibrate correspondingly when driving the five-axis rotating shaft in the machining process.
SUMMERY OF THE UTILITY MODEL
An object of the utility model is to provide a be used for five rotation axis frocks of abrasive machining multistation to solve the problem that proposes among the above-mentioned background art.
In order to achieve the above object, the utility model provides a following technical scheme: the utility model provides a five rotation axis frocks for abrasive machining multistation, includes the five rotation axis bodies of base and multistation, the top of base leans on the position of one side to install the unit head bed hedgehopping piece, and the top of unit head bed hedgehopping piece installs the unit head, the output transmission of unit head is connected with power head connector, there is linear guide on the top of base leans on the position of opposite side, and linear guide's surface sliding connection has the mounting panel, tailstock bed hedgehopping piece is installed on the top of mounting panel, and the top of tailstock bed hedgehopping piece installs the tailstock, the tailstock connector is installed through the bearing to one side of tailstock, the mount pad is all installed, four groups to the top of base leans on bed hedgehopping piece position all around the mount pad, and four groups the inside of mount pad all is provided with adjusting screw, adjusting screw's the equal movable spiro union in the outside has adjusting nut, and the outside that corresponds adjusting screw leans on the corresponding one side position equal activity that corresponds adjusting nut to be provided with the regulating block.
Preferably, eyenuts are installed on the top end of the base and close to the positions of two ends of the two sides, the number of the eyenuts is four, and the four eyenuts are arranged in a pairwise axial symmetry mode.
Preferably, the bottom of mounting panel all installs linear guide binding clasp by the position of both sides, and the corresponding one end of two sets of linear guide binding clasps respectively with linear guide's a corresponding side laminating setting mutually.
Preferably, the top surface of the base is provided with sliding grooves at positions corresponding to one side of the corresponding mounting seat, and the four groups of sliding grooves are arranged in a central symmetry manner.
Preferably, the four groups of adjusting blocks are equal in size, and the bottom ends of the four groups of adjusting blocks are provided with sliding blocks.
Preferably, the four groups of sliding blocks are equal in size, and the bottom ends of the four groups of sliding blocks respectively extend into the corresponding sliding grooves and are in sliding connection with the sliding grooves.
Compared with the prior art, the beneficial effects of the utility model are that:
through spare part settings such as unit head, power head connector, tail seat connector, tailstock bed hedgehopping piece, tailstock, linear guide binding clasp, mounting panel and linear guide, can effectually solve before the abrasive machining and need utilize the frock to carry out corresponding centre gripping with five rotation axis, nevertheless at this in-process, current frock can not convenient, swift carry out the problem that the centre gripping was fixed with it.
Through spare part settings such as regulating block, slider, adjusting nut, adjusting screw, mount pad and spout can effectually solve the course of working, can produce corresponding vibrations when the unit head drives five rotation axis rotations to make the unit head unstable inadequately, and then influence machining efficiency's problem.
Drawings
Fig. 1 is a perspective view of an assembly structure of the main body of the present invention;
fig. 2 is a schematic structural perspective view of the main body of the present invention;
fig. 3 is a schematic perspective view of the adjusting block of the present invention;
fig. 4 is a schematic perspective view of the structure of the sliding chute of the present invention.
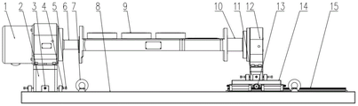
In the figure: 1. a power head; 2. a power head block; 3. a regulating block; 31. a slider; 4. adjusting the nut; 5. an adjusting screw; 6. a power head connector; 7. a suspension ring nut; 8. a base; 81. a mounting seat; 82. a chute; 9. a multi-station five-axis rotating shaft body; 10. a tail seat connector; 11. a tailstock heightening block; 12. a tailstock; 13. a linear guide rail clamp; 14. mounting a plate; 15. a linear guide rail.
Detailed Description
The technical solutions in the embodiments of the present invention will be described clearly and completely with reference to the accompanying drawings in the embodiments of the present invention, and it is obvious that the described embodiments are only some embodiments of the present invention, not all embodiments. Based on the embodiments in the present invention, all other embodiments obtained by a person skilled in the art without creative work belong to the protection scope of the present invention.
Referring to fig. 1 to 4, the present invention provides a technical solution: the utility model provides a five rotation axis frocks for abrasive machining multistation, including base 8 and five rotation axis bodies of multistation 9, the power head bed hedgehopping piece 2 is installed by the position of one side on the top of base 8, and power head 1 is installed on the top of power head bed hedgehopping piece 2, power head 1 is the motor promptly, power head 1's output transmission is connected with power head connector 6, eyenut 7 is all installed by the position at both sides both ends on the top of base 8, eyenut 7's quantity is four groups, and four eyenut 7 of group are two liang of axisymmetric settings.
There is linear guide 15 on the top of base 8 by the position of opposite side, and linear guide 15's surface sliding connection has mounting panel 14, tailstock bed hedgehopping piece 11 is installed on mounting panel 14's top, and tailstock 12 is installed on tailstock bed hedgehopping piece 11's top, linear guide binding clasp 13 is all installed on the position that mounting panel 14's bottom leaned on both sides, and the setting of laminating mutually with linear guide 15's a corresponding side respectively of the corresponding one end of two sets of linear guide binding clasps 13, tail seat connector 10 is installed through the bearing in one side of tailstock 12.
The top of base 8 all installs mount pad 81 by power head bed hedgehopping piece 2 position all around, the top surface of base 8 has all seted up spout 82 by the corresponding one side position that corresponds mount pad 81, and four group's spouts 82 are central symmetry setting, the inside of four group's mount pads 81 all is provided with adjusting screw 5, adjusting screw 5's the equal movable spiro union in outside has adjusting nut 4, and the outside that corresponds adjusting screw 5 is by the corresponding one side position that corresponds adjusting nut 4 all the activity be provided with regulating block 3, the size of four group's regulating block 3 equals, and the slider 31 is all installed to four group's regulating block 3's bottom, the size of four group's slider 31 equals, and the bottom of four group's slider 31 respectively stretches into the inside that corresponds spout 82 and rather than being sliding connection setting.
When the tool is used, a user can slide one corresponding end 24636 of the multi-station five-axis rotating shaft body 9 on one corresponding side of the power head connector 6, at the moment, the tailstock heightening block 11 can slide on one corresponding side of the outer surface of the linear guide rail 15 through the mounting plate 14, so that the tailstock 12 and the tail connector 10 can move towards the corresponding side, the corresponding side of the tail connector 10 can be attached to one corresponding end of the multi-station five-axis rotating shaft body 9, the multi-station five-axis rotating shaft body 9 can be limited and clamped under the arrangement of the power head connector 6 and the tail connector 10, meanwhile, the user can clamp the mounting plate 14 and the linear guide rail 15 through the two groups of linear guide rail clampers 13, the mounting plate 14 cannot move on the outer side of the linear guide rail 15 at will, the power head connector 6 can rotate by starting the power head connector 1, the multi-station five-axis rotating shaft connector 9 and the tail connector 10 are driven to rotate correspondingly, and the outer surface of the rotating shaft body 9 can be ground, and accordingly the problem that the multi-station five-axis rotating shaft connector 9 needs to be clamped by a tool before grinding is solved, and the multi-station rotating shaft connector can be conveniently and quickly clamped in the existing multi-axis connector is not clamped process.
When the power head 1 is operated, certain vibration can be generated, so that the power head 1 cannot be stably supported by the power head heightening block 2, a user can rotate the corresponding adjusting nut 4 corresponding to the adjusting screw 5 in the outer side of the corresponding adjusting screw 5 to one corresponding side, so that the corresponding adjusting block 3 can move to one corresponding side along with the adjusting nut, so that the corresponding side surface of the corresponding adjusting block 3 is respectively attached to the corresponding side surface of the power head heightening block 2, and then the four groups of adjusting blocks 3 can limit and fix the power head heightening block 2 from four different directions, so that the stability of the power head heightening block 2 is improved, when the corresponding adjusting block 3 moves in the corresponding direction, the corresponding sliding block 31 can respectively move to one corresponding side in the inner part of the corresponding sliding groove 82, so that the corresponding adjusting block 3 is more stable when moving, and is not easy to shake, thereby effectively solving the problem that in the process, the power head 1 can generate corresponding vibration when driving the five-axis rotation body 9, so that the power head 1 is not stable enough, and further the multi-station processing efficiency is affected.
Although embodiments of the present invention have been shown and described, it will be appreciated by those skilled in the art that changes, modifications, substitutions and alterations can be made in these embodiments without departing from the principles and spirit of the invention, the scope of which is defined in the appended claims and their equivalents.
Claims (6)
1. The utility model provides a be used for five rotation axis frocks of abrasive machining multistation, includes base (8) and five rotation axis bodies of multistation (9), its characterized in that: the utility model discloses a power head, including base (8), power head bed hedgehopping piece (2), and power head bed hedgehopping piece (2), the top of base (8) leans on the position of one side to install power head (1), the output transmission of power head (1) is connected with power head connector (6), there is linear guide (15) on the top of base (8) leans on the position of opposite side, and the surface sliding connection of linear guide (15) has mounting panel (14), tailstock bed hedgehopping piece (11) are installed on the top of mounting panel (14), and tailstock bed hedgehopping piece (11) top install tailstock (12), tailstock connector (10) are installed through the bearing in one side of tailstock (12), mount pad (81) are all installed, four groups to the top of base (8) leans on power head bed hedgehopping piece (2) position all around, and four groups the inside of mount pad (81) all is provided with adjusting screw (5), the outside of adjusting screw (5) all moves about the spiro union have adjusting nut (4), and the outside that corresponds adjusting screw (5) and lean on the corresponding one side position that corresponds that adjusts (4) and all move about is provided with adjusting block (3).
2. The tool for grinding the multi-station five-axis rotating shaft according to claim 1, wherein the tool comprises: lifting ring nuts (7) are installed on the top of the base (8) by the positions of two ends of the two sides, the number of the lifting ring nuts (7) is four, and the four lifting ring nuts (7) are arranged in a two-to-two axial symmetry mode.
3. The tool for grinding the multi-station five-axis rotating shaft according to claim 1, wherein the tool comprises: linear guide rail clamp (13) are all installed by the position of both sides to the bottom of mounting panel (14), and the setting of laminating mutually with the corresponding one side of linear guide (15) respectively to the corresponding one end of two sets of linear guide rail clamp (13).
4. The tool for grinding the multi-station five-axis rotating shaft according to claim 1, wherein the tool comprises: the top surface of base (8) is leaned on corresponding one side position that corresponds mount pad (81) and has all seted up spout (82), and four groups spout (82) are central symmetry setting.
5. The tool for grinding the multi-station five-axis rotating shaft according to claim 4, wherein the tool comprises: the four groups of adjusting blocks (3) are equal in size, and sliding blocks (31) are installed at the bottom ends of the four groups of adjusting blocks (3).
6. The tool for grinding the multi-station five-axis rotating shaft according to claim 5, wherein the tool comprises: the four groups of sliding blocks (31) are equal in size, and the bottom ends of the four groups of sliding blocks (31) respectively extend into the corresponding sliding grooves (82) and are in sliding connection with the sliding grooves.
Priority Applications (1)
| Application Number | Priority Date | Filing Date | Title |
|---|---|---|---|
| CN202222039750.2U CN217702978U (en) | 2022-08-04 | 2022-08-04 | Multi-station five-axis rotating shaft tool for grinding |
Applications Claiming Priority (1)
| Application Number | Priority Date | Filing Date | Title |
|---|---|---|---|
| CN202222039750.2U CN217702978U (en) | 2022-08-04 | 2022-08-04 | Multi-station five-axis rotating shaft tool for grinding |
Publications (1)
| Publication Number | Publication Date |
|---|---|
| CN217702978U true CN217702978U (en) | 2022-11-01 |
Family
ID=83787343
Family Applications (1)
| Application Number | Title | Priority Date | Filing Date |
|---|---|---|---|
| CN202222039750.2U Active CN217702978U (en) | 2022-08-04 | 2022-08-04 | Multi-station five-axis rotating shaft tool for grinding |
Country Status (1)
| Country | Link |
|---|---|
| CN (1) | CN217702978U (en) |
-
2022
- 2022-08-04 CN CN202222039750.2U patent/CN217702978U/en active Active
Similar Documents
| Publication | Publication Date | Title |
|---|---|---|
| CN104772687B (en) | Rotary type multi-station crystal grinding and polishing all-in-one machine | |
| CN209831271U (en) | Polishing device and polishing machine | |
| CN217647953U (en) | Positioner is used in spheroid processing | |
| CN207402629U (en) | A kind of magnet production processing unit (plant) | |
| CN219542550U (en) | Polisher of compressor accessory | |
| CN217702978U (en) | Multi-station five-axis rotating shaft tool for grinding | |
| CN213531096U (en) | Carving machine is used in mould production of changeable fixed work piece | |
| CN216939996U (en) | Numerical control small gantry coordinate grinding machine | |
| CN208358311U (en) | A kind of hard alloy end face of shaft bush milling clamper | |
| CN206123419U (en) | Automatic PRECISE GRING MACHINE bed of thread ring gage | |
| CN112123042A (en) | A packing ring hole grinding device for metalworking | |
| CN204935302U (en) | A kind of diaphragm cylindrical grinder | |
| CN115502838A (en) | High-precision cam grinding machine for machining cam shaft | |
| CN215788632U (en) | Grinding device of cylindrical grinding machine | |
| CN207807373U (en) | A kind of automation grinder structure with regulatory function | |
| CN211361633U (en) | Cylindrical grinding machine | |
| CN218575724U (en) | Computer face frame equipment of polishing | |
| CN209466042U (en) | A kind of device of inner hole grinding and the outer circle polishing of motorcycle balancing axis | |
| CN101829931B (en) | Grinding machine | |
| CN205928176U (en) | Triaxial numerical control dentistry car needle splits ditch lathe | |
| CN209223639U (en) | A kind of precise pneumatic chucks | |
| CN2728713Y (en) | External ball surface grinding device | |
| CN212330543U (en) | End face finishing device of three-axis cylindrical compound grinding machine | |
| CN210849469U (en) | Adjustable cylindrical grinding machine | |
| CN222537340U (en) | A horizontal lathe |
Legal Events
| Date | Code | Title | Description |
|---|---|---|---|
| GR01 | Patent grant | ||
| GR01 | Patent grant |