CN217684677U - Rotary lamp post - Google Patents
Rotary lamp post Download PDFInfo
- Publication number
- CN217684677U CN217684677U CN202221494735.0U CN202221494735U CN217684677U CN 217684677 U CN217684677 U CN 217684677U CN 202221494735 U CN202221494735 U CN 202221494735U CN 217684677 U CN217684677 U CN 217684677U
- Authority
- CN
- China
- Prior art keywords
- plate
- fixedly connected
- supporting
- side wall
- lamp post
- Prior art date
- Legal status (The legal status is an assumption and is not a legal conclusion. Google has not performed a legal analysis and makes no representation as to the accuracy of the status listed.)
- Active
Links
- 238000009434 installation Methods 0.000 abstract description 7
- 230000000694 effects Effects 0.000 abstract description 3
- 230000007423 decrease Effects 0.000 abstract description 2
- 238000005286 illumination Methods 0.000 description 4
- XEEYBQQBJWHFJM-UHFFFAOYSA-N Iron Chemical compound [Fe] XEEYBQQBJWHFJM-UHFFFAOYSA-N 0.000 description 2
- 230000007306 turnover Effects 0.000 description 2
- 241001465382 Physalis alkekengi Species 0.000 description 1
- 229910000831 Steel Inorganic materials 0.000 description 1
- 230000003044 adaptive effect Effects 0.000 description 1
- 230000009286 beneficial effect Effects 0.000 description 1
- 238000010276 construction Methods 0.000 description 1
- 230000007547 defect Effects 0.000 description 1
- 229910052742 iron Inorganic materials 0.000 description 1
- 230000007774 longterm Effects 0.000 description 1
- 239000000463 material Substances 0.000 description 1
- 229910001220 stainless steel Inorganic materials 0.000 description 1
- 239000010935 stainless steel Substances 0.000 description 1
- 239000010959 steel Substances 0.000 description 1
Images
Classifications
-
- Y—GENERAL TAGGING OF NEW TECHNOLOGICAL DEVELOPMENTS; GENERAL TAGGING OF CROSS-SECTIONAL TECHNOLOGIES SPANNING OVER SEVERAL SECTIONS OF THE IPC; TECHNICAL SUBJECTS COVERED BY FORMER USPC CROSS-REFERENCE ART COLLECTIONS [XRACs] AND DIGESTS
- Y02—TECHNOLOGIES OR APPLICATIONS FOR MITIGATION OR ADAPTATION AGAINST CLIMATE CHANGE
- Y02B—CLIMATE CHANGE MITIGATION TECHNOLOGIES RELATED TO BUILDINGS, e.g. HOUSING, HOUSE APPLIANCES OR RELATED END-USER APPLICATIONS
- Y02B20/00—Energy efficient lighting technologies, e.g. halogen lamps or gas discharge lamps
- Y02B20/72—Energy efficient lighting technologies, e.g. halogen lamps or gas discharge lamps in street lighting
Landscapes
- Fastening Of Light Sources Or Lamp Holders (AREA)
- Non-Portable Lighting Devices Or Systems Thereof (AREA)
Abstract
The utility model discloses a rotation type lamp pole, comprising a base plate, bottom plate top fixedly connected with backup pad, be connected with the lamp pole body through rotating assembly in the backup pad, lamp pole body top fixedly connected with mounting panel, the mounting panel is connected with a plurality of grip blocks through the subassembly that plays, rotating assembly include with backup pad lateral wall fixed connection's support pivot, support the pivot tip with lamp pole body lateral wall rotates to be connected, is located support the pivot bottom threaded connection has spacing bolt in the backup pad. The utility model discloses a set up runner assembly and bullet subassembly, when needs installation searchlight, through the lamp pole body in the rotation of support pivot, can be quick with the high decline of mounting panel, later under the cooperation of supporting spring and grip block, completion searchlight's that can be quick installation, simple structure, the installation is dismantled quick portably, and the structure is firm, excellent in use effect.
Description
Technical Field
The utility model relates to a construction technical field especially relates to a rotation type lamp pole.
Background
The street lamp refers to a lamp which provides a road with an illumination function, generally refers to a lamp in a road surface illumination range in traffic illumination, is widely applied to various places needing illumination, and is divided into the following parts according to the material of a street lamp post: hot-galvanize iron street lamp, hot-galvanize steel street lamp and stainless steel street lamp need use lamps and lanterns in a large number to throw light on in the during operation at night on the building site.
However, the existing lamp post is large in size and inconvenient to turnover, and when the headlamp is disassembled, the lamp post needs to be climbed for operation, so that the lamp post is extremely inconvenient, a part of the lamp post can be folded, the structure of the lamp post is complex, and the lamp post is not in line with the requirement of long-term turnover use in a building site.
SUMMERY OF THE UTILITY MODEL
The utility model aims at solving the defects in the prior art and providing a rotary lamp post.
In order to realize the purpose, the utility model adopts the following technical scheme:
the utility model provides a rotation type lamp pole, includes the bottom plate, bottom plate top fixedly connected with backup pad, be connected with the lamp pole body through rotating assembly in the backup pad, lamp pole body top fixedly connected with mounting panel, the mounting panel is connected with a plurality of grip blocks through the subassembly that bounces.
Preferably, the rotating assembly comprises a supporting rotating shaft fixedly connected with the side wall of the supporting plate, the end part of the supporting rotating shaft is rotatably connected with the side wall of the lamp post body, a limiting bolt is connected to the bottom of the supporting rotating shaft through threads in the supporting plate, a threaded hole matched with the limiting bolt is formed in the side wall of the lamp post body, and the limiting bolt is connected to the threaded hole through threads.
Preferably, two fixedly connected with limiting plate on the backup pad lateral wall, limiting plate bottom with bottom plate top fixed connection, fixedly connected with triangle fixed plate on another lateral wall of backup pad.
Preferably, the elastic component comprises a supporting chute arranged on the side wall of the mounting plate, elastic grooves are formed in two sides of the inner wall of the supporting chute, a supporting spring is fixedly connected to the inner wall of the elastic groove, a connecting plate is fixedly connected to the end of the supporting spring, a connecting slide rod is fixedly connected to the top of the connecting plate, a connecting rod is fixedly connected to the side wall of the connecting plate, and the connecting rod is fixedly connected to the side wall of the clamping plate.
Preferably, the connection plate is located in the elastic groove and is in sliding connection with the inner wall of the elastic groove, the clamping plate is located in the support sliding groove and is in sliding connection with the inner wall of the support sliding groove, a connection sliding groove matched with the connection sliding rod is formed in the top of the mounting plate, and the connection sliding rod is located in the connection sliding groove and is in sliding connection with the inner wall of the connection sliding rod.
Preferably, a plurality of mounting bolts for mounting on the ground are connected to the bottom plate in a threaded manner.
Compared with the prior art, the beneficial effects of the utility model are that:
through setting up runner assembly and bullet subassembly, when needs installation searchlight, through the lamp pole body in the epaxial rotation of support pivot, can be quick with the high decline of mounting panel, later under the cooperation of supporting spring and grip block, the installation of completion searchlight that can be quick, simple structure, the installation is dismantled quick portably, and the structure is firm, excellent in use effect.
Drawings
Fig. 1 is a cross-sectional view of a rotary lamp post according to the present invention;
fig. 2 is a top view of a rotary lamp post according to the present invention;
fig. 3 is a perspective view of the middle bottom plate of the rotary lamp post of the present invention.
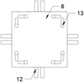
In the figure: the lamp post comprises a base plate 1, mounting bolts 2, supporting plates 3, limiting plates 4, a supporting rotating shaft 5, a lamp post body 6, limiting bolts 7, a mounting plate 8, supporting springs 9, connecting plates 10, connecting rods 11, clamping plates 12, connecting slide rods 13 and triangular fixing plates 14.
Detailed Description
The technical solution in the embodiments of the present invention will be clearly and completely described below with reference to the drawings in the embodiments of the present invention, and it is obvious that the described embodiments are only some embodiments of the present invention, rather than all embodiments, and all other embodiments obtained by a person skilled in the art without creative work belong to the scope of protection of the present invention based on the embodiments of the present invention.
Referring to fig. 1-3, a rotary lamp post comprises a base plate 1, a supporting plate 3 is fixedly connected to the top of the base plate 1, a lamp post body 6 is connected to the supporting plate 3 through a rotating assembly, further, the rotating assembly comprises a supporting rotating shaft 5 fixedly connected to the side wall of the supporting plate 3, the end of the supporting rotating shaft 5 is rotatably connected to the side wall of the lamp post body 6, a limiting bolt 7 is in threaded connection with the supporting plate 3 at the bottom of the supporting rotating shaft 5, a threaded hole adaptive to the limiting bolt 7 is formed in the side wall of the lamp post body 6, the limiting bolt 7 is in threaded connection with the threaded hole, and through the arrangement of the rotating assembly, the stable rotation of the lamp post body 6 can be guaranteed under the action of the supporting rotating shaft 5, and meanwhile, when the lamp post body 6 is vertically used, the limiting of the lamp post body 6 can be quickly achieved through the limiting bolt 7, and the stability of the lamp post body in use is guaranteed;
furthermore, the side walls of the two supporting plates 3 are fixedly connected with limiting plates 4, the bottoms of the limiting plates 4 are fixedly connected with the top of the bottom plate 1, the other side wall of each supporting plate 3 is fixedly connected with a triangular fixing plate 14, the limiting plates 4 are arranged to limit the rotation angle of the lamp post body 6, the problem that a searchlight at the top of the lamp post body 6 is broken down and damaged after the limiting of the limiting bolts 7 is lost is avoided, and meanwhile, the triangular fixing plates 14 are arranged to ensure the stability of the supporting plates 3;
furthermore, a plurality of mounting bolts 2 for mounting on the ground are connected to the bottom plate 1 in a threaded manner, and the mounting and dismounting are more convenient and faster by arranging the mounting bolts 2;
the top of the lamp post body 6 is fixedly connected with a mounting plate 8, the mounting plate 8 is connected with a plurality of clamping plates 12 through a spring assembly, further, the spring assembly comprises a supporting chute arranged on the side wall of the mounting plate 8, spring grooves are formed in two sides of the inner wall of the supporting chute, a supporting spring 9 is fixedly connected to the inner wall of the spring groove, a connecting plate 10 is fixedly connected to the end portion of the supporting spring 9, a connecting slide rod 13 is fixedly connected to the top of the connecting plate 10, a connecting rod 11 is fixedly connected to the side wall of the connecting plate 10, the connecting rod 11 is fixedly connected with the side wall of the clamping plate 12, through the arrangement of the spring assembly, under the action of the supporting spring 9, the connecting plate 10 can drive the clamping plates 12 through the connecting rod 11 to clamp the searchlight, so that the searchlight is fixed in the supporting chute, the stability of the searchlight is guaranteed, meanwhile, when the searchlight is disassembled, the clamping plates 12 can be driven to slide in the supporting chute through pulling of the connecting slide rod 13, the fixing of the searchlight is released, and the searchlight is more convenient and rapid;
furthermore, the connecting plate 10 is positioned in the elastic groove and is in sliding connection with the inner wall of the elastic groove, the clamping plate 12 is positioned in the supporting sliding groove and is in sliding connection with the inner wall of the supporting sliding groove, the top of the mounting plate 8 is provided with a connecting sliding groove matched with the connecting sliding rod 13, and the connecting sliding rod 13 is positioned in the connecting sliding groove and is in sliding connection with the inner wall of the connecting sliding groove.
The utility model discloses when using, at first fix bottom plate 1 subaerial through mounting bolt 2, later place the tip of searchlight in supporting the spout, thereby under supporting spring 9's effect, linkage plate 10 can drive grip block 12 through linking pole 11 and carry out the centre gripping to the searchlight, thereby realize fixing the searchlight in supporting the spout, guarantee its stability, later rotate the lamp pole body 6, make it rotate around supporting shaft 5, after the lamp pole body 6 is in vertical state, rotate limit bolt 7 and fix the lamp pole body 6, alright completion installation and use.
The above, only be the embodiment of the preferred of the present invention, but the protection scope of the present invention is not limited thereto, and any person skilled in the art is in the technical scope of the present invention, according to the technical solution of the present invention and the utility model, which are designed to be replaced or changed equally, all should be covered within the protection scope of the present invention.
Claims (6)
1. The utility model provides a rotation type lamp pole, includes bottom plate (1), its characterized in that, bottom plate (1) top fixedly connected with backup pad (3), be connected with the lamp pole body of rod (6) through the runner assembly in backup pad (3), the lamp pole body of rod (6) top fixedly connected with mounting panel (8), mounting panel (8) are connected with a plurality of grip blocks (12) through the subassembly that moves of bullet.
2. A rotary lamp post according to claim 1, wherein the rotating assembly comprises a supporting rotating shaft (5) fixedly connected with the side wall of the supporting plate (3), the end of the supporting rotating shaft (5) is rotatably connected with the side wall of the lamp post body (6), a limit bolt (7) is connected to the supporting plate (3) at the bottom of the supporting rotating shaft (5) in a threaded manner, a threaded hole matched with the limit bolt (7) is formed in the side wall of the lamp post body (6), and the limit bolt (7) is connected to the threaded hole in a threaded manner.
3. A rotary lamp post according to claim 1, wherein two side walls of the supporting plate (3) are fixedly connected with a limiting plate (4), the bottom of the limiting plate (4) is fixedly connected with the top of the bottom plate (1), and the other side wall of the supporting plate (3) is fixedly connected with a triangular fixing plate (14).
4. A rotary lamp post according to claim 1, wherein the elastic component comprises a supporting chute opened on the side wall of the mounting plate (8), elastic grooves are opened on two sides of the inner wall of the supporting chute, a supporting spring (9) is fixedly connected to the inner wall of the elastic groove, an engaging plate (10) is fixedly connected to the end of the supporting spring (9), a connecting slide rod (13) is fixedly connected to the top of the engaging plate (10), an engaging rod (11) is fixedly connected to the side wall of the engaging plate (10), and the engaging rod (11) is fixedly connected to the side wall of the clamping plate (12).
5. A revolving light pole according to claim 4, characterized in that the connector plate (10) is located in the springing groove and is slidably connected to the inner wall thereof, the holding plate (12) is located in the supporting groove and is slidably connected to the inner wall thereof, the top of the mounting plate (8) is provided with a connecting groove adapted to the connecting rod (13), and the connecting rod (13) is located in the connecting groove and is slidably connected to the inner wall thereof.
6. A rotary light pole according to claim 1, characterised in that a plurality of mounting bolts (2) for mounting to the ground are threadedly connected to the base plate (1).
Priority Applications (1)
| Application Number | Priority Date | Filing Date | Title |
|---|---|---|---|
| CN202221494735.0U CN217684677U (en) | 2022-06-15 | 2022-06-15 | Rotary lamp post |
Applications Claiming Priority (1)
| Application Number | Priority Date | Filing Date | Title |
|---|---|---|---|
| CN202221494735.0U CN217684677U (en) | 2022-06-15 | 2022-06-15 | Rotary lamp post |
Publications (1)
| Publication Number | Publication Date |
|---|---|
| CN217684677U true CN217684677U (en) | 2022-10-28 |
Family
ID=83709375
Family Applications (1)
| Application Number | Title | Priority Date | Filing Date |
|---|---|---|---|
| CN202221494735.0U Active CN217684677U (en) | 2022-06-15 | 2022-06-15 | Rotary lamp post |
Country Status (1)
| Country | Link |
|---|---|
| CN (1) | CN217684677U (en) |
-
2022
- 2022-06-15 CN CN202221494735.0U patent/CN217684677U/en active Active
Similar Documents
| Publication | Publication Date | Title |
|---|---|---|
| CN109578911A (en) | A new type of solar street light | |
| CN217684677U (en) | Rotary lamp post | |
| CN216768746U (en) | Support connection structure of water pipe among drainage engineering | |
| CN210035330U (en) | LED street lamp suitable for multiple mounting means | |
| CN209744218U (en) | Street lamp convenient to change bulb | |
| CN211853653U (en) | LED lamp with waterproof function | |
| CN210891333U (en) | Street lamp with adjustable lamp holder | |
| CN217273867U (en) | City and road lighting engineering are with assembling street lamp | |
| CN208041953U (en) | A kind of lift solar energy gardening light | |
| CN215341712U (en) | Sign for landscape | |
| CN211600524U (en) | Landscape street lamp convenient to inside cleanness of lamp shade | |
| CN117663060A (en) | Environment-friendly energy-saving road lamp post with adjustable illumination angle | |
| CN117267675A (en) | Quick installation dismounting device on garden lamp | |
| CN209926182U (en) | Street lamp pole that stability is strong | |
| CN222688087U (en) | Tunnel construction light with adjustable | |
| CN208905189U (en) | A kind of outdoor sound equipment easy to remove | |
| CN216408808U (en) | An easy-to-install lighting device for water conservancy projects | |
| CN212005299U (en) | A timer switch LED garden light | |
| CN212252222U (en) | Night lighting device for building engineering | |
| CN217464334U (en) | Street lamp pole that tilting set up | |
| CN222186820U (en) | Lighting equipment for building engineering | |
| CN214369859U (en) | Solar street lamp convenient to installation | |
| CN212452360U (en) | Water conservancy construction safety device | |
| CN220321105U (en) | Detachable solar street lamp support | |
| CN222798731U (en) | A municipal garden street lamp |
Legal Events
| Date | Code | Title | Description |
|---|---|---|---|
| GR01 | Patent grant | ||
| GR01 | Patent grant |