CN217666742U - 一种铝板加工用分切机构 - Google Patents

一种铝板加工用分切机构 Download PDF

Info

Publication number
CN217666742U
CN217666742U CN202221990002.6U CN202221990002U CN217666742U CN 217666742 U CN217666742 U CN 217666742U CN 202221990002 U CN202221990002 U CN 202221990002U CN 217666742 U CN217666742 U CN 217666742U
Authority
CN
China
Prior art keywords
plate
fixed
clamping
frame
threaded
Prior art date
Legal status (The legal status is an assumption and is not a legal conclusion. Google has not performed a legal analysis and makes no representation as to the accuracy of the status listed.)
Expired - Fee Related
Application number
CN202221990002.6U
Other languages
English (en)
Inventor
张�荣
陈家川
孙发素
Current Assignee (The listed assignees may be inaccurate. Google has not performed a legal analysis and makes no representation or warranty as to the accuracy of the list.)
Yantai Yingliheng Packaging Technology Co ltd
Original Assignee
Yantai Yingliheng Packaging Technology Co ltd
Priority date (The priority date is an assumption and is not a legal conclusion. Google has not performed a legal analysis and makes no representation as to the accuracy of the date listed.)
Filing date
Publication date
Application filed by Yantai Yingliheng Packaging Technology Co ltd filed Critical Yantai Yingliheng Packaging Technology Co ltd
Priority to CN202221990002.6U priority Critical patent/CN217666742U/zh
Application granted granted Critical
Publication of CN217666742U publication Critical patent/CN217666742U/zh
Expired - Fee Related legal-status Critical Current
Anticipated expiration legal-status Critical

Links

Images

Landscapes

  • Finish Polishing, Edge Sharpening, And Grinding By Specific Grinding Devices (AREA)

Abstract

本实用新型公开了一种铝板加工用分切机构,包括底板,所述底板的顶部滑动连接有移动板,所述移动板顶部的左右两侧均固定安装有轴承座,所述轴承座的内腔活动连接有铝卷辊,所述移动板顶部的前侧固定安装有卡接组件。本实用新型通过卡接槽、卡杆、第一弹簧、滑块、铝卷辊、第一电机、切刀、紧固螺栓、固定套、转辊、限位杆、第二弹簧、固定板、打磨砂石、夹持板和螺纹杆的配合使用,具备方便清理和对分切间距调节的优点,解决了现有的铝板加工用分切装置在分切过程中,通常由人工手动对切刀进行清理,操作步骤较为繁琐,且可能会出现误伤的情况,同时,不方便精确对分切间距进行调节,加工不同尺寸铝板较为不便的问题。

Description

一种铝板加工用分切机构
技术领域
本实用新型涉及铝板加工技术领域,具体为一种铝板加工用分切机构。
背景技术
铝板因其优良的特性,广泛用于食品、饮料、香烟、药品、照相底板、家庭日用品等,通常用作其包装材料,由于铝板的应用范围广泛,所以铝板的加工也较为多样化,而且在对铝板进行各种加工之前,由于其铝板尺寸的需求,通常使用分切机对铝板进行分切。
现有的铝板加工用分切装置在分切过程中,通常由人工手动对切刀进行清理,操作步骤较为繁琐,且可能会出现误伤的情况,同时,不方便精确对分切间距进行调节,加工不同尺寸铝板较为不便。
实用新型内容
本实用新型的目的在于提供一种铝板加工用分切机构,具备方便清理和对分切间距调节的优点,解决了现有的铝板加工用分切装置在分切过程中,通常由人工手动对切刀进行清理,操作步骤较为繁琐,且可能会出现误伤的情况,同时,不方便精确对分切间距进行调节,加工不同尺寸铝板较为不便的问题。
为实现上述目的,本实用新型提供如下技术方案:一种铝板加工用分切机构,包括底板,所述底板的顶部滑动连接有移动板,所述移动板顶部的左右两侧均固定安装有轴承座,所述轴承座的内腔活动连接有铝卷辊,所述移动板顶部的前侧固定安装有卡接组件,所述底板顶部的左右两侧之间固定焊接有顶架,所述顶架顶部的中心处固定安装有驱动组件,所述驱动组件包括第二电机,所述第二电机固定焊接于顶架的顶部,所述第二电机输出轴的表面固定套设有主动锥齿轮,所述顶架顶部的中心处通过轴承活动贯穿有螺纹柱,所述螺纹柱表面的顶部固定套设有与主动锥齿轮配合使用的从动锥齿轮,所述螺纹柱的底部贯穿至顶架的底部并螺纹套设有螺纹筒,所述螺纹筒的底部固定焊接有固定架,所述固定架的底部固定安装有清理组件,所述固定架的底部且位于清理组件的下方固定安装有分切组件。
优选的,所述底板顶部的左右两侧均开设有滑槽,所述移动板底部的左右两侧均固定焊接有滑块,所述滑块的底部延伸至滑槽的内腔并与其内壁滑动接触,所述滑块与滑槽均为“T”型结构。
优选的,所述卡接组件包括卡接槽,所述卡接槽的数量为两个,且分别开设于底板顶部的中端和前侧,所述移动板顶部的前侧活动贯穿有卡杆,所述卡杆的底部贯穿移动板并延伸至卡接槽的内腔,所述卡杆的表面固定套设有第一弹簧,所述第一弹簧的顶部焊接于移动板的底部。
优选的,所述固定架顶部的左右两侧均活动贯穿有滑动杆,所述滑动杆的顶部贯穿固定架并与其连接处滑动接触。
优选的,所述清理组件包括限位杆,所述限位杆滑动贯穿于固定架的顶部,所述限位杆表面的顶部套设有第二弹簧,所述第二弹簧的顶部固定连接于限位杆的顶部,所述第二弹簧的底部固定焊接于固定架的顶部,所述限位杆的底部固定焊接有固定板,所述固定板的底部设置有打磨砂石,所述固定板顶部的左右两侧均螺纹连接有螺纹杆,所述螺纹杆的底部贯穿至固定板的底部并通过轴承活动连接有夹持板,所述夹持板的顶部与打磨砂石的顶部接触,所述夹持板的顶部固定焊接有竖杆,竖杆的顶部贯穿固定板并与其滑动连接。
优选的,所述分切组件包括第一电机,所述第一电机固定安装于固定架右侧的底部,所述第一电机的输出轴贯穿固定架的右侧并固定焊接有转辊,所述转辊的表面活动套设有固定套,所述固定套的外表面固定焊接有切刀,所述固定套的表面螺纹连接有紧固螺栓,所述紧固螺栓的表面贯穿固定套并与转辊的表面紧密接触,所述转辊的表面设置有刻度线。
与现有技术相比,本实用新型的有益效果如下:
本实用新型通过卡接槽、卡杆、第一弹簧、滑块、铝卷辊、第一电机、切刀、紧固螺栓、固定套、转辊、限位杆、第二弹簧、固定板、打磨砂石、夹持板和螺纹杆的配合使用,具备方便清理和对分切间距调节的优点,解决了现有的铝板加工用分切装置在分切过程中,通常由人工手动对切刀进行清理,操作步骤较为繁琐,且可能会出现误伤的情况,同时,不方便精确对分切间距进行调节,加工不同尺寸铝板较为不便的问题。
附图说明
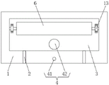
图1为本实用新型结构示意图;
图2为本实用新型移动板俯视结构示意图;
图3为本实用新型分切组件和清理组件结构示意图;
图4为本实用新型图3中A的放大示意图。
图中:1底板、2滑槽、3移动板、4卡接组件、41卡接槽、42卡杆、43第一弹簧、5滑块、6铝卷辊、7分切组件、71第一电机、72切刀、73紧固螺栓、74固定套、75转辊、8清理组件、81限位杆、82第二弹簧、83固定板、84打磨砂石、85夹持板、86螺纹杆、9驱动组件、91螺纹筒、92从动锥齿轮、93主动锥齿轮、94螺纹柱、95第二电机、10顶架、11滑动杆、12固定架、13轴承座。
具体实施方式
请参阅图1-图4,一种铝板加工用分切机构,包括底板1,底板1的顶部滑动连接有移动板3,移动板3顶部的左右两侧均固定安装有轴承座13,轴承座13的内腔活动连接有铝卷辊6,移动板3顶部的前侧固定安装有卡接组件4,底板1顶部的左右两侧之间固定焊接有顶架10,顶架10顶部的中心处固定安装有驱动组件9,驱动组件9包括第二电机95,第二电机95固定焊接于顶架10的顶部,第二电机95输出轴的表面固定套设有主动锥齿轮93,顶架10顶部的中心处通过轴承活动贯穿有螺纹柱94,螺纹柱94表面的顶部固定套设有与主动锥齿轮93配合使用的从动锥齿轮92,螺纹柱94的底部贯穿至顶架10的底部并螺纹套设有螺纹筒91,螺纹筒91的底部固定焊接有固定架12,固定架12的底部固定安装有清理组件8,固定架12的底部且位于清理组件8的下方固定安装有分切组件7;
底板1顶部的左右两侧均开设有滑槽2,移动板3底部的左右两侧均固定焊接有滑块5,滑块5的底部延伸至滑槽2的内腔并与其内壁滑动接触,滑块5与滑槽2均为“T”型结构,通过滑块5和滑槽2的使用,能够方便移动板3在底板1的顶部滑动;
卡接组件4包括卡接槽41,卡接槽41的数量为两个,且分别开设于底板1顶部的中端和前侧,移动板3顶部的前侧活动贯穿有卡杆42,卡杆42的底部贯穿移动板3并延伸至卡接槽41的内腔,卡杆42的表面固定套设有第一弹簧43,第一弹簧43的顶部焊接于移动板3的底部,通过卡接槽41、卡杆42和第一弹簧43的使用,能够在移动板3移动至指定位置后对其进行固定,避免其发生晃动而影响对铝板的分切;
固定架12顶部的左右两侧均活动贯穿有滑动杆11,滑动杆11的顶部贯穿固定架12并与其连接处滑动接触,通过滑动杆11的使用,能够对固定架12的移动进行限位,避免其移动的过程中随螺纹筒91转动;
清理组件8包括限位杆81,限位杆81滑动贯穿于固定架12的顶部,限位杆81表面的顶部套设有第二弹簧82,通过第二弹簧82的使用,能够对固定板83所受压力进行缓冲,避免切刀72对打磨砂石84造成损坏,第二弹簧82的顶部固定连接于限位杆81的顶部,第二弹簧82的底部固定焊接于固定架12的顶部,限位杆81的底部固定焊接有固定板83,固定板83的底部设置有打磨砂石84,固定板83顶部的左右两侧均螺纹连接有螺纹杆86,螺纹杆86的底部贯穿至固定板83的底部并通过轴承活动连接有夹持板85,夹持板85的顶部与打磨砂石84的顶部接触,夹持板85的顶部固定焊接有竖杆,竖杆的顶部贯穿固定板83并与其滑动连接,通过夹持板85和螺纹杆86的使用,能够将打磨砂石84固定在固定板83的底部,通过竖杆的使用,能够对夹持板85的移动进行限位,避免其发生转动;
分切组件7包括第一电机71,第一电机71固定安装于固定架12右侧的底部,第一电机71的输出轴贯穿固定架12的右侧并固定焊接有转辊75,转辊75的表面活动套设有固定套74,固定套74的外表面固定焊接有切刀72,固定套74的表面螺纹连接有紧固螺栓73,紧固螺栓73的表面贯穿固定套74并与转辊75的表面紧密接触,转辊75的表面设置有刻度线,通过刻度线的使用,能够方便使用者清晰观察固定套74的调节距离。
使用时,将铝卷辊6放置于轴承座13内部进行安装,然后向上拉动卡杆42,使其伸出卡接槽41,此时第一弹簧43压缩,向后推动移动板3,使铝卷辊6恰好位于切刀72的正下方,然后启动第一电机71,通过其输出轴带动转辊75转动,从而带动其表面的规定套74和切刀72转动,然后启动第二电机95,通过其输出轴带动主动锥齿轮93转动,并通过其与从动锥齿轮92啮合而带动螺纹柱94转动,进而使其表面的螺纹筒91下降,使固定架12下降,直至其切刀72与铝卷辊6的表面接触时,第二电机95缓慢下降,从而对铝卷进行分切,且通过切刀72与铝卷之间的摩擦力,自动带动铝卷辊6转动,从而达到切割效果,当需要对分切间距调节时,停止设备工作,然后旋松紧固螺栓73,根据刻度线移动固定套74至所需调节位置,然后重新旋紧紧固螺栓73,达到调节效果。
综上所述:该铝板加工用分切机构,通过卡接槽41、卡杆42、第一弹簧43、滑块5、铝卷辊6、第一电机71、切刀72、紧固螺栓73、固定套74、转辊75、限位杆81、第二弹簧82、固定板83、打磨砂石84、夹持板85和螺纹杆86的配合使用,解决了现有的铝板加工用分切装置在分切过程中,通常由人工手动对切刀进行清理,操作步骤较为繁琐,且可能会出现误伤的情况,同时,不方便精确对分切间距进行调节,加工不同尺寸铝板较为不便的问题。

Claims (6)

1.一种铝板加工用分切机构,包括底板(1),其特征在于:所述底板(1)的顶部滑动连接有移动板(3),所述移动板(3)顶部的左右两侧均固定安装有轴承座(13),所述轴承座(13)的内腔活动连接有铝卷辊(6),所述移动板(3)顶部的前侧固定安装有卡接组件(4),所述底板(1)顶部的左右两侧之间固定焊接有顶架(10),所述顶架(10)顶部的中心处固定安装有驱动组件(9),所述驱动组件(9)包括第二电机(95),所述第二电机(95)固定焊接于顶架(10)的顶部,所述第二电机(95)输出轴的表面固定套设有主动锥齿轮(93),所述顶架(10)顶部的中心处通过轴承活动贯穿有螺纹柱(94),所述螺纹柱(94)表面的顶部固定套设有与主动锥齿轮(93)配合使用的从动锥齿轮(92),所述螺纹柱(94)的底部贯穿至顶架(10)的底部并螺纹套设有螺纹筒(91),所述螺纹筒(91)的底部固定焊接有固定架(12),所述固定架(12)的底部固定安装有清理组件(8),所述固定架(12)的底部且位于清理组件(8)的下方固定安装有分切组件(7)。
2.根据权利要求1所述的一种铝板加工用分切机构,其特征在于:所述底板(1)顶部的左右两侧均开设有滑槽(2),所述移动板(3)底部的左右两侧均固定焊接有滑块(5),所述滑块(5)的底部延伸至滑槽(2)的内腔并与其内壁滑动接触,所述滑块(5)与滑槽(2)均为“T”型结构。
3.根据权利要求1所述的一种铝板加工用分切机构,其特征在于:所述卡接组件(4)包括卡接槽(41),所述卡接槽(41)的数量为两个,且分别开设于底板(1)顶部的中端和前侧,所述移动板(3)顶部的前侧活动贯穿有卡杆(42),所述卡杆(42)的底部贯穿移动板(3)并延伸至卡接槽(41)的内腔,所述卡杆(42)的表面固定套设有第一弹簧(43),所述第一弹簧(43)的顶部焊接于移动板(3)的底部。
4.根据权利要求1所述的一种铝板加工用分切机构,其特征在于:所述固定架(12)顶部的左右两侧均活动贯穿有滑动杆(11),所述滑动杆(11)的顶部贯穿固定架(12)并与其连接处滑动接触。
5.根据权利要求1所述的一种铝板加工用分切机构,其特征在于:所述清理组件(8)包括限位杆(81),所述限位杆(81)滑动贯穿于固定架(12)的顶部,所述限位杆(81)表面的顶部套设有第二弹簧(82),所述第二弹簧(82)的顶部固定连接于限位杆(81)的顶部,所述第二弹簧(82)的底部固定焊接于固定架(12)的顶部,所述限位杆(81)的底部固定焊接有固定板(83),所述固定板(83)的底部设置有打磨砂石(84),所述固定板(83)顶部的左右两侧均螺纹连接有螺纹杆(86),所述螺纹杆(86)的底部贯穿至固定板(83)的底部并通过轴承活动连接有夹持板(85),所述夹持板(85)的顶部与打磨砂石(84)的顶部接触,所述夹持板(85)的顶部固定焊接有竖杆,竖杆的顶部贯穿固定板(83)并与其滑动连接。
6.根据权利要求1所述的一种铝板加工用分切机构,其特征在于:所述分切组件(7)包括第一电机(71),所述第一电机(71)固定安装于固定架(12)右侧的底部,所述第一电机(71)的输出轴贯穿固定架(12)的右侧并固定焊接有转辊(75),所述转辊(75)的表面活动套设有固定套(74),所述固定套(74)的外表面固定焊接有切刀(72),所述固定套(74)的表面螺纹连接有紧固螺栓(73),所述紧固螺栓(73)的表面贯穿固定套(74)并与转辊(75)的表面紧密接触,所述转辊(75)的表面设置有刻度线。
CN202221990002.6U 2022-07-30 2022-07-30 一种铝板加工用分切机构 Expired - Fee Related CN217666742U (zh)

Priority Applications (1)

Application Number Priority Date Filing Date Title
CN202221990002.6U CN217666742U (zh) 2022-07-30 2022-07-30 一种铝板加工用分切机构

Applications Claiming Priority (1)

Application Number Priority Date Filing Date Title
CN202221990002.6U CN217666742U (zh) 2022-07-30 2022-07-30 一种铝板加工用分切机构

Publications (1)

Publication Number Publication Date
CN217666742U true CN217666742U (zh) 2022-10-28

Family

ID=83719097

Family Applications (1)

Application Number Title Priority Date Filing Date
CN202221990002.6U Expired - Fee Related CN217666742U (zh) 2022-07-30 2022-07-30 一种铝板加工用分切机构

Country Status (1)

Country Link
CN (1) CN217666742U (zh)

Similar Documents

Publication Publication Date Title
CN112092099B (zh) 一种建材用木材自动切片装置
CN110394857B (zh) 一种方木加工装置
CN219855037U (zh) 一种物料切割装置
CN219053550U (zh) 高强韧合金板材用的切割装置
CN217666742U (zh) 一种铝板加工用分切机构
CN111185636A (zh) 一种具有校准组件的刀具切割平台
CN218224908U (zh) 一种用于金属板加工的锯切割装置
CN218748266U (zh) 一种木材加工用台锯
CN218964676U (zh) 一种刹车片生产用切片机
CN222095324U (zh) 一种机电设备生产切割装置
CN219485792U (zh) 一种便于调整的薄膜切割装置
CN222492630U (zh) 一种布料激光裁剪装置
CN222176146U (zh) 一种门窗框架加工的铝合金板切割机
CN223441878U (zh) 一种板材表面毛刺处理装置
CN221415154U (zh) 一种方便取料的截断机
CN219633886U (zh) 一种便于调节切条宽度的废旧轮胎切条装置
CN217572205U (zh) 一种方管裁切装置
CN218658166U (zh) 一种具有防护结构的磨边装置
CN216990245U (zh) 一种切割线设备用定位机构
CN221967594U (zh) 一种毛边清理设备
CN223028629U (zh) 一种滚齿机刀架角度调整机构
CN217913929U (zh) 一种结构独立便于切换的剪板折弯设备
CN220547692U (zh) 一种槽钢加工专用切割机
CN221697090U (zh) 一种用于保护膜裁剪的切刀装置
CN219325294U (zh) 一种刀片分料上料台

Legal Events

Date Code Title Description
GR01 Patent grant
GR01 Patent grant
CF01 Termination of patent right due to non-payment of annual fee
CF01 Termination of patent right due to non-payment of annual fee

Granted publication date: 20221028