CN217655961U - Liquid cooling structure of charging stack - Google Patents
Liquid cooling structure of charging stack Download PDFInfo
- Publication number
- CN217655961U CN217655961U CN202222493216.9U CN202222493216U CN217655961U CN 217655961 U CN217655961 U CN 217655961U CN 202222493216 U CN202222493216 U CN 202222493216U CN 217655961 U CN217655961 U CN 217655961U
- Authority
- CN
- China
- Prior art keywords
- heat dissipation
- pipe
- liquid
- cooling structure
- liquid cooling
- Prior art date
- Legal status (The legal status is an assumption and is not a legal conclusion. Google has not performed a legal analysis and makes no representation as to the accuracy of the status listed.)
- Active
Links
- 239000007788 liquid Substances 0.000 title claims abstract description 45
- 238000001816 cooling Methods 0.000 title claims abstract description 23
- 230000017525 heat dissipation Effects 0.000 claims abstract description 44
- XLYOFNOQVPJJNP-UHFFFAOYSA-N water Substances O XLYOFNOQVPJJNP-UHFFFAOYSA-N 0.000 claims abstract description 24
- 230000001105 regulatory effect Effects 0.000 claims abstract description 11
- 239000000110 cooling liquid Substances 0.000 claims description 5
- 238000001704 evaporation Methods 0.000 claims description 5
- 238000005192 partition Methods 0.000 claims description 5
- 230000008020 evaporation Effects 0.000 claims description 3
- 230000000694 effects Effects 0.000 abstract description 13
- 239000002826 coolant Substances 0.000 abstract description 7
- 230000001681 protective effect Effects 0.000 description 2
- 230000009286 beneficial effect Effects 0.000 description 1
- 230000005540 biological transmission Effects 0.000 description 1
- 235000014666 liquid concentrate Nutrition 0.000 description 1
- 239000011159 matrix material Substances 0.000 description 1
- 238000000034 method Methods 0.000 description 1
- 238000012986 modification Methods 0.000 description 1
- 230000004048 modification Effects 0.000 description 1
- 238000006467 substitution reaction Methods 0.000 description 1
Images
Classifications
-
- Y—GENERAL TAGGING OF NEW TECHNOLOGICAL DEVELOPMENTS; GENERAL TAGGING OF CROSS-SECTIONAL TECHNOLOGIES SPANNING OVER SEVERAL SECTIONS OF THE IPC; TECHNICAL SUBJECTS COVERED BY FORMER USPC CROSS-REFERENCE ART COLLECTIONS [XRACs] AND DIGESTS
- Y02—TECHNOLOGIES OR APPLICATIONS FOR MITIGATION OR ADAPTATION AGAINST CLIMATE CHANGE
- Y02T—CLIMATE CHANGE MITIGATION TECHNOLOGIES RELATED TO TRANSPORTATION
- Y02T10/00—Road transport of goods or passengers
- Y02T10/60—Other road transportation technologies with climate change mitigation effect
- Y02T10/70—Energy storage systems for electromobility, e.g. batteries
Landscapes
- Secondary Cells (AREA)
Abstract
The utility model relates to a charge pile liquid cooling structure technical field, concretely relates to charge pile liquid cooling structure, including control box and battery, still include the heat dissipation frame, the both sides of wiring mouth are all installed the protection shield, communicate between protection shield and the heat dissipation frame and have seted up the cavity, two protection shields are close to and are equipped with the elasticity conducting strip on the inner wall of one side; the flow control assembly comprises an adjusting plate rotatably installed in the first connecting pipe, and the rotating control plate drives the adjusting plate to control the water inlet sectional area of the first connecting pipe. This scheme has set up the cavity in the frame dispels the heat, utilizes the coolant liquid to carry out the liquid cooling to the battery, has set up two protection shields in the wire connection department of frame dispels the heat simultaneously, utilizes the protection shield to cool off the external connection junction of power, has further provided refrigerated effect, promotes the control panel when the temperature is higher and drives the regulating plate rotation, enlarges the sectional area of intaking to this comes nimble control refrigerated efficiency, practices thrift the cost.
Description
Technical Field
The utility model relates to a pile liquid cooling structure technical field charges, concretely relates to pile liquid cooling structure charges.
Background
The charging stack integrates the batteries, receives a charging demand value sent by the electric automobile through the platform, calculates the number of required charging modules, informs the matrix controller to distribute power, and dynamically adjusts the actual output voltage according to the demand of the electric automobile.
Be equipped with a plurality of batteries in the pile that charges for the circuit that is connected with the battery is also many, and every battery tip in the pile that charges of current all disposes the fan, utilizes the fan to dispel the heat to the battery, and its radiating effect is relatively poor, and the back wiring end of battery generates heat seriously, is in the state of generating heat for a long time and can damage the connector lug, influences the normal use of battery, more can arouse the incident.
SUMMERY OF THE UTILITY MODEL
Solves the technical problem
To the above-mentioned shortcoming that prior art exists, the utility model provides a heap liquid cooling structure charges can effectively solve among the prior art radiating effect poor and can not carry out radiating problem to the junction.
Technical scheme
In order to achieve the above purpose, the utility model discloses a following technical scheme realizes:
the utility model provides a liquid cooling structure of a charging pile, which comprises a control box and a battery, and further comprises a heat dissipation frame, wherein the heat dissipation frame is arranged in the control box at equal intervals, the battery is placed in the heat dissipation frame, a wiring port is arranged on the side wall of the heat dissipation frame, protection plates are arranged on both sides of the wiring port, a cavity is arranged between the protection plates and the heat dissipation frame in a communicating manner, cooling liquid is arranged in the cavity, the protection plates are arc-shaped plates, two protection plates are arranged on the inner wall of one side close to the protection plates, and the outer walls of the two protection plates are respectively connected with a first connecting pipe and a second connecting pipe; flow control assembly installs the regulating plate in first connecting pipe including rotating, the outside of first connecting pipe is equipped with the control panel, control panel and regulating plate fixed connection rotate the control panel drives the intake sectional area of regulating plate control first connecting pipe.
Furthermore, a plurality of the first connecting pipes are connected with a liquid inlet pipe, a plurality of the second connecting pipes are connected with a liquid outlet pipe, the liquid inlet pipe and the liquid outlet pipe are connected with a water tank, and a water pump is arranged on the liquid inlet pipe.
Furthermore, the flow control assembly further comprises a heat conduction block fixedly installed between the two protection plates, a piston pipe is installed on the heat conduction block, evaporation liquid is arranged in the piston pipe, a piston rod is movably inserted into the piston pipe, the end portion of the piston rod is in full contact with the control plate, and a coil spring is arranged between the control plate and the outer wall of the first connection pipe.
Furthermore, a partition board is arranged in the cavity of the heat dissipation frame, and a plurality of connecting holes are formed in the partition board.
Further, the movable rod is movably inserted in the heat dissipation frame, the movable plate is rotatably installed in the first connecting pipe, and the limiting plate is installed on the inner wall of the first connecting pipe.
Furthermore, a water wheel is rotatably installed in the second connecting pipe, a mounting pipe is inserted into the heat dissipation frame, and fan blades are rotatably installed in the mounting pipe and fixedly connected with the water wheel.
Advantageous effects
The utility model provides a technical scheme compares with known public technique, has following beneficial effect:
1. compared with the prior art, this scheme has set up the cavity in the heat dissipation frame, utilizes the coolant liquid to carry out the liquid cooling to the battery, has improved radiating efficiency and quality, has set up two protection shields in the wiring port department of heat dissipation frame simultaneously, utilizes the protection shield to cool off the external connection junction of power, has further improved refrigerated effect.
2. The flow control assembly is arranged, the control plate is pushed to drive the adjusting plate to rotate when the temperature is high, the water inlet sectional area is enlarged, the cooling efficiency is flexibly controlled, and the cost is saved.
Drawings
In order to clearly illustrate the embodiments of the present invention or the technical solutions in the prior art, the drawings used in the embodiments or the prior art descriptions will be briefly described below. It is obvious that the drawings in the following description are only some embodiments of the invention, and that for a person skilled in the art, other drawings can be derived from them without inventive effort.
Fig. 1 is a schematic front view of the overall structure of the present invention;
FIG. 2 is a schematic view of the back of the overall structure of the present invention;
fig. 3 is a schematic structural view of a rear view angle of the heat dissipation frame of the present invention;
fig. 4 is a cross-sectional view of the top view of the heat dissipation frame of the present invention;
FIG. 5 is a side cross-sectional view of a septum portion of the present invention;
fig. 6 is a schematic structural view of the medium flow rate adjusting assembly of the present invention.
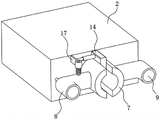
The reference numerals in the drawings represent: 1. a control box; 2. a heat dissipation frame; 3. a battery; 4. a water tank; 5. a liquid inlet pipe; 6. a liquid outlet pipe; 7. a protection plate; 8. a first connecting pipe; 9. a second connecting pipe; 10. a partition plate; 11. connecting holes; 12. a movable rod; 13. a movable plate; 14. a heat conducting block; 15. a piston tube; 16. a piston rod; 17. a control panel; 18. an adjusting plate; 19. a water wheel; 20. a fan blade.
Detailed Description
In order to make the purpose, technical solution and advantages of the embodiments of the present invention clearer, the attached drawings in the embodiments of the present invention will be combined below to clearly and completely describe the technical solution in the embodiments of the present invention. It is to be understood that the embodiments described are only some of the embodiments of the present invention, and not all of them. Based on the embodiments of the present invention, all other embodiments obtained by a person skilled in the art without making creative efforts belong to the protection scope of the present invention.
The present invention will be further described with reference to the following examples.
Example (b): the utility model provides a pile liquid cooling structure charges, including control box 1 and battery 3, be equipped with a plurality of grooves of accomodating in the pile of charging, set up a battery 3 in every groove of accomodating respectively, every 3 tip of battery in the pile of current charging all dispose the fan, utilize the fan to dispel the heat to battery 3, its radiating effect is relatively poor, and battery 3's back wiring end generates heat seriously, can damage the connector lug under the state of generating heat for a long time being in, influence battery 3's normal use, more can arouse the incident, to above-mentioned problem, this scheme has set up heat dissipation frame 2 in control box 1, and the connector lug department of heat dissipation frame 2 has set up protection shield 7, all set up the cavity that is used for the coolant liquid to flow in protection shield 7 and the heat dissipation frame 2, the refrigerated effect has been improved and has been prevented the connector lug damage, concrete scheme is as follows:
still include heat dissipation frame 2, the equidistance is installed in control box 1, battery 3 is placed in heat dissipation frame 2, the wiring mouth has been seted up on the lateral wall of heat dissipation frame 2, protection shield 7 is all installed to the both sides of wiring mouth, the cavity has been seted up in the intercommunication between protection shield 7 and the heat dissipation frame 2, be equipped with the coolant liquid in the cavity, be equipped with baffle 10 in the cavity of heat dissipation frame 2, a plurality of connecting holes 11 have been seted up on baffle 10, protection shield 7 is the arc, be equipped with the elastic heat conduction piece on the inner wall that two protection shields 7 are close to one side mutually, be connected with first connecting pipe 8 and second connecting pipe 9 on the outer wall of two protection shields 7 respectively, wherein baffle 10 is located between two protection shields 7, so for make first connecting pipe 8 intake second connecting pipe 9 play water, the coolant liquid concentrates on one side that heat dissipation frame 2 is close to first connecting pipe 8 earlier, another half flows in through connecting hole 11, so can make the time of coolant liquid longer, improve the effect of cooling, a plurality of being connected with feed liquor pipe 8 is connected with feed liquor pipe 5 jointly, a plurality of second connecting pipes 9 are connected with liquid drain pipe 6 jointly, be equipped with water tank 5 and play liquid pipe 6 jointly, be equipped with water pump 19 in the heat dissipation frame 2, be equipped with the movable connection pipe 19, the water wheel is installed on the movable connection pipe 19, the water wheel is moved in the heat dissipation frame 2, the inner wall, it moves the water pump connection pipe, the movable mounting rod 19, it moves the inner wall to insert and moves the movable mounting pipe 19, it moves the inner wall and moves the water wheel is installed to be equipped with the water wheel mounting pipe 19, the movable mounting plate, the movable mounting pipe 19.
In order to improve the heat dissipation effect of the battery 3 in the charging stack, the heat dissipation frame 2 is arranged outside the battery 3, the wiring port is formed in the heat dissipation frame 2 and is used for being connected with components such as an external controller, the protection plate 7 is added to the wiring port, a cavity communicated with the heat dissipation frame 2 is formed between the protection plate 7 and the heat dissipation frame, cooling liquid is arranged in the cavity, and the battery 3 can be rapidly cooled. Meanwhile, the two protection plates 7 are respectively provided with a first connecting pipe 8 and a second connecting pipe 9, and one is used for liquid inlet and the other is used for liquid outlet, so that cooling liquid flows, the heat of the battery 3 is taken away, and the cooling efficiency is improved. In order to improve the cooling effect of the wiring port, the elastic heat conducting fins are arranged between the protective plates 7, one side of each elastic heat conducting fin is attached to the protective plate 7, the other side of each elastic heat conducting fin is attached to the wiring head, and the protection effect on the wiring head is further improved.
The second connecting pipe 9 utilizes water flow to drive the water wheel 19, and then the water wheel 19 drives the fan blades 20, so as to blow air to the heat dissipation frame 2, and the fan at the front end of the battery 3 is matched to better discharge the heat inside to the outside, thereby improving the heat dissipation effect. In addition, the movable rod 12 is arranged in the heat dissipation frame 2, the movable rod 12 is pressed into the first connecting pipe 8 only when the battery 3 is placed in the heat dissipation frame 2, the movable rod 12 pushes the movable plate 13 away at the moment, a water inlet channel is opened, the heat dissipation frame 2 can realize the flowing of cooling liquid, each first connecting pipe 8 is independently connected to the liquid inlet pipe 5, the interference is avoided, and the flexibility of heat dissipation is improved.
Flow control assembly, including rotating the regulating plate 18 of installing in first connecting pipe 8, the outside of first connecting pipe 8 is equipped with control panel 17, control panel 17 and regulating plate 18 fixed connection, it drives the intake sectional area of the first connecting pipe 8 of regulating plate 18 control to rotate control panel 17, flow control assembly still includes heat conduction piece 14 of fixed mounting between two protection shields 7, install piston tube 15 on the heat conduction piece 14, and be equipped with the evaporated liquid in the piston tube 15, the activity is inserted in piston tube 15 and is equipped with piston rod 16, the tip and the control panel 17 of piston rod 16 fully contact, be equipped with the wind spring between the outer wall of control panel 17 and first connecting pipe 8.
When battery 3 works for a long time and leads to the temperature rise, the temperature that is located the heat conduction piece 14 of wire connection department rises, the evaporating liquid in piston tube 15 is given to the temperature transmission of heat conduction piece 14, evaporating liquid evaporation makes the inside atmospheric pressure of piston tube 15 increase, piston rod 16 toward the outer motion, push control panel 17 rotates, control panel 17 drives regulating plate 18 and rotates the sectional area increase that intakes that makes first connecting pipe 8, thereby make the inflow increase, thereby improve the efficiency of cooling, the realization improves the coolant liquid flow when the high temperature and improves cooling efficiency.
The above embodiments are only used to illustrate the technical solution of the present invention, and not to limit it; although the present invention has been described in detail with reference to the foregoing embodiments, it should be understood by those skilled in the art that: the technical solutions described in the foregoing embodiments may still be modified, or some technical features may be equivalently replaced; such modifications and substitutions do not depart from the spirit and scope of the present invention.
Claims (6)
1. The utility model provides a liquid cooling structure is piled in charging, includes control box (1) and battery (3), its characterized in that still includes:
the battery protection device comprises heat dissipation frames (2) which are arranged in a control box (1) at equal intervals, batteries (3) are placed in the heat dissipation frames (2), wiring ports are formed in the side walls of the heat dissipation frames (2), protection plates (7) are arranged on two sides of the wiring ports, a cavity is formed between each protection plate (7) and the heat dissipation frame (2) in a communicating mode, cooling liquid is arranged in the cavity, the protection plates (7) are arc-shaped plates, elastic heat conducting fins are arranged on the inner walls, close to one side, of the two protection plates (7), and the outer walls of the two protection plates (7) are connected with a first connecting pipe (8) and a second connecting pipe (9) respectively;
flow control assembly installs regulating plate (18) in first connecting pipe (8) including rotating, the outside of first connecting pipe (8) is equipped with control panel (17), control panel (17) and regulating plate (18) fixed connection rotate control panel (17) drive the intake sectional area of regulating plate (18) control first connecting pipe (8).
2. The liquid cooling structure of the charging pile of claim 1, wherein a plurality of the first connecting pipes (8) are commonly connected with a liquid inlet pipe (5), a plurality of the second connecting pipes (9) are commonly connected with a liquid outlet pipe (6), the liquid inlet pipe (5) and the liquid outlet pipe (6) are commonly connected with a water tank (4), and a water pump is arranged on the liquid inlet pipe (5).
3. The liquid cooling structure of the rechargeable stack according to claim 1, wherein the flow control assembly further comprises a heat conducting block (14) fixedly installed between the two protection plates (7), the heat conducting block (14) is provided with a piston tube (15), the piston tube (15) is provided with an evaporation liquid therein, the piston tube (15) is movably inserted with a piston rod (16), an end of the piston rod (16) is in full contact with the control plate (17), and a coil spring is provided between the control plate (17) and the outer wall of the first connecting tube (8).
4. The liquid cooling structure of the charging pile according to claim 1, wherein a partition plate (10) is arranged in the cavity of the heat dissipation frame (2), and a plurality of connecting holes (11) are formed in the partition plate (10).
5. The liquid cooling structure of the charging pile according to claim 1, wherein a movable rod (12) is movably inserted into the heat dissipation frame (2), a movable plate (13) is rotatably mounted in the first connection pipe (8), and a limiting plate is mounted on an inner wall of the first connection pipe (8).
6. The liquid cooling structure of the charging pile of claim 1, wherein a water wheel (19) is rotatably mounted in the second connecting pipe (9), a mounting pipe is inserted into the heat dissipation frame (2), a fan blade (20) is rotatably mounted in the mounting pipe, and the fan blade (20) is fixedly connected with the water wheel (19).
Priority Applications (1)
| Application Number | Priority Date | Filing Date | Title |
|---|---|---|---|
| CN202222493216.9U CN217655961U (en) | 2022-09-21 | 2022-09-21 | Liquid cooling structure of charging stack |
Applications Claiming Priority (1)
| Application Number | Priority Date | Filing Date | Title |
|---|---|---|---|
| CN202222493216.9U CN217655961U (en) | 2022-09-21 | 2022-09-21 | Liquid cooling structure of charging stack |
Publications (1)
| Publication Number | Publication Date |
|---|---|
| CN217655961U true CN217655961U (en) | 2022-10-25 |
Family
ID=83688139
Family Applications (1)
| Application Number | Title | Priority Date | Filing Date |
|---|---|---|---|
| CN202222493216.9U Active CN217655961U (en) | 2022-09-21 | 2022-09-21 | Liquid cooling structure of charging stack |
Country Status (1)
| Country | Link |
|---|---|
| CN (1) | CN217655961U (en) |
Cited By (1)
| Publication number | Priority date | Publication date | Assignee | Title |
|---|---|---|---|---|
| CN117497908A (en) * | 2023-12-28 | 2024-02-02 | 洛阳储变电系统有限公司 | High-rate battery pack heat dissipation device |
-
2022
- 2022-09-21 CN CN202222493216.9U patent/CN217655961U/en active Active
Cited By (2)
| Publication number | Priority date | Publication date | Assignee | Title |
|---|---|---|---|---|
| CN117497908A (en) * | 2023-12-28 | 2024-02-02 | 洛阳储变电系统有限公司 | High-rate battery pack heat dissipation device |
| CN117497908B (en) * | 2023-12-28 | 2024-03-22 | 洛阳储变电系统有限公司 | High-rate battery pack heat dissipation device |
Similar Documents
| Publication | Publication Date | Title |
|---|---|---|
| CN110265749A (en) | a battery box | |
| CN216015500U (en) | Air-cooled driving liquid-cooled coupling battery pack structure | |
| CN210379192U (en) | Lithium battery module with high-efficient heat radiation structure | |
| CN217655961U (en) | Liquid cooling structure of charging stack | |
| CN217495859U (en) | Dustproof double-gun direct current that heat dispersion is good fills electric pile | |
| CN218525635U (en) | A combined cooling system device on an energy storage power system module | |
| CN215398246U (en) | A strong heat dissipation charging pile for new energy vehicles | |
| CN114497809A (en) | Lower box body, battery box and battery cabinet | |
| CN112582728A (en) | Wind-liquid integrated thermal management battery system of electric motorcycle | |
| CN113193266A (en) | Air-cooled energy storage battery | |
| CN116528573B (en) | Servo driver with rapid heat dissipation function and control method thereof | |
| CN213547532U (en) | Base station energy storage system | |
| CN212751438U (en) | Multifunctional general power distribution cabinet | |
| CN116154027A (en) | A solar battery backplane | |
| CN210042654U (en) | Heat dissipation device for core switch | |
| CN222572109U (en) | Liquid-cooled electric automobile fills electric pile | |
| CN217468577U (en) | A battery device and electric vehicle | |
| CN216564172U (en) | Intelligent temperature control power saving cabinet | |
| CN221552046U (en) | Heat radiation structure of box type lithium battery | |
| CN117996274B (en) | Energy storage system with air-cooled air duct structure | |
| CN219553736U (en) | Lithium ion battery | |
| CN217591452U (en) | Energy storage rack wind channel structure | |
| CN221806284U (en) | Heat dissipation air duct structure for outdoor electrical cabinet and outdoor electrical cabinet | |
| CN222338366U (en) | Special energy storage structure for island micro-grid system | |
| CN220934229U (en) | Energy storage container |
Legal Events
| Date | Code | Title | Description |
|---|---|---|---|
| GR01 | Patent grant | ||
| GR01 | Patent grant |