CN217653433U - 一种稳固的金属管道用连接件 - Google Patents
一种稳固的金属管道用连接件 Download PDFInfo
- Publication number
- CN217653433U CN217653433U CN202220779637.5U CN202220779637U CN217653433U CN 217653433 U CN217653433 U CN 217653433U CN 202220779637 U CN202220779637 U CN 202220779637U CN 217653433 U CN217653433 U CN 217653433U
- Authority
- CN
- China
- Prior art keywords
- connecting piece
- main body
- clamping
- built
- main part
- Prior art date
- Legal status (The legal status is an assumption and is not a legal conclusion. Google has not performed a legal analysis and makes no representation as to the accuracy of the status listed.)
- Expired - Fee Related
Links
- 239000002184 metal Substances 0.000 title claims abstract description 50
- 238000007789 sealing Methods 0.000 claims description 32
- 230000008878 coupling Effects 0.000 claims 2
- 238000010168 coupling process Methods 0.000 claims 2
- 238000005859 coupling reaction Methods 0.000 claims 2
- 238000009434 installation Methods 0.000 abstract description 35
- 230000006835 compression Effects 0.000 description 6
- 238000007906 compression Methods 0.000 description 6
- 230000004075 alteration Effects 0.000 description 1
- 230000009286 beneficial effect Effects 0.000 description 1
- 238000009776 industrial production Methods 0.000 description 1
- 238000012986 modification Methods 0.000 description 1
- 230000004048 modification Effects 0.000 description 1
- 238000006467 substitution reaction Methods 0.000 description 1
Images
Landscapes
- Clamps And Clips (AREA)
Abstract
本实用新型公开了一种稳固的金属管道用连接件,包括下连接件主体,所述下连接件主体的上表面通过螺栓管道安装有上连接架主体,所述下连接件主体与所述上连接架主体的内部卡合安装有两个金属管道主体;通过在上连接架主体与下连接件主体的内表面设计内置安装环,可以根据安装金属管道主体的型号选择合适的内置安装环安装使用,将卡板卡合在第一卡槽的内部使得内置安装环闭合在上连接架主体或下连接件主体的内表面,并在内置安装环安装后旋紧螺钉将卡板与上连接架主体管道安装,便于将内置安装环闭合在上连接架主体和下连接件主体的内部,在上连接架主体与下连接件主体闭合两个金属管道主体的端部安装时通过内置安装环安装更加方便。
Description
技术领域
本实用新型属于连接件技术领域,具体涉及一种稳固的金属管道用连接件。
背景技术
现有的连接件是一种建筑、工业生产用零件,方便对两个金属管道紧固安装,易于密封使用,起到一定的安装使用,且在安装时易于连接更加稳固,在不同领域中广泛使用,起到一定的连接效果;现有的连接件在安装时根据安装的金属管道的型号不同不便于安装使用,造成在不同型号的金属管道安装时不方便,并在安装时直接通过内置安装环闭合在金属管道的表面,在安装时不便于紧密,使用时易造成泄漏的问题,为此我们提出一种稳固的金属管道用连接件。
实用新型内容
本实用新型的目的在于提供一种稳固的金属管道用连接件,以解决上述背景技术中提出现有的连接件在安装时根据安装的金属管道的型号不同不便于安装使用,造成在不同型号的金属管道安装时不方便,并在安装时直接通过内置安装环闭合在金属管道的表面,在安装时不便于紧密,使用时易造成泄漏的问题。
为实现上述目的,本实用新型提供如下技术方案:一种稳固的金属管道用连接件,包括下连接件主体,所述下连接件主体的上表面通过螺栓管道安装有上连接架主体,所述下连接件主体与所述上连接架主体的内部卡合安装有两个金属管道主体,方便将两个金属管道之间紧密安装,所述上连接架主体与所述下连接件主体的内表面均设置有内置安装环,易于对不同型号的金属管道安装使用,所述内置安装环的外表面一体式成型有卡板,易于卡合固定,所述卡板的内部旋合连接有螺钉,方便卡板卡合后更加紧固,所述上连接架主体与所述下连接件主体的内表面边缘处均开设有第一卡槽,且所述内置安装环与所述上连接架主体通过所述卡板与所述第一卡槽卡合连接,易于在安装时便于将内置安装环固定,易于对不易型号的金属管道安装使用,所述内置安装环的内表面两端均开设有安装槽,所述安装槽的内部设置有紧压密封垫,方便安装后更加密封,不易泄漏,所述紧压密封垫的边缘处开设有第二卡槽,易于卡合安装,所述安装槽的内部位于所述内置安装环的边缘处开设有螺纹槽,方便旋合安装螺纹柱与弹性卡球,所述螺纹槽的内部旋合连接有螺纹柱,易于固定安装,所述螺纹柱的端部设置有弹性卡球,便于在安装紧压密封垫时更加紧固,不易松动,且所述螺纹柱与所述紧压密封垫通过所述弹性卡球与所述第二卡槽卡合连接,易于安装时更加紧密,不易泄漏。
优选的,所述第二卡槽与所述紧压密封垫为一体式结构,且所述弹性卡球与所述第二卡槽的内部结构相吻合,易于卡合安装紧压密封垫。
优选的,所述螺纹柱的端部嵌入所述螺纹槽的内部,且所述弹性卡球与所述内置安装环通过所述螺纹柱与所述螺纹槽旋合连接,易于旋合安装弹性卡球,便于安装紧压密封垫使用。
优选的,所述紧压密封垫为弧形结构,且所述紧压密封垫与所述安装槽的内表面结构相吻合,易于闭合安装,方便安装使用。
优选的,所述卡板与所述第一卡槽的内部相匹配,且所述螺钉嵌入所述卡板与所述第一卡槽的内部,便于将卡板卡合后紧固安装。
优选的,所述上连接架主体与所述下连接件主体的侧面均为弧形结构,且所述内置安装环与所述下连接件主体或所述上连接架主体的内表面结构相吻合,便于在安装金属管道时更加方便,易于对不同型号的金属管道安装。
与现有技术相比,本实用新型的有益效果是:
(1)通过在上连接架主体与下连接件主体的内表面设计内置安装环,可以根据安装金属管道主体的型号选择合适的内置安装环安装使用,将卡板卡合在第一卡槽的内部使得内置安装环闭合在上连接架主体或下连接件主体的内表面,并在内置安装环安装后旋紧螺钉将卡板与上连接架主体管道安装,便于将内置安装环闭合在上连接架主体和下连接件主体的内部,在上连接架主体与下连接件主体闭合两个金属管道主体的端部安装时通过内置安装环安装更加方便,易于不同型号的金属管道主体安装使用,解决了金属管道的型号不同不便于安装使用,造成在不同型号的金属管道安装时不方便的问题。
(2)通过在内置安装环的内表面设计安装槽,和在安装槽的内表面设计紧压密封垫,可以在螺纹柱的内部转动螺纹槽将弹性卡球固定安装,在安装后直接将紧压密封垫闭合在安装槽的内部,在闭合后将弹性卡球卡合在第二卡槽的内部,并通过弹性卡球发生形变将弹性卡球挤压在第二卡槽的内部,易于将紧压密封垫固定安装,通过上连接架主体与下连接件主体和在内置安装环安装时更加紧密,安装不易泄漏,解决了在安装时直接通过内置安装环闭合在金属管道的表面,在安装时不便于紧密,使用时易造成泄漏的问题。
附图说明
图1为本实用新型的结构示意图;
图2为本实用新型的上连接架主体、下连接件主体与金属管道主体的局部结构示意图;
图3为本实用新型的上连接架主体、下连接件主体与金属管道主体侧面结构示意图;
图4为本实用新型图3中A部分放大结构示意图;
图5为本实用新型的内置安装环、紧压密封垫与安装槽结构示意图;
图6为本实用新型的内置安装环与紧压密封垫侧面结构示意图;
图7为本实用新型图6中B部分放大结构示意图;
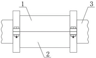
图中:1、上连接架主体;2、下连接件主体;3、金属管道主体;4、内置安装环;5、紧压密封垫;6、第一卡槽;7、卡板;8、螺钉;9、安装槽;10、第二卡槽;11、弹性卡球;12、螺纹槽;13、螺纹柱。
具体实施方式
下面将结合本实用新型实施例中的附图,对本实用新型实施例中的技术方案进行清楚、完整地描述,显然,所描述的实施例仅仅是本实用新型一部分实施例,而不是全部的实施例。基于本实用新型中的实施例,本领域普通技术人员在没有做出创造性劳动前提下所获得的所有其他实施例,都属于本实用新型保护的范围。
请参阅图1至图7,本实用新型提供一种技术方案:一种稳固的金属管道用连接件,包括下连接件主体2,下连接件主体2的上表面通过螺栓管道安装有上连接架主体1,下连接件主体2与上连接架主体1的内部卡合安装有两个金属管道主体3,通过上连接架主体1与下连接件主体2便于将金属管道主体3安装使用,上连接架主体1与下连接件主体2的内表面均设置有内置安装环4,易于对不同型号的金属管道主体3安装,内置安装环4的外表面一体式成型有卡板7,便于卡合安装,易于安装使用,卡板7的内部旋合连接有螺钉8,易于在安装后便于紧压固定,易于固定使用,上连接架主体1与下连接件主体2的内表面边缘处均开设有第一卡槽6,且内置安装环4与上连接架主体1通过卡板7与第一卡槽6卡合连接,便于在安装时根据金属管道主体3的型号选择合适的内置安装环4进行卡合安装,便于安装使用,内置安装环4的内表面两端均开设有安装槽9,方便安装紧压密封垫5使用,安装槽9的内部设置有紧压密封垫5,通紧压密封垫5便于在安装时更加密封,不易泄漏,紧压密封垫5的边缘处开设有第二卡槽10,易于弹性卡球11卡合安装,安装槽9的内部位于内置安装环4 的边缘处开设有螺纹槽12,通过螺纹槽12便于旋合固定螺纹柱13与弹性卡球 11,螺纹槽12的内部旋合连接有螺纹柱13,,方便固定安装使用,螺纹柱13的端部设置有弹性卡球11,且螺纹柱13与紧压密封垫5通过弹性卡球11与第二卡槽10卡合连接,易于将紧压密封垫5闭合后卡合固定,易于密封安装使用。
为了便于将弹性卡球11卡合安装,易于通过弹性卡球11便于将紧压密封垫5卡合固定,第二卡槽10与紧压密封垫5为一体式结构,且弹性卡球11与第二卡槽10的内部结构相吻合,为了便于固定安装弹性卡球11,螺纹柱13的端部嵌入螺纹槽12的内部,且弹性卡球11与内置安装环4通过螺纹柱13与螺纹槽12旋合连接,为了便于将紧压密封垫5闭合后密封安装,紧压密封垫5为弧形结构,且紧压密封垫5与安装槽9的内表面结构相吻合,为了便于卡合安装内置安装环4,易于在不同型号的金属管道主体3安装时进行卡合安装,卡板 7与第一卡槽6的内部相匹配,且螺钉8嵌入卡板7与第一卡槽6的内部,为了便于对不同型号的金属管道主体3安装时更加方便,上连接架主体1与下连接件主体2的侧面均为弧形结构,且内置安装环4与下连接件主体2或上连接架主体1的内表面结构相吻合。
本实用新型的工作原理及使用流程:该种稳固的金属管道用连接件,在使用时,首先根据安装金属管道主体3的型号选择合适的内置安装环4安装使用,可以将卡板7卡合在第一卡槽6的内部使得内置安装环4闭合在上连接架主体1 或下连接件主体2的内表面,并在内置安装环4安装后旋紧螺钉8将卡板7与上连接架主体1管道安装,便于将内置安装环4闭合在上连接架主体1和下连接件主体2的内部,在内置安装环4安装后,然后在螺纹柱13的内部转动螺纹槽12将弹性卡球11固定安装,在安装后直接将紧压密封垫5闭合在安装槽9的内部,在闭合后将弹性卡球11卡合在第二卡槽10的内部,并通过弹性卡球 11发生形变将弹性卡球11挤压在第二卡槽10的内部,易于将紧压密封垫5固定安装,在内置安装环4与紧压密封垫5安装后,直接将上连接架主体1与下连接件主体2闭合在两个金属管道主体3的端部,通过螺栓安装上连接架主体1 与下连接件主体2紧固时,直接通过内置安装环4与金属管道主体3的表面相紧压,同时通过紧压密封垫5在安装时更加密封,便于在安装时不易泄漏,且在不同型号的金属管道主体3安装时更加方便。
尽管已经示出和描述了本实用新型的实施例,对于本领域的普通技术人员而言,可以理解在不脱离本实用新型的原理和精神的情况下可以对这些实施例进行多种变化、修改、替换和变型,本实用新型的范围由所附权利要求及其等同物限定。
Claims (6)
1.一种稳固的金属管道用连接件,包括下连接件主体(2),所述下连接件主体(2)的上表面通过螺栓管道安装有上连接架主体(1),所述下连接件主体(2)与所述上连接架主体(1)的内部卡合安装有两个金属管道主体(3),其特征在于:所述上连接架主体(1)与所述下连接件主体(2)的内表面均设置有内置安装环(4),所述内置安装环(4)的外表面一体式成型有卡板(7),所述卡板(7)的内部旋合连接有螺钉(8),所述上连接架主体(1)与所述下连接件主体(2)的内表面边缘处均开设有第一卡槽(6),且所述内置安装环(4)与所述上连接架主体(1)通过所述卡板(7)与所述第一卡槽(6)卡合连接,所述内置安装环(4)的内表面两端均开设有安装槽(9),所述安装槽(9)的内部设置有紧压密封垫(5),所述紧压密封垫(5)的边缘处开设有第二卡槽(10),所述安装槽(9)的内部位于所述内置安装环(4)的边缘处开设有螺纹槽(12),所述螺纹槽(12)的内部旋合连接有螺纹柱(13),所述螺纹柱(13)的端部设置有弹性卡球(11),且所述螺纹柱(13)与所述紧压密封垫(5)通过所述弹性卡球(11)与所述第二卡槽(10)卡合连接。
2.根据权利要求1所述的一种稳固的金属管道用连接件,其特征在于:所述第二卡槽(10)与所述紧压密封垫(5)为一体式结构,且所述弹性卡球(11)与所述第二卡槽(10)的内部结构相吻合。
3.根据权利要求2所述的一种稳固的金属管道用连接件,其特征在于:所述螺纹柱(13)的端部嵌入所述螺纹槽(12)的内部,且所述弹性卡球(11)与所述内置安装环(4)通过所述螺纹柱(13)与所述螺纹槽(12)旋合连接。
4.根据权利要求2所述的一种稳固的金属管道用连接件,其特征在于:所述紧压密封垫(5)为弧形结构,且所述紧压密封垫(5)与所述安装槽(9)的内表面结构相吻合。
5.根据权利要求1所述的一种稳固的金属管道用连接件,其特征在于:所述卡板(7)与所述第一卡槽(6)的内部相匹配,且所述螺钉(8)嵌入所述卡板(7)与所述第一卡槽(6)的内部。
6.根据权利要求1所述的一种稳固的金属管道用连接件,其特征在于:所述上连接架主体(1)与所述下连接件主体(2)的侧面均为弧形结构,且所述内置安装环(4)与所述下连接件主体(2)或所述上连接架主体(1)的内表面结构相吻合。
Priority Applications (1)
| Application Number | Priority Date | Filing Date | Title |
|---|---|---|---|
| CN202220779637.5U CN217653433U (zh) | 2022-04-06 | 2022-04-06 | 一种稳固的金属管道用连接件 |
Applications Claiming Priority (1)
| Application Number | Priority Date | Filing Date | Title |
|---|---|---|---|
| CN202220779637.5U CN217653433U (zh) | 2022-04-06 | 2022-04-06 | 一种稳固的金属管道用连接件 |
Publications (1)
| Publication Number | Publication Date |
|---|---|
| CN217653433U true CN217653433U (zh) | 2022-10-25 |
Family
ID=83661969
Family Applications (1)
| Application Number | Title | Priority Date | Filing Date |
|---|---|---|---|
| CN202220779637.5U Expired - Fee Related CN217653433U (zh) | 2022-04-06 | 2022-04-06 | 一种稳固的金属管道用连接件 |
Country Status (1)
| Country | Link |
|---|---|
| CN (1) | CN217653433U (zh) |
-
2022
- 2022-04-06 CN CN202220779637.5U patent/CN217653433U/zh not_active Expired - Fee Related
Similar Documents
| Publication | Publication Date | Title |
|---|---|---|
| CN206377388U (zh) | 一种三通管 | |
| TW202132713A (zh) | 液管與液管接頭的鎖固式防漏組裝結構 | |
| CN217653433U (zh) | 一种稳固的金属管道用连接件 | |
| CN210830888U (zh) | 一种带有辅助连接结构的外法兰 | |
| CN211347204U (zh) | 一种水处理设备压力表的新型安装结构 | |
| CN219530123U (zh) | 一种给排水管道连接结构 | |
| CN212131665U (zh) | 一种连接管安装结构 | |
| CN207740581U (zh) | 一种管路连接密封结构 | |
| CN213954599U (zh) | 一种不锈钢管件卡压用连接装置 | |
| CN210950304U (zh) | 一种连接管密封结构 | |
| CN223690585U (zh) | 一种新型不锈钢管连接结构 | |
| CN221897365U (zh) | 一种塑料排水管拼接装置 | |
| CN221976207U (zh) | 一种水表接口密封器 | |
| CN223725741U (zh) | 一种胶管接头及胶管 | |
| CN218236535U (zh) | 一种耐高温高压的旋转接头结构 | |
| CN2800025Y (zh) | 一种管子耐压密封连接结构 | |
| CN222209371U (zh) | 一种连接管材卡压式连接结构 | |
| CN221120952U (zh) | 一种阀杆组件水压试验密封装置 | |
| CN223215836U (zh) | 一种在非储压状态下能密封的单向导通结构 | |
| CN223621838U (zh) | 一种带有密封结构的溶剂泵 | |
| CN210179130U (zh) | 一种用于风力发电配电柜冷却系统的管接头 | |
| CN221096977U (zh) | 一种泥浆泵卡箍结构 | |
| CN219224069U (zh) | 一种lng气瓶的法兰工装检具 | |
| CN222577646U (zh) | 一种方便组装强度高的金属封头 | |
| CN220268546U (zh) | 脉冲阀法兰连接装置 |
Legal Events
| Date | Code | Title | Description |
|---|---|---|---|
| GR01 | Patent grant | ||
| GR01 | Patent grant | ||
| CF01 | Termination of patent right due to non-payment of annual fee | ||
| CF01 | Termination of patent right due to non-payment of annual fee |
Granted publication date: 20221025 |