CN217632562U - 一种矿山全尾砂胶结充填设备 - Google Patents

一种矿山全尾砂胶结充填设备 Download PDF

Info

Publication number
CN217632562U
CN217632562U CN202221697622.0U CN202221697622U CN217632562U CN 217632562 U CN217632562 U CN 217632562U CN 202221697622 U CN202221697622 U CN 202221697622U CN 217632562 U CN217632562 U CN 217632562U
Authority
CN
China
Prior art keywords
pipe
stirring
mine
shaft
mixing
Prior art date
Legal status (The legal status is an assumption and is not a legal conclusion. Google has not performed a legal analysis and makes no representation as to the accuracy of the status listed.)
Active
Application number
CN202221697622.0U
Other languages
English (en)
Inventor
陈向阳
王悦
屈中伟
高平慧
柴进喜
姜纲
刘学二
Current Assignee (The listed assignees may be inaccurate. Google has not performed a legal analysis and makes no representation or warranty as to the accuracy of the list.)
Beijing Huasheng Chuangyuan Environmental Technology Co ltd
Original Assignee
Beijing Huasheng Chuangyuan Environmental Technology Co ltd
Priority date (The priority date is an assumption and is not a legal conclusion. Google has not performed a legal analysis and makes no representation as to the accuracy of the date listed.)
Filing date
Publication date
Application filed by Beijing Huasheng Chuangyuan Environmental Technology Co ltd filed Critical Beijing Huasheng Chuangyuan Environmental Technology Co ltd
Priority to CN202221697622.0U priority Critical patent/CN217632562U/zh
Application granted granted Critical
Publication of CN217632562U publication Critical patent/CN217632562U/zh
Active legal-status Critical Current
Anticipated expiration legal-status Critical

Links

Images

Classifications

    • YGENERAL TAGGING OF NEW TECHNOLOGICAL DEVELOPMENTS; GENERAL TAGGING OF CROSS-SECTIONAL TECHNOLOGIES SPANNING OVER SEVERAL SECTIONS OF THE IPC; TECHNICAL SUBJECTS COVERED BY FORMER USPC CROSS-REFERENCE ART COLLECTIONS [XRACs] AND DIGESTS
    • Y02TECHNOLOGIES OR APPLICATIONS FOR MITIGATION OR ADAPTATION AGAINST CLIMATE CHANGE
    • Y02WCLIMATE CHANGE MITIGATION TECHNOLOGIES RELATED TO WASTEWATER TREATMENT OR WASTE MANAGEMENT
    • Y02W30/00Technologies for solid waste management
    • Y02W30/50Reuse, recycling or recovery technologies
    • Y02W30/91Use of waste materials as fillers for mortars or concrete

Landscapes

  • Consolidation Of Soil By Introduction Of Solidifying Substances Into Soil (AREA)

Abstract

本实用新型涉及矿山充填技术领域,尤其是一种矿山全尾砂胶结充填设备,包括工作台,所述工作台的上端设有搅拌仓,所述工作台的下端安装有电机,所述电机的上端连接有转轴,所述搅拌仓的内腔中部设有搅拌轴,所述搅拌轴与转轴的外侧均套接有皮带轮,所述皮带轮的外侧共同套接有传送带,所述搅拌轴的外侧通过支撑杆连接有两组第一圆管和一组第二圆管,与现有技术相比,本实用新型的结构设计合理,且实用性强,便于对骨料及胶结剂进行有效的充分均匀混合,有效的提高其混合搅拌的效果,便于提高充填胶结体的质量,且方便通过实时加入生石灰粉对骨料及胶结剂混合进行搅拌使得快速凝固,有效的提高充填胶结体的制造效率。

Description

一种矿山全尾砂胶结充填设备
技术领域
本实用新型涉及矿山充填技术领域,尤其涉及一种矿山全尾砂胶结充填设备。
背景技术
随着经济技术的发展,在矿山资源的开发中,环境环保的要求越来越高,而矿山开采势必导致矿山容易发生塌陷等不良影响,进而需要矿山填充技术进行治理,而随着充填开采技术的发展,尾矿砂胶结充填技术既可减轻尾矿库的压力,又可以实现对尾矿的再利用,其使用时广泛。
目前的采矿充填法使用的充填材料主要由骨料和胶结剂组成,一般是以分级尾砂、尾砂加河砂或全尾砂为充填骨料,胶结剂与充填骨料及水混合后,发生物理与化学反应形成胶体,将充填骨料凝固成具有一定强度的充填胶结体进行填充,现有的全尾砂胶结设备由于需要从矿井上面向下输送,容易造成输送时间较长,导致其胶结剂失效,且其现有的井下全尾砂胶结搅拌设备的搅拌混合效果较差,为此,我们提供一种矿山全尾砂胶结充填设备来解决此问题。
实用新型内容
本实用新型的目的是为了解决现有技术中存在的缺点,而提出了具有便于对骨料及胶结剂进行有效的充分均匀混合,有效的提高其混合搅拌的效果,便于提高充填胶结体的质量,且方便通过实时加入生石灰粉对骨料及胶结剂混合进行搅拌使得快速凝固,有效的提高充填胶结体的制造效率等优点的一种矿山全尾砂胶结充填设备来解决此问题。
为了实现上述目的,本实用新型采用了如下技术方案:
设计一种矿山全尾砂胶结充填设备,包括工作台,所述工作台的上端设有搅拌仓,所述工作台的下端安装有电机,所述电机的上端连接有转轴,所述搅拌仓的内腔中部设有搅拌轴,所述搅拌轴与转轴的外侧均套接有皮带轮,所述皮带轮的外侧共同套接有传送带,所述搅拌轴的外侧通过支撑杆连接有两组第一圆管和一组第二圆管,所述第一圆管之间连接有若干个第一连接管,其中一个所述第一圆管与第二圆管之间连接有若干个第二连接管,所述第一连接管与第二连接管的外侧均等距设有搅拌叶,所述第一圆管的下端均等距设有第一喷头,其中一个所述第一圆管的上端连接有进料管。
进一步,所述第一圆管的直径大于第二圆管,所述第二连接管均为倾斜安装,且所述第二圆管的上端均等距设有第二喷头。
进一步,每组所述搅拌叶的安装角度均不相同,且所述搅拌叶相邻之间的安装角度均相差30°。
进一步,所述工作台的上端对称连接有侧板,所述侧板的相对应的一侧均通过支撑板与搅拌仓相连接。
进一步,所述搅拌仓的下端均连接有底板,所述底板的下端连接有排料管,所述搅拌轴的外侧通过固定套等距连接有推板。
进一步,所述转轴的外侧套接有第一锥齿轮,所述第一锥齿轮的外侧啮合有第二锥齿轮,所述第二锥齿轮的内腔连接有绞龙,所述绞龙的外侧套接有输送筒,所述输送筒安装在工作台的上端,所述排料管的下端与输送筒相连接。
进一步,所述工作台的上端对称设有凹型板,所述凹型板的内腔均套接有连接板,所述连接板的一侧连接有导流板,且所述导流板为倾斜放置,所述输送筒的一侧连接有导流罩。
进一步,所述工作台的上端对称连接有支撑柱,所述支撑柱的上端连接有储蓄箱,所述储蓄箱通过输出管与输送筒相连接。所述储蓄箱的内腔为漏斗状。
进一步,所述输送筒的内腔连接有若干组搅拌杆,所述搅拌杆的顶端均为圆柱状。
进一步,所述工作台的下端连接有支架,所述支架的两侧均对称安装有移动轮。
本实用新型提出的一种矿山全尾砂胶结充填设备,有益效果在于:
1、电机通过转轴带动皮带轮转动,进而皮带轮外侧的传送带带动搅拌轴转动,搅拌轴通过支撑杆带动两组第一圆管及一组第二圆管转动,进而两组第一圆管及一组第二圆管在转动的同时分别通过第一喷头向下喷泥浆及第二喷头向上喷泥浆,有效的提高了泥浆与骨料的接触效果,便于第一连接管、第二连接管外侧的搅拌叶对泥浆及骨料进行充分的搅拌混合,有效的提高了其混合的效果,便于泥浆及骨料更加均匀混合,方便提高其全尾砂胶结效果;
2、电机带动转轴转动的同时,转轴通过第一锥齿轮带动啮合有第二锥齿轮的绞龙转动,进而绞龙带动生石灰粉及全尾砂浆进行混合输送,且通过设置若干个搅拌杆,便于通过搅拌杆将其与全尾砂浆进行搅拌混合,有效的提高全尾砂浆的凝固效果,方便提高其胶结效果,且通过导流罩排向凹型板中,最终落入矿井中需要充填的地方,且此设备位于矿井下对骨料及胶结剂进行实时的搅拌混合,且通过生石灰粉进行快速凝固,方便快速制造全尾砂胶结体,方便使用。
附图说明
图1为本实用新型提出的一种矿山全尾砂胶结充填设备整体立体结构示意图;
图2为本实用新型提出的一种矿山全尾砂胶结充填设备的搅拌仓内部半剖视立体结构示意图;
图3为本实用新型提出的一种矿山全尾砂胶结充填设备的部分装置立体结构示意图;
图4为本实用新型提出的一种矿山全尾砂胶结充填设备部分装置剖视结构示意图。
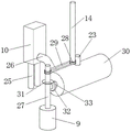
图中:工作台1、移动轮2、侧板3、支撑板4、搅拌仓5、第一圆管6、进料管7、控制开关8、电机9、储蓄箱10、导流罩11、凹型板12、导流板13、搅拌轴14、第二圆管15、第一喷头16、第二喷头17、第一连接管18、第二连接管19、支撑杆20、搅拌叶21、底板22、排料管23、推板24、支撑柱25、输出管26、转轴27、皮带轮28、传送带29、输送筒30、第一锥齿轮31、第二锥齿轮32、绞龙33、搅拌杆34。
具体实施方式
下面将结合本实用新型实施例中的附图,对本实用新型实施例中的技术方案进行清楚、完整地描述,显然,所描述的实施例仅仅是本实用新型一部分实施例,而不是全部的实施例。
参照图1-4,一种矿山全尾砂胶结充填设备,包括工作台1,工作台1的下端连接有支架,支架的两侧均对称安装有移动轮2,便于此设备方便移动,有效的提高此设备的使用效果。
工作台1的上端设有搅拌仓5,工作台1的上端对称连接有侧板3,侧板3 的相对应的一侧均通过支撑板4与搅拌仓5相连接,便于对搅拌仓5起到稳定支撑的作用。
工作台1的下端安装有电机9,电机9的上端连接有转轴27,转轴27的外侧套接有第一锥齿轮31,第一锥齿轮31的外侧啮合有第二锥齿轮32,第二锥齿轮32的内腔连接有绞龙33,绞龙33的外侧套接有输送筒30,输送筒30安装在工作台1的上端,排料管23的下端与输送筒30相连接,便于对搅拌好的全尾砂浆进行输送排出,工作台1的上端对称设有凹型板12,凹型板12的内腔均套接有连接板,连接板的一侧连接有导流板13,且导流板13为倾斜放置,输送筒30 的一侧连接有导流罩11,便于进一步的将全尾砂浆排向需要的地方,工作台1的上端对称连接有支撑柱25,支撑柱25的上端连接有储蓄箱10,储蓄箱10通过输出管26与输送筒30相连接,储蓄箱10的内腔为漏斗状,输送筒30的内腔连接有若干组搅拌杆34,搅拌杆34的顶端均为圆柱状,便于将储蓄箱10中装入生石灰粉,便于生石灰粉通过输出管26输送到输送筒30中,便于通过搅拌杆 34将其与全尾砂浆进行搅拌混合,有效的提高全尾砂浆的凝固效果,方便提高其胶结效果。
搅拌仓5的内腔中部设有搅拌轴14,搅拌轴14与转轴27的外侧均套接有皮带轮28,皮带轮28的外侧共同套接有传送带29,搅拌轴14的外侧通过支撑杆20连接有两组第一圆管6和一组第二圆管15,第一圆管6之间连接有若干个第一连接管18,其中一个第一圆管6与第二圆管之间连接有若干个第二连接管 19,第一连接管18与第二连接管19的外侧均等距设有搅拌叶21,第一圆管6 的下端均等距设有第一喷头16,其中一个第一圆管6的上端连接有进料管7,第一圆管6的直径大于第二圆管15,第二连接管19均为倾斜安装,且第二圆管15的上端均等距设有第二喷头17,每组搅拌叶21的安装角度均不相同,且搅拌叶 21相邻之间的安装角度均相差30°,便于第一圆管6与第二圆管15与搅拌仓5 相匹配,方便有效的提高搅拌叶21与胶结泥浆及充填骨料之间的搅拌效果。
搅拌仓5的下端均连接有底板22,底板22的下端连接有排料管23,搅拌轴 14的外侧通过固定套等距连接有推板24,便于对搅拌仓5底部的全尾砂浆进行有效的排出,方便后续使用。
工作原理:本实用新型在使用时,此设备放置在矿井下,通过控制开关8 与电机9相连接,进而通过打开电机9,通过向搅拌仓5倒入骨料,进而通过进料管7输送预先制造好的硫铝酸盐水泥浆胶结剂,进而电机9通过转轴27带动皮带轮28转动,进而皮带轮28外侧的传送带29带动搅拌轴14转动,搅拌轴 14通过支撑杆20带动两组第一圆管6及一组第二圆管15转动,进而两组第一圆管6及一组第二圆管15在转动的同时分别通过第一喷头16向下喷泥浆及第二喷头17向上喷泥浆,有效的提高了泥浆与骨料的接触效果,便于第一连接管18、第二连接管19外侧的搅拌叶21对泥浆及骨料进行充分的搅拌混合,有效的提高了其混合的效果,便于泥浆及骨料更加均匀混合,方便提高其全尾砂胶结效果,且通过搅拌轴14通过推板24对搅拌仓5底部的全尾砂浆进行刮动排出,且排料管23的外侧设置外置的闸阀,便于当泥浆及骨料混合完成后,通过移动轮2移动此设备到需要进行充填的地方进行工作,当打开外置闸阀,通过排料管23排向输送筒30,且同时通过内部为漏斗状的储蓄箱10填充生石灰粉,便于且输出管26外侧可安装外置的阀门,便于对生石灰粉的输送进行启闭,进而当生石灰粉输送到输送筒30的内部,通过电机9带动转轴27转动的同时,转轴27通过第一锥齿轮31带动啮合有第二锥齿轮32的绞龙33转动,进而绞龙33带动生石灰粉及全尾砂浆进行混合输送,且通过设置若干个搅拌杆34,便于通过搅拌杆 34将其与全尾砂浆进行搅拌混合,有效的提高全尾砂浆的凝固效果,方便提高其胶结效果,且通过导流罩11排向凹型板12中,最终落入矿井中需要充填的地方。
以上,仅为本实用新型较佳的具体实施方式,但本实用新型的保护范围并不局限于此,任何熟悉本技术领域的技术人员在本实用新型揭露的技术范围内,根据本实用新型的技术方案及其实用新型构思加以等同替换或改变,都应涵盖在本实用新型的保护范围之内。

Claims (10)

1.一种矿山全尾砂胶结充填设备,包括工作台(1),其特征在于,所述工作台(1)的上端设有搅拌仓(5),所述工作台(1)的下端安装有电机(9),所述电机(9)的上端连接有转轴(27),所述搅拌仓(5)的内腔中部设有搅拌轴(14),所述搅拌轴(14)与转轴(27)的外侧均套接有皮带轮(28),所述皮带轮(28)的外侧共同套接有传送带(29),所述搅拌轴(14)的外侧通过支撑杆(20)连接有两组第一圆管(6)和一组第二圆管(15),所述第一圆管(6)之间连接有若干个第一连接管(18),其中一个所述第一圆管(6)与第二圆管之间连接有若干个第二连接管(19),所述第一连接管(18)与第二连接管(19)的外侧均等距设有搅拌叶(21),所述第一圆管(6)的下端均等距设有第一喷头(16),其中一个所述第一圆管(6)的上端连接有进料管(7)。
2.根据权利要求1所述的一种矿山全尾砂胶结充填设备,其特征在于,所述第一圆管(6)的直径大于第二圆管(15),所述第二连接管(19)均为倾斜安装,且所述第二圆管(15)的上端均等距设有第二喷头(17)。
3.根据权利要求1所述的一种矿山全尾砂胶结充填设备,其特征在于,每组所述搅拌叶(21)的安装角度均不相同,且所述搅拌叶(21)相邻之间的安装角度均相差30°。
4.根据权利要求1所述的一种矿山全尾砂胶结充填设备,其特征在于,所述工作台(1)的上端对称连接有侧板(3),所述侧板(3)的相对应的一侧均通过支撑板(4)与搅拌仓(5)相连接。
5.根据权利要求1所述的一种矿山全尾砂胶结充填设备,其特征在于,所述搅拌仓(5)的下端均连接有底板(22),所述底板(22)的下端连接有排料管(23),所述搅拌轴(14)的外侧通过固定套等距连接有推板(24)。
6.根据权利要求5所述的一种矿山全尾砂胶结充填设备,其特征在于,所述转轴(27)的外侧套接有第一锥齿轮(31),所述第一锥齿轮(31)的外侧啮合有第二锥齿轮(32),所述第二锥齿轮(32)的内腔连接有绞龙(33),所述绞龙(33)的外侧套接有输送筒(30),所述输送筒(30)安装在工作台(1)的上端,所述排料管(23)的下端与输送筒(30)相连接。
7.根据权利要求6所述的一种矿山全尾砂胶结充填设备,其特征在于,所述工作台(1)的上端对称设有凹型板(12),所述凹型板(12)的内腔均套接有连接板,所述连接板的一侧连接有导流板(13),且所述导流板(13)为倾斜放置,所述输送筒(30)的一侧连接有导流罩(11)。
8.根据权利要求6所述的一种矿山全尾砂胶结充填设备,其特征在于,所述工作台(1)的上端对称连接有支撑柱(25),所述支撑柱(25)的上端连接有储蓄箱(10),所述储蓄箱(10)通过输出管(26)与输送筒(30)相连接,所述储蓄箱(10)的内腔为漏斗状。
9.根据权利要求6所述的一种矿山全尾砂胶结充填设备,其特征在于,所述输送筒(30)的内腔连接有若干组搅拌杆(34),所述搅拌杆(34)的顶端均为圆柱状。
10.根据权利要求1所述的一种矿山全尾砂胶结充填设备,其特征在于,所述工作台(1)的下端连接有支架,所述支架的两侧均对称安装有移动轮(2)。
CN202221697622.0U 2022-07-01 2022-07-01 一种矿山全尾砂胶结充填设备 Active CN217632562U (zh)

Priority Applications (1)

Application Number Priority Date Filing Date Title
CN202221697622.0U CN217632562U (zh) 2022-07-01 2022-07-01 一种矿山全尾砂胶结充填设备

Applications Claiming Priority (1)

Application Number Priority Date Filing Date Title
CN202221697622.0U CN217632562U (zh) 2022-07-01 2022-07-01 一种矿山全尾砂胶结充填设备

Publications (1)

Publication Number Publication Date
CN217632562U true CN217632562U (zh) 2022-10-21

Family

ID=83631733

Family Applications (1)

Application Number Title Priority Date Filing Date
CN202221697622.0U Active CN217632562U (zh) 2022-07-01 2022-07-01 一种矿山全尾砂胶结充填设备

Country Status (1)

Country Link
CN (1) CN217632562U (zh)

Cited By (2)

* Cited by examiner, † Cited by third party
Publication number Priority date Publication date Assignee Title
CN115977726A (zh) * 2023-02-09 2023-04-18 安徽理工大学 一种排布煤矸石骨料的煤矿胶结充填装置及方法
CN119177876A (zh) * 2024-10-29 2024-12-24 山东鲁创能源科技有限公司 一种矿山充填物料输送装置

Cited By (3)

* Cited by examiner, † Cited by third party
Publication number Priority date Publication date Assignee Title
CN115977726A (zh) * 2023-02-09 2023-04-18 安徽理工大学 一种排布煤矸石骨料的煤矿胶结充填装置及方法
CN115977726B (zh) * 2023-02-09 2025-11-18 安徽理工大学 一种排布煤矸石骨料的煤矿胶结充填装置及方法
CN119177876A (zh) * 2024-10-29 2024-12-24 山东鲁创能源科技有限公司 一种矿山充填物料输送装置

Similar Documents

Publication Publication Date Title
CN217632562U (zh) 一种矿山全尾砂胶结充填设备
CN103061787A (zh) 矿用混凝土湿式喷射装备
CN203145957U (zh) 矿用混凝土湿式喷射装备
CN212876645U (zh) 一种高效率客土喷播机
CN207415693U (zh) 一种再生混凝土搅拌装置
CN219445579U (zh) 一种道桥施工水泥配料装置
CN210948698U (zh) 一种混凝土喷射机
US4004782A (en) Machine for mixing aggregate and resin
CN207680449U (zh) 一种煤矿填充材料混合装置
CN213913622U (zh) 尾矿微粉活化搅拌装置
CN114311310A (zh) 一种市政施工用固结土搅拌箱
CN202742516U (zh) 砂浆搅拌灌浆系统
CN111054247A (zh) 一种土木工程施工混料供给装置
CN116922582A (zh) 一种自动定量的灌浆料配比用混凝土搅拌装置
CN111282495B (zh) 一种煤矿充填开采用原料搅拌装置
CN103831902A (zh) 一种胶凝砂砾石拌和设备
CN212671851U (zh) 地下矿山开采充填用的组合式充填系统
CN108905865A (zh) 一种公路混凝土运输搅拌装置及其使用方法
CN204082169U (zh) 湿式混凝土喷射机
CN211333968U (zh) 一种建筑施工用混凝土搅拌混合装置
CN211963842U (zh) 一种联锁块生产用原料搅拌装置
CN108687956B (zh) 一种建筑用混凝土混料装置
CN218286094U (zh) 一种帷幕灌浆用黏土膏浆的制浆系统
CN221436778U (zh) 蒸压加气砌块生产自动上料搅拌装置
CN213918944U (zh) 一种混凝土生产用输送装置

Legal Events

Date Code Title Description
GR01 Patent grant
GR01 Patent grant