CN217630399U - 一种水利工程专用高效节能的排涝泵站 - Google Patents
一种水利工程专用高效节能的排涝泵站 Download PDFInfo
- Publication number
- CN217630399U CN217630399U CN202221768120.2U CN202221768120U CN217630399U CN 217630399 U CN217630399 U CN 217630399U CN 202221768120 U CN202221768120 U CN 202221768120U CN 217630399 U CN217630399 U CN 217630399U
- Authority
- CN
- China
- Prior art keywords
- water tank
- main water
- gear
- hydraulic engineering
- tank
- Prior art date
- Legal status (The legal status is an assumption and is not a legal conclusion. Google has not performed a legal analysis and makes no representation as to the accuracy of the status listed.)
- Expired - Fee Related
Links
- 238000005086 pumping Methods 0.000 title claims abstract description 16
- XLYOFNOQVPJJNP-UHFFFAOYSA-N water Substances O XLYOFNOQVPJJNP-UHFFFAOYSA-N 0.000 claims abstract description 100
- 238000004140 cleaning Methods 0.000 claims description 5
- 241000282326 Felis catus Species 0.000 claims description 4
- 238000005265 energy consumption Methods 0.000 abstract description 5
- 230000005540 biological transmission Effects 0.000 abstract description 3
- 230000000903 blocking effect Effects 0.000 abstract description 2
- 230000007246 mechanism Effects 0.000 description 5
- 238000001914 filtration Methods 0.000 description 4
- 238000000034 method Methods 0.000 description 4
- 230000009471 action Effects 0.000 description 2
- 230000000694 effects Effects 0.000 description 2
- 239000008187 granular material Substances 0.000 description 2
- 230000008569 process Effects 0.000 description 2
- 230000004075 alteration Effects 0.000 description 1
- 229940037003 alum Drugs 0.000 description 1
- 230000009286 beneficial effect Effects 0.000 description 1
- 230000008901 benefit Effects 0.000 description 1
- 230000008859 change Effects 0.000 description 1
- 239000002781 deodorant agent Substances 0.000 description 1
- 239000012535 impurity Substances 0.000 description 1
- 238000012423 maintenance Methods 0.000 description 1
- 230000004048 modification Effects 0.000 description 1
- 238000012986 modification Methods 0.000 description 1
- 238000006467 substitution reaction Methods 0.000 description 1
- 230000007306 turnover Effects 0.000 description 1
- 238000005406 washing Methods 0.000 description 1
Images
Landscapes
- Structures Of Non-Positive Displacement Pumps (AREA)
Abstract
本实用新型公开了一种水利工程专用高效节能的排涝泵站,包括主水箱和副水箱,主水箱的内壁分别设置有过滤网和齿条,主水箱的内壁固定连接有气动伸缩杆,气动伸缩杆的端部固定连接有连接杆,连接杆的端部转动连接有齿轮,齿轮的端部固定连接有清洁滚筒,主水箱和副水箱之间设置有连通管,副水箱的内部安装有水泵。通过设置气动伸缩杆,利用气动伸缩杆的伸缩,以及齿轮和齿轮的互相啮合传动,可以使齿轮沿着齿条进行滚动,当齿轮滚动时,齿轮会带动清洁滚筒进行转动,利用清洁滚筒的转动,和气动伸缩杆的伸缩,可以将过滤网表面的异物更高效的进行清理,有效避免了过滤网堵塞,导致水泵抽水功率加大,从而增加了排涝泵站能耗的情况。
Description
技术领域
本实用新型涉及水利工程排涝技术领域,具体为一种水利工程专用高效节能的排涝泵站。
背景技术
水利工程中的排涝泵站可以很好的缓解水库、湖泊等水利工程的抗洪压力,是一项惠民工程。
然而目前的排涝泵站在使用时,水箱中的过滤网很容易堵塞,目前采用的方法时用工具刮除过滤网表面的堵塞物,但是此方法清理效率低下,导致水泵在抽取水时功率会加大,从而增加了排涝泵站的能耗。
因此,我们需要一种可以更高效清理过滤网的高效节能排涝泵站。
发明内容
本实用新型的目的在于提供一种水利工程专用高效节能的排涝泵站,以解决上述背景技术中提出的问题。
为实现上述目的,本实用新型提供如下技术方案:一种水利工程专用高效节能的排涝泵站,包括主水箱和副水箱,所述主水箱的内壁分别设置有过滤网和齿条,主水箱的内壁固定连接有气动伸缩杆,气动伸缩杆的端部固定连接有连接杆,连接杆的端部转动连接有齿轮,并且齿轮和齿条互相契合,齿轮的端部固定连接有清洁滚筒,清洁滚筒的外表面与过滤网的下表面相接触,主水箱和副水箱之间设置有连通管,副水箱的内部安装有水泵。
优选的,所述主水箱的内壁固定连接有安装板,过滤网通过螺栓固定安装在安装板的上表面。
优选的,所述主水箱的侧面设置有进水管道,副水箱的侧面设置有出水管道,水泵安装在出水管道的端部。
优选的,所述主水箱的底部安装有粉碎机构,粉碎机构包括电机和风叶轮,风叶轮安装在电机的转动端。
优选的,所述主水箱和副水箱的顶部均设置箱门,主水箱和副水箱的内壁均安装有爬梯。
优选的,所述主水箱的顶部设置有投料箱,投料箱的侧面设置有连通主水箱的投料管。
有益效果
本实用新型提供了一种水利工程专用高效节能的排涝泵站,具备以下有益效果:
1.该水利工程专用高效节能的排涝泵站,通过设置气动伸缩杆,利用气动伸缩杆的伸缩,以及齿轮和齿轮的互相啮合传动,可以使齿轮沿着齿条进行滚动,当齿轮滚动时,齿轮会带动清洁滚筒进行转动,利用清洁滚筒的转动,和气动伸缩杆的伸缩,可以将过滤网表面的异物更高效的进行清理,有效避免了过滤网堵塞,导致水泵抽水功率加大,从而增加了排涝泵站能耗的情况。
2.该水利工程专用高效节能的排涝泵站,通过设置过滤网,可以将较大颗粒的异物进行过滤,通过设置粉碎机构,可以对进入主水箱的大体积异物进行粉碎,通过设置水泵可以将过滤之后的水通过出水管道排走,通过对水中异物的粉碎和过滤,可以使进入水泵的水粘滞力降低,从而可以降低水泵的功率,使排涝过程更加的高效节能,增加了排涝泵站的实用性。
附图说明
图1为本实用新型正剖结构示意图;
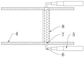
图2为本实用新型图一中A放大结构示意图;
图3为本实用新型齿条和齿轮俯视结构示意图。
图中:1主水箱、2副水箱、3过滤网、4齿条、5气动伸缩杆、6连接杆、7齿轮、8清洁滚筒、9连通管、10水泵、11安装板、12螺栓、13进水管道、14出水管道、15粉碎机构、16箱门、17爬梯、18投料箱。
具体实施方式
下面将结合本实用新型实施例中的附图,对本实用新型实施例中的技术方案进行清楚、完整地描述,显然,所描述的实施例仅仅是本实用新型一部分实施例,而不是全部的实施例。基于本实用新型中的实施例,本领域普通技术人员在没有做出创造性劳动前提下所获得的所有其他实施例,都属于本实用新型保护的范围。
请参阅图1-3,本实用新型提供一种技术方案:一种水利工程专用高效节能的排涝泵站,包括主水箱1和副水箱2,主水箱1的内壁分别设置有过滤网3和齿条4,主水箱1的内壁固定连接有气动伸缩杆5,气动伸缩杆5的端部固定连接有连接杆6,连接杆6的端部转动连接有齿轮7,并且齿轮7和齿条4互相契合,齿轮7的端部固定连接有清洁滚筒8,清洁滚筒8的外表面与过滤网3的下表面相接触,主水箱1和副水箱2之间设置有连通管9,副水箱2的内部安装有水泵10。
通过设置气动伸缩杆5,利用气动伸缩杆5的伸缩,以及齿轮7和齿轮7的互相啮合传动,可以使齿轮7沿着齿条4进行滚动,当齿轮7滚动时,齿轮7会带动清洁滚筒8进行转动,利用清洁滚筒8的转动,和气动伸缩杆5的伸缩,可以将过滤网3表面的异物更高效的进行清理,有效避免了过滤网3堵塞,导致水泵10抽水功率加大,从而增加了排涝泵站能耗的情况。
主水箱1的内壁固定连接有安装板11,过滤网3通过螺栓12固定安装在安装板11的上表面,利用安装板11可以对过滤网3进行支撑,通过设置螺栓12,当螺栓12螺紧时可以对过滤网3进行固定,当螺栓12松开时,可以实现将过滤网3进行拆卸,从而方便了过滤网3的清洗和更换。
主水箱1的侧面设置有进水管道13,副水箱2的侧面设置有出水管道14,水泵10安装在出水管道14的端部,进水管道13与需要排涝的水体连通,出水管道14与泄洪河道连通。
主水箱1的底部安装有粉碎机构15,粉碎机构15包括电机和风叶轮,风叶轮安装在电机的转动端,通过设置电机,利用电动的转动可以带动风叶轮转动,从而可以实现主水箱1底部异物的粉碎。
通过设置过滤网3,可以将较大颗粒的异物进行过滤,通过设置粉碎机构15,可以对进入主水箱1的大体积异物进行粉碎,通过设置水泵10可以将过滤之后的水通过出水管道14排走,通过对水中异物的粉碎和过滤,可以使进入水泵10的水粘滞力降低,从而可以降低水泵10的功率,使排涝过程更加的高效节能,增加了排涝泵站的实用性。
主水箱1和副水箱2的顶部均设置箱门16,主水箱1和副水箱2的内壁均安装有爬梯17,通过设置箱门16,可以实现开启主水箱1和副水箱2,通过设置爬梯17,可以方便工作人员进出主水箱1和副水箱2,为主水箱1和副水箱2内部的设备维护提供了方便。
主水箱1的顶部设置有投料箱18,投料箱18的侧面设置有连通主水箱1的投料管,通过设置投料箱18,通过往投料箱18中放入明矾或者除臭剂,可以有效去除主水箱1和副水箱2中的水中的杂质和异味。
工作原理:当该水利工程专用高效节能的排涝泵站在使用时,将进水管道13与需要排涝的水体连通,将出水管道14与泄洪河道连通,水体会通过进水管道13进入主水箱1,此时开启粉碎机构15、气动伸缩杆5和水泵10,主水箱1中的异物在粉碎机构15的作用下,会被搅碎,在水泵10的吸力作用下主水箱1中的水会被过滤网3过滤,再经过水泵10排入出水管道14,从而完成排涝工作;当过滤网3被堵塞时,气动伸缩杆5会推动连接杆6,连接杆6会推动齿轮7,齿轮7在齿条4的啮合作用下,齿轮7会滚动,从而带动清洁滚筒8转动,利用清洁滚筒8的转动,和气动伸缩杆5的伸缩,可以将过滤网3表面的异物更高效的进行清理,同时被清理的异物,会落入粉碎机构15被再次粉碎,有效避免了过滤网3堵塞,导致水泵10抽水功率加大,从而增加了排涝泵站能耗的情况。
尽管已经示出和描述了本实用新型的实施例,对于本领域的普通技术人员而言,可以理解在不脱离本实用新型的原理和精神的情况下可以对这些实施例进行多种变化、修改、替换和变型,本实用新型的范围由所附权利要求及其等同物限定。
Claims (6)
1.一种水利工程专用高效节能的排涝泵站,包括主水箱(1)和副水箱(2),其特征在于:所述主水箱(1)的内壁分别设置有过滤网(3)和齿条(4),主水箱(1)的内壁固定连接有气动伸缩杆(5),气动伸缩杆(5)的端部固定连接有连接杆(6),连接杆(6)的端部转动连接有齿轮(7),并且齿轮(7)和齿条(4)互相契合,齿轮(7)的端部固定连接有清洁滚筒(8),清洁滚筒(8)的外表面与过滤网(3)的下表面相接触,主水箱(1)和副水箱(2)之间设置有连通管(9),副水箱(2)的内部安装有水泵(10)。
2.根据权利要求1所述的一种水利工程专用高效节能的排涝泵站,其特征在于:所述主水箱(1)的内壁固定连接有安装板(11),过滤网(3)通过螺栓(12)固定安装在安装板(11)的上表面。
3.根据权利要求1所述的一种水利工程专用高效节能的排涝泵站,其特征在于:所述主水箱(1)的侧面设置有进水管道(13),副水箱(2)的侧面设置有出水管道(14),水泵(10)安装在出水管道(14)的端部。
4.根据权利要求1所述的一种水利工程专用高效节能的排涝泵站,其特征在于:所述主水箱(1)的底部安装有粉碎机构(15),粉碎机构(15)包括电机和风叶轮,风叶轮安装在电机的转动端。
5.根据权利要求1所述的一种水利工程专用高效节能的排涝泵站,其特征在于:所述主水箱(1)和副水箱(2)的顶部均设置箱门(16),主水箱(1)和副水箱(2)的内壁均安装有爬梯(17)。
6.根据权利要求1所述的一种水利工程专用高效节能的排涝泵站,其特征在于:所述主水箱(1)的顶部设置有投料箱(18),投料箱(18)的侧面设置有连通主水箱(1)的投料管。
Priority Applications (1)
| Application Number | Priority Date | Filing Date | Title |
|---|---|---|---|
| CN202221768120.2U CN217630399U (zh) | 2022-07-11 | 2022-07-11 | 一种水利工程专用高效节能的排涝泵站 |
Applications Claiming Priority (1)
| Application Number | Priority Date | Filing Date | Title |
|---|---|---|---|
| CN202221768120.2U CN217630399U (zh) | 2022-07-11 | 2022-07-11 | 一种水利工程专用高效节能的排涝泵站 |
Publications (1)
| Publication Number | Publication Date |
|---|---|
| CN217630399U true CN217630399U (zh) | 2022-10-21 |
Family
ID=83632940
Family Applications (1)
| Application Number | Title | Priority Date | Filing Date |
|---|---|---|---|
| CN202221768120.2U Expired - Fee Related CN217630399U (zh) | 2022-07-11 | 2022-07-11 | 一种水利工程专用高效节能的排涝泵站 |
Country Status (1)
| Country | Link |
|---|---|
| CN (1) | CN217630399U (zh) |
-
2022
- 2022-07-11 CN CN202221768120.2U patent/CN217630399U/zh not_active Expired - Fee Related
Similar Documents
| Publication | Publication Date | Title |
|---|---|---|
| CN217630399U (zh) | 一种水利工程专用高效节能的排涝泵站 | |
| CN213868227U (zh) | 一种玻璃钢材质智能型污水提升泵站 | |
| CN211777936U (zh) | 一种新型气动隔膜泵 | |
| CN219848311U (zh) | 一种污水处理厂平流式二沉池出水堰自动清洗装置 | |
| CN112777786A (zh) | 高效节能排污水环保装置 | |
| CN216997969U (zh) | 一种污水处理再利用装置 | |
| CN214714861U (zh) | 一种煤炭地质工程专用的防治水装置 | |
| CN216894922U (zh) | 一种污水处理多功能轴流泵 | |
| CN213448760U (zh) | 一种地基处理用防堵塞污水收集管 | |
| CN220953799U (zh) | 一种水利施工用排水装置 | |
| CN218810783U (zh) | 一种废水催化氧化装置 | |
| CN221193590U (zh) | 一种建筑污水排放设备 | |
| CN216477973U (zh) | 一种水利工程施工防水排水装置 | |
| CN216062232U (zh) | 一种疏干水处理用自清洗过滤器 | |
| CN215058206U (zh) | 一种具有防堵效果的小型柴动排污泵 | |
| CN212454840U (zh) | 一种具有高效清理作用的水利装置 | |
| CN222009158U (zh) | 一种污水管道清淤用吸淤装置 | |
| CN219984014U (zh) | 一种循环水装置 | |
| CN213572340U (zh) | 建筑暖通用防阻塞排水装置 | |
| CN213392254U (zh) | 一种煤矿应急救援排水设备 | |
| CN218933262U (zh) | 一种工程清淤箱 | |
| CN212896559U (zh) | 一种用于水利工程施工的水库清淤装置 | |
| CN220847986U (zh) | 一种市政工程的下水道格栅板疏通装置 | |
| CN223344246U (zh) | 一种化工泵高效过滤装置 | |
| CN221479560U (zh) | 一种湖水净化利用装置 |
Legal Events
| Date | Code | Title | Description |
|---|---|---|---|
| GR01 | Patent grant | ||
| GR01 | Patent grant | ||
| CF01 | Termination of patent right due to non-payment of annual fee | ||
| CF01 | Termination of patent right due to non-payment of annual fee |
Granted publication date: 20221021 |