CN217619669U - Machine-building is with polisher that is equipped with dustproof function - Google Patents
Machine-building is with polisher that is equipped with dustproof function Download PDFInfo
- Publication number
- CN217619669U CN217619669U CN202220113607.0U CN202220113607U CN217619669U CN 217619669 U CN217619669 U CN 217619669U CN 202220113607 U CN202220113607 U CN 202220113607U CN 217619669 U CN217619669 U CN 217619669U
- Authority
- CN
- China
- Prior art keywords
- fixedly connected
- box
- case
- motor
- inner chamber
- Prior art date
- Legal status (The legal status is an assumption and is not a legal conclusion. Google has not performed a legal analysis and makes no representation as to the accuracy of the status listed.)
- Active
Links
- 238000005498 polishing Methods 0.000 claims abstract description 15
- 241000220317 Rosa Species 0.000 claims abstract description 14
- OKTJSMMVPCPJKN-UHFFFAOYSA-N Carbon Chemical compound [C] OKTJSMMVPCPJKN-UHFFFAOYSA-N 0.000 claims abstract description 7
- 229910052799 carbon Inorganic materials 0.000 claims abstract description 5
- 230000001105 regulatory effect Effects 0.000 claims abstract description 5
- 238000000227 grinding Methods 0.000 claims description 17
- 238000004519 manufacturing process Methods 0.000 claims description 10
- 230000005540 biological transmission Effects 0.000 claims description 9
- 239000000428 dust Substances 0.000 abstract description 12
- 239000000779 smoke Substances 0.000 abstract description 9
- 238000000034 method Methods 0.000 abstract description 6
- 238000000926 separation method Methods 0.000 abstract description 2
- 238000005192 partition Methods 0.000 description 9
- 238000003756 stirring Methods 0.000 description 3
- 230000004075 alteration Effects 0.000 description 1
- 230000009286 beneficial effect Effects 0.000 description 1
- 230000001680 brushing effect Effects 0.000 description 1
- 238000004140 cleaning Methods 0.000 description 1
- 230000000694 effects Effects 0.000 description 1
- 238000001914 filtration Methods 0.000 description 1
- 239000008187 granular material Substances 0.000 description 1
- 238000012986 modification Methods 0.000 description 1
- 230000004048 modification Effects 0.000 description 1
- 230000002265 prevention Effects 0.000 description 1
- 238000001179 sorption measurement Methods 0.000 description 1
- 239000000126 substance Substances 0.000 description 1
- 238000006467 substitution reaction Methods 0.000 description 1
- 239000004753 textile Substances 0.000 description 1
Images
Landscapes
- Finish Polishing, Edge Sharpening, And Grinding By Specific Grinding Devices (AREA)
Abstract
The utility model discloses a machine-building apparatus is with polisher of dustproof function, including supporting box, supporting box's top fixedly connected with case of polishing, the top fixedly connected with hydraulic rod who polishes the case. The utility model discloses a supporting box, the case of polishing, hydraulic rod, the polisher body, the rose box, the collecting pipe, the drive case, first motor, first gear, the second gear, the transfer line, the cartridge filter, a separation plate, electric putter, the brush board, the second motor, the puddler, the active carbon filter core, the air exhauster, the regulating box, the third motor, the threaded rod, the cooperation of thread bush and grip block is used, possess dustproof function and fixed firm advantage, it does not possess dustproof function to have solved current polisher for the machine-building, can produce a large amount of smoke and dust at the in-process of the processing of polishing, can cause the pollution to the operation environment if direct discharge, and it is firm inadequately to the fixed of work piece, thereby can't satisfy the problem of in-service use demand.
Description
Technical Field
The utility model relates to a machine-building equipment technical field specifically is a machine-building apparatus is equipped with polisher of dustproof function.
Background
The machine manufacturing refers to industrial departments engaged in the production of various power machines, hoisting and transporting machines, chemical machines, textile machines, machine tools, instruments, meters and other mechanical equipment, and provides technical equipment for the whole national economy, the machine tools have various models and different sizes, the types of modern machine tools are almost unlimited, some machine tools can be installed on a workbench and can be accommodated in a special workshop if the machine tools are large, a grinding machine is required to be used for grinding workpieces in the machine manufacturing process, however, the existing grinding machine for machine manufacturing does not have a dustproof function, a large amount of smoke can be generated in the grinding process, the pollution to the operating environment can be caused if the smoke is directly discharged, and the workpieces are not fixed stably enough, so that the actual use requirements cannot be met.
SUMMERY OF THE UTILITY MODEL
An object of the utility model is to provide a machine-building apparatus is with polisher of dustproof function possesses dustproof function and fixed firm advantage, has solved current machine-building and has not possessed dirt-proof function with polisher, can produce a large amount of smoke and dust at the in-process of processing of polishing, can cause the pollution to the operation environment if direct discharge, and is firm inadequately to the fixed of work piece moreover to can't satisfy the problem of in-service use demand.
In order to achieve the above object, the utility model provides a following technical scheme: a grinding machine with a dustproof function for machine manufacturing comprises a supporting box, wherein a grinding box is fixedly connected to the top of the supporting box, a hydraulic push rod is fixedly connected to the top of the grinding box, an output end of the bottom of the hydraulic push rod penetrates through the grinding box and is fixedly connected with a grinding machine body, a filter box is fixedly connected to the rear side of the grinding box, two sides of the filter box are communicated with a collecting pipe, the front end of the collecting pipe penetrates through an inner cavity of the grinding box, a top fixedly connected with a driving box of the filter box, a first motor is fixedly connected to the bottom of the inner cavity of the driving box, a first gear is fixedly connected to the left side of the first gear in a meshed mode, a transmission rod is fixedly connected to the axis of the second gear, the bottom of the transmission rod penetrates through the inner cavity of the filter box and is fixedly connected with a filter cylinder, a partition plate is fixedly connected to the surface of the filter cylinder, two sides of the partition plate are fixedly connected with the inner wall of the filter box, an electric push rod on the right side of the electric push rod penetrates through the inner cavity of the filter box and is fixedly connected with an adjusting rod of the bottom of the filter box, and an air outlet of the filter box is connected with an air outlet of the filter rod, and a third motor is connected with an air exhaust fan, the front of thread bush fixedly connected with grip block, the front side of grip block runs through to the inner chamber of case of polishing.
Preferably, the right side of the threaded rod is movably connected with the inner wall of the adjusting box through a first bearing, and the threads on the two sides of the surface of the threaded rod are opposite.
Preferably, the top of the threaded sleeve is fixedly connected with a sliding block, and the top of the inner cavity of the adjusting box is provided with a sliding groove matched with the sliding block for use.
Preferably, the left side of the top of the partition plate is provided with a collecting box, and the left side of the collecting box penetrates through the filter box and is fixedly connected with a handle.
Preferably, the right side of the front of the polishing box is movably connected with a cabinet door through a hinge, and the front of the cabinet door is provided with an observation window.
Preferably, the left side of the exhaust fan is fixedly connected with the filter box, and the surface of the transmission rod is movably connected with the filter box through a second bearing.
Compared with the prior art, the beneficial effects of the utility model are as follows:
1. the utility model discloses a supporting box, the case of polishing, hydraulic rod, the polisher body, the rose box, the collecting pipe, the drive case, first motor, first gear, the second gear, the transfer line, the cartridge filter, a separation plate, electric putter, the brush board, the second motor, the puddler, the active carbon filter core, the air exhauster, the regulating box, the third motor, the threaded rod, the cooperation of thread bush and grip block is used, possess dustproof function and fixed firm advantage, it does not possess dustproof function to have solved current polisher for the machine-building, can produce a large amount of smoke and dust at the in-process of the processing of polishing, can cause the pollution to the operation environment if direct discharge, and it is firm inadequately to the fixed of work piece, thereby can't satisfy the problem of in-service use demand.
2. The utility model discloses a set up the threaded rod, can drive the thread bush and remove, it is fixed to be convenient for cooperate the grip block to carry out the centre gripping to the work piece, through setting up slider and spout, can improve the stability when the thread bush removes, collects the box through setting up, can collect the dust under the cleanness, and is more convenient when making the clearance, through setting up the observation window, can be convenient for the operating personnel observes the condition of polishing of work piece.
Drawings
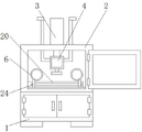
FIG. 1 is a schematic view of the present invention;
FIG. 2 is a sectional view of the filter box and the driving box of the present invention;
fig. 3 is a sectional view of the structure adjusting box of the present invention.
In the figure: 1. a support box; 2. grinding a box; 3. a hydraulic push rod; 4. a sander body; 5. a filter box; 6. a collection tube; 7. a drive box; 8. a first motor; 9. a first gear; 10. a second gear; 11. a transmission rod; 12. a filter cartridge; 13. a partition plate; 14. an electric push rod; 15. brushing the board; 16. a second motor; 17. a stirring rod; 18. an active carbon filter element; 19. an exhaust fan; 20. an adjusting box; 21. a third motor; 22. a threaded rod; 23. a threaded sleeve; 24. a clamping plate; 25. and (4) collecting the box.
Detailed Description
The technical solutions in the embodiments of the present invention will be described clearly and completely with reference to the drawings in the embodiments of the present invention, and it is obvious that the described embodiments are only some embodiments of the present invention, not all embodiments. Based on the embodiments in the present invention, all other embodiments obtained by a person skilled in the art without creative efforts all belong to the protection scope of the present invention.
Referring to fig. 1-3, a sander with dustproof function for machine manufacturing comprises a supporting box 1, a sanding box 2 is fixedly connected to the top of the supporting box 1, a hydraulic push rod 3 is fixedly connected to the top of the sanding box 2, an output end of the bottom of the hydraulic push rod 3 penetrates the sanding box 2 and is fixedly connected with a sander body 4, a filter box 5 is fixedly connected to the rear side of the sanding box 2, collecting pipes 6 are respectively communicated to both sides of the filter box 5, the front end of the collecting pipe 6 penetrates the inner cavity of the sanding box 2, a driving box 7 is fixedly connected to the top of the filter box 5, a first motor 8 is fixedly connected to the bottom of the inner cavity of the driving box 7, a first gear 9 is fixedly connected to the output end of the first motor 8, a second gear 10 is engaged to the left side of the first gear 9, a transmission rod 11 is fixedly connected to the axis of the second gear 10, the bottom of the transmission rod 11 penetrates the inner cavity of the filter box 5 and is fixedly connected with a filter cartridge 12, a partition plate 13 is sleeved on the surface of the partition plate 13, both sides of the inner cavity of the partition plate 5 is fixedly connected to the inner cavity of the right side of the filter box 5, a filter box 16 is connected to the inner cavity of the filter box 16, a filter box 16 is fixedly connected to the bottom of the filter box 16, both sides of the surface of the threaded rod 22 are in threaded connection with a threaded sleeve 23, the front of the threaded sleeve 23 is fixedly connected with a clamping plate 24, the front side of the clamping plate 24 penetrates through the inner cavity of the polishing box 2, the right side of the threaded rod 22 is movably connected with the inner wall of the adjusting box 20 through a first bearing, the threaded sleeve 23 can be driven to move by arranging the threaded rod 22, the clamping plate 24 is convenient to be matched for clamping and fixing a workpiece, the threads on both sides of the surface of the threaded rod 22 are opposite, the top of the threaded sleeve 23 is fixedly connected with a sliding block, the top of the inner cavity of the adjusting box 20 is provided with a sliding groove matched with the sliding block for use, the stability of the threaded sleeve 23 in moving can be improved by arranging the sliding block and the sliding groove, the left side of the top of the partition plate 13 is provided with a collecting box 25, the cleaned dust can be collected by arranging the collecting box 25, the dust can be more convenient in cleaning, the left side of the collecting box 25 penetrates through the filter box 5 and is fixedly connected with a handle, the right side of the front of the grinding box 2 is movably connected with a cabinet door through a hinge, the front of the cabinet door is provided with an observation window, the grinding condition of a workpiece can be conveniently observed by an operator by arranging the observation window, the left side of the exhaust fan 19 is fixedly connected with the filter box 5, the surface of the transmission rod 11 is movably connected with the filter box 5 through a second bearing, the grinding box 2, the hydraulic push rod 3, the grinding machine body 4, the filter box 5, the collecting pipe 6, the driving box 7, the first motor 8, the first gear 9, the second gear 10, the transmission rod 11, the filter cylinder 12, the partition plate 13, the electric push rod 14, the brush plate 15, the second motor 16, the stirring rod 17, the activated carbon filter core 18, the exhaust fan 19, the adjusting box 20, the third motor 21, the threaded rod 22, the threaded sleeve 23 and the clamping plate 24 are matched for use, and the dust prevention function and the fixation and stability are realized, the problem of current polisher for machine-building do not possess dirt-proof function, can produce a large amount of smoke and dust at the in-process of the processing of polishing is solved, can cause the pollution to the operation environment if direct discharge, and is firm inadequately to the fixed of work piece moreover to can't satisfy the in-service use demand is solved.
During the use, the work piece that operating personnel will need to polish is placed between two grip blocks 24, then start third motor 21 through external controller, third motor 21 cooperation threaded rod 22 drives threaded sleeve 23 and removes, threaded sleeve 23 removes and drives two grip blocks 24 relative movement and carry out the centre gripping to the work piece fixedly, then start hydraulic push rod 3 and polisher body 4 and polish the processing to the work piece, when the in-process of polishing produces the smoke and dust, start air exhauster 19, suction the smoke and dust into rose box 5 through collecting pipe 6, carry out the prefiltering through cartridge filter 12, then start second motor 16, second motor 16 drives puddler 17 and rotates the air adsorption granule of rose box 5 inner chamber bottom and stir, make it fully contact with the smoke and dust, improve the filter effect, then carry out the secondary filtration through active carbon filter core 18, when the surface of cartridge filter 12 is blockked up by the dust, start electric push rod 14, electric push rod 14 drives brush 15 and cartridge filter 12's surface contact, start first motor 8, first motor 8 cooperates first gear 9 to drive second gear 10 and rotate, second gear 10 cooperates the transfer line 11, it influences cartridge filter 12 to rotate the clean cartridge filter 12, it.
Although embodiments of the present invention have been shown and described, it will be appreciated by those skilled in the art that changes, modifications, substitutions and alterations can be made in these embodiments without departing from the principles and spirit of the invention, the scope of which is defined in the appended claims and their equivalents.
Claims (6)
1. The utility model provides a machine-building is with polisher that is equipped with dustproof function, includes supporting box (1), its characterized in that: the top fixedly connected with of supporting box (1) grinds case (2), the top fixedly connected with hydraulic rod (3) of case (2) grinds, the output of hydraulic rod (3) bottom runs through case (2) grinds and fixedly connected with polisher body (4), the rear side fixedly connected with rose box (5) of case (2) grinds, the both sides of rose box (5) all communicate has collecting pipe (6), the front end of collecting pipe (6) runs through to the inner chamber of case (2) polishes, the top fixedly connected with drive case (7) of rose box (5), the first motor of bottom fixedly connected with (8) of drive case (7) inner chamber, the output fixedly connected with first gear (9) of first motor (8), the left side meshing of first gear (9) has second gear (10), the axle center department fixedly connected with transfer line (11) of second gear (10), the bottom of transfer line (11) runs through to the inner chamber of rose box (5) and fixedly connected with (12), the surface of baffle (12) is equipped with the filter cartridge filter (13), the top fixedly connected with push rod (14) and filter cartridge filter (5) is connected with the both sides of filter cartridge filter (13), the utility model discloses a polishing machine, including electric putter (14), output on electric putter (14) right side run through to the inner chamber and the fixedly connected with brush board (15) of rose box (5), the left bottom fixedly connected with second motor (16) of rose box (5), the output fixedly connected with puddler (17) of second motor (16), the right side of puddler (17) runs through to the inner chamber of rose box (5), bottom fixedly connected with active carbon filter core (18) on rose box (5) inner chamber right side, the bottom intercommunication on rose box (5) right side has air exhauster (19), the bottom fixedly connected with regulating box (20) of case (2) inner chamber rear side of polishing, the left side fixedly connected with third motor (21) of regulating box (20) inner chamber, the output fixedly connected with threaded rod (22) of third motor (21), the equal threaded connection in both sides on threaded rod (22) surface has thread bush (23), the positive fixedly connected with grip block (24) of thread bush (23), the front side of grip block (24) runs through to the inner chamber of case (2) of polishing.
2. The sander with a dustproof function for machine manufacturing according to claim 1, wherein: the right side of the threaded rod (22) is movably connected with the inner wall of the adjusting box (20) through a first bearing, and threads on two sides of the surface of the threaded rod (22) are opposite.
3. The sander with a dustproof function for machine manufacturing according to claim 1, wherein: the top fixedly connected with slider of thread bush (23), the spout that the cooperation slider used is seted up at the top of regulating box (20) inner chamber.
4. The sander with a dustproof function for machine manufacturing according to claim 1, wherein: the left side at baffle (13) top is provided with collects box (25), the left side of collecting box (25) is run through rose box (5) and fixedly connected with handle.
5. The sander for machine-building having a dust-proof function according to claim 1, wherein: the right side of the front of the grinding box (2) is movably connected with a cabinet door through a hinge, and the front of the cabinet door is provided with an observation window.
6. The sander with a dustproof function for machine manufacturing according to claim 1, wherein: the left side of the exhaust fan (19) is fixedly connected with the filter box (5), and the surface of the transmission rod (11) is movably connected with the filter box (5) through a second bearing.
Priority Applications (1)
| Application Number | Priority Date | Filing Date | Title |
|---|---|---|---|
| CN202220113607.0U CN217619669U (en) | 2022-01-17 | 2022-01-17 | Machine-building is with polisher that is equipped with dustproof function |
Applications Claiming Priority (1)
| Application Number | Priority Date | Filing Date | Title |
|---|---|---|---|
| CN202220113607.0U CN217619669U (en) | 2022-01-17 | 2022-01-17 | Machine-building is with polisher that is equipped with dustproof function |
Publications (1)
| Publication Number | Publication Date |
|---|---|
| CN217619669U true CN217619669U (en) | 2022-10-21 |
Family
ID=83643079
Family Applications (1)
| Application Number | Title | Priority Date | Filing Date |
|---|---|---|---|
| CN202220113607.0U Active CN217619669U (en) | 2022-01-17 | 2022-01-17 | Machine-building is with polisher that is equipped with dustproof function |
Country Status (1)
| Country | Link |
|---|---|
| CN (1) | CN217619669U (en) |
-
2022
- 2022-01-17 CN CN202220113607.0U patent/CN217619669U/en active Active
Similar Documents
| Publication | Publication Date | Title |
|---|---|---|
| CN211439034U (en) | Auto-parts clamping device | |
| CN217071920U (en) | Deburring device for automobile safety belt mandrel housing | |
| CN210649902U (en) | Grinding device is used in auto-parts processing | |
| CN217619669U (en) | Machine-building is with polisher that is equipped with dustproof function | |
| CN214237334U (en) | Double-step workbench for machining of mechanical drilling | |
| CN213351893U (en) | Grinding device for machining with dust collection function | |
| CN218504195U (en) | Polishing device for cylindrical roller bearing of rolling mill | |
| CN219925579U (en) | Polishing device for electromechanical equipment parts | |
| CN217045972U (en) | Multifunctional integrated polishing working table | |
| CN216228415U (en) | Double-end-face grinding machine with automatic cleaning function for precision machining | |
| CN218904754U (en) | Grinding machine | |
| CN213004574U (en) | Non ferrous metal burnishing device | |
| CN215357603U (en) | Precision machining is with high parallel surface grinding machine of machining precision | |
| CN220881853U (en) | Mechanical accessory polishing equipment | |
| CN213615688U (en) | Double-end-face grinding machine with automatic cleaning function | |
| CN218110343U (en) | Electromagnetic chuck shell polishing and grinding device | |
| CN209936692U (en) | High-precision rack grinding machine | |
| CN220074326U (en) | Polishing machine with dust removal effect | |
| CN218803158U (en) | High-drilling-precision building engineering equipment | |
| CN210160970U (en) | Shaft part machining equipment | |
| CN220094011U (en) | Handle polishing device for production of children electric motor car | |
| CN216707044U (en) | Grinding machine convenient to clean | |
| CN213946013U (en) | Polishing device for machining transmission part with good dust removal effect | |
| CN220718911U (en) | Car A post polishing jig | |
| CN222037956U (en) | Hydraulic fitting fine grinding device |
Legal Events
| Date | Code | Title | Description |
|---|---|---|---|
| GR01 | Patent grant | ||
| GR01 | Patent grant |