CN217617456U - 一种可调节切角的钢筋拉直切断工装 - Google Patents
一种可调节切角的钢筋拉直切断工装 Download PDFInfo
- Publication number
- CN217617456U CN217617456U CN202221178564.0U CN202221178564U CN217617456U CN 217617456 U CN217617456 U CN 217617456U CN 202221178564 U CN202221178564 U CN 202221178564U CN 217617456 U CN217617456 U CN 217617456U
- Authority
- CN
- China
- Prior art keywords
- cutting
- fixed
- box
- rotary drum
- reinforcing bar
- Prior art date
- Legal status (The legal status is an assumption and is not a legal conclusion. Google has not performed a legal analysis and makes no representation as to the accuracy of the status listed.)
- Expired - Fee Related
Links
- 229910000831 Steel Inorganic materials 0.000 title claims description 24
- 239000010959 steel Substances 0.000 title claims description 24
- 230000003014 reinforcing effect Effects 0.000 claims abstract description 21
- 238000005096 rolling process Methods 0.000 claims abstract description 12
- 230000005540 biological transmission Effects 0.000 claims abstract description 7
- 230000000694 effects Effects 0.000 claims description 4
- 230000002787 reinforcement Effects 0.000 claims 2
- 210000001503 joint Anatomy 0.000 claims 1
- 230000000737 periodic effect Effects 0.000 abstract description 3
- 238000004898 kneading Methods 0.000 description 2
- 238000005452 bending Methods 0.000 description 1
- 230000007547 defect Effects 0.000 description 1
- 238000010586 diagram Methods 0.000 description 1
- 238000005516 engineering process Methods 0.000 description 1
- 230000001360 synchronised effect Effects 0.000 description 1
- 238000004804 winding Methods 0.000 description 1
Images
Landscapes
- Sawing (AREA)
Abstract
本实用新型属于钢筋加工技术领域,尤其为一种可调节切角的钢筋拉直切断工装,包括箱体,所述箱体的前后侧内壁上转动设置有两个矫直辊和两个辅助辊,所述箱体的前侧固定设置有驱动电机,所述驱动电机的输出轴固定设置在对应的矫直辊的顶端,两个矫直辊的后端均固定设置有链轮,两个链轮上传动连接有同一个传动链。本实用新型结构设计合理,通过转动盘、固定槽、锁死杆、横移板和驱动丝杆的配合,便于根据需要对切割刀与钢筋之间的角度进行调节,以便切出不同切角的钢筋,通过伺服电机、主动齿轮、从动齿轮、凸轮、升降板、复位弹簧、连接杆和切割刀的配合,可对钢筋进行周期性的等段切割,保证了切割的质量。
Description
技术领域
本实用新型涉及钢筋加工技术领域,尤其涉及一种可调节切角的钢筋拉直切断工装。
背景技术
钢筋在运输和使用前均是缠绕在滚筒上的,造成钢筋弯曲变形,在使用时需要使用调直机对钢筋进行调直作业,然后钢筋拉直后需要根据实际使用需求进行切断作业。
然而现有的钢筋拉直切断工装在使用时,大都只能把钢筋切成平头的钢筋,但在实际使用时,有时需要把钢筋的切口切割成倾角,现有的钢筋拉直切断工装不便对切割刀的角度进行调节,导致不便根据需要切割呈不同角度的切口,降低了工装的适用性,因此我们提出了一种可调节切角的钢筋拉直切断工装用于解决上述问题。
实用新型内容
本实用新型的目的是为了解决上述中的缺点,而提出的一种可调节切角的钢筋拉直切断工装。
为了实现上述目的,本实用新型采用了如下技术方案:
一种可调节切角的钢筋拉直切断工装,包括箱体,所述箱体的前后侧内壁上转动设置有两个矫直辊和两个辅助辊,所述箱体的前侧固定设置有驱动电机,所述驱动电机的输出轴固定设置在对应的矫直辊的顶端,两个矫直辊的后端均固定设置有链轮,两个链轮上传动连接有同一个传动链,所述箱体的顶部转动设置有空心转筒,所述空心转筒的顶部固定设置有转动盘,所述转动盘的外侧开设有多个固定槽,所述箱体的顶部开设有凹槽,所述凹槽的两侧内壁上转动设置有同一个驱动丝杆,所述驱动丝杆的外侧螺纹套设有横移板,所述横移板的一侧固定设置有锁死杆,所述锁死杆活动卡接在对应的固定槽内,所述空心转筒的后侧内壁上固定设置有伺服电机,所述伺服电机的输出轴上固定设置有主动齿轮,所述空心转筒的后侧内壁上转动设置有从动齿轮,所述主动齿轮与从动齿轮相啮合,所述从动齿轮的前侧固定设置有凸轮,所述凸轮的底部活动抵接有升降板,所述升降板的底部与空心转筒的底部内壁上固定设置有两个复位弹簧,所述升降板的底部固定设置有连接杆,所述连接杆的底端固定设置有切割刀。
优选的,所述箱体的顶部固定设置有支撑板,所述支撑板的顶部固定设置有切割案板。
优选的,所述箱体的底部活动放置有收集箱,所述收集箱位于切割案板的下方。
优选的,所述空心转筒的两侧内壁上均开设有导向槽,所述升降板滑动套设在两个导向槽内。
优选的,所述箱体的顶部固定设置轴承,所述轴承的内圈固定套设在空心转筒的外侧。
优选的,所述转动盘的顶部固定设置有把手,所述驱动丝杆的一端固定设置有手轮。
本实用新型中,所述的一种可调节切角的钢筋拉直切断工装,通过驱动电机、链轮、传动链、矫直辊和辅助辊的配合,可边对钢筋进行输送,便对钢筋进行矫直作业;
本实用新型中,所述的一种可调节切角的钢筋拉直切断工装,通过转动盘、固定槽、锁死杆、横移板和驱动丝杆的配合,便于根据需要对切割刀与钢筋之间的角度进行调节,以便切出不同切角的钢筋,通过伺服电机、主动齿轮、从动齿轮、凸轮、升降板、复位弹簧、连接杆和切割刀的配合,可对钢筋进行周期性的等段切割,保证了切割的质量;
本实用新型结构设计合理,通过转动盘、固定槽、锁死杆、横移板和驱动丝杆的配合,便于根据需要对切割刀与钢筋之间的角度进行调节,以便切出不同切角的钢筋,通过伺服电机、主动齿轮、从动齿轮、凸轮、升降板、复位弹簧、连接杆和切割刀的配合,可对钢筋进行周期性的等段切割,保证了切割的质量。
附图说明
图1为本实用新型提出的一种可调节切角的钢筋拉直切断工装的结构示意图;
图2为本实用新型提出的一种可调节切角的钢筋拉直切断工装的剖视图;
图3为本实用新型提出的一种可调节切角的钢筋拉直切断工装的箱体的后视图;
图4为本实用新型提出的一种可调节切角的钢筋拉直切断工装的A部分的结构示意图。
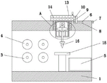
图中:1、箱体;2、驱动电机;3、矫直辊;4、辅助辊;5、收集箱;6、驱动丝杆;7、手轮;8、凹槽;9、横移板;10、锁死杆;11、连接杆;12、复位弹簧;13、转动盘;14、固定槽;15、切割案板;16、切割刀;17、链轮;18、传动链;19、伺服电机;20、主动齿轮;21、从动齿轮;22、凸轮;23、空心转筒;24、升降板。
具体实施方式
下面将结合本实用新型实施例中的附图,对本实用新型实施例中的技术方案进行清楚、完整地描述,显然,所描述的实施例仅仅是本实用新型一部分实施例,而不是全部的实施例。
参照图1-4,一种可调节切角的钢筋拉直切断工装,包括箱体1,箱体1的前后侧内壁上转动设置有两个矫直辊3和两个辅助辊4,箱体1的前侧固定设置有驱动电机2,驱动电机2的输出轴固定设置在对应的矫直辊3的顶端,两个矫直辊3的后端均固定设置有链轮17,两个链轮17上传动连接有同一个传动链18,通过驱动电机2,带动了一个矫直辊3的转动,在链轮17和传动链18的传动下,带动了两个矫直辊3的同步转动,在两个辅助辊4的辅助下,不仅可对钢筋进行矫直,还可把矫直后的钢筋向右输送;
箱体1的顶部转动设置有空心转筒23,空心转筒23的顶部固定设置有转动盘13,转动盘13的外侧开设有多个固定槽14,箱体1的顶部开设有凹槽8,凹槽8的两侧内壁上转动设置有同一个驱动丝杆6,驱动丝杆6的外侧螺纹套设有横移板9,横移板9的一侧固定设置有锁死杆10,锁死杆10活动卡接在对应的固定槽14内,根据需要切角的角度,通过把手转动转动盘13,转动盘13带动了空心转筒23和切割刀16的转动,进而可对切割刀16的切割角度进行调节,当角度调节好后,通过手轮7,转动驱动丝杆6,驱动丝杆6带动了横移板9和锁死杆10的左移并卡接在对应的转动盘13所开设的固定槽14内,进而可对转动盘13和切割刀16进行固定;
空心转筒23的后侧内壁上固定设置有伺服电机19,伺服电机19的输出轴上固定设置有主动齿轮20,空心转筒23的后侧内壁上转动设置有从动齿轮21,主动齿轮20与从动齿轮21相啮合,从动齿轮21的前侧固定设置有凸轮22,凸轮22的底部活动抵接有升降板24,升降板24的底部与空心转筒23的底部内壁上固定设置有两个复位弹簧12,升降板24的底部固定设置有连接杆11,连接杆11的底端固定设置有切割刀16,通过伺服电机19带动了主动齿轮20的转动,主动齿轮20带动了从动齿轮21和凸轮22的转动,在转动的凸轮22和复位弹簧12的作用下,驱动了升降板24、连接杆11和切割刀16做往复上下运动,进而可对钢筋进行周期性的等段切割,保证了切割的质量,切割后的钢筋则掉落到收集箱5内进行收集。
本实用新型中,箱体1的顶部固定设置有支撑板,支撑板的顶部固定设置有切割案板15,便于对钢筋进行支撑,便于切割刀16进行切割。
本实用新型中,箱体1的底部活动放置有收集箱5,收集箱5位于切割案板15的下方,便于对切割后的钢筋进行收集。
本实用新型中,空心转筒23的两侧内壁上均开设有导向槽,升降板24滑动套设在两个导向槽内,便于对升降板24进行导向,使其移动的更加稳定顺畅。
本实用新型中,箱体1的顶部固定设置轴承,轴承的内圈固定套设在空心转筒23的外侧,可对空心转筒23进行支撑,使其旋转的更加平稳顺畅。
本实用新型中,转动盘13的顶部固定设置有把手,驱动丝杆6的一端固定设置有手轮7,通过把手,便于人员转动转动盘13,通过手轮7,便于人员转动驱动丝杆6。
本实用新型中,在工作时,根据需要切角的角度,通过把手转动转动盘13,转动盘13带动了空心转筒23和切割刀16的转动,进而可对切割刀16的切割角度进行调节,当角度调节好后,通过手轮7,转动驱动丝杆6,驱动丝杆6带动了横移板9和锁死杆10的左移并卡接在对应的转动盘13所开设的固定槽14内,进而可对转动盘13和切割刀16进行固定,然后启动驱动电机2,通过驱动电机2,带动了一个矫直辊3的转动,在链轮17和传动链18的传动下,带动了两个矫直辊3的同步转动,在两个辅助辊4的辅助下,不仅可对钢筋进行矫直,还可把矫直后的钢筋输送到切割案板15上,同时通过伺服电机19带动了主动齿轮20的转动,主动齿轮20带动了从动齿轮21和凸轮22的转动,在转动的凸轮22和复位弹簧12的作用下,驱动了升降板24、连接杆11和切割刀16做往复上下运动,进而可对钢筋进行周期性的等段切割,保证了切割的质量,切割后的钢筋则掉落到收集箱5内进行收集。
Claims (6)
1.一种可调节切角的钢筋拉直切断工装,包括箱体(1),其特征在于,所述箱体(1)的前后侧内壁上转动设置有两个矫直辊(3)和两个辅助辊(4),所述箱体(1)的前侧固定设置有驱动电机(2),所述驱动电机(2)的输出轴固定设置在对应的矫直辊(3)的顶端,两个矫直辊(3)的后端均固定设置有链轮(17),两个链轮(17)上传动连接有同一个传动链(18),所述箱体(1)的顶部转动设置有空心转筒(23),所述空心转筒(23)的顶部固定设置有转动盘(13),所述转动盘(13)的外侧开设有多个固定槽(14),所述箱体(1)的顶部开设有凹槽(8),所述凹槽(8)的两侧内壁上转动设置有同一个驱动丝杆(6),所述驱动丝杆(6)的外侧螺纹套设有横移板(9),所述横移板(9)的一侧固定设置有锁死杆(10),所述锁死杆(10)活动卡接在对应的固定槽(14)内,所述空心转筒(23)的后侧内壁上固定设置有伺服电机(19),所述伺服电机(19)的输出轴上固定设置有主动齿轮(20),所述空心转筒(23)的后侧内壁上转动设置有从动齿轮(21),所述主动齿轮(20)与从动齿轮(21)相啮合,所述从动齿轮(21)的前侧固定设置有凸轮(22),所述凸轮(22)的底部活动抵接有升降板(24),所述升降板(24)的底部与空心转筒(23)的底部内壁上固定设置有两个复位弹簧(12),所述升降板(24)的底部固定设置有连接杆(11),所述连接杆(11)的底端固定设置有切割刀(16)。
2.根据权利要求1所述的一种可调节切角的钢筋拉直切断工装,其特征在于,所述箱体(1)的顶部固定设置有支撑板,所述支撑板的顶部固定设置有切割案板(15)。
3.根据权利要求1所述的一种可调节切角的钢筋拉直切断工装,其特征在于,所述箱体(1)的底部活动放置有收集箱(5),所述收集箱(5)位于切割案板(15)的下方。
4.根据权利要求1所述的一种可调节切角的钢筋拉直切断工装,其特征在于,所述空心转筒(23)的两侧内壁上均开设有导向槽,所述升降板(24)滑动套设在两个导向槽内。
5.根据权利要求1所述的一种可调节切角的钢筋拉直切断工装,其特征在于,所述箱体(1)的顶部固定设置轴承,所述轴承的内圈固定套设在空心转筒(23)的外侧。
6.根据权利要求1所述的一种可调节切角的钢筋拉直切断工装,其特征在于,所述转动盘(13)的顶部固定设置有把手,所述驱动丝杆(6)的一端固定设置有手轮(7)。
Priority Applications (1)
| Application Number | Priority Date | Filing Date | Title |
|---|---|---|---|
| CN202221178564.0U CN217617456U (zh) | 2022-05-17 | 2022-05-17 | 一种可调节切角的钢筋拉直切断工装 |
Applications Claiming Priority (1)
| Application Number | Priority Date | Filing Date | Title |
|---|---|---|---|
| CN202221178564.0U CN217617456U (zh) | 2022-05-17 | 2022-05-17 | 一种可调节切角的钢筋拉直切断工装 |
Publications (1)
| Publication Number | Publication Date |
|---|---|
| CN217617456U true CN217617456U (zh) | 2022-10-21 |
Family
ID=83653814
Family Applications (1)
| Application Number | Title | Priority Date | Filing Date |
|---|---|---|---|
| CN202221178564.0U Expired - Fee Related CN217617456U (zh) | 2022-05-17 | 2022-05-17 | 一种可调节切角的钢筋拉直切断工装 |
Country Status (1)
| Country | Link |
|---|---|
| CN (1) | CN217617456U (zh) |
-
2022
- 2022-05-17 CN CN202221178564.0U patent/CN217617456U/zh not_active Expired - Fee Related
Similar Documents
| Publication | Publication Date | Title |
|---|---|---|
| CN217617456U (zh) | 一种可调节切角的钢筋拉直切断工装 | |
| CN213826621U (zh) | 一种光伏支架生产用c型钢冲孔装置 | |
| CN213317357U (zh) | 一种建筑用u型折弯机 | |
| CN210614703U (zh) | 一种不锈钢管体矫直装置 | |
| CN113500410B (zh) | 一种基于智能加工的断桥铝加工的辊压加工装置 | |
| CN213530953U (zh) | 一种剪板方向可调节的多功能自动剪板机 | |
| CN213437495U (zh) | 一种龙门钣金外壳加工切割装置 | |
| CN221320452U (zh) | 一种服装制版裁剪机 | |
| CN218927085U (zh) | 一种板材切割机的辅助上料装置 | |
| CN201217026Y (zh) | 多角度钢材弯曲机 | |
| CN212419231U (zh) | 一种数控滚弯机 | |
| CN218926067U (zh) | 一种钢筋调直切断装置 | |
| CN210759710U (zh) | 一种可配置记忆控制系统的凹版印刷机刮刀装置 | |
| CN219274608U (zh) | 一种不锈钢型材的高效切断装置 | |
| CN221657839U (zh) | 一种钢筋调直截断机 | |
| CN221388637U (zh) | 一种施工用钢筋弯折设备 | |
| CN222519850U (zh) | 一种钢筋调直箍筋机 | |
| CN215145525U (zh) | 临时支座钢桶切割装置 | |
| CN222020574U (zh) | 一种建筑施工钢筋矫正装置 | |
| CN218532398U (zh) | 一种钢质门加工用板件压弯机 | |
| CN222450469U (zh) | 一种艾草轻姿贴加工用裁剪装置 | |
| CN217964514U (zh) | 一种切断机 | |
| CN221336905U (zh) | 链条生产设备的裁切装置 | |
| CN221364934U (zh) | 纸套筒自动切割机 | |
| CN222470906U (zh) | 一种金属加工用金属板裁切装置 |
Legal Events
| Date | Code | Title | Description |
|---|---|---|---|
| GR01 | Patent grant | ||
| GR01 | Patent grant | ||
| CF01 | Termination of patent right due to non-payment of annual fee |
Granted publication date: 20221021 |
|
| CF01 | Termination of patent right due to non-payment of annual fee |