CN217613784U - Dust treatment device for sand produced by transportation machine - Google Patents
Dust treatment device for sand produced by transportation machine Download PDFInfo
- Publication number
- CN217613784U CN217613784U CN202221642582.XU CN202221642582U CN217613784U CN 217613784 U CN217613784 U CN 217613784U CN 202221642582 U CN202221642582 U CN 202221642582U CN 217613784 U CN217613784 U CN 217613784U
- Authority
- CN
- China
- Prior art keywords
- chamber
- water
- dust
- washing chamber
- dust removal
- Prior art date
- Legal status (The legal status is an assumption and is not a legal conclusion. Google has not performed a legal analysis and makes no representation as to the accuracy of the status listed.)
- Active
Links
Images
Landscapes
- Sewage (AREA)
Abstract
本实用新型公开了一种运输机制砂产生粉尘处理装置,包括除尘箱,所述除尘箱中设置有水洗腔,所述水洗腔顶部设置有喷淋头,所述水洗腔中交替固定安装有流水板,所述流水板上设置有,所述水洗腔底部设置有沉淀腔和循环腔,所述沉淀腔和所述循环腔下半部被隔开,沙尘进入除尘箱中后融入水中,并沿着阶梯状流水板不断留下,途中经过被留下部分固体物,直到流入沉淀腔中进行沉淀,沉淀腔中上层较为清澈的水流入循环腔中,再通过抽水机抽送到顶部进行喷洒,在实现解决粉尘污染的问题的同时,还节省了水资源。
The utility model discloses a dust processing device for transporting machine-made sand, comprising a dust removal box, a water washing cavity is arranged in the dust removal box, a spray head is arranged on the top of the water washing cavity, and flowing water is alternately and fixedly installed in the water washing cavity The flow plate is provided with a sedimentation chamber and a circulation chamber at the bottom of the washing chamber, the sedimentation chamber and the lower half of the circulation chamber are separated, and the sand and dust enter the dust removal box and merge into the water, and It is left continuously along the stepped flow plate, and some solids are left on the way until it flows into the sedimentation chamber for precipitation. The relatively clear water in the upper layer of the sedimentation chamber flows into the circulation chamber, and then is pumped to the top by the water pump for spraying. While solving the problem of dust pollution, it also saves water resources.
Description
技术领域technical field
本实用新型涉及制砂领域,特别涉及一种运输机制砂产生粉尘处理装置。The utility model relates to the field of sand making, in particular to a dust processing device produced by transporting machine-made sand.
背景技术Background technique
干式制砂流程中,会有大量的沙尘飘散到空气中,尤其是传送带与传送带之间及传送带与制砂设备之间进行物料的传递时,砂石之间剧烈碰撞,将大量的灰尘散播到空气中,对于生产现场的环境及现场工作人员都会造成一定影响,而如果用水吸附沙尘,需要不断将水喷洒在砂石上,且使用过的水较难回收,导致水资源的大量浪费。In the dry sand making process, a large amount of sand and dust will be scattered into the air, especially when materials are transferred between the conveyor belt and the conveyor belt and between the conveyor belt and the sand making equipment, the sand and gravel collide violently, causing a large amount of dust If it is spread into the air, it will have a certain impact on the environment of the production site and on-site staff. If water is used to absorb sand and dust, water needs to be continuously sprayed on the sand and gravel, and the used water is difficult to recover, resulting in a lot of waste of water resources. .
发明内容SUMMARY OF THE INVENTION
针对现有技术存在的不足,本实用新型的目的在于提供一种运输机制砂产生粉尘处理装置,解决了该领域内的现在的痛点。In view of the deficiencies in the prior art, the purpose of the present invention is to provide a device for processing machine-made sand to generate dust, which solves the current pain points in this field.
本实用新型的上述技术目的是通过以下技术方案得以实现的:The above-mentioned technical purpose of the present utility model is achieved through the following technical solutions:
一种运输机制砂产生粉尘处理装置,包括除尘箱,所述除尘箱中设置有水洗腔,所述水洗腔顶部设置有喷淋头,所述水洗腔中交替固定安装有流水板,所述流水板上设置有,所述水洗腔底部设置有沉淀腔和循环腔,所述沉淀腔和所述循环腔下半部被隔开,所述沉淀腔与所述循环腔之间设置有过滤板进行过滤,位于最底部的所述流水板末端插入所述沉淀腔中且低于所述水洗腔中最低水位。A dust processing device for transporting machine-made sand, comprising a dust removal box, a water washing chamber is arranged in the dust removal box, a sprinkler head is arranged on the top of the water washing chamber, and flowing water plates are alternately and fixedly installed in the water washing chamber, and the flowing water The bottom of the washing chamber is provided with a sedimentation chamber and a circulation chamber, the sedimentation chamber and the lower half of the circulation chamber are separated, and a filter plate is arranged between the sedimentation chamber and the circulation chamber. For filtering, the end of the flow plate at the bottom is inserted into the sedimentation chamber and is lower than the lowest water level in the water washing chamber.
所述除尘箱设置于出料口一侧,出料口下方为传送带,出料口与传送带之间设置有遮挡框,所述遮挡框内部与所述水洗腔连通,所述遮挡框与所述水洗腔连接处设置有斜面朝下的筛网,所述筛网下方固定安装有接受板,所述遮挡框远离所述除尘箱一侧设置有风机。The dust removal box is arranged on one side of the discharge port, and a conveyor belt is located below the discharge port. A blocking frame is arranged between the discharge port and the conveyor belt. The interior of the blocking frame is communicated with the washing chamber, and the blocking frame is connected to the A screen with an inclined surface facing downward is arranged at the connection of the washing chamber, a receiving plate is fixedly installed under the screen, and a fan is arranged on the side of the shielding frame away from the dust box.
所述循环腔底部设置有抽水机,所述抽水机外侧连接有导水管,所述导水管与所述喷淋头相连。A water pump is arranged at the bottom of the circulation cavity, and a water guide pipe is connected to the outside of the water pump, and the water guide pipe is connected to the shower head.
所述沉淀腔底部设置有排污口。The bottom of the sedimentation chamber is provided with a sewage outlet.
综上所述,本实用新型对比于现有技术的有益效果为:该装置设置在石料从出料口落到传送带上的位置处,遮挡框将坠落点周围封闭,只留传送带输送方向一个开口,此开口处设置有风机能将此处产生的沙尘吹入除尘箱中,避免外泄,沙尘进入除尘箱中后融入喷洒的水中,并沿着阶梯状流水板不断留下,途中经过被留下部分固体物,直到流入沉淀腔中进行沉淀,沉淀腔中上层较为清澈的水流入循环腔中,再通过抽水机抽送到顶部进行喷洒,在实现解决粉尘污染的问题的同时,还节省了水资源。To sum up, the beneficial effects of the present utility model compared with the prior art are: the device is arranged at the position where the stone material falls from the discharge port to the conveyor belt, the shielding frame closes the surrounding of the falling point, leaving only one opening in the conveying direction of the conveyor belt , There is a fan at this opening, which can blow the sand and dust generated here into the dust box to avoid leakage. After entering the dust box, the sand and dust merge into the sprayed water, and continue to stay along the stepped flow plate, passing by on the way. Some solids are left until it flows into the sedimentation chamber for precipitation. The relatively clear water in the upper layer of the sedimentation chamber flows into the circulation chamber, and then is pumped to the top by the water pump for spraying, which not only solves the problem of dust pollution, but also saves money. water resources.
附图说明Description of drawings
通过参考附图阅读下文的详细描述,本实用新型示例性实施方式的上述以及其他目的、特征和优点将变得易于理解。在附图中,以示例性而非限制性的方式示出了本实用新型的若干实施方式,其中:The above and other objects, features and advantages of exemplary embodiments of the present invention will become readily understood by reading the following detailed description with reference to the accompanying drawings. In the accompanying drawings, several embodiments of the present invention are shown by way of example and not limitation, wherein:
图1为一种运输机制砂产生粉尘处理装置的结构示意图。FIG. 1 is a schematic structural diagram of a dust processing device for transporting machine-made sand.
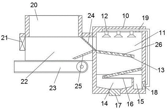
附图标记说明:10、除尘箱;11、水洗腔;12、喷淋头;13、流水板;14、沉淀腔;15、循环腔;16、过滤板;17、排污口;18、抽水机;19、导水管;20、出料口;21、风机;22、遮挡框;23、传送带;24、筛网;25、接受板。Description of reference numerals: 10, dust removal box; 11, water washing chamber; 12, spray head; 13, flow plate; 14, sedimentation chamber; 15, circulation chamber; 16, filter plate; 17, sewage outlet; 18, water pump; 19. Water conduit; 20. Outlet; 21. Fan; 22. Blocking frame; 23. Conveyor belt; 24. Screen; 25. Receiving plate.
具体实施方式Detailed ways
以下结合附图对实用新型作进一步详细说明。The utility model is described in further detail below in conjunction with the accompanying drawings.
一种运输机制砂产生粉尘处理装置,包括除尘箱10,所述除尘箱10中设置有水洗腔11,所述水洗腔11顶部设置有喷淋头12,所述喷淋头12能对进入所述水洗腔11中的沙尘气体进行喷淋,所述水洗腔11中交替固定安装有若干流水板13,所述流水板13上设置有26,沙尘混到所述喷淋头12喷出的水中后沿着流水板13流动,所述26能在泥水流过时留下部分沉淀物,所述水洗腔11底部设置有沉淀腔14和循环腔15,所述沉淀腔14和所述循环腔15下半部被隔开,所述沉淀腔14与所述循环腔15之间设置有过滤板16进行过滤,位于最底部的所述流水板13末端插入所述沉淀腔14中且低于所述水洗腔11中最低水位,以避免水流入所述沉淀腔14中破坏其中的稳定。A dust processing device for transporting machine-made sand includes a
所述除尘箱10设置于出料口20一侧,出料口20下方为传送带23,出料口20与传送带23之间设置有遮挡框22,将出料口20与传送带23之间三面封闭,所述遮挡框22内部与所述水洗腔11连通,所述遮挡框22与所述水洗腔11连接处设置有斜面朝下的筛网24,所述筛网24能将颗粒较大的砂石拦截,所述筛网24下方固定安装有接受板25,所述遮挡框22远离所述除尘箱10一侧设置有风机21,所述风机21能将扬起的灰尘向所述筛网24吹动,经过所述筛网24过滤后进入所述水洗腔11中。The
所述循环腔15底部设置有抽水机18,所述抽水机18外侧连接有导水管19,所述导水管19与所述喷淋头12相连。A
所述沉淀腔14底部设置有排污口17,以便于将所述沉淀腔14中的沉淀物清理出去。A
以上所述仅是本实用新型的示范性实施方式,而非用于限制本实用新型的保护范围,本实用新型的保护范围由所附的权利要求确定。The above descriptions are only exemplary embodiments of the present invention, and are not intended to limit the protection scope of the present invention, which is determined by the appended claims.
Claims (4)
Priority Applications (1)
| Application Number | Priority Date | Filing Date | Title |
|---|---|---|---|
| CN202221642582.XU CN217613784U (en) | 2022-06-29 | 2022-06-29 | Dust treatment device for sand produced by transportation machine |
Applications Claiming Priority (1)
| Application Number | Priority Date | Filing Date | Title |
|---|---|---|---|
| CN202221642582.XU CN217613784U (en) | 2022-06-29 | 2022-06-29 | Dust treatment device for sand produced by transportation machine |
Publications (1)
| Publication Number | Publication Date |
|---|---|
| CN217613784U true CN217613784U (en) | 2022-10-21 |
Family
ID=83631566
Family Applications (1)
| Application Number | Title | Priority Date | Filing Date |
|---|---|---|---|
| CN202221642582.XU Active CN217613784U (en) | 2022-06-29 | 2022-06-29 | Dust treatment device for sand produced by transportation machine |
Country Status (1)
| Country | Link |
|---|---|
| CN (1) | CN217613784U (en) |
-
2022
- 2022-06-29 CN CN202221642582.XU patent/CN217613784U/en active Active
Similar Documents
| Publication | Publication Date | Title |
|---|---|---|
| CN210884382U (en) | Conveyor is used in grit production | |
| CN104785361A (en) | A water-saving and secondary cleaning ore washing machine | |
| KR102081851B1 (en) | Vortex type Combined Screening and Grit Removal system having a scum removal device | |
| CN110064266A (en) | Vanadium trioxide produces tail gas dust cleaning apparatus | |
| CN207024979U (en) | A kind of ceramic product high-effective dust-removing reclaims tapping equipment | |
| CN217613784U (en) | Dust treatment device for sand produced by transportation machine | |
| CN111231901B (en) | A dust treatment device for building construction site | |
| CN104689664B (en) | Dust wastewater treatment method for green production of premixed concrete | |
| KR101512986B1 (en) | Rovingness wet process impinger of thermal power plant | |
| CN217549249U (en) | Sewage treatment plant confluence system overflow handles facility based on just heavy pond is reformed transform | |
| CN107626682A (en) | Blast furnace ore tank regional water clean and reuse utilizes system and its application method | |
| CN206613311U (en) | A kind of paint mist treatment device | |
| CN105920955A (en) | Blowing-drawing-type dust removal system for underground space | |
| CN204848340U (en) | Double -chain waste water slagging -off machine | |
| CN105771486B (en) | Centrifugal dust removal device | |
| CN212440165U (en) | A water circulation treatment system for washing equipment of cloth machine | |
| CN211635760U (en) | Concrete stone unloading, absorbing and dust-raising filtering system | |
| CN211418677U (en) | Grit conveyer belt knot material cleaning device | |
| CN207641942U (en) | Blast furnace ore tank regional water clean and reuse utilizes system | |
| CN209173624U (en) | A local spray dedusting device for metal and nonmetal mine beneficiation plant | |
| CN218973164U (en) | Dust collector of horizontal line stoving section of printed circuit board | |
| CN106955544A (en) | A kind of energy-efficient wet dust collector and its dust collection method | |
| CN207521213U (en) | a paint room | |
| CN207755931U (en) | Self-priming cyclone water curtain paint mist treatment device | |
| CN205683772U (en) | Coating exhaust gas treatment equipment |
Legal Events
| Date | Code | Title | Description |
|---|---|---|---|
| GR01 | Patent grant | ||
| GR01 | Patent grant |
