CN217606336U - 一种水冷散热底座 - Google Patents
一种水冷散热底座 Download PDFInfo
- Publication number
- CN217606336U CN217606336U CN202221860872.1U CN202221860872U CN217606336U CN 217606336 U CN217606336 U CN 217606336U CN 202221860872 U CN202221860872 U CN 202221860872U CN 217606336 U CN217606336 U CN 217606336U
- Authority
- CN
- China
- Prior art keywords
- heat
- conducting plate
- heat dissipation
- water
- notebook computer
- Prior art date
- Legal status (The legal status is an assumption and is not a legal conclusion. Google has not performed a legal analysis and makes no representation as to the accuracy of the status listed.)
- Active
Links
- 230000017525 heat dissipation Effects 0.000 title claims abstract description 54
- 238000001816 cooling Methods 0.000 title claims abstract description 18
- XLYOFNOQVPJJNP-UHFFFAOYSA-N water Substances O XLYOFNOQVPJJNP-UHFFFAOYSA-N 0.000 claims abstract description 29
- 238000009434 installation Methods 0.000 claims abstract description 5
- 210000001503 joint Anatomy 0.000 claims 1
- 230000000694 effects Effects 0.000 abstract description 4
- 239000007788 liquid Substances 0.000 abstract description 4
- 239000002826 coolant Substances 0.000 abstract description 3
- 239000000110 cooling liquid Substances 0.000 description 14
- 238000007664 blowing Methods 0.000 description 2
- 238000010586 diagram Methods 0.000 description 2
- 238000010030 laminating Methods 0.000 description 2
- 238000005057 refrigeration Methods 0.000 description 2
- 238000010521 absorption reaction Methods 0.000 description 1
- 238000010438 heat treatment Methods 0.000 description 1
- 238000000034 method Methods 0.000 description 1
- 239000004065 semiconductor Substances 0.000 description 1
- 238000006467 substitution reaction Methods 0.000 description 1
Images
Landscapes
- Cooling Or The Like Of Electrical Apparatus (AREA)
Abstract
本实用新型提供了一种水冷散热底座,包括散热组件,所述散热组件包括导热板、四个滑块、弹簧、循环管、水泵、散热翅片、导向柱、安装槽、气孔和两个散热扇;所述导热板的内部开设有安装槽,所述气孔等距开设于导热板的上表面。本实用新型导热板对笔记本电脑底部的热量进行吸收,通过弹簧向上推动滑块,滑块带动导热板,进而使导热板始终贴合于笔记本电脑的底部,通过水泵驱动冷却液对导热板内的热量进行吸收,散热扇和气孔可以将笔记本电脑自身的散出的热风吸入至安装盒,因此通过导热板对笔记本底部的热量进行吸收、散热扇对笔记本电脑排出的热风进行导流,可以提高对笔记本电脑的散热效果。
Description
技术领域
本实用新型涉及一种散热底座,具体为水冷散热底座,属于散热装置技术领域。
背景技术
散热器是用来传导、释放热量的一系列装置的统称,主要有采暖散热器、计算机散热器,计算机散热器是将机械或其他器具在工作过程中产生的热量及时转移以避免影响其正常工作的装置或仪器,常见的散热器依据散热方式可以分为风冷,热管散热器,液冷,半导体制冷,压缩机制冷等多种类型。
笔记本电脑在工作时会产生较多的热量,因此需要通过散热装置加速热量的排出,一般是在支撑板上分布如干个散热风扇,通过风扇吹风或吸风,加速笔记本底部的空气流通,达到散热的效果。
由于笔记本电脑在工作时,热风大多从底部排出,因此笔记本电脑底部的温度往往较高,而仅仅通过风扇吹风或吸风的方式,无法降低笔记本电脑底部的温度,进而导致散热效果较差,为此,提出一种水冷散热底座。
实用新型内容
有鉴于此,本实用新型希望提供一种水冷散热底座,以解决或缓解现有技术中存在的技术问题,至少提供一种有益的选择。
本实用新型实施例的技术方案是这样实现的:一种水冷散热底座,包括散热组件,所述散热组件包括导热板、四个滑块、弹簧、循环管、水泵、散热翅片、导向柱、安装槽、气孔和两个散热扇;
所述导热板的内部开设有安装槽,所述气孔等距开设于导热板的上表面,四个所述滑块的相邻面对称固定连接于导热板的两侧,所述导向柱的一端贯穿滑块的上表面并与滑块滑动连接,所述弹簧套接于导向柱的外侧壁,所述弹簧的一端固定连接于滑块的下表面,所述循环管的外侧壁嵌接于安装槽的内侧壁,所述循环管和安装槽均呈S形,所述循环管的两端均贯穿导热板的下表面并延伸至导热板的下方,所述散热翅片等距固定连接于循环管的外侧壁,所述散热翅片位于导热板的下方。
进一步优选的,所述循环管延伸至导热板下方的两端分别与水泵的出水口和进水口连通,进而可以通过水泵驱动冷却液循环管内循环流动。
进一步优选的,所述导热板的外侧壁安装有支撑组件,所述支撑组件包括安装盒、开关组、四个滑槽、两个通槽和四个支撑座;
所述导热板的外侧壁滑动连接于安装盒的内侧壁,所述导热板的上表面位于安装盒上表面的上方,进而可以通过导热板对笔记本电脑底部的热量进行吸收。
进一步优选的,四个所述滑槽对称开设于安装盒的内壁两侧,两个所述通槽对称开设于安装盒的两侧,进而可以通过滑槽对滑块的位置进行限定。
进一步优选的,所述滑块的外侧壁滑动连接于滑槽的内侧壁,所述导向柱的两端分别固定连接于滑槽的内顶壁和内底壁,所述弹簧远离滑块的一端固定连接于滑槽的内底壁,进而可以通过弹簧推动导热板始终与笔记本电脑的底部贴合。
进一步优选的,两个所述散热扇分别安装于两个通槽的内侧壁,所述水泵位于安装盒的内部,进而可以通过散热扇将安装盒内的热量排出。
进一步优选的,所述开关组安装于安装盒的一侧,进而可以通过开关组控制水泵和散热扇工作。
进一步优选的,四个所述支撑座的上表面对称固定连接于安装盒的下表面,进而可以通过支撑座使安装盒整体稳定。
本实用新型实施例由于采用以上技术方案,其具有以下优点:本实用新型导热板对笔记本电脑底部的热量进行吸收,通过弹簧向上推动滑块,滑块带动导热板,进而使导热板始终贴合于笔记本电脑的底部,通过水泵驱动冷却液对导热板内的热量进行吸收,然后散热翅片将冷却液内的热量散发至安装盒内,通过散热扇和气孔可以将笔记本电脑自身的散出的热风吸入至安装盒并一同排出,因此通过导热板对笔记本底部的热量进行吸收、散热扇对笔记本电脑排出的热风进行导流,可以提高对笔记本电脑的散热效果。
上述概述仅仅是为了说明书的目的,并不意图以任何方式进行限制。除上述描述的示意性的方面、实施方式和特征之外,通过参考附图和以下的详细描述,本实用新型进一步的方面、实施方式和特征将会是容易明白的。
附图说明
为了更清楚地说明本申请实施例或现有技术中的技术方案,下面将对实施例或有技术描述中所需要使用的附图作简单地介绍,显而易见地,下面描述中的附图仅仅是本申请的一些实施例,对于本领域普通技术人员来讲,在不付出创造性劳动的前提下,还可以根据这些附图获得其他的附图。
图1为本实用新型的结构图;
图2为本实用新型的散热组件结构图;
图3为本实用新型的循环管结构图;
图4为本实用新型的导热板结构图;
图5为本实用新型的支撑组件结构图。
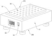
附图标记:101、散热组件;11、导热板;12、滑块;13、弹簧;14、循环管;15、水泵;16、散热翅片;17、导向柱;18、安装槽;19、气孔;20、散热扇;301、支撑组件;31、安装盒;32、开关组;34、滑槽;35、通槽;36、支撑座。
具体实施方式
在下文中,仅简单地描述了某些示例性实施例。正如本领域技术人员可认识到的那样,在不脱离本实用新型的精神或范围的情况下,可通过各种不同方式修改所描述的实施例。因此,附图和描述被认为本质上是示例性的而非限制性的。
下面结合附图对本实用新型的实施例进行详细说明。
如图1-5所示,本实用新型实施例提供了一种水冷散热底座,包括散热组件101,散热组件101包括导热板11、四个滑块12、弹簧13、循环管14、水泵15、散热翅片16、导向柱17、安装槽18、气孔19和两个散热扇20;
导热板11的内部开设有安装槽18,气孔19等距开设于导热板11的上表面,四个滑块12的相邻面对称固定连接于导热板11的两侧,导向柱17的一端贯穿滑块12的上表面并与滑块12滑动连接,弹簧13套接于导向柱17的外侧壁,弹簧13的一端固定连接于滑块12的下表面,循环管14的外侧壁嵌接于安装槽18的内侧壁,循环管14和安装槽18均呈S形,循环管14的两端均贯穿导热板11的下表面并延伸至导热板11的下方,散热翅片16等距固定连接于循环管14的外侧壁,散热翅片16位于导热板11的下方。
在一个实施例中,循环管14延伸至导热板11下方的两端分别与水泵15的出水口和进水口连通,循环管14的内部填充有冷却液,进而当水泵15工作时,循环管14内的冷却液循环流动,通过导热板11对笔记本电脑工作时产生的热量进行吸收,进而冷却液流动至安装槽18内时,通过冷却液可以吸收导热板11内的热量,当流出安装槽18后则可以通过散热翅片16进行将冷却液内的热量散发至安装盒31内,进而达到对笔记本电脑散热的目的。
在一个实施例中,导热板11的外侧壁安装有支撑组件301,支撑组件301包括安装盒31、开关组32、四个滑槽34、两个通槽35和四个支撑座36;
导热板11的外侧壁滑动连接于安装盒31的内侧壁,导热板11的上表面位于安装盒31上表面的上方,四个滑槽34对称开设于安装盒31的内壁两侧,两个通槽35对称开设于安装盒31的两侧,滑块12的外侧壁滑动连接于滑槽34的内侧壁,导向柱17的两端分别固定连接于滑槽34的内顶壁和内底壁,弹簧13远离滑块12的一端固定连接于滑槽34的内底壁,当安装盒31的表面放置笔记本电脑时,笔记本电脑的底部与导热板11的表面贴合,同时弹簧13推动滑块12沿着导向柱17向上移动,滑块12带动导热板11,进而可以使导热板11始终保持与笔记本电脑的底部贴合,以便通过导热板11吸收笔记本电脑散发的热量。
在一个实施例中,两个散热扇20分别安装于两个通槽35的内侧壁,水泵15位于安装盒31的内部,两个散热扇20的转动方向相反,进而当两个散热扇20工作时,安装盒31内形成负压,通过气孔19可以将外部的空气引入至安装盒31内,由于导热板11与笔记本电脑的底部贴合,因此笔记本电脑自身排出的热风则可以通过气孔19流入至安装盒31内,并在散热扇20的导流下排出。
在一个实施例中,开关组32安装于安装盒31的一侧,四个支撑座36的上表面对称固定连接于安装盒31的下表面,进而可以通过开关组32控制水泵15和散热扇20工作,通过支撑座36可以使安装盒31更稳定。
在一个实施例中,开关组32的电性输出端通过导线分别与水泵15和散热扇20的电性输入端电性连接,开关组32的电性输入端与外部电源连接,用以为水泵15和散热扇20供电。
本实用新型在工作时:将笔记本电脑放置于安装盒31上,笔记本电脑的底部向下压动导热板11并与导热板11贴合,通过弹簧13推动滑块12,滑块12推动导热板11,进而可以使导热板11始终与笔记本电脑的底部贴合,通过导热板11可以吸收笔记本电脑底部的热量,通过开关组32控制水泵15和散热扇20工作,水泵15工作时,可以使循环管14内的冷却液在循环管14内循环流动,当冷却液流动至安装槽18内时,冷却液则可以吸收导热板11内的热量,导热板11迅速冷却,进而可以继续吸收笔记本电脑产生的热量,当冷却液流动至散热翅片16位置时,散热翅片16则吸收冷却液内的热量并散发至安装盒31内,进而使冷却液的温度降低,以通过冷却液对导热板11进行循环降温,进而对笔记本电脑进行散热降温,当散热扇20工作时,安装盒31内形成负压,进而外部的空气可以通过气孔19流入至安装盒31内,由于导热板11与笔记本电脑的底部贴合,因此笔记本电脑自身排出的热风可以通过气孔19流入至安装盒31内,在散热扇20的导流下,经气孔19流入的热风和散热翅片16散发的热量均通过通槽35排出至安装盒31的外部,进而完成了循环散热工作。
以上所述,仅为本实用新型的具体实施方式,但本实用新型的保护范围并不局限于此,任何熟悉本技术领域的技术人员在本实用新型揭露的技术范围内,可轻易想到其各种变化或替换,这些都应涵盖在本实用新型的保护范围之内。因此,本实用新型的保护范围应以所述权利要求的保护范围为准。
Claims (8)
1.一种水冷散热底座,包括散热组件(101),其特征在于:所述散热组件(101)包括导热板(11)、四个滑块(12)、弹簧(13)、循环管(14)、水泵(15)、散热翅片(16)、导向柱(17)、安装槽(18)、气孔(19)和两个散热扇(20);
所述导热板(11)的内部开设有安装槽(18),所述气孔(19)等距开设于导热板(11)的上表面,四个所述滑块(12)的相邻面对称固定连接于导热板(11)的两侧,所述导向柱(17)的一端贯穿滑块(12)的上表面并与滑块(12)滑动连接,所述弹簧(13)套接于导向柱(17)的外侧壁,所述弹簧(13)的一端固定连接于滑块(12)的下表面,所述循环管(14)的外侧壁嵌接于安装槽(18)的内侧壁,所述循环管(14)和安装槽(18)均呈S形,所述循环管(14)的两端均贯穿导热板(11)的下表面并延伸至导热板(11)的下方,所述散热翅片(16)等距固定连接于循环管(14)的外侧壁,所述散热翅片(16)位于导热板(11)的下方。
2.根据权利要求1所述的一种水冷散热底座,其特征在于:所述循环管(14)延伸至导热板(11)下方的两端分别与水泵(15)的出水口和进水口连通。
3.根据权利要求2所述的一种水冷散热底座,其特征在于:所述导热板(11)的外侧壁安装有支撑组件(301),所述支撑组件(301)包括安装盒(31)、开关组(32)、四个滑槽(34)、两个通槽(35)和四个支撑座(36);
所述导热板(11)的外侧壁滑动连接于安装盒(31)的内侧壁,所述导热板(11)的上表面位于安装盒(31)上表面的上方。
4.根据权利要求3所述的一种水冷散热底座,其特征在于:四个所述滑槽(34)对称开设于安装盒(31)的内壁两侧,两个所述通槽(35)对称开设于安装盒(31)的两侧。
5.根据权利要求1所述的一种水冷散热底座,其特征在于:所述滑块(12)的外侧壁滑动连接于滑槽(34)的内侧壁,所述导向柱(17)的两端分别固定连接于滑槽(34)的内顶壁和内底壁,所述弹簧(13)远离滑块(12)的一端固定连接于滑槽(34)的内底壁。
6.根据权利要求1所述的一种水冷散热底座,其特征在于:两个所述散热扇(20)分别安装于两个通槽(35)的内侧壁,所述水泵(15)位于安装盒(31)的内部。
7.根据权利要求3所述的一种水冷散热底座,其特征在于:所述开关组(32)安装于安装盒(31)的一侧。
8.根据权利要求3所述的一种水冷散热底座,其特征在于:四个所述支撑座(36)的上表面对称固定连接于安装盒(31)的下表面。
Priority Applications (1)
| Application Number | Priority Date | Filing Date | Title |
|---|---|---|---|
| CN202221860872.1U CN217606336U (zh) | 2022-07-19 | 2022-07-19 | 一种水冷散热底座 |
Applications Claiming Priority (1)
| Application Number | Priority Date | Filing Date | Title |
|---|---|---|---|
| CN202221860872.1U CN217606336U (zh) | 2022-07-19 | 2022-07-19 | 一种水冷散热底座 |
Publications (1)
| Publication Number | Publication Date |
|---|---|
| CN217606336U true CN217606336U (zh) | 2022-10-18 |
Family
ID=83592445
Family Applications (1)
| Application Number | Title | Priority Date | Filing Date |
|---|---|---|---|
| CN202221860872.1U Active CN217606336U (zh) | 2022-07-19 | 2022-07-19 | 一种水冷散热底座 |
Country Status (1)
| Country | Link |
|---|---|
| CN (1) | CN217606336U (zh) |
Cited By (2)
| Publication number | Priority date | Publication date | Assignee | Title |
|---|---|---|---|---|
| CN115811857A (zh) * | 2022-11-15 | 2023-03-17 | 北京冠程科技有限公司 | 一种计算机网络安全控制装置 |
| CN118510221A (zh) * | 2024-04-17 | 2024-08-16 | 无锡市精瑞金属制品有限公司 | 一种变频器散热器 |
-
2022
- 2022-07-19 CN CN202221860872.1U patent/CN217606336U/zh active Active
Cited By (2)
| Publication number | Priority date | Publication date | Assignee | Title |
|---|---|---|---|---|
| CN115811857A (zh) * | 2022-11-15 | 2023-03-17 | 北京冠程科技有限公司 | 一种计算机网络安全控制装置 |
| CN118510221A (zh) * | 2024-04-17 | 2024-08-16 | 无锡市精瑞金属制品有限公司 | 一种变频器散热器 |
Similar Documents
| Publication | Publication Date | Title |
|---|---|---|
| CN217606336U (zh) | 一种水冷散热底座 | |
| CN207897301U (zh) | 一种电动工具无刷电机控制器散热结构 | |
| CN207219278U (zh) | 一种电气设备及其散热结构 | |
| CN106937517B (zh) | 一种用于机架服务器芯片的散热装置 | |
| CN217086321U (zh) | 节能变压器 | |
| CN110505796B (zh) | 一种用于提高交换机散热效率的交换机柜 | |
| CN212529295U (zh) | 一种动力总成和电动汽车 | |
| CN217303638U (zh) | 一种提高散热效果的水套冷却塔 | |
| CN209844822U (zh) | 一种水风散热全密闭功率柜 | |
| CN209823634U (zh) | 一种温度可调式的防爆型变频器 | |
| CN204349764U (zh) | 外置散热式变频器 | |
| CN213692884U (zh) | 一种便于散热的电力柜 | |
| CN212519807U (zh) | 一种散热性好的电机控制器 | |
| CN211090376U (zh) | 散热系统及空调器 | |
| CN222283390U (zh) | 一种防过热网络交换机 | |
| CN117254374B (zh) | 一种电力调度自动化控制调度器 | |
| CN223204458U (zh) | 电器盒及空调器 | |
| CN216086457U (zh) | 一种高效散热变频器 | |
| CN217956940U (zh) | 一种变频器散热结构 | |
| CN218677132U (zh) | 一种双面散热的半桥功率模块 | |
| CN215453692U (zh) | 一种逆变器的散热装置 | |
| CN220307674U (zh) | 一种电源模组的水冷结构 | |
| CN212992822U (zh) | 一种ac-dc电源的散热结构 | |
| CN218721979U (zh) | 一种户外制冷制热机组 | |
| CN222655630U (zh) | 一种伺服驱动器散热结构 |
Legal Events
| Date | Code | Title | Description |
|---|---|---|---|
| GR01 | Patent grant | ||
| GR01 | Patent grant | ||
| PE01 | Entry into force of the registration of the contract for pledge of patent right | ||
| PE01 | Entry into force of the registration of the contract for pledge of patent right |
Denomination of utility model: Water cooling cooling base Effective date of registration: 20221208 Granted publication date: 20221018 Pledgee: China Co. truction Bank Corp Boluo branch Pledgor: HUIZHOU XUNSHUO TECHNOLOGY CO.,LTD. Registration number: Y2022980025701 |