CN217603719U - 一种划片机用气缸板 - Google Patents
一种划片机用气缸板 Download PDFInfo
- Publication number
- CN217603719U CN217603719U CN202221264327.6U CN202221264327U CN217603719U CN 217603719 U CN217603719 U CN 217603719U CN 202221264327 U CN202221264327 U CN 202221264327U CN 217603719 U CN217603719 U CN 217603719U
- Authority
- CN
- China
- Prior art keywords
- plate
- cylinder
- cylinder plate
- mounting
- cavity
- Prior art date
- Legal status (The legal status is an assumption and is not a legal conclusion. Google has not performed a legal analysis and makes no representation as to the accuracy of the status listed.)
- Active
Links
- 230000037431 insertion Effects 0.000 claims 1
- 238000003780 insertion Methods 0.000 claims 1
- 238000009434 installation Methods 0.000 description 2
- 230000009286 beneficial effect Effects 0.000 description 1
- 230000005540 biological transmission Effects 0.000 description 1
- 230000007547 defect Effects 0.000 description 1
- 238000006073 displacement reaction Methods 0.000 description 1
- 230000000694 effects Effects 0.000 description 1
- 238000012423 maintenance Methods 0.000 description 1
- 238000012856 packing Methods 0.000 description 1
- 230000001105 regulatory effect Effects 0.000 description 1
Images
Landscapes
- Actuator (AREA)
Abstract
本实用新型涉及气缸板技术领域,尤其是一种划片机用气缸板,包括气缸板,所述气缸板表面的中部设有通孔,所述气缸板的表面设有两块移动板,两块所述移动板靠近通孔的一侧表面均设有压紧装置,所述移动板的上方设有固定块,所述固定块的内部开设有空腔,所述空腔内设有限位杆,所述限位板的上表面设有第二弹簧,所述移动板的表面还设有限位孔,所述气缸板的表面还设有插孔。本实用新型设置的压紧装置,通过移动板进行调节,并通过限位杆进行固定,使气缸顶部卡在凹槽中,弹性板压紧在气缸顶部的表面,对气缸进行固定,拆卸方便,并且易于调节,方便使用。
Description
技术领域
本实用新型涉及气缸板技术领域,尤其涉及一种划片机用气缸板。
背景技术
气缸是引导活塞在缸内进行直线往复运动的组件,通常用来为某些结构提供一定的位移,在划片机中,也会使用气缸来作为某些结构的动力来源。气缸板是用来固定气缸,以及安装一些其他需要气缸传动组件的安装板。现有的气缸板结构简单,只能通过螺栓来固定气缸和待传动组件,安装和拆卸等很不方便,不利于维修,使用效果差。
实用新型内容
本实用新型的目的是为了解决现有技术中存在的缺点,而提出的一种划片机用气缸板。
为了实现上述目的,本实用新型采用了如下技术方案:
设计一种划片机用气缸板,包括气缸板,所述气缸板表面的中部设有通孔,所述气缸板表面的四角均设有安装孔,所述气缸板的表面设有两块移动板,两块所述移动板靠近通孔的一侧表面均设有压紧装置,所述移动板的上方设有固定块,所述固定块的底部设有固定板,所述移动板的表面设有滑槽,所述固定板穿过滑槽,并与气缸板的表面固定连接,所述固定块的内部开设有空腔,所述空腔内设有限位杆,所述限位杆的上下两端均伸出空腔,所述限位杆的表面水平设有限位板,所述限位板设置在空腔内部,所述限位板的上表面设有第二弹簧,所述第二弹簧的顶端固定在空腔的内壁表面,所述移动板的表面还设有限位孔,所述气缸板的表面还设有插孔。
优选的,所述压紧装置包括安装板,所述安装板一侧表面的底部设有凹槽,所述安装板靠近凹槽一侧表面的顶部设有压板,所述压板的表面设有弹性板,所述弹性板靠近压板的一侧表面设有第一弹簧,所述第一弹簧的另一端固定在压板的表面,所述安装板远离凹槽的一侧表面底部设有连接板,所述连接板远离安装板的一侧表面设有安装槽,所述移动板与安装槽的内壁连接。
优选的,所述凹槽的内壁设有垫板,所述垫板为橡胶板。
优选的,所述插孔的底部设有橡胶垫片。
优选的,所述限位杆的底部为弧形。
优选的,所述限位杆的顶部设有调节块。
本实用新型提出的一种划片机用气缸板,有益效果在于:设置的压紧装置,通过移动板进行调节,并通过限位杆进行固定,使气缸顶部卡在凹槽中,弹性板压紧在气缸顶部的表面,对气缸进行固定,拆卸方便,并且易于调节,方便使用。
附图说明
图1为本实用新型的结构示意图;
图2为本实用新型的主视剖视图;
图3为本实用新型压紧装置的主视剖视图。
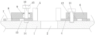
图中:气缸板1、通孔2、安装孔3、移动板4、压紧装置5、安装板51、凹槽52、垫板53、压板54、弹性板55、第一弹簧56、连接板57、安装槽58、固定块6、滑槽7、固定板8、空腔9、限位杆10、限位板11、第二弹簧12、限位孔13、插孔14、调节块15。
具体实施方式
下面将结合本实用新型实施例中的附图,对本实用新型实施例中的技术方案进行清楚、完整地描述,显然,所描述的实施例仅仅是本实用新型一部分实施例,而不是全部的实施例。
参照图1-3,一种划片机用气缸板,包括气缸板1,气缸板1表面的中部设有通孔2,气缸板1表面的四角均设有安装孔3,用于固定气缸板1,或者安装其他组件,气缸板1的表面设有两块移动板4,两块移动板4靠近通孔2的一侧表面均设有压紧装置5,移动板4的上方设有固定块6,固定块6的底部设有固定板8,移动板4的表面设有滑槽7,固定板8穿过滑槽7,并与气缸板1的表面固定连接。
固定块6的内部开设有空腔9,空腔9内设有限位杆10,限位杆 10的上下两端均伸出空腔9,限位杆10的表面水平设有限位板11,限位板11设置在空腔9内部,限位板11的上表面设有第二弹簧12,第二弹簧12的顶端固定在空腔9的内壁表面,移动板4的表面还设有限位孔13,气缸板1的表面还设有插孔14,插孔14的底部设有橡胶垫片,限位杆10的顶部设有调节块15,方便对限位杆10进行调节,限位杆10的底部为弧形,方便限位杆10穿过限位孔13,插入到插孔14中。
压紧装置5包括安装板51,安装板51一侧表面的底部设有凹槽 52,凹槽52的内壁设有垫板53,垫板53为橡胶板,可以更好的对气缸进行固定,安装板51靠近凹槽52一侧表面的顶部设有压板54,压板54的表面设有弹性板55,弹性板55靠近压板54的一侧表面设有第一弹簧56,第一弹簧56的另一端固定在压板54的表面,安装板51远离凹槽52的一侧表面底部设有连接板57,连接板57远离安装板51的一侧表面设有安装槽58,移动板4与安装槽58的内壁连接。
安装时,将气缸的顶部穿过通孔2,调节移动板4,使压紧装置 5压紧在气缸的顶部,气缸顶部的横板卡在凹槽52中,垫板53使气缸顶部的横板被压紧,气缸顶部横板上方设置的其他结构,可以被弹性板55压紧,起到一定的固定作用。当使压紧装置5压紧在气缸的顶部时,空腔9、限位孔13、插孔14的中心位于同一直线,此时在第二弹簧12的作用下,限位杆10向下运动,穿过限位孔13,并进入到插孔14中,对移动板4和压紧装置5进行固定;当需要拆下气缸时,只需要通过调节块15,拉起限位杆10即可,此时第二弹簧12 收缩。
以上所述,仅为本实用新型较佳的具体实施方式,但本实用新型的保护范围并不局限于此,任何熟悉本技术领域的技术人员在本实用新型揭露的技术范围内,根据本实用新型的技术方案及其实用新型构思加以等同替换或改变,都应涵盖在本实用新型的保护范围之内。
Claims (6)
1.一种划片机用气缸板,包括气缸板(1),所述气缸板(1)表面的中部设有通孔(2),所述气缸板(1)表面的四角均设有安装孔(3),其特征在于,所述气缸板(1)的表面设有两块移动板(4),两块所述移动板(4)靠近通孔(2)的一侧表面均设有压紧装置(5),所述移动板(4)的上方设有固定块(6),所述固定块(6)的底部设有固定板(8),所述移动板(4)的表面设有滑槽(7),所述固定板(8)穿过滑槽(7),并与气缸板(1)的表面固定连接,所述固定块(6)的内部开设有空腔(9),所述空腔(9)内设有限位杆(10),所述限位杆(10)的上下两端均伸出空腔(9),所述限位杆(10)的表面水平设有限位板(11),所述限位板(11)设置在空腔(9)内部,所述限位板(11)的上表面设有第二弹簧(12),所述第二弹簧(12)的顶端固定在空腔(9)的内壁表面,所述移动板(4)的表面还设有限位孔(13),所述气缸板(1)的表面还设有插孔(14)。
2.根据权利要求1所述的一种划片机用气缸板,其特征在于,所述压紧装置(5)包括安装板(51),所述安装板(51)一侧表面的底部设有凹槽(52),所述安装板(51)靠近凹槽(52)一侧表面的顶部设有压板(54),所述压板(54)的表面设有弹性板(55),所述弹性板(55)靠近压板(54)的一侧表面设有第一弹簧(56),所述第一弹簧(56)的另一端固定在压板(54)的表面,所述安装板(51)远离凹槽(52)的一侧表面底部设有连接板(57),所述连接板(57)远离安装板(51)的一侧表面设有安装槽(58),所述移动板(4)与安装槽(58)的内壁连接。
3.根据权利要求2所述的一种划片机用气缸板,其特征在于,所述凹槽(52)的内壁设有垫板(53),所述垫板(53)为橡胶板。
4.根据权利要求1所述的一种划片机用气缸板,其特征在于,所述插孔(14)的底部设有橡胶垫片。
5.根据权利要求1所述的一种划片机用气缸板,其特征在于,所述限位杆(10)的底部为弧形。
6.根据权利要求1所述的一种划片机用气缸板,其特征在于,所述限位杆(10)的顶部设有调节块(15)。
Priority Applications (1)
| Application Number | Priority Date | Filing Date | Title |
|---|---|---|---|
| CN202221264327.6U CN217603719U (zh) | 2022-05-24 | 2022-05-24 | 一种划片机用气缸板 |
Applications Claiming Priority (1)
| Application Number | Priority Date | Filing Date | Title |
|---|---|---|---|
| CN202221264327.6U CN217603719U (zh) | 2022-05-24 | 2022-05-24 | 一种划片机用气缸板 |
Publications (1)
| Publication Number | Publication Date |
|---|---|
| CN217603719U true CN217603719U (zh) | 2022-10-18 |
Family
ID=83569492
Family Applications (1)
| Application Number | Title | Priority Date | Filing Date |
|---|---|---|---|
| CN202221264327.6U Active CN217603719U (zh) | 2022-05-24 | 2022-05-24 | 一种划片机用气缸板 |
Country Status (1)
| Country | Link |
|---|---|
| CN (1) | CN217603719U (zh) |
-
2022
- 2022-05-24 CN CN202221264327.6U patent/CN217603719U/zh active Active
Similar Documents
| Publication | Publication Date | Title |
|---|---|---|
| CN215726451U (zh) | 一种可拆式配电柜无线测温物联网传感器 | |
| CN217603719U (zh) | 一种划片机用气缸板 | |
| CN209290791U (zh) | 一种可调节的高效手机贴膜辅助器 | |
| CN106734656A (zh) | 一种电机调节缓冲式半自动压合机构 | |
| CN219299708U (zh) | 一种贴合保压治具 | |
| CN213954839U (zh) | 一种便携式地理信息测绘仪固定支架 | |
| CN210621963U (zh) | 一种用于pc阳光板的连接装置 | |
| CN210940873U (zh) | 一种复合材料板生产用预压装置 | |
| CN216545223U (zh) | 一种自动贴屏机用压合机构 | |
| CN204834412U (zh) | 用于真空灭弧室的墩粗装置 | |
| CN218598645U (zh) | 一种新型结构轴承支架 | |
| CN212527899U (zh) | 一种电路板加工用切割装置 | |
| CN210306838U (zh) | 一种内燃机连杆压紧工装 | |
| CN210023527U (zh) | 角板的组合式压紧头 | |
| CN210280389U (zh) | 一种模压机的模具装置 | |
| CN209987660U (zh) | 模具雕刻机降噪装置 | |
| CN221948457U (zh) | 一种线路板钻孔用辅助板 | |
| CN220031342U (zh) | 一种踏虎凿花纸张的压平设备 | |
| CN210361034U (zh) | 一种对绝缘板进行压紧的装置 | |
| CN216146058U (zh) | 一种用于通信系统移动网络综合布线装置 | |
| CN217355075U (zh) | 一种机箱钣金连接结构 | |
| CN214334645U (zh) | 一种黑胶aoi检测机的固定装置 | |
| CN218597449U (zh) | 一种快接式室内轻质装饰幕墙的固定结构 | |
| CN221548148U (zh) | 一种红外监控安装辅助机构 | |
| CN207447808U (zh) | 一种高度可调节金属板镶嵌机构 |
Legal Events
| Date | Code | Title | Description |
|---|---|---|---|
| GR01 | Patent grant | ||
| GR01 | Patent grant |