CN217592949U - Meniscus stitching instrument - Google Patents
Meniscus stitching instrument Download PDFInfo
- Publication number
- CN217592949U CN217592949U CN202221450367.XU CN202221450367U CN217592949U CN 217592949 U CN217592949 U CN 217592949U CN 202221450367 U CN202221450367 U CN 202221450367U CN 217592949 U CN217592949 U CN 217592949U
- Authority
- CN
- China
- Prior art keywords
- sleeve
- puncture
- push rod
- meniscus
- inner core
- Prior art date
- Legal status (The legal status is an assumption and is not a legal conclusion. Google has not performed a legal analysis and makes no representation as to the accuracy of the status listed.)
- Active
Links
Images
Landscapes
- Surgical Instruments (AREA)
Abstract
本实用新型提供了一种半月板缝合器,属于医疗器械技术领域。该半月板缝合器包括穿刺结构和抓线推杆。穿刺结构包括近端套筒和穿刺套杆,近端套筒的一端具有隔板,隔板上具有安装孔,穿刺套杆的一端与隔板固定连接且通过安装孔与近端套筒内部连通。穿刺套杆的另一端具有穿刺尖头,穿刺套杆内部具有抓线导向孔。抓线推杆包括推环、内芯推杆和两根弹性抓线导丝。内芯推杆可滑动地安装于抓线导向孔内部,内芯推杆的一端与推环连接,推环上具有围绕内芯推杆设置的导向套管,导向套管可滑动的插接于近端套筒内,两根弹性抓线导丝连接于内芯推杆的另一端。该半月板缝合器结构简单,易于操作,能够有效提高关节镜手术后半月板缝合的效率,缩短手术时间。
The utility model provides a meniscus stapler, which belongs to the technical field of medical instruments. The meniscus stapler includes a piercing structure and a wire grab push rod. The puncture structure includes a proximal sleeve and a puncture sleeve rod. One end of the proximal sleeve has a partition plate, and the partition plate has a mounting hole. One end of the puncture sleeve rod is fixedly connected with the partition plate and communicated with the interior of the proximal sleeve through the installation hole. . The other end of the puncture sleeve rod is provided with a puncture tip, and the inside of the puncture sleeve rod is provided with a wire-catching guide hole. The thread catcher rod includes a push ring, an inner core push rod and two elastic thread catcher guide wires. The inner core push rod is slidably installed inside the thread catching guide hole, one end of the inner core push rod is connected with the push ring, the push ring has a guide sleeve arranged around the inner core push rod, and the guide sleeve can be slidably inserted into the push ring. In the proximal sleeve, two elastic thread-grabbing guide wires are connected to the other end of the inner core push rod. The meniscus suturing device has a simple structure and is easy to operate, can effectively improve the efficiency of meniscus suturing after arthroscopic surgery, and shorten the operation time.
Description
技术领域technical field
本实用新型涉及医疗器械技术领域,特别涉及一种半月板缝合器。The utility model relates to the technical field of medical instruments, in particular to a meniscus stapler.
背景技术Background technique
半月板在膝关节内在负荷传递、减震、关节稳定、关节润滑、软骨营养及神经肌肉本体感觉等方面起着至关重要的作用,对维持膝关节正常功能意义重大。膝关节半月板损伤是运动人群最常见的运动损伤之一,可导致膝关节疼痛、交锁及软骨磨损,进而引发膝关节退变加速等后果。稳定的半月板损伤如果没有症状,可采取保守治疗。引起持续症状的半月板损伤则需关节镜手术治疗。The meniscus plays a vital role in the internal load transmission, shock absorption, joint stability, joint lubrication, cartilage nutrition and neuromuscular proprioception of the knee joint, and is of great significance to maintaining the normal function of the knee joint. Knee meniscus injury is one of the most common sports injuries among sports people, which can lead to knee pain, interlocking and cartilage wear, and then lead to accelerated knee joint degeneration and other consequences. Stable meniscal injuries can be managed conservatively if they are asymptomatic. Meniscal injuries that cause persistent symptoms require arthroscopic surgery.
在相关技术中,半月板手术治疗方式主要包括半月板部分或全部切除以及半月板缝合术等。随着对半月板功能的深入认识,关节镜下半月板缝合手术逐渐成为半月板损伤的主要治疗方式之一。半月板缝合技术包括由内向外技术、由外向内技术、全内技术等。目前针对半月板体部偏后及后角的缝合,市场上有成熟的全内缝合器械,但是针对半月板前角及体部位置的撕裂的缝合适用性差。临床上目前常用由外向内技术通过腰穿针或一些商品化前角缝合器械完成。In the related art, the meniscus surgical treatment methods mainly include partial or total meniscectomy and meniscus suture. With the in-depth understanding of the function of the meniscus, arthroscopic meniscus suture has gradually become one of the main treatment methods for meniscal injuries. Meniscal suture techniques include inside-out techniques, outside-in techniques, and all-inside techniques. At present, there are mature fully internal suturing devices on the market for the suturing of the posterior and posterior angle of the meniscus body, but the applicability of suturing for the tear of the anterior angle and the body position of the meniscus is poor. In clinical practice, it is usually done by the outside-in technique through lumbar puncture or some commercial anterior angle suturing instruments.
采用相关技术中的针对半月板缝合手段,需多次进行关节镜下的患处穿刺、关节腔内过线及抓线等操作,且不易控制关节内半月板的出针位置,操作较复杂,手术时间相对较长。The use of the meniscus suturing method in the related art requires multiple operations such as puncture of the affected area under arthroscopy, thread crossing in the joint cavity and thread grasping, and it is difficult to control the position of the needle exiting the meniscus in the joint. The operation is complicated and the operation relatively long time.
实用新型内容Utility model content
本实用新型实施例提供了一种半月板缝合器,结构简单,易于操作,能够有效提高关节镜手术后半月板缝合的效率,缩短手术时间。所述技术方案如下:The embodiment of the utility model provides a meniscus suture device, which has a simple structure and is easy to operate, which can effectively improve the efficiency of meniscus suture after arthroscopic surgery and shorten the operation time. The technical solution is as follows:
本实用新型实施例提供了一种半月板缝合器,包括:穿刺结构和抓线推杆,The embodiment of the present utility model provides a meniscus stapler, comprising: a puncture structure and a thread grabbing push rod,
所述穿刺结构包括近端套筒和穿刺套杆,所述近端套筒的一端具有隔板,所述隔板上具有安装孔,所述安装孔的孔径小于所述近端套筒的内径,所述穿刺套杆的一端与所述隔板固定连接且通过所述安装孔与所述近端套筒内部连通,所述穿刺套杆的另一端具有穿刺尖头,所述穿刺套杆内部具有沿轴线方向布置且连通两端的抓线导向孔;The puncture structure includes a proximal sleeve and a puncture sleeve rod, one end of the proximal sleeve has a partition plate, and the partition plate has a mounting hole, the diameter of the mounting hole is smaller than the inner diameter of the proximal sleeve One end of the puncture sleeve rod is fixedly connected with the partition plate and communicated with the inside of the proximal sleeve through the installation hole, the other end of the puncture sleeve rod has a puncture tip, and the inside of the puncture sleeve rod is There are wire-catching guide holes arranged along the axis direction and communicating with both ends;
所述抓线推杆包括推环、内芯推杆和两根弹性抓线导丝,所述内芯推杆可滑动地安装于所述抓线导向孔内部,所述内芯推杆的一端与所述推环连接,所述推环与所述弹性抓线导丝的连接处具有导向套管,所述导向套管与所述内芯推杆同轴且围绕所述内芯推杆设置,所述导向套管的外径与所述近端套筒的内径相同,所述导向套管可滑动的插接于所述近端套筒内,所述两根弹性抓线导丝连接于所述内芯推杆的另一端且呈锐角布置,所述两根弹性抓线导丝的末端对向弯折布置。The thread catching push rod includes a push ring, an inner core push rod and two elastic thread catching guide wires, the inner core push rod is slidably installed inside the thread catching guide hole, and one end of the inner core push rod Connected with the push ring, the connection between the push ring and the elastic wire-catching guide wire has a guide sleeve, the guide sleeve is coaxial with the inner core push rod and is arranged around the inner core push rod , the outer diameter of the guide sleeve is the same as the inner diameter of the proximal sleeve, the guide sleeve is slidably inserted into the proximal sleeve, and the two elastic wire-catching guide wires are connected to The other end of the inner core push rod is arranged at an acute angle, and the ends of the two elastic thread-catching guide wires are bent and arranged opposite to each other.
可选地,所述近端套筒的一端具有握持抵杆,所述握持抵杆沿所述近端套筒的径向布置。Optionally, one end of the proximal sleeve is provided with a holding and abutting rod, and the holding and abutting rods are arranged along the radial direction of the proximal sleeve.
可选地,所述近端套筒上具有两根所述握持抵杆,两根所述握持抵杆相对于所述近端套筒对称布置。Optionally, the proximal sleeve is provided with two holding and abutting rods, and the two holding and abutting rods are symmetrically arranged relative to the proximal-end sleeve.
可选地,所述半月板缝合器还包括压缩弹簧,所述压缩弹簧设置于所述近端套筒内且套设于所述内芯推杆上,所述压缩弹簧的一端与所述隔板固定连接,所述压缩弹簧的另一端与所述导向套管的端部抵接。Optionally, the meniscus stapler further includes a compression spring, the compression spring is disposed in the proximal sleeve and sleeved on the inner core push rod, and one end of the compression spring is connected to the spacer. The plates are fixedly connected, and the other end of the compression spring is in abutment with the end of the guide sleeve.
可选地,所述穿刺尖头与所述穿刺套杆可拆卸连接。Optionally, the puncture tip is detachably connected to the puncture sleeve rod.
可选地,所述弹性抓线导丝在延伸方向上呈波浪状。Optionally, the elastic thread-catching guide wire is wavy in the extending direction.
可选地,所述弹性抓线导丝为钛合金导丝。Optionally, the elastic grip wire guide wire is a titanium alloy guide wire.
可选地,所述穿刺套杆和所述内芯推杆为不锈钢制件。Optionally, the puncture sleeve rod and the inner core push rod are made of stainless steel.
本实用新型实施例提供的技术方案带来的有益效果至少包括:The beneficial effects brought by the technical solutions provided by the embodiments of the present utility model include at least:
可以在关节镜下对目标半月板缝合位置的进针和出针位置灵活调整,有效避开重要的神经血管组织。同一患者在手术过程中可反复多次穿刺缝合,不受缝合针数限制,而且内、外侧半月板均可使用。其末端的抓线结构通过两根形态预制且具有弹性张合设计的弹性抓线导丝组成,抓线与放线方便快捷,结构简单,易于操作,能够有效提高关节镜手术中半月板缝合的效率,缩短手术时间。Under arthroscopy, the needle entry and exit positions of the target meniscus suture can be flexibly adjusted to effectively avoid important neurovascular tissues. The same patient can be punctured and sutured repeatedly during the operation, without the limitation of the number of suture needles, and both the medial and lateral meniscus can be used. The wire grabbing structure at the end is composed of two prefabricated elastic wire grabbing guide wires with elastic tensioning and closing design. The wire grabbing and releasing are convenient and fast, the structure is simple, and the operation is easy, which can effectively improve the suture of the meniscus in arthroscopic surgery. efficiency and shorten the operation time.
附图说明Description of drawings
为了更清楚地说明本实用新型实施例中的技术方案,下面将对实施例描述中所需要使用的附图作简单地介绍,显而易见地,下面描述中的附图仅仅是本实用新型的一些实施例,对于本领域普通技术人员来讲,在不付出创造性劳动的前提下,还可以根据这些附图获得其他的附图。In order to illustrate the technical solutions in the embodiments of the present invention more clearly, the following briefly introduces the accompanying drawings used in the description of the embodiments. Obviously, the drawings in the following description are only some implementations of the present invention. For example, for those of ordinary skill in the art, other drawings can also be obtained based on these drawings without any creative effort.
图1是本实用新型实施例提供的半月板缝合器的结构示意图;1 is a schematic structural diagram of a meniscus stapler provided by an embodiment of the present invention;
图2是本实用新型实施例提供的半月板缝合器中弹性抓线导丝处于伸出抓取状态的结构示意图;FIG. 2 is a schematic structural diagram of the elastic grasping wire guide wire in the extended grasping state in the meniscus stapler provided by the embodiment of the present invention;
图3是本实用新型实施例提供的穿刺结构的结构示意图;3 is a schematic structural diagram of a puncture structure provided by an embodiment of the present invention;
图4是本实用新型实施例提供的抓线推杆的结构示意图。4 is a schematic structural diagram of a thread catcher and push rod provided by an embodiment of the present invention.
具体实施方式Detailed ways
为使本实用新型的目的、技术方案和优点更加清楚,下面将结合附图对本实用新型实施方式作进一步地详细描述。In order to make the objectives, technical solutions and advantages of the present utility model clearer, the embodiments of the present utility model will be further described in detail below with reference to the accompanying drawings.
在相关技术中,半月板手术治疗方式主要包括半月板部分或全部切除以及半月板缝合术等。随着对半月板功能的深入认识,关节镜下半月板缝合手术逐渐成为半月板损伤的主要治疗方式之一。半月板缝合技术包括由内向外技术、由外向内技术、全内技术等。目前针对半月板体部偏后及后角的缝合,市场上有成熟的全内缝合器械,但是针对半月板前角及体部位置的撕裂的缝合适用性差。临床上目前常用由外向内技术通过腰穿针或一些商品化前角缝合器械完成。In the related art, the meniscus surgical treatment methods mainly include partial or total meniscectomy and meniscus suture. With the in-depth understanding of the function of the meniscus, arthroscopic meniscus suture has gradually become one of the main treatment methods for meniscal injuries. Meniscal suture techniques include inside-out techniques, outside-in techniques, and all-inside techniques. At present, there are mature fully internal suturing devices on the market for the suturing of the posterior and posterior angle of the meniscus body, but the applicability of suturing for the tear of the anterior angle and the body position of the meniscus is poor. In clinical practice, it is usually done by the outside-in technique through lumbar puncture or some commercial anterior angle suturing instruments.
采用相关技术中的针对半月板缝合手段,需多次进行关节镜下的患处穿刺、关节腔内过线及抓线等操作,且不易控制关节内半月板的出针位置,操作较复杂,手术时间相对较长。The use of the meniscus suturing method in the related art requires multiple operations such as puncture of the affected area under arthroscopy, thread crossing in the joint cavity and thread grasping, and it is difficult to control the position of the needle exiting the meniscus in the joint. The operation is complicated and the operation relatively long time.
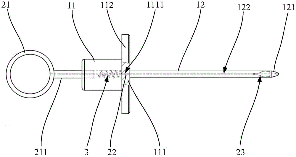
图1是本实用新型实施例提供的半月板缝合器的结构示意图。图2是本实用新型实施例提供的半月板缝合器中弹性抓线导丝处于伸出抓取状态的结构示意图。图3是本实用新型实施例提供的穿刺结构的结构示意图。图4是本实用新型实施例提供的抓线推杆的结构示意图。如图1至4所示,通过实践,本申请人提供了一种半月板缝合器,包括穿刺结构1和抓线推杆2。FIG. 1 is a schematic structural diagram of a meniscus stapler provided by an embodiment of the present invention. FIG. 2 is a schematic structural diagram of the elastic grasping wire guide wire in the extended grasping state in the meniscus stapler provided by the embodiment of the present invention. FIG. 3 is a schematic structural diagram of a puncture structure provided by an embodiment of the present invention. 4 is a schematic structural diagram of a thread catcher and push rod provided by an embodiment of the present invention. As shown in FIGS. 1 to 4 , through practice, the applicant provides a meniscus stapler, which includes a
其中,穿刺结构1包括近端套筒11和穿刺套杆12。近端套筒11的一端具有隔板111,隔板111上具有安装孔1111,安装孔1111的孔径小于近端套筒11的内径。穿刺套杆12的一端与隔板111固定连接且通过安装孔1111与近端套筒11内部连通,穿刺套杆12的另一端具有穿刺尖头121,穿刺套杆12内部具有沿轴线方向布置且连通两端的抓线导向孔122。The
抓线推杆2包括推环21、内芯推杆22和两根弹性抓线导丝23。内芯推杆22可滑动地安装于抓线导向孔内部122,内芯推杆22的一端与推环21连接,推环21与弹性抓线导丝23的连接处具有导向套管211,导向套管211与内芯推杆22同轴且围绕内芯推杆22设置。导向套管211的外径与近端套筒11的内径相同,导向套管211可滑动的插接于近端套筒11内。两根弹性抓线导丝23连接于内芯推杆22的另一端且呈锐角布置,两根弹性抓线导丝23的末端对向弯折布置。The thread grabbing
在本实用新型实施例中,在进行关节镜下的半月板手术时,若关节镜探查见半月板前角及体部位置撕裂后即可将本半月板缝合器由环氧乙烷灭菌包装中取出备用。在完成需缝合部位的修整和新鲜化处理后,在目标缝合部位附近的关节腔中预置缝线。在进行半月板的缝合之前,施术者首先通过推环21调整内芯推杆22在抓线导向孔122中的相对位置,将位于其另一端的两根弹性抓线导丝23一同收入抓线导向孔122中。之后即可握持住近端套筒11,选择患者皮肤上合适的皮肤穿刺部位,在关节镜的监视下在目标半月板的缝合位置出针,通过穿刺尖头121和穿刺套杆12进行穿刺,使穿刺尖头121靠近缝线所在位置。之后再次向患者体内的方向推动推环21,使两根弹性抓线导丝23由抓线导向孔122中伸出并在自身弹性作用下张开,在关节镜的监视下调节至缝线一端的两侧。在两根弹性抓线导丝23调整到抓取位置后,施术者可以将推环21的外拉,两根弹性抓线导丝23在收回到抓线导向孔122的过程中会合拢并夹持并抓取缝线。最后施术者将穿刺套杆12整体由患者体内抽出,即可将缝线的一端一并由患处带出。之后再以相同的操作步骤将缝线的另一端带出,即可在关节镜下调整缝线的张力后进行皮下打结固定,完成半月板的1次缝合。In the embodiment of the present invention, when performing arthroscopic meniscus surgery, if the anterior horn and body position of the meniscus are torn through arthroscopic exploration, the meniscus stapler can be sterilized and packaged by ethylene oxide Take out the spare. After finishing the trimming and freshening of the site to be sutured, place sutures in the joint cavity near the target suture site. Before the meniscus is sutured, the operator first adjusts the relative position of the inner
采用本实用新型实施例所提供的半月板缝合器,可以在关节镜下对目标半月板缝合位置的进针和出针位置灵活调整,有效避开重要的神经血管组织。同一患者在手术过程中可反复多次穿刺缝合,不受缝合针数限制,而且内、外侧半月板均可使用。其末端的抓线结构通过两根形态预制且具有弹性张合设计的弹性抓线导丝23组成,抓线与放线方便快捷,结构简单,易于操作,能够有效提高关节镜手术后半月板缝合的效率,缩短手术时间。By using the meniscus suture provided by the embodiment of the present invention, the needle insertion and extraction positions of the target meniscus suture position can be flexibly adjusted under arthroscopy, and the important neurovascular tissue can be effectively avoided. The same patient can be punctured and sutured repeatedly during the operation, without the limitation of the number of suture needles, and both the medial and lateral meniscus can be used. The wire grabbing structure at the end is composed of two prefabricated elastic wire grabbing
可选地,近端套筒11的一端具有握持抵杆112,握持抵杆112沿近端套筒11的径向布置。示例性地,在本实用新型实施例中,施术者在进行穿刺施针时,可以握持住握持抵杆112进行使力,使穿刺过程更加方便省力,更易准确的穿刺到准确的目标位置,进一步提高了关节镜手术后半月板缝合的效率,缩短手术时间。Optionally, one end of the
可选地,近端套筒11上具有两根握持抵杆112,两根握持抵杆112相对于近端套筒11对称布置。示例性地,在本实用新型实施例中,通过在近端套筒11上对称设置两根握持抵杆112,使半月板缝合器整体呈类似注射器的结构。两根握持抵杆112可以作为手指钩挂部,在进行穿刺施针时,施术者可以利用大拇指控制推环21,食指勾住其中一根握持抵杆112,而中指、无名指和小指则可以勾住另一根握持抵杆112,实现对半月板缝合器的进一步稳定握持,同时方便控制推环21对缝线进行抓取。使穿刺过程更加方便省力,更易准确的穿刺到准确的目标位置,进一步提高了关节镜手术后半月板缝合的效率,缩短手术时间。Optionally, the
可选地,半月板缝合器还包括压缩弹簧3,压缩弹簧3设置于近端套筒11内且套设于内芯推杆22上,压缩弹簧3的一端与隔板111固定连接,压缩弹簧3的另一端与导向套管211的端部抵接。示例性地,在本实用新型实施例中,通过在导向套管211的端部与隔板111之间设置压缩弹簧3,在穿刺尖头121未达到缝线的抓取位置时,在其弹性作用下可以限定导向套筒211在近端套筒11内的相对位置,从而对内芯推杆22的位置进行限制,使两根弹性抓线导丝23保持收入在抓线导向孔122中。而在施术者向患者体内的方向推动推环21,使两根弹性抓线导丝23由抓线导向孔122中伸出并在自身弹性作用下张开时,压缩弹簧3会呈压缩状态。在两根弹性抓线导丝23调整到抓取位置后,施术者通过松开推环21,压缩弹簧3即可在弹力作用下将导向套管211以及推环21和内芯推杆22回推,两根弹性抓线导丝23即会自动收回到抓线导向孔122中合拢并夹持并抓取缝线。无需施术者主动调整推环21进行抓取操作,方便省力,进一步提高了关节镜手术后半月板缝合的效率,缩短手术时间。Optionally, the meniscus stapler further includes a
可选地,穿刺尖头121与穿刺套杆12可拆卸连接。示例性地,在本实用新型实施例中,通过将穿刺尖头121与穿刺套杆12设置为可拆卸的结构,施术者可以通过患者患处的具体情况选择不同的穿刺尖头121,例如直型、左弧型及右弧型来进行针对性的穿刺,保证最佳的施术效果。Optionally, the
可选地,弹性抓线导丝23在延伸方向上呈波浪状。示例性地,在本实用新型实施例中,通过将弹性抓线导丝23设置为由一定弧度的波浪状,可以在抓取缝线时提高与缝线的接触面积,同时两根弹性抓线导丝23在合拢时波浪状的丝体可以形成齿状的啮合,提高对抓取的缝线的夹持紧固度,避免在抽出患者体外的过程中缝线松脱。Optionally, the elastic thread grasping
可选地,弹性抓线导丝23为钛合金导丝。示例性地,在本实用新型实施例中,采用钛合金的弹性抓线导丝23,其具有良好的生物相容性,能够保证与人体发生最小的生物学反应,无毒无磁。同时具有高强度、低弹性模量的优点,既满足力学要求,又与人体自然骨弹性模量相近,可减少应力屏蔽效应,在施术后更有利于人骨的生长愈合。对关节软骨及其他临近组织结构干扰小,也降低了在抓线过程中导丝折断的风险。Optionally, the elastic grasping
可选地,穿刺套杆12和内芯推杆22为不锈钢制件。示例性地,在本实用新型实施例中,采用不锈钢制的穿刺套杆12和内芯推杆22,具有良好的生物相容性和力学性能,同时耐体液腐蚀性能强,加工成型性好且方便消毒,进一步提高了半月板缝合器的医用优势。Optionally, the
除非另作定义,此处使用的技术术语或者科学术语应当为本实用新型所属领域内具有一般技能的人士所理解的通常意义。本实用新型专利申请说明书以及权利要求书中使用的“第一”、“第二”以及类似的词语并不表示任何顺序、数量或者重要性,而只是用来区分不同的组成部分。同样,“一个”或者“一”等类似词语也不表示数量限制,而是表示存在至少一个。“包括”或者“包含”等类似的词语意指出现在“包括”或者“包含”前面的元件或者物件涵盖出现在“包括”或者“包含”后面列举的元件或者物件及其等同,并不排除其他元件或者物件。“连接”或者“相连”等类似的词语并非限定于物理的或者机械的连接,而是可以包括电性的连接,不管是直接的还是间接的。“上”、“下”、“左”、“右”等仅用于表示相对位置关系,当被描述对象的绝对位置改变后,则所述相对位置关系也可能相应地改变。Unless otherwise defined, technical or scientific terms used herein shall have the ordinary meaning as understood by one of ordinary skill in the art to which this invention belongs. "First", "second" and similar words used in the description of the patent application for this utility model and the claims do not indicate any order, quantity or importance, but are only used to distinguish different components. Likewise, "a" or "an" and the like do not denote a quantitative limitation, but rather denote the presence of at least one. Words like "include" or "include" mean that the elements or items appearing before "including" or "including" cover the elements or items listed after "including" or "including" and their equivalents, and do not exclude other component or object. Words like "connected" or "connected" are not limited to physical or mechanical connections, but may include electrical connections, whether direct or indirect. "Up", "Down", "Left", "Right", etc. are only used to indicate the relative positional relationship, and when the absolute position of the described object changes, the relative positional relationship may also change accordingly.
以上所述仅为本实用新型的可选实施例,并不用以限制本实用新型,凡在本实用新型的精神和原则之内,所作的任何修改、等同替换、改进等,均应包含在本实用新型的保护范围之内。The above are only optional embodiments of the present invention, and are not intended to limit the present invention. Any modifications, equivalent replacements, improvements, etc. made within the spirit and principles of the present invention shall be included in the present invention. within the scope of protection of the utility model.
Claims (8)
Priority Applications (1)
| Application Number | Priority Date | Filing Date | Title |
|---|---|---|---|
| CN202221450367.XU CN217592949U (en) | 2022-06-10 | 2022-06-10 | Meniscus stitching instrument |
Applications Claiming Priority (1)
| Application Number | Priority Date | Filing Date | Title |
|---|---|---|---|
| CN202221450367.XU CN217592949U (en) | 2022-06-10 | 2022-06-10 | Meniscus stitching instrument |
Publications (1)
| Publication Number | Publication Date |
|---|---|
| CN217592949U true CN217592949U (en) | 2022-10-18 |
Family
ID=83587737
Family Applications (1)
| Application Number | Title | Priority Date | Filing Date |
|---|---|---|---|
| CN202221450367.XU Active CN217592949U (en) | 2022-06-10 | 2022-06-10 | Meniscus stitching instrument |
Country Status (1)
| Country | Link |
|---|---|
| CN (1) | CN217592949U (en) |
Cited By (2)
| Publication number | Priority date | Publication date | Assignee | Title |
|---|---|---|---|---|
| CN115813524A (en) * | 2022-10-19 | 2023-03-21 | 安徽医科大学第一附属医院 | Plastic material's electric tangent mirror subassembly |
| CN118490285A (en) * | 2024-07-17 | 2024-08-16 | 北京天星医疗股份有限公司 | Meniscus suture device |
-
2022
- 2022-06-10 CN CN202221450367.XU patent/CN217592949U/en active Active
Cited By (2)
| Publication number | Priority date | Publication date | Assignee | Title |
|---|---|---|---|---|
| CN115813524A (en) * | 2022-10-19 | 2023-03-21 | 安徽医科大学第一附属医院 | Plastic material's electric tangent mirror subassembly |
| CN118490285A (en) * | 2024-07-17 | 2024-08-16 | 北京天星医疗股份有限公司 | Meniscus suture device |
Similar Documents
| Publication | Publication Date | Title |
|---|---|---|
| US6383199B2 (en) | Devices for investing within ligaments for retracting and reinforcing the same | |
| US5899911A (en) | Method of using needle-point suture passer to retract and reinforce ligaments | |
| US5575801A (en) | Method and apparatus for arthroscopic rotator cuff repair | |
| US6605096B1 (en) | Percutaneous suturing apparatus and method | |
| US5320629A (en) | Device and method for applying suture | |
| US5129912A (en) | Device and method for applying suture | |
| US10792035B2 (en) | Combined tissue grasper-suture retriever instrument and method of tissue repair | |
| CN100574711C (en) | Stapler for surgery | |
| JP4986007B2 (en) | Method and device for suturing with single tail | |
| CN217592949U (en) | Meniscus stitching instrument | |
| GB2475419A (en) | Endoscopic suture device | |
| AU2002354945A1 (en) | Percutaneous suturing apparatus and method | |
| CN100574712C (en) | forceps stapler | |
| Pasic et al. | Laparoscopic suturing and ligation techniques | |
| CN100574710C (en) | forceps lacunar stapler | |
| CN209315947U (en) | A kind of apex of the heart closing device | |
| CN201019791Y (en) | forceps stapler | |
| CN201046141Y (en) | Stapler for surgery | |
| CN209332147U (en) | A kind of sewing needle for laparoscopic surgery | |
| CN211883914U (en) | a hole punching suture | |
| CN221512005U (en) | Endoscopic cavity inner suture knot-tying device | |
| CN213665465U (en) | Transapical heart valve ligation system | |
| CN213525277U (en) | A new type of wire grabbing forceps for arthroscopic surgery | |
| CN217338665U (en) | Stitching instrument for stitching abdominal wall puncture incision of laparoscope | |
| CN201578300U (en) | Surgical deep knotter |
Legal Events
| Date | Code | Title | Description |
|---|---|---|---|
| GR01 | Patent grant | ||
| GR01 | Patent grant |
