CN217583731U - High appearance mount pad of clapping - Google Patents
High appearance mount pad of clapping Download PDFInfo
- Publication number
- CN217583731U CN217583731U CN202123291646.4U CN202123291646U CN217583731U CN 217583731 U CN217583731 U CN 217583731U CN 202123291646 U CN202123291646 U CN 202123291646U CN 217583731 U CN217583731 U CN 217583731U
- Authority
- CN
- China
- Prior art keywords
- groove
- plate
- mounting seat
- base
- sliding block
- Prior art date
- Legal status (The legal status is an assumption and is not a legal conclusion. Google has not performed a legal analysis and makes no representation as to the accuracy of the status listed.)
- Expired - Fee Related
Links
- 238000003780 insertion Methods 0.000 claims description 6
- 230000037431 insertion Effects 0.000 claims description 6
- 238000009434 installation Methods 0.000 abstract 1
- 238000010586 diagram Methods 0.000 description 3
- 230000009286 beneficial effect Effects 0.000 description 1
- 229910052799 carbon Inorganic materials 0.000 description 1
- 238000000034 method Methods 0.000 description 1
- 238000012986 modification Methods 0.000 description 1
- 230000004048 modification Effects 0.000 description 1
- 238000009966 trimming Methods 0.000 description 1
Images
Landscapes
- Toys (AREA)
Abstract
本实用新型公开了一种高拍仪安装座,涉及高拍仪领域,包括底座与圆型柱,所述底座两侧均开设有滑槽,所述滑槽内部靠近中间位置插设有两组滑块,两组所述滑块上端设置有整平机构,所述底座上端靠近一侧位置设置有转动机构,所述圆型柱内部安装有转动柱,转动柱外侧面设置有滑动块,所述圆型柱内侧壁开设有与滑动块相契合的环槽,转动柱上端安装有伸缩杆,所述整平机构包括竖板,所述竖板上端开设有凹槽一,另一组所述竖板上端开设有凹槽二,所述凹槽一内部安装有长板;该高拍仪安装座可以将使得纸张表面更加平整,且不易移动,从而使得扫描时更加清晰,且可以减少该安装座的占用空间,便于用户收纳该安装座。
The utility model discloses a mounting seat for a high-speed meter, which relates to the field of high-speed meters. The sliders, the upper ends of the two sets of sliders are provided with a leveling mechanism, the upper ends of the bases are provided with a rotation mechanism near one side, a rotation column is installed inside the cylindrical column, and a sliding block is arranged on the outer side of the rotation column. The inner side wall of the circular column is provided with a ring groove that fits with the sliding block, a telescopic rod is installed on the upper end of the rotating column, and the leveling mechanism includes a vertical plate, and the upper end of the vertical plate is provided with a groove one, and the other group of the There are two grooves at the top of the vertical plate, and a long board is installed inside the first groove; the high-speed camera mounting seat can make the surface of the paper more flat and not easy to move, so that the scanning is clearer and the installation can be reduced. The space occupied by the seat is convenient for users to store the mounting seat.
Description
技术领域technical field
本实用新型涉及高拍仪领域,具体为一种高拍仪安装座。The utility model relates to the field of high-speed meters, in particular to a high-speed meter mounting seat.
背景技术Background technique
高拍仪是最新研发出来的一款超便携低碳办公用品,也是一款办公领域革新性产品,能完成一秒钟高速扫描,可以将扫描的图片识别转换成可编辑的文档,它还能进行拍照、录像、复印、网络无纸传真、制作电子书以及裁边扶正等操作。Gaopai is a newly developed ultra-portable low-carbon office product. It is also an innovative product in the office field. It can complete high-speed scanning in one second, and can recognize and convert scanned images into editable documents. It can also Take photos, videos, photocopying, network paperless faxing, making e-books, trimming and straightening.
市场上常见的高拍仪安装座,大多不能够对纸张固定与整平,导致扫描效果不佳,且安装座占用空间较大,不便于用户对其进行收纳,为此,我们提出一种高拍仪安装座。Most of the common mounts for high-speed cameras on the market cannot fix and level the paper, resulting in poor scanning results, and the mounts take up a lot of space, which is not convenient for users to store them. Therefore, we propose a high-speed camera. Camera mount.
实用新型内容Utility model content
本实用新型的目的在于提供一种高拍仪安装座,以解决上述背景技术中提出的问题。The purpose of the present invention is to provide a high-speed camera mounting seat to solve the problems raised in the above-mentioned background art.
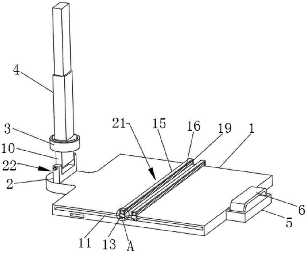
为实现上述目的,本实用新型提供如下技术方案:一种高拍仪安装座,包括底座与圆型柱,所述底座两侧均开设有滑槽,所述滑槽内部靠近中间位置插设有两组滑块,两组所述滑块上端设置有整平机构,所述底座上端靠近一侧位置设置有转动机构,所述圆型柱内部安装有转动柱,转动柱外侧面设置有滑动块,所述圆型柱内侧壁开设有与滑动块相契合的环槽,转动柱上端安装有伸缩杆。In order to achieve the above purpose, the utility model provides the following technical solutions: a high-speed meter mounting seat, including a base and a circular column, both sides of the base are provided with chute, and the interior of the chute is inserted near the middle position. Two sets of sliders, the upper ends of the two sets of sliders are provided with a leveling mechanism, the upper end of the base is provided with a rotating mechanism near one side, a rotating column is installed inside the circular column, and a sliding block is arranged on the outer side of the rotating column The inner side wall of the circular column is provided with a ring groove that fits with the sliding block, and a telescopic rod is installed on the upper end of the rotating column.
作为本实用新型的进一步方案,所述整平机构包括竖板,所述竖板上端开设有凹槽一,另一组所述竖板上端开设有凹槽二,所述凹槽一内部安装有长板,所述长板底面固定安装有压板。As a further solution of the present invention, the leveling mechanism includes a vertical plate, a
作为本实用新型的进一步方案,所述长板两侧面与凹槽一内侧壁之间均安装有短轴,所述长板底面远离凹槽一一端位置设置有插块,所述凹槽二内部底端开设有与插块相契合的插槽。As a further solution of the present invention, short shafts are installed between the two sides of the long plate and the inner side wall of the groove one, the bottom surface of the long plate is provided with an insert block at one end of the bottom surface away from the groove one, and the groove two The inner bottom end is provided with a slot that fits with the insert block.
作为本实用新型的进一步方案,所述长板一端通过短轴配合凹槽一与竖板活动安装,其另一端通插块配合插槽与凹槽二活动安装,所述滑槽内侧壁开设有若干组螺孔一,所述滑块外侧面插设有固定螺杆,所述固定螺杆一端穿过滑块活动安装在螺孔一内部。As a further solution of the present utility model, one end of the long plate is movably installed with the vertical plate through the short
作为本实用新型的进一步方案,所述转动机构包括连接板,所述连接板上端表面开设有活动槽,所述活动槽内部安装有转动板,所述连接板两侧面靠近上端位置均插设有调节螺栓,所述调节螺栓外部套设有螺母。As a further solution of the present invention, the rotating mechanism includes a connecting plate, an upper surface of the connecting plate is provided with a movable groove, a rotating plate is installed inside the movable groove, and two sides of the connecting plate are inserted near the upper end. An adjusting bolt is provided with a nut on the outside of the adjusting bolt.
作为本实用新型的进一步方案,所述转动板两侧面靠近底端位置均开设有螺孔二,所述调节螺栓外侧面开设有若干组螺纹一,螺孔二内侧壁开设有与螺纹一契合的螺纹二,所述转动板一端通过调节螺栓配合螺母与活动槽活动安装。As a further solution of the present invention, the two sides of the rotating plate are provided with two screw holes near the bottom end, the outer side of the adjusting bolt is provided with several sets of thread one, and the inner side wall of the screw hole two is provided with a screw hole matching the thread one. Thread two, one end of the rotating plate is movably installed with the movable groove through the adjusting bolt and the nut.
作为本实用新型的进一步方案,所述底座远离连接板一端位置固定设置有横板,所述横板上端表面靠近两侧位置均开设有横槽,横槽内部安装有连接轴,两组连接轴外部套设有弹力带。As a further solution of the present invention, a horizontal plate is fixedly arranged at one end of the base away from the connecting plate, a horizontal groove is formed on the upper surface of the horizontal plate near both sides, a connecting shaft is installed inside the horizontal groove, and two sets of connecting shafts are arranged. The outer sleeve has elastic straps.
与现有技术相比,本实用新型的有益效果是:该高拍仪安装座中,通过短轴配合凹槽一转动长板一端,使其另一端通过插块卡入凹槽二内部底端开设的插槽内部,压板跟随长板转动至其底面紧贴纸张上端表面位置,同理转动另一组长板带动另一组压板转动至其底面同样紧贴纸张上端表面,然后通过滑块沿着滑槽移动两组竖板,带动长板以及其底面安装的压板移动,对纸张进行抹平,将长板移动至纸张边缘,把固定螺杆一端穿过滑块转动至对应螺孔一内部,将压板的位置固定,可以对纸张边缘进行固定,同理将纸张另一边缘固定,通过上述操作,可以将使得纸张表面更加平整,且不易移动,从而使得扫描时更加清晰。Compared with the prior art, the beneficial effect of the present utility model is: in the high-speed meter mounting seat, one end of the long plate is rotated through the short shaft matching the
该高拍仪安装座中,将转动机构中的螺母转出,然后转动调节螺栓,使其一端在螺孔二内部松动,此时可以通过调节螺栓配合活动槽将转动板顺时针转动90°,带动伸缩杆顺时针转动90°,使其伸缩杆远离转动机构一端转动至横板上端表面,此时将弹力带套设在伸缩杆外部,可以将伸缩杆一端与横板之间的位置固定,从而可以减少该安装座的占用空间,便于用户收纳该安装座。In the mounting seat of the altimeter, the nut in the rotating mechanism is turned out, and then the adjusting bolt is rotated to make one end loose in the second screw hole. At this time, the rotating plate can be rotated 90° clockwise by the adjusting bolt and the movable slot. Drive the telescopic rod to rotate 90° clockwise, so that the end of the telescopic rod away from the rotating mechanism rotates to the upper surface of the horizontal plate. At this time, the elastic band is sleeved on the outside of the telescopic rod, and the position between one end of the telescopic rod and the horizontal plate can be fixed. Therefore, the occupied space of the mounting seat can be reduced, and it is convenient for the user to store the mounting seat.
附图说明Description of drawings
图1为本实用新型的整体结构示意图;Fig. 1 is the overall structure schematic diagram of the present utility model;
图2为本实用新型中图1中A处的放大图;Fig. 2 is the enlarged view of the place A in Fig. 1 in the utility model;
图3为本实用新型中转动机构与圆型柱结构示意图;3 is a schematic diagram of the structure of the rotating mechanism and the cylindrical column in the utility model;
图4为本实用新型中整平机构的局部结构示意图;Fig. 4 is the partial structure schematic diagram of the leveling mechanism in the utility model;
图中:1、底座;2、连接板;3、圆型柱;4、伸缩杆;5、横板;6、弹力带;7、活动槽;8、调节螺栓;9、螺母;10、转动板;11、滑槽;12、滑块;13、竖板;14、凹槽一;15、长板;16、压板;17、固定螺杆;18、插块;19、凹槽二;20、插槽;21、整平机构;22、转动机构。In the figure: 1. Base; 2. Connecting plate; 3. Round column; 4. Telescopic rod; 5. Horizontal plate; 6. Elastic band; 7. Active groove; 8. Adjusting bolt; 9. Nut; 10. Rotation plate; 11, chute; 12, slider; 13, vertical plate; 14, groove one; 15, long plate; 16, pressure plate; 17, fixing screw; 18, insert block; 19, groove two; 20, Slot; 21. Leveling mechanism; 22. Rotating mechanism.
具体实施方式Detailed ways
下面将结合本实用新型实施例中的附图,对本实用新型实施例中的技术方案进行清楚、完整地描述,显然,所描述的实施例仅仅是本实用新型一部分实施例,而不是全部的实施例。The technical solutions in the embodiments of the present utility model will be clearly and completely described below with reference to the accompanying drawings in the embodiments of the present utility model. Obviously, the described embodiments are only a part of the embodiments of the present utility model, rather than all the implementations. example.
在本实用新型的描述中,需要理解的是,术语“上”、“下”、“前”、“后”、“左”、“右”、“顶”、“底”、“内”、“外”等指示的方位或位置关系为基于附图所示的方位或位置关系,仅是为了便于描述本实用新型和简化描述,而不是指示或暗示所指的装置或元件必须具有特定的方位、以特定的方位构造和操作,因此不能理解为对本实用新型的限制。In the description of the present invention, it should be understood that the terms "upper", "lower", "front", "rear", "left", "right", "top", "bottom", "inside", The orientation or positional relationship indicated by "outside" is based on the orientation or positional relationship shown in the accompanying drawings, which is only for the convenience of describing the present invention and simplifying the description, rather than indicating or implying that the indicated device or element must have a specific orientation , are constructed and operated in a specific orientation, and therefore should not be construed as a limitation of the present invention.
实施例1Example 1
请参阅图1-4,本实用新型提供一种技术方案:一种高拍仪安装座,包括底座1与圆型柱3,底座1两侧均开设有滑槽11,滑槽11内部靠近中间位置插设有两组滑块12,两组滑块12上端设置有整平机构21,底座1上端靠近一侧位置设置有转动机构22,圆型柱3内部安装有转动柱,转动柱外侧面设置有滑动块,圆型柱3内侧壁开设有与滑动块相契合的环槽,转动柱上端安装有伸缩杆4。Please refer to FIGS. 1-4, the present utility model provides a technical solution: a high-speed meter mounting seat, including a
请参阅图1、2与4,整平机构21包括竖板13,竖板13上端开设有凹槽一14,另一组竖板13上端开设有凹槽二19,凹槽一14内部安装有长板15,长板15底面固定安装有压板16,长板15两侧面与凹槽一14内侧壁之间均安装有短轴,长板15底面远离凹槽一14一端位置设置有插块18,凹槽二19内部底端开设有与插块18相契合的插槽20。1, 2 and 4, the
长板15一端通过短轴配合凹槽一14与竖板13活动安装,其另一端通插块18配合插槽20与凹槽二19活动安装,滑槽11内侧壁开设有若干组螺孔一,滑块12外侧面插设有固定螺杆17,固定螺杆17一端穿过滑块12活动安装在螺孔一内部。One end of the
使用时,将高拍仪安装在伸缩杆4靠近上端位置,通过转动柱配合圆型柱3可以转动伸缩杆4,从而带动高拍仪转动,可以调节高拍仪的朝向,通过伸缩杆4可以调节高拍仪的高度,然后将需要扫描的纸张放置底座1上端端表面位置,此时通过短轴配合竖板13上开设的凹槽一14转动长板15一端,使其另一端通过插块18卡入凹槽二19内部底端开设的插槽20内部,可以将整平机构21中的长板15一端固定,压板16跟随长板15转动至其底面紧贴纸张上端表面位置,同理转动另一组长板15带动另一组压板16转动至其底面同样紧贴纸张上端表面,然后通过滑块12沿着滑槽11移动两组竖板13,带动长板15以及其底面安装的压板16移动,对纸张进行抹平,将长板15移动至纸张边缘时,将固定螺杆17一端穿过滑块12转动至对应螺孔一内部,可以将滑块12固定,从而将压板16的位置固定,可以对纸张边缘进行固定,同理将纸张另一边缘固定,使得纸张不易移动,通过上述操作,可以将使得纸张表面更加平整,且不易移动,从而使得扫描时更加清晰。When in use, install the altimeter on the
实施例2Example 2
请参阅图1-4,本实用新型提供一种技术方案:一种高拍仪安装座,包括底座1与圆型柱3,底座1两侧均开设有滑槽11,滑槽11内部靠近中间位置插设有两组滑块12,两组滑块12上端设置有整平机构21,底座1上端靠近一侧位置设置有转动机构22,圆型柱3内部安装有转动柱,转动柱外侧面设置有滑动块,圆型柱3内侧壁开设有与滑动块相契合的环槽,转动柱上端安装有伸缩杆4。Please refer to FIGS. 1-4, the present utility model provides a technical solution: a high-speed meter mounting seat, including a
请参阅图3,转动机构22包括连接板2,连接板2上端表面开设有活动槽7,活动槽7内部安装有转动板10,连接板2两侧面靠近上端位置均插设有调节螺栓8,调节螺栓8外部套设有螺母9,转动板10两侧面靠近底端位置均开设有螺孔二,调节螺栓8外侧面开设有若干组螺纹一,螺孔二内侧壁开设有与螺纹一契合的螺纹二,转动板10一端通过调节螺栓8配合螺母9与活动槽7活动安装,底座1远离连接板2一端位置固定设置有横板5,横板5上端表面靠近两侧位置均开设有横槽,横槽内部安装有连接轴,两组连接轴外部套设有弹力带6。Please refer to FIG. 3 , the rotating
具体的,使用完高拍仪后,将转动机构22中的螺母9转出,然后转动调节螺栓8,使其一端在螺孔二内部松动,此时可以通过调节螺栓8配合活动槽7将转动板10顺时针转动90°,带动伸缩杆4顺时针转动90°,使其伸缩杆4远离转动机构22一端转动至横板5上端表面,此时将弹力带6套设在伸缩杆4外部,可以将伸缩杆4一端与横板5之间的位置固定,从而可以减少该安装座的占用空间,便于用户收纳该安装座。Specifically, after using the altimeter, turn out the
以上所述,仅为本实用新型较佳的具体实施方式,但本实用新型的保护范围并不局限于此,任何熟悉本技术领域的技术人员在本实用新型揭露的技术范围内,根据本实用新型的技术方案及其实用新型构思加以等同替换或改变,都应涵盖在本实用新型的保护范围之内。The above are only the preferred specific embodiments of the present invention, but the protection scope of the present invention is not limited to this. Equivalent replacement or modification of the new technical solution and its utility model concept shall be included within the protection scope of the present utility model.
Claims (7)
Priority Applications (1)
| Application Number | Priority Date | Filing Date | Title |
|---|---|---|---|
| CN202123291646.4U CN217583731U (en) | 2021-12-25 | 2021-12-25 | High appearance mount pad of clapping |
Applications Claiming Priority (1)
| Application Number | Priority Date | Filing Date | Title |
|---|---|---|---|
| CN202123291646.4U CN217583731U (en) | 2021-12-25 | 2021-12-25 | High appearance mount pad of clapping |
Publications (1)
| Publication Number | Publication Date |
|---|---|
| CN217583731U true CN217583731U (en) | 2022-10-14 |
Family
ID=83525230
Family Applications (1)
| Application Number | Title | Priority Date | Filing Date |
|---|---|---|---|
| CN202123291646.4U Expired - Fee Related CN217583731U (en) | 2021-12-25 | 2021-12-25 | High appearance mount pad of clapping |
Country Status (1)
| Country | Link |
|---|---|
| CN (1) | CN217583731U (en) |
-
2021
- 2021-12-25 CN CN202123291646.4U patent/CN217583731U/en not_active Expired - Fee Related
Similar Documents
| Publication | Publication Date | Title |
|---|---|---|
| CN109040511B (en) | Library's taking photograph of intelligent mobile phone scanning means | |
| CN110822227A (en) | A projection device with wireless connection of peripherals | |
| CN217583731U (en) | High appearance mount pad of clapping | |
| CN212056404U (en) | A projector holder for education management | |
| CN209198868U (en) | Camera concentricity compensates equipment | |
| CN106453991A (en) | Multifunctional photographing type scanner | |
| CN108167589A (en) | A digital camera support and tiltable clamping seat | |
| CN216408317U (en) | A multi-angle monitoring system for integrated stage | |
| CN209283356U (en) | A kind of radio and television video camera | |
| CN219493529U (en) | Film and television program shooting bracket convenient to adjust | |
| CN214535282U (en) | Portable live broadcast equipment | |
| CN205961261U (en) | Portable outer prompter device that adopts | |
| CN211203459U (en) | On-site display all-in-one machine based on the field of engineering construction technology | |
| CN214507161U (en) | High-speed shooting instrument with voice control function | |
| CN207475685U (en) | A kind of advertisement media scanning means | |
| CN211667492U (en) | Electronic commerce teaching device | |
| CN221704962U (en) | Adjustable video shooting bracket | |
| CN219639908U (en) | Equipment support | |
| CN207732858U (en) | A kind of image reverse side detection device | |
| CN207869223U (en) | A kind of video conference rotating pick-up head | |
| CN213602689U (en) | A wall-mounted high-altitude camera | |
| CN219755968U (en) | Image pickup device | |
| CN211040161U (en) | Optical lens supporting seat with adjusting function | |
| CN218599331U (en) | Multi-view monitoring high-speed shooting instrument | |
| CN221922622U (en) | Support with height adjustment and laser television |
Legal Events
| Date | Code | Title | Description |
|---|---|---|---|
| GR01 | Patent grant | ||
| GR01 | Patent grant | ||
| CF01 | Termination of patent right due to non-payment of annual fee |
Granted publication date: 20221014 |
|
| CF01 | Termination of patent right due to non-payment of annual fee |
