CN217570645U - 一种用于市政工程的线缆拉直设备 - Google Patents

一种用于市政工程的线缆拉直设备 Download PDF

Info

Publication number
CN217570645U
CN217570645U CN202220830136.5U CN202220830136U CN217570645U CN 217570645 U CN217570645 U CN 217570645U CN 202220830136 U CN202220830136 U CN 202220830136U CN 217570645 U CN217570645 U CN 217570645U
Authority
CN
China
Prior art keywords
cable
clamping jaw
base
flare
inboard
Prior art date
Legal status (The legal status is an assumption and is not a legal conclusion. Google has not performed a legal analysis and makes no representation as to the accuracy of the status listed.)
Expired - Fee Related
Application number
CN202220830136.5U
Other languages
English (en)
Inventor
马宗财
施平
刘洪昌
Current Assignee (The listed assignees may be inaccurate. Google has not performed a legal analysis and makes no representation or warranty as to the accuracy of the list.)
Qingdao High Tech Construction And Installation Engineering Co ltd
Original Assignee
Qingdao High Tech Construction And Installation Engineering Co ltd
Priority date (The priority date is an assumption and is not a legal conclusion. Google has not performed a legal analysis and makes no representation as to the accuracy of the date listed.)
Filing date
Publication date
Application filed by Qingdao High Tech Construction And Installation Engineering Co ltd filed Critical Qingdao High Tech Construction And Installation Engineering Co ltd
Priority to CN202220830136.5U priority Critical patent/CN217570645U/zh
Application granted granted Critical
Publication of CN217570645U publication Critical patent/CN217570645U/zh
Expired - Fee Related legal-status Critical Current
Anticipated expiration legal-status Critical

Links

Images

Landscapes

  • Electric Cable Installation (AREA)

Abstract

本实用新型涉及市政工程领域,尤其为一种用于市政工程的线缆拉直设备,包括底座,所述底座顶端左侧设有拉直机构,所述底座的内侧设有移动机构,所述移动机构的上方设有固定机构,所述拉直机构与固定机构的内侧设有线缆,所述线缆的右端下方设有线缆支撑机构,本实用新型中,通过设置的底座、拉直机构、固定机构等,本装置使用时,线缆穿过第一固定盘与第二固定盘的中心,通过打开第二伺服电机带动第二固定片运动,从而使得第二夹爪通过第二连杆同步运动进而通过防滑件将线缆固定,通过打开第一伺服电机使得第一杆件配合着,第一夹爪上的滚轮将线缆夹紧,使得线缆可以快速拉直,本装置适用于各种尺寸的线缆进行拉直,使用方便。

Description

一种用于市政工程的线缆拉直设备
技术领域
本实用新型涉及市政工程领域,具体来说,涉及一种用于市政工程的线缆拉直设备。
背景技术
在市政工程中,线缆使用的情况较多,线缆在运输的过程中会有弯折的情况,在线缆铺设的过程中首先需要将线缆进行拉直,现有的市政工程的线缆拉直设备在使用时不能根据线缆的粗细情况进行快速改变适应,使用过程调整复杂,不适用于外界的工作环境,与此同时,现有的市政工程的线缆拉直设备在使用时无法根据线缆的情况快速调整支撑杆的高度,无法快速移动装置,适用性较差。
针对相关技术中的问题,目前尚未提出有效的解决方案。
实用新型内容
针对相关技术中的问题,本实用新型提出一种用于市政工程的线缆拉直设备,以克服现有相关技术所存在的上述技术问题。
本实用新型的技术方案是这样实现的:
一种用于市政工程的线缆拉直设备,包括底座,所述底座顶端左侧设有拉直机构,所述底座的内侧设有移动机构,所述移动机构的上方设有固定机构,所述拉直机构与固定机构的内侧设有线缆,所述线缆的右端下方设有线缆支撑机构。
进一步的,所述底座的底端设有万向轮,所述底座的顶端左侧固定连接有推手杆。
进一步的,所述拉直机构包括第一立杆,所述第一立杆与底座固定连接,所述第一立杆的顶端设有第一固定盘,所述第一固定盘的内侧转动连接有第一夹爪,所述第一夹爪的外侧转动连接有第一连杆,所述第一夹爪的内侧设有滚轮。
进一步的,位于前端的所述第一夹爪的外侧固定连接有第一固定片,所述第一固定片的顶端设有第一电动伸缩杆,所述第一夹爪通过第一连杆相连。
进一步的,所述移动机构包括伺服电机,所述伺服电机的主轴末端固定连接有丝杆,所述丝杆与底座转动连接,所述丝杆的外侧螺旋连接有丝杆套筒。
进一步的,所述固定机构包括第二立杆,所述第二立杆的顶端设有第二固定盘,所述第二固定盘的内侧转动连接有第二夹爪,所述第二夹爪的外侧转动连接有第二连杆,所述第二夹爪的内侧固定连接有防滑件,位于前端的所述第二夹爪外侧固定连接有第二固定片,所述第二固定片的顶端设有第二电动伸缩杆。
进一步的,所述线缆支撑机构包括支撑杆,所述支撑杆的下端外侧设有滑筒,所述滑筒的右端上侧设有紧固螺栓。
本实用新型提供了一种用于市政工程的线缆拉直设备,本实用新型的有益效果如下:
1、本实用新型中,通过设置的底座、拉直机构、固定机构等,本装置使用时,线缆穿过第一固定盘与第二固定盘的中心,通过打开第二伺服电机带动第二固定片运动,从而使得第二夹爪通过第二连杆同步运动进而通过防滑件将线缆固定,通过打开第一伺服电机使得第一杆件配合着,第一夹爪上的滚轮将线缆夹紧,使得线缆可以快速拉直,本装置适用于各种尺寸的线缆进行拉直,使用方便;
2、本实用新型中,通过设置的底座、移动机构、线缆支撑机构等,本装置使用时可以通过手握推手杆带动底座进行移动,底部设有的万向轮方便自由移动,本装置通过对紧固螺栓进行旋拧,可以改变支撑杆在滑筒之中的长度,从而快速调节线缆右端的支撑高度,通过打开伺服电机,伺服电机带动丝杆进行转动,丝杆转动后带动丝杆套筒旋转并在底座中滑动,进而带动固定机构同步移动,本装置调整方便,且方便移动,功能性较强。
附图说明
为了更清楚地说明本实用新型实施例或现有技术中的技术方案,下面将对实施例中所需要使用的附图作简单地介绍,显而易见地,下面描述中的附图仅仅是本实用新型的一些实施例,对于本领域普通技术人员来讲,在不付出创造性劳动的前提下,还可以根据这些附图获得其他的附图。
图1是根据本实用新型实施例的一种用于市政工程的线缆拉直设备的整体结构示意图;
图2是根据本实用新型实施例的一种用于市政工程的线缆拉直设备的拉直机构结构示意图;
图3是根据本实用新型实施例的一种用于市政工程的线缆拉直设备的固定机构结构示意图;
图4是根据本实用新型实施例的一种用于市政工程的线缆拉直设备的线缆支撑机构的结构示意图。
图中:
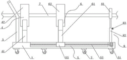
1-底座、2-万向轮、3-推手杆、4-拉直机构、41-第一立杆、42-第一固定盘、43-第一夹爪、44-第一连杆、45-滚轮、46-第一固定片、47-第一电动伸缩杆、5-移动机构、51-伺服电机、52-丝杆、53-丝杆套筒、6-固定机构、61-第二立杆、62-第二固定盘、63-第二夹爪、64-第二连杆、65-防滑件、66-第二固定片、67-第二电动伸缩杆、7-线缆、8-线缆支撑机构、81-支撑杆、82-滑筒、83-紧固螺栓。
具体实施方式
下面将结合本实用新型实施例中的附图,对本实用新型实施例中的技术方案进行清楚、完整地描述,显然,所描述的实施例仅仅是本实用新型一部分实施例,而不是全部的实施例。基于本实用新型中的实施例,本领域普通技术人员在没有做出创造性劳动前提下所获得的所有其他实施例,都属于本实用新型保护的范围。
下面,结合附图以及具体实施方式,对本实用新型做出进一步的描述:
实施例一:
请参阅图1-3,根据本实用新型实施例的一种用于市政工程的线缆拉直设备,包括底座1,底座1顶端左侧设有拉直机构4,底座1的内侧设有移动机构5,移动机构5的上方设有固定机构6,拉直机构4与固定机构6的内侧设有线缆7,线缆7的右端下方设有线缆支撑机构8。
拉直机构4包括第一立杆41,第一立杆41与底座1固定连接,第一立杆41的顶端设有第一固定盘42,第一固定盘42的内侧转动连接有第一夹爪43,第一夹爪43的外侧转动连接有第一连杆44,第一夹爪43的内侧设有滚轮45,位于前端的第一夹爪43的外侧固定连接有第一固定片46,第一固定片46的顶端设有第一电动伸缩杆47,第一夹爪43通过第一连杆44相连,固定机构6包括第二立杆61,第二立杆61的顶端设有第二固定盘62,第二固定盘62的内侧转动连接有第二夹爪63,第二夹爪63的外侧转动连接有第二连杆64,第二夹爪63的内侧固定连接有防滑件65,位于前端的第二夹爪63外侧固定连接有第二固定片66,第二固定片66的顶端设有第二电动伸缩杆67。
本装置使用时,线缆7穿过第一固定盘42与第二固定盘62的中心,打开第二电动伸缩杆67带动第二固定片66运动,第二固定片66进而带动前端的第二夹爪63运动,通过第二连杆64使得所有的第二夹爪63同步运动,从而通过防滑件65将线缆7右端夹紧固定,通过打开第一电动伸缩杆47通过第一固定片46带动前端的第一夹爪43运动,进而通过第一连杆44所有第一夹爪43同步运动,滚轮45将线缆7夹紧,进而在移动机构5带动固定机构6移动,使得线缆7可以快速拉直。
实施例二:
请参阅图1和图4,根据本实用新型实施例的一种用于市政工程的线缆拉直设备,包括底座1,底座1顶端左侧设有拉直机构4,底座1的内侧设有移动机构5,移动机构5的上方设有固定机构6,拉直机构4与固定机构6的内侧设有线缆7,线缆7的右端下方设有线缆支撑机构8。
底座1的底端设有万向轮2,底座1的顶端左侧固定连接有推手杆3,移动机构5包括伺服电机51,伺服电机51的主轴末端固定连接有丝杆52,丝杆52与底座1转动连接,丝杆52的外侧螺旋连接有丝杆套筒53,线缆支撑机构8包括支撑杆81,支撑杆81的下端外侧设有滑筒82,滑筒82的右端上侧设有紧固螺栓83。
本装置使用时可以通过手握推手杆3带动底座1进行移动,底部设有的万向轮2方便自由移动,本装置通过对紧固螺栓83进行旋拧,可以改变支撑杆81在滑筒82之中的长度,从而快速调节线缆7右端的支撑高度,通过打开伺服电机51,伺服电机51带动丝杆52进行转动,丝杆52转动后带动丝杆套筒53旋转并在底座1中滑动,进而带动固定机构6同步移动。
为了方便理解本实用新型的上述技术方案,以下就本实用新型在实际过程中的工作原理或者操作方式进行详细说明。
在实际应用时,在使用时,本装置使用时可以通过手握推手杆3带动底座1进行移动,底部设有的万向轮2方便自由移动,本装置通过对紧固螺栓83进行旋拧,可以改变支撑杆81在滑筒82之中的长度,从而快速调节线缆7右端的支撑高度,通过打开伺服电机51,伺服电机51带动丝杆52进行转动,丝杆52转动后带动丝杆套筒53旋转并在底座1中滑动,进而带动固定机构6同步移动,本装置使用时,线缆7穿过第一固定盘42与第二固定盘62的中心,打开第二电动伸缩杆67带动第二固定片66运动,第二固定片66进而带动前端的第二夹爪63运动,通过第二连杆64使得所有的第二夹爪63同步运动,从而通过防滑件65将线缆7右端夹紧固定,通过打开第一电动伸缩杆47通过第一固定片46带动前端的第一夹爪43运动,进而通过第一连杆44所有第一夹爪43同步运动,滚轮45将线缆7夹紧,进而在移动机构5带动固定机构6移动,使得线缆7可以快速拉直。
以上所述仅为本实用新型的较佳实施例而已,并不用以限制本实用新型,凡在本实用新型的精神和原则之内,所作的任何修改、等同替换、改进等,均应包含在本实用新型的保护范围之内。

Claims (7)

1.一种用于市政工程的线缆拉直设备,包括底座(1),其特征在于:所述底座(1)顶端左侧设有拉直机构(4),所述底座(1)的内侧设有移动机构(5),所述移动机构(5)的上方设有固定机构(6),所述拉直机构(4)与固定机构(6)的内侧设有线缆(7),所述线缆(7)的右端下方设有线缆支撑机构(8)。
2.根据权利要求1所述的一种用于市政工程的线缆拉直设备,其特征在于:所述底座(1)的底端设有万向轮(2),所述底座(1)的顶端左侧固定连接有推手杆(3)。
3.根据权利要求1所述的一种用于市政工程的线缆拉直设备,其特征在于:所述拉直机构(4)包括第一立杆(41),所述第一立杆(41)与底座(1)固定连接,所述第一立杆(41)的顶端设有第一固定盘(42),所述第一固定盘(42)的内侧转动连接有第一夹爪(43),所述第一夹爪(43)的外侧转动连接有第一连杆(44),所述第一夹爪(43)的内侧设有滚轮(45)。
4.根据权利要求3所述的一种用于市政工程的线缆拉直设备,其特征在于:位于前端的所述第一夹爪(43)的外侧固定连接有第一固定片(46),所述第一固定片(46)的顶端设有第一电动伸缩杆(47),所述第一夹爪(43)通过第一连杆(44)相连。
5.根据权利要求1所述的一种用于市政工程的线缆拉直设备,其特征在于:所述移动机构(5)包括伺服电机(51),所述伺服电机(51)的主轴末端固定连接有丝杆(52),所述丝杆(52)与底座(1)转动连接,所述丝杆(52)的外侧螺旋连接有丝杆套筒(53)。
6.根据权利要求1所述的一种用于市政工程的线缆拉直设备,其特征在于:所述固定机构(6)包括第二立杆(61),所述第二立杆(61)的顶端设有第二固定盘(62),所述第二固定盘(62)的内侧转动连接有第二夹爪(63),所述第二夹爪(63)的外侧转动连接有第二连杆(64),所述第二夹爪(63)的内侧固定连接有防滑件(65),位于前端的所述第二夹爪(63)外侧固定连接有第二固定片(66),所述第二固定片(66)的顶端设有第二电动伸缩杆(67)。
7.根据权利要求1所述的一种用于市政工程的线缆拉直设备,其特征在于:所述线缆支撑机构(8)包括支撑杆(81),所述支撑杆(81)的下端外侧设有滑筒(82),所述滑筒(82)的右端上侧设有紧固螺栓(83)。
CN202220830136.5U 2022-04-12 2022-04-12 一种用于市政工程的线缆拉直设备 Expired - Fee Related CN217570645U (zh)

Priority Applications (1)

Application Number Priority Date Filing Date Title
CN202220830136.5U CN217570645U (zh) 2022-04-12 2022-04-12 一种用于市政工程的线缆拉直设备

Applications Claiming Priority (1)

Application Number Priority Date Filing Date Title
CN202220830136.5U CN217570645U (zh) 2022-04-12 2022-04-12 一种用于市政工程的线缆拉直设备

Publications (1)

Publication Number Publication Date
CN217570645U true CN217570645U (zh) 2022-10-14

Family

ID=83542047

Family Applications (1)

Application Number Title Priority Date Filing Date
CN202220830136.5U Expired - Fee Related CN217570645U (zh) 2022-04-12 2022-04-12 一种用于市政工程的线缆拉直设备

Country Status (1)

Country Link
CN (1) CN217570645U (zh)

Similar Documents

Publication Publication Date Title
CN212635493U (zh) 一种锂电池加工用固定装置
CN217442846U (zh) 一种驱动桥总成加工用运转检测装置
CN217570645U (zh) 一种用于市政工程的线缆拉直设备
CN210223662U (zh) 一种电缆生产的束丝机
CN212551476U (zh) 一种铜线的下料装置
CN222021342U (zh) 一种钢材加工喷涂设备的预处理装置
CN211619665U (zh) 一种电线电缆收放途中自清理装置
CN221047026U (zh) 一种三轮摩托车边梁折弯冲弧模具装置
CN211812233U (zh) 一种多角度可调节金属废料抓取装置
CN214721179U (zh) 一种小推车轮胎加工用毛刺处理结构
CN213034388U (zh) 一种建筑用u型钢外表面处理用装夹设备
CN213439524U (zh) 一种用于汽车零部件加工翻转装置
CN218194697U (zh) 一种锂电池铝壳加工用夹持装置
CN210638915U (zh) 一种钢管生产检测用裁切取样装置
CN216444781U (zh) 一种电力电缆快速收缴装置
CN218170035U (zh) 一种电工维修用可折叠钳子
CN207953890U (zh) 一种重载工业机器人抓手
CN220241373U (zh) 钢管螺丝对接装置
CN218487564U (zh) 一种信号环焊接夹持装置
CN220574543U (zh) 一种植保无人机支架生产用折弯装置
CN223223106U (zh) 一种可调式钢管焊珠去除装置
CN221290532U (zh) 一种建筑工程用管状零部件表面处理打磨装置
CN220431560U (zh) 一种玻璃料架
CN215639359U (zh) 一种交通工程便捷式检测仪
CN221871768U (zh) 一种便于定位的镜片加工用夹持装置

Legal Events

Date Code Title Description
GR01 Patent grant
GR01 Patent grant
CF01 Termination of patent right due to non-payment of annual fee

Granted publication date: 20221014

CF01 Termination of patent right due to non-payment of annual fee