CN217556728U - An embedded structure for strengthening and widening medium and small span bridges and culverts - Google Patents
An embedded structure for strengthening and widening medium and small span bridges and culverts Download PDFInfo
- Publication number
- CN217556728U CN217556728U CN202221544468.3U CN202221544468U CN217556728U CN 217556728 U CN217556728 U CN 217556728U CN 202221544468 U CN202221544468 U CN 202221544468U CN 217556728 U CN217556728 U CN 217556728U
- Authority
- CN
- China
- Prior art keywords
- section
- corrugated steel
- reinforcement
- extension
- reinforcing
- Prior art date
- Legal status (The legal status is an assumption and is not a legal conclusion. Google has not performed a legal analysis and makes no representation as to the accuracy of the status listed.)
- Active
Links
- 238000005728 strengthening Methods 0.000 title description 3
- 229910000831 Steel Inorganic materials 0.000 claims abstract description 119
- 239000010959 steel Substances 0.000 claims abstract description 119
- 230000002787 reinforcement Effects 0.000 claims abstract description 76
- 230000003014 reinforcing effect Effects 0.000 claims abstract description 21
- 239000004567 concrete Substances 0.000 claims abstract description 15
- 230000000295 complement effect Effects 0.000 claims description 2
- 239000002689 soil Substances 0.000 abstract description 8
- 238000005516 engineering process Methods 0.000 abstract description 2
- 238000000034 method Methods 0.000 description 4
- 239000000463 material Substances 0.000 description 2
- 239000004593 Epoxy Substances 0.000 description 1
- 230000009286 beneficial effect Effects 0.000 description 1
- 238000010276 construction Methods 0.000 description 1
- 238000005336 cracking Methods 0.000 description 1
- 230000007812 deficiency Effects 0.000 description 1
- 201000010099 disease Diseases 0.000 description 1
- 208000037265 diseases, disorders, signs and symptoms Diseases 0.000 description 1
- 239000000945 filler Substances 0.000 description 1
- 238000009415 formwork Methods 0.000 description 1
- 239000011440 grout Substances 0.000 description 1
- 230000007774 longterm Effects 0.000 description 1
- 239000011150 reinforced concrete Substances 0.000 description 1
- 239000004575 stone Substances 0.000 description 1
- XLYOFNOQVPJJNP-UHFFFAOYSA-N water Substances O XLYOFNOQVPJJNP-UHFFFAOYSA-N 0.000 description 1
Images
Landscapes
- Road Paving Structures (AREA)
Abstract
本实用新型涉及一种加固和加宽中小跨径桥梁和涵洞的埋置式结构,包括:原结构、加固段波纹钢、接长段波纹钢、混凝土填充层、土工格栅、接长段回填土、加固段回填土、加固段波纹钢基础、接长段波纹钢基础、波纹钢基础与原结构之间的植筋、加固段角钢、接长段角钢、加固段地脚螺栓、接长段地脚螺栓。本实用新型通过优化加固结构以及利用土工格栅加筋技术在对接长段减载的同时解决接长段和加固段路基差异沉降的问题。通过在接长段波纹钢上方增设土工格栅将接长段的波纹钢荷载转移到加固段,并加强路面的平顺性。通过先分层回填接长段的回填土,再浇筑加固段的混凝土填充层,可减少加固段波纹钢与混凝土填充层之间的相对滑动。
The utility model relates to an embedded structure for reinforcing and widening bridges and culverts with medium and small spans, comprising: an original structure, corrugated steel in a reinforcing section, corrugated steel in a connecting section, a concrete filling layer, a geogrid, and backfill soil in the connecting section , Backfill soil in reinforcement section, corrugated steel foundation in reinforcement section, corrugated steel foundation in extension section, planting bars between corrugated steel foundation and original structure, angle steel in reinforcement section, angle steel in extension section, anchor bolt in reinforcement section, ground in extension section foot bolts. The utility model solves the problem of differential settlement of the roadbed of the connecting long section and the reinforcing section by optimizing the reinforcing structure and using the geogrid reinforcing technology to reduce the load of the connecting long section. By adding a geogrid above the corrugated steel in the extension section, the load of the corrugated steel in the extension section is transferred to the reinforcement section, and the smoothness of the road surface is enhanced. The relative sliding between the corrugated steel in the reinforcement section and the concrete filling layer can be reduced by backfilling the long section of backfill soil in layers, and then pouring the concrete filling layer in the reinforcement section.
Description
技术领域technical field
本实用新型属于桥梁工程技术领域,特别涉及一种加固和加宽中小跨径桥梁和涵洞的埋置式结构。The utility model belongs to the technical field of bridge engineering, in particular to an embedded structure for reinforcing and widening medium and small span bridges and culverts.
背景技术Background technique
近年来,公路的运输压力上升,原有公路迫切需要改扩建从而满足迅速增大的交通需求。在车辆荷载的长期冲击以及地基不均匀沉降等因素作用下,许多钢筋混凝土结构出现开裂、渗漏水、掉块等病害,所以在高速公路扩建的同时需要对原有的桥梁和涵洞进行加固。In recent years, the transportation pressure of highways has increased, and the original highways urgently need to be reconstructed and expanded to meet the rapidly increasing transportation demand. Under the long-term impact of vehicle loads and the uneven settlement of the foundation, many reinforced concrete structures have cracks, water leakage, block drop and other diseases. Therefore, the original bridges and culverts need to be reinforced when the expressway is expanded.
波纹钢内衬加固结构是将波纹管(板)内衬于现有圆管涵、箱涵、拱涵、盖板涵、梁桥、拱桥中,并在内衬材料和原结构之间填充混凝土等微膨胀材料。内衬的波纹钢板可以延伸到两侧用于既有道路的加宽。波纹钢内衬加固法利用原有结构的基础,不需要大面积的植筋和凿毛,施工方便,且不中断交通,承载力的增长幅度可根据填充料的厚度和强度等进行调整。考虑到利用波纹钢加固和接长中小跨径桥梁和涵洞时加固段和接长段刚度不同以及地基的不均匀沉降下往往会造成路面的开裂,实际工程中往往通过在接长段的波纹钢上浇筑轻质来平衡刚度,此做法施工复杂,且不经济环保。The corrugated steel lining reinforcement structure is to line the corrugated pipes (plates) in the existing round pipe culverts, box culverts, arch culverts, cover plate culverts, beam bridges, and arch bridges, and fill concrete between the lining material and the original structure. and other micro-expandable materials. Corrugated steel lining can be extended to both sides for widening of existing roads. The corrugated steel lining reinforcement method utilizes the foundation of the original structure, does not require a large area of planting bars and chisels, is convenient for construction, and does not interrupt traffic, and the increase in bearing capacity can be adjusted according to the thickness and strength of the filler. Considering that the use of corrugated steel to reinforce and lengthen bridges and culverts with medium and small spans, the stiffness of the reinforcement section and the extension section are different and the uneven settlement of the foundation will often cause cracks in the pavement. To balance the stiffness by pouring light weight, this method is complicated to construct, and is not economical and environmentally friendly.
实用新型内容Utility model content
本实用新型的目的在于克服上述现有技术的不足,提供一种利用波纹钢加固和加宽中小跨径桥梁和涵洞的埋置式结构,通过优化加固结构以及利用土工格栅加筋技术在对接长段减载的同时解决接长段和加固段路基差异沉降的问题。The purpose of this utility model is to overcome the deficiencies of the above-mentioned prior art, and to provide a kind of embedded structure that utilizes corrugated steel to reinforce and widen bridges and culverts with medium and small spans. At the same time, the problem of differential settlement of the subgrade in the extension section and the reinforcement section is solved.
一种加固和加宽中小跨径桥梁和涵洞的埋置式结构,包括:原结构、加固段波纹钢、接长段波纹钢、混凝土填充层、土工格栅、接长段回填土部分、加固段回填土部分、加固段波纹钢基础部分、接长段波纹钢基础部分、波纹钢基础部分与原结构之间的植筋、加固段角钢、接长段角钢、加固段地脚螺栓和接长段地脚螺栓;An embedded structure for reinforcing and widening small and medium-span bridges and culverts, comprising: original structure, corrugated steel in reinforcement section, corrugated steel in extension section, concrete filling layer, geogrid, backfill part in extension section, reinforcement section The backfill part, the corrugated steel foundation part of the reinforcement section, the corrugated steel foundation part of the extension section, the planting bars between the corrugated steel foundation part and the original structure, the reinforcement section angle steel, the extension section angle steel, the reinforcement section anchor bolts and the extension section anchor bolts;
加固段波纹钢和接长段的波纹钢的断面相同,混凝土填充层位于加固段波纹钢与原结构之间,土工格栅位于接长段回填土部分内,加固段波纹钢基础部分和接长段波纹钢基础部分的内表面位于同一平面内,两者的顶面位于同一平面内,加固段波纹钢与加固段波纹钢基础部分通过预埋入加固段波纹钢基础部分的加固段地脚螺栓和加固段角钢连接,接长段波纹钢与接长段波纹钢基础部分通过预埋入接长段波纹钢基础部分的接长段地脚螺栓和接长段角钢连接;加固段波纹钢基础部分与原结构的基础部分或侧墙通过波纹钢基础部分与原结构之间的植筋连接;接长段回填土部分和加固段回填土部分分别位于原结构和接长段波纹钢上方;接长段回填土部分与加固段回填土部分的接触面为互补的锯齿状。The corrugated steel in the reinforcement section and the corrugated steel in the extension section have the same cross section, the concrete filling layer is located between the corrugated steel in the reinforcement section and the original structure, the geogrid is located in the backfill part of the extension section, the corrugated steel foundation part of the reinforcement section and the extension section The inner surface of the corrugated steel foundation part of the section is in the same plane, and the top surfaces of the two are in the same plane. The corrugated steel foundation part of the reinforcement section and the corrugated steel foundation part of the reinforcement section are pre-buried through the anchor bolts of the reinforcement section of the corrugated steel foundation part of the reinforcement section. It is connected with the angle steel of the reinforcement section, the corrugated steel of the extension section and the corrugated steel base part of the extension section are connected by the anchor bolts of the extension section embedded in the base part of the corrugated steel of the extension section and the angle steel of the extension section; the corrugated steel foundation part of the reinforcement section is connected. It is connected with the foundation part or side wall of the original structure through the planting reinforcement between the corrugated steel foundation part and the original structure; the backfill part of the extension section and the backfill part of the reinforcement section are located above the original structure and the corrugated steel section of the extension section respectively; The contact surface between the backfill part of the segment and the backfill part of the reinforcement segment is a complementary sawtooth shape.
进一步的,所述加固段波纹钢和接长段波纹钢为由波纹钢板组成的拱形或箱型波纹钢结构。Further, the corrugated steel in the reinforcement section and the corrugated steel in the extension section are arch or box-shaped corrugated steel structures composed of corrugated steel plates.
进一步的,所述波纹钢基础部分与原结构之间的植筋为普通钢筋或螺栓式锚筋。Further, the planting bars between the corrugated steel foundation part and the original structure are ordinary steel bars or bolt-type anchor bars.
进一步的,所述加固段角钢和接长段角钢为侧面开设两排圆孔,底面开设一排圆孔的等边或不等边角钢。Further, the reinforcing section angle steel and the lengthening section angle steel are equilateral or unequal angle steels with two rows of circular holes on the side and one row of circular holes on the bottom.
进一步的,所述加固段地脚螺栓和接长段地脚螺栓为套丝L型钢棒。Further, the anchor bolts of the reinforcement section and the anchor bolts of the extension section are L-shaped steel rods with wires.
本实用新型的有益效果:The beneficial effects of the present utility model:
本实用新型通过优化加固结构以及利用土工格栅加筋技术在对接长段减载的同时解决接长段和加固段路基差异沉降的问题。通过在接长段波纹钢上方增设土工格栅将接长段的波纹钢荷载转移到加固段,并加强路面的平顺性。通过先分层回填接长段的回填土,再浇筑加固段的混凝土填充层,可减少加固段波纹钢与混凝土填充层之间的相对滑动。The utility model solves the problem of differential settlement of the roadbed of the connecting long section and the reinforcing section by optimizing the reinforcing structure and utilizing the geogrid reinforcing technology to reduce the load of the connecting long section. By adding a geogrid above the corrugated steel in the extension section, the load of the corrugated steel in the extension section is transferred to the reinforcement section, and the smoothness of the road surface is enhanced. The relative sliding between the corrugated steel in the reinforcement section and the concrete filling layer can be reduced by firstly backfilling the long section of backfill soil in layers, and then pouring the concrete filling layer in the reinforcement section.
附图说明Description of drawings
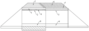
图1是加固和加宽中小跨径桥梁和涵洞的埋置式结构立面图,Figure 1 is an elevation view of the embedded structure for reinforcing and widening small and medium-span bridges and culverts.
图2是加固和加宽中小跨径桥梁和涵洞的埋置式结构接长段断面图,Figure 2 is a cross-sectional view of the long section of the embedded structure for strengthening and widening small and medium-span bridges and culverts.
图3是加固和加宽中小跨径桥梁和涵洞的埋置式结构加固段断面图,Figure 3 is a cross-sectional view of the embedded structural reinforcement section for strengthening and widening small and medium-span bridges and culverts.
图4是加固段和接长段拱脚交接位置侧面图。Fig. 4 is a side view of the connection position of the arch foot of the reinforcement section and the extension section.
附图标记:原结构1,加固段的波纹钢2,接长段的波纹钢3,混凝土填充层4,土工格栅5,接长段回填土6,加固段回填土7,加固段波纹钢基础8,接长段波纹钢基础9,波纹钢基础与原结构之间的植筋10,加固段角钢11,接长段角钢12,加固段地脚螺栓13,接长段地脚螺栓14。Reference signs: original structure 1, corrugated steel in the reinforcement section 2, corrugated steel in the extension section 3, concrete filling layer 4, geogrid 5, backfill soil 6 in the extension section, backfill soil in the reinforcement section 7, corrugated steel in the
具体实施方式Detailed ways
为使本领域的技术人员更好地理解本实用新型的技术方案,下面结合实施例对本实用新型提供的一种加固和加宽中小跨径桥梁和涵洞的埋置式结构进行详细描述。以下实施例仅用于说明本实用新型而非用于限制本实用新型的范围。In order to make those skilled in the art better understand the technical solutions of the present invention, the following describes in detail an embedded structure for reinforcing and widening small and medium-span bridges and culverts provided by the present invention with reference to the embodiments. The following examples are only used to illustrate the present invention and not to limit the scope of the present invention.
本实用新型为解决波纹钢加固和接长中小跨径桥梁和涵洞时加固段和接长段刚度不同以及地基的不均匀沉降下造成的路面开裂,提出一种埋置式结构,在对接长段减载的同时解决接长段和加固段路基差异沉降的问题。The utility model proposes an embedded structure in order to solve the pavement cracking caused by the difference in stiffness of the reinforcement section and the extension section and the uneven settlement of the foundation when corrugated steel is reinforced and long-medium and small-span bridges and culverts are connected. At the same time, the problem of differential settlement of the subgrade in the extension section and the reinforcement section is solved.
实施例1Example 1
一种加固和加宽中小跨径桥梁和涵洞的埋置式结构,包括:原结构1、加固段的波纹钢2、接长段的波纹钢3、混凝土填充层4、土工格栅5、接长段回填土6、加固段回填土7、加固段波纹钢基础8、接长段波纹钢基础9、波纹钢基础与原结构之间的植筋10、加固段角钢11、接长段角钢12、加固段地脚螺栓13、接长段地脚螺栓14。An embedded structure for reinforcing and widening small and medium-span bridges and culverts, comprising: original structure 1, corrugated steel in reinforcement section 2, corrugated steel in extension section 3, concrete filling layer 4, geogrid 5, extension section Section backfill 6, reinforcement section backfill 7, reinforcement section
原结构1为待加固和扩建的中小跨径桥梁或涵洞。加固段的波纹钢2和接长段的波纹钢3为由波纹钢板组成的拱形、箱型波纹钢结构。混凝土填充层4为微膨胀混凝土。波纹钢基础与原结构之间的植筋10为普通钢筋或螺栓式锚筋。加固段角钢11和接长段角钢12为侧面开设两排圆孔,底面开设一排圆孔的等边或不等边角钢。加固段地脚螺栓13和接长段地脚螺栓为套丝L型钢棒。The original structure 1 is a small and medium-span bridge or culvert to be reinforced and expanded. The corrugated steel 2 of the reinforcement section and the corrugated steel 3 of the extension section are arch-shaped and box-shaped corrugated steel structures composed of corrugated steel plates. The concrete filling layer 4 is micro-expanded concrete. The
拆除老路的路缘石和翼墙,清除已剥落的部分,将老路与新路拼接的边坡坡面0.3m左右厚度内土挖除换填。之后从加宽一侧的坡脚向上挖设台阶。将原结构与加固段波纹钢基础的交界面凿毛,并在凿毛面上植筋,绑扎加固段波纹钢基础和接长段波纹钢基础的钢筋和预埋地脚螺栓,并将加固段波纹钢基础内的钢筋与植入的钢筋焊接。加固段的波纹钢基础和接长段的波纹钢基础之间应设置沉降缝。对原结构的表面进行清理,利用灌浆法对原结构的裂缝进行压浆填充,在其表面涂刷环氧浆液。安装加固段波纹钢基础和接长段波纹钢基础的模板,并进行浇筑。基础浇筑完成之后分片安装波纹钢,并在加固段和接长段的交接位置安装挡板。之后分层回填接长段波纹钢上方的土体,达到土工格栅的设计标高时铺设土工格栅,并继续分层回填。回填至设计标高之后,在加固段波纹钢与原结构之间填筑微膨胀混凝土,最后施作路面层。Remove the curb stone and wing wall of the old road, remove the peeled part, and excavate and replace the inner soil with a thickness of about 0.3m on the slope surface where the old road and the new road are spliced. Steps are then dug up from the foot of the widened side. Chisel the interface between the original structure and the corrugated steel foundation of the reinforcement section, plant reinforcement on the chiseled surface, bind the reinforcement section and the pre-buried anchor bolts of the corrugated steel foundation of the reinforcement section and the corrugated steel foundation of the extension section, and attach the reinforcement section to the corrugated steel foundation. The reinforcement in the corrugated steel foundation is welded to the implanted reinforcement. Settlement joints should be set between the corrugated steel foundation of the reinforcement section and the corrugated steel foundation of the extension section. The surface of the original structure is cleaned, the cracks of the original structure are filled with grouting by the grouting method, and epoxy grout is applied on the surface. Install the corrugated steel foundation of the reinforcement section and the formwork of the corrugated steel foundation of the extension section, and pour it. After the foundation is poured, corrugated steel is installed in pieces, and baffles are installed at the junction of the reinforcement section and the extension section. After that, the soil above the long corrugated steel is backfilled in layers, and the geogrid is laid when the design elevation of the geogrid is reached, and the layered backfill is continued. After backfilling to the design elevation, micro-expansion concrete is filled between the corrugated steel in the reinforcement section and the original structure, and finally the pavement layer is applied.
上面结合附图对本实用新型的实例作了详细说明,但是本实用新型并不限于上述实例,在本领域普通技术人员所具备的知识范围内,还可以在不脱离本实用新型宗旨的前提下作出的各种变化,也应视为本实用新型的保护范围。The examples of the present utility model have been described in detail above in conjunction with the accompanying drawings, but the present utility model is not limited to the above-mentioned examples, and can also be made without departing from the purpose of the present utility model within the scope of knowledge possessed by those of ordinary skill in the art. Various changes of the present invention should also be regarded as the protection scope of the present invention.
Claims (5)
Priority Applications (1)
| Application Number | Priority Date | Filing Date | Title |
|---|---|---|---|
| CN202221544468.3U CN217556728U (en) | 2022-06-20 | 2022-06-20 | An embedded structure for strengthening and widening medium and small span bridges and culverts |
Applications Claiming Priority (1)
| Application Number | Priority Date | Filing Date | Title |
|---|---|---|---|
| CN202221544468.3U CN217556728U (en) | 2022-06-20 | 2022-06-20 | An embedded structure for strengthening and widening medium and small span bridges and culverts |
Publications (1)
| Publication Number | Publication Date |
|---|---|
| CN217556728U true CN217556728U (en) | 2022-10-11 |
Family
ID=83501499
Family Applications (1)
| Application Number | Title | Priority Date | Filing Date |
|---|---|---|---|
| CN202221544468.3U Active CN217556728U (en) | 2022-06-20 | 2022-06-20 | An embedded structure for strengthening and widening medium and small span bridges and culverts |
Country Status (1)
| Country | Link |
|---|---|
| CN (1) | CN217556728U (en) |
Cited By (1)
| Publication number | Priority date | Publication date | Assignee | Title |
|---|---|---|---|---|
| CN116145495A (en) * | 2023-04-20 | 2023-05-23 | 山西省交通新技术发展有限公司 | Bridge tunnel pavement longitudinal crack reinforcing treatment structure and application method thereof |
-
2022
- 2022-06-20 CN CN202221544468.3U patent/CN217556728U/en active Active
Cited By (1)
| Publication number | Priority date | Publication date | Assignee | Title |
|---|---|---|---|---|
| CN116145495A (en) * | 2023-04-20 | 2023-05-23 | 山西省交通新技术发展有限公司 | Bridge tunnel pavement longitudinal crack reinforcing treatment structure and application method thereof |
Similar Documents
| Publication | Publication Date | Title |
|---|---|---|
| CN102352590B (en) | Method for splicing highfill roadbed by adopting pile-sheet retaining wall | |
| CN104213514B (en) | A kind of earthing corrugated steel-concrete combination arch bridge add strong method | |
| CN107740339B (en) | Rigidity-enhanced bridge head structure for managing bridge head jumping of operation road and construction method | |
| CN104846840B (en) | A kind of shallow embedding reinforcement of soft soil integrated pipe canal device and construction method | |
| CN110219667B (en) | Tunnel inverted arch and inverted arch filling layer substituted steel-concrete combined structure and construction process | |
| CN111705576A (en) | A steep-slope and high-fill roadbed structure using high-density EPS fillers | |
| CN217556728U (en) | An embedded structure for strengthening and widening medium and small span bridges and culverts | |
| CN104674645A (en) | Integral plate type small bridge and culvert combination applicable to soft soil foundations | |
| CN204401485U (en) | The construction structure of high roadbed draining Steel Corrugated Pipe Culvert | |
| CN110144784A (en) | Municipal road and its construction method based on prestressed concrete sheet pile construction | |
| CN214574140U (en) | Construction structure of road inspection well | |
| CN110195388A (en) | Overhang widened structure Bang Shan highway and its construction method | |
| CN222525062U (en) | A composite reinforced soil retaining wall suitable for high-speed railway embankment | |
| CN106836034B (en) | A flexible load-reducing system and construction method of high-fill cover slab culvert | |
| CN105648934B (en) | Using the highway culvert structure and its construction method of HDPE winding reinforcing pipes and foam concrete | |
| CN109577121A (en) | A kind of assembled self-balancing channel design system and its rapid constructing method | |
| CN115478495B (en) | Cover plate culvert reinforcing device capable of exerting flexibility of corrugated steel and construction method thereof | |
| CN217923158U (en) | Corrugated steel box culvert structure | |
| CN109555028B (en) | Large-span culvert for dismantling-free and protection of pipeline and construction method | |
| KR101973657B1 (en) | Inverted Arcuate Structure to prevent Lateral Flow of the Bridge Abutments and Reparing Method using the Same | |
| CN114232491B (en) | Construction method of multi-span simply supported prestressed bridge span in tunnel | |
| CN210163739U (en) | Municipal road constructed based on prestressed concrete sheet piles | |
| CN209636573U (en) | A kind of assembled self-balancing channel design system | |
| CN210917058U (en) | Assembled railway culvert | |
| CN222375441U (en) | A road restoration structure for laying pipelines on built roads and excavating roads |
Legal Events
| Date | Code | Title | Description |
|---|---|---|---|
| GR01 | Patent grant | ||
| GR01 | Patent grant |
