CN217549679U - Multilayer mixing equipment is used in production of modified latex powder of gypsum self-leveling mortar - Google Patents

Multilayer mixing equipment is used in production of modified latex powder of gypsum self-leveling mortar Download PDF

Info

Publication number
CN217549679U
CN217549679U CN202221158124.9U CN202221158124U CN217549679U CN 217549679 U CN217549679 U CN 217549679U CN 202221158124 U CN202221158124 U CN 202221158124U CN 217549679 U CN217549679 U CN 217549679U
Authority
CN
China
Prior art keywords
rod
latex powder
feeding frame
modified latex
drum
Prior art date
Legal status (The legal status is an assumption and is not a legal conclusion. Google has not performed a legal analysis and makes no representation as to the accuracy of the status listed.)
Active
Application number
CN202221158124.9U
Other languages
Chinese (zh)
Inventor
王正权
Current Assignee (The listed assignees may be inaccurate. Google has not performed a legal analysis and makes no representation or warranty as to the accuracy of the list.)
Hanzhong No1 Bond Co ltd
Original Assignee
Nanjing Junzheng New Materials Co ltd
Priority date (The priority date is an assumption and is not a legal conclusion. Google has not performed a legal analysis and makes no representation as to the accuracy of the date listed.)
Filing date
Publication date
Application filed by Nanjing Junzheng New Materials Co ltd filed Critical Nanjing Junzheng New Materials Co ltd
Priority to CN202221158124.9U priority Critical patent/CN217549679U/en
Application granted granted Critical
Publication of CN217549679U publication Critical patent/CN217549679U/en
Active legal-status Critical Current
Anticipated expiration legal-status Critical

Links

Images

Landscapes

  • Mixers Of The Rotary Stirring Type (AREA)
  • Accessories For Mixers (AREA)

Abstract

本申请涉及石膏自流平生产技术领域,且公开了一种石膏自流平砂浆的改性乳胶粉生产用多层混合设备,包括罐体,罐体的内部上侧固定设有圆筒,罐体的上端固定设有进料框,进料框的内部设有静态混合器,进料框的出料端与圆筒之间共同固定连通有料斗,圆筒的内部转动设有转杆,且转杆的杆壁套设有两个呈对称设置的螺旋挤出叶,圆筒的下端两侧均开设有出料孔。本申请通过对原料进行预混合,防止进料分层,多层混合可以大大提高原料的混合效率及效果,同时可以在进料完成后,将进料框、圆筒、料斗内部残留的原料吹送至罐体内部,防止原料浪费。

Figure 202221158124

The application relates to the technical field of gypsum self-leveling production, and discloses a multi-layer mixing device for the production of modified latex powder of gypsum self-leveling mortar. A feeding frame is fixed at the upper end, a static mixer is arranged inside the feeding frame, a hopper is fixedly connected between the discharge end of the feeding frame and the cylinder, and a rotating rod is arranged inside the cylinder, and the rotating rod The rod wall sleeve is provided with two symmetrically arranged spiral extruding leaves, and both sides of the lower end of the cylinder are provided with discharge holes. In the present application, by pre-mixing the raw materials, the stratification of the feeding materials is prevented, and the multi-layer mixing can greatly improve the mixing efficiency and effect of the raw materials. to the inside of the tank to prevent waste of raw materials.

Figure 202221158124

Description

Multilayer mixing equipment is used in production of modified latex powder of gypsum self-leveling mortar
Technical Field
The application relates to the technical field of gypsum self-leveling production, in particular to a multilayer mixing device for producing modified latex powder of gypsum self-leveling mortar.
Background
The self-leveling gypsum mortar is one kind of dry mortar specially for leveling floor and prepared with gypsum material, special aggregate and various building chemical additives and through careful compounding and mixing.
In the process of implementing the application, the inventor finds that at least the following problems exist in the technology, because modified latex powder needs to be mixed and processed during production, for example, the patent publication number is CN207614735U, the invention discloses a mixing device for producing mortar latex powder, which comprises a shell, wherein the bottom of the shell is connected with a substrate through a spring, and universal wheels are symmetrically arranged on the left side and the right side of the bottom of the substrate; the mixing arrangement that above-mentioned patent was disclosed just can be fine use in modified latex powder's hybrid processing, but at actual mixing process, because the raw materials separately drops into, lead to the raw materials to have comparatively serious layering phenomenon before the stirring, influence holistic mixing efficiency and mixed effect, consequently, provides a gypsum from the production of modified latex powder of flat mortar with multilayer mixing apparatus.
SUMMERY OF THE UTILITY MODEL
The utility model provides a multilayer mixing apparatus is used in modified latex powder production of gypsum self-leveling mortar in order to solve among the prior art because the raw materials separately drops into, leads to the raw materials to have comparatively serious layering phenomenon before the stirring, influences holistic mixing efficiency and the problem of mixing effect.
In order to achieve the purpose, the following technical scheme is adopted in the application:
the utility model provides a multilayer mixing apparatus is used in production of modified latex powder of gypsum self-leveling mortar, which comprises a tank body, the fixed drum that is equipped with of inside upside of the jar body, the fixed feeding frame that is equipped with in upper end of the jar body, the inside of feeding frame is equipped with static mixer, common fixed intercommunication has the hopper between the discharge end of feeding frame and the drum, the inside of drum is rotated and is equipped with the bull stick, and the pole wall cover of bull stick is equipped with two spiral extrusion leaves that are the symmetry and set up, the discharge opening has all been seted up to the lower extreme both sides of drum, the fixed driving motor that is equipped with of lateral wall of the jar body, and driving motor's output and bull stick are connected, the lower extreme of drum is connected with rabbling mechanism, the fixed intercommunication of the lower extreme of the jar body has the discharging pipe, and the inside of discharging pipe is equipped with the control valve.
By adopting the technical scheme, the raw materials are premixed, so that the feeding layering is prevented, and the mixing efficiency and effect of the raw materials can be greatly improved through multi-layer mixing.
Preferably, the top of feeding frame is equipped with the apron, the fixed grafting of terminal surface of apron has the blowing fan, the air inlet end of blowing fan is close to one side setting of feeding frame, two exhaust vents have been seted up to the lateral wall upper end of the jar body, and the inside of two exhaust vents all is fixed to be equipped with the stainless steel filter screen.
Adopt above-mentioned technical scheme, can blow feeding frame, hopper and the inside remaining raw materials of drum to jar internal portion, reduce the raw materials extravagant.
Preferably, the stirring mechanism comprises a supporting block fixedly arranged at the lower end of the cylinder, the lower end of the supporting block is rotatably provided with a stirring rod, the rod wall of the stirring rod is fixedly sleeved with a plurality of stirring blades, and the stirring rod and the rotating rod are jointly connected with a transmission assembly.
Adopt above-mentioned technical scheme, can carry out the homogeneous mixing stirring to the raw materials of jar internal portion.
Preferably, the transmission assembly comprises a transmission rod rotatably arranged on the side wall of the tank body, the rod end of the transmission rod is fixedly connected with a first bevel gear, the upper end of the rod wall of the stirring rod is fixedly sleeved with a second bevel gear, the first bevel gear is meshed with the second bevel gear and is connected with the second bevel gear, the rod wall of the rotating rod and the rod wall of the transmission rod are fixedly sleeved with belt pulleys, and the two belt pulleys are jointly connected through belt transmission.
By adopting the technical scheme, a driving source is not required to be additionally arranged.
Preferably, the side wall of the cover plate and the side wall of the feeding frame are fixedly connected with connecting blocks, and the two connecting blocks are connected in a rotating mode through pin rods.
By adopting the technical scheme, the cover plate can be rotated to be opened and closed, and the opening and the closing are convenient.
Preferably, a liquid inlet pipe is fixedly inserted into one side of the upper end surface of the tank body, and a control valve is arranged inside the liquid inlet pipe.
Adopt above-mentioned technical scheme, can be convenient for to jar internal portion let in liquid.
Preferably, the lower end of the tank body is arranged in a hemispherical shape.
By adopting the technical scheme, the liquid outlet residue can be reduced.
Compared with the prior art, the application provides a gypsum is from modified latex powder production of leveling mortar and is used multilayer mixing apparatus, possesses following beneficial effect:
1. this multilayer mixing apparatus is used in production of modified latex powder of gypsum self-leveling mortar, through the jar body that is equipped with, feeding frame, drum, static mixer, hopper, mutually supporting of two spiral extrusion leaves, bull stick, driving motor, rabbling mechanism and discharging pipe, through premixing the raw materials, prevent the feeding layering, the multilayer mixes can improve the mixing efficiency and the effect of raw materials greatly.
2. This gypsum is from modified latex powder production of leveling mortar uses multilayer mixing apparatus through mutually supporting of apron, blowing material fan and two stainless steel filter screens, can accomplish the back at the feeding, blows feeding frame, drum, the inside remaining raw materials of hopper to jar internal portion, prevents that the raw materials is extravagant.
The device in not relate to the part all the same with prior art or can adopt prior art to realize, this application prevents the feeding layering through premixing the raw materials, the multilayer mixes can improve the mixing efficiency and the effect of raw materials greatly, can accomplish the back at the feeding simultaneously, blows feeding frame, drum, the inside remaining raw materials of hopper to jar internal portion, prevents that the raw materials is extravagant.
Drawings
FIG. 1 is a schematic structural diagram of a multi-layer mixing device for producing modified latex powder of gypsum self-leveling mortar provided by the present application;
FIG. 2 is a schematic view of a connection structure between the feed frame and the cover plate in FIG. 1;
fig. 3 is an enlarged view of a portion a of fig. 1.
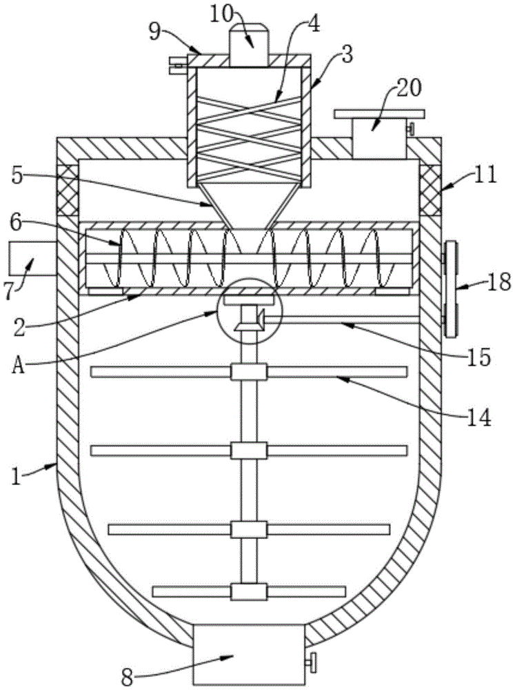
In the figure: 1. a tank body; 2. a cylinder; 3. a feeding frame; 4. a static mixer; 5. a hopper; 6. spirally extruding the leaves; 7. a drive motor; 8. a discharge pipe; 9. a cover plate; 10. a blowing fan; 11. a stainless steel filter screen; 12. a support block; 13. a stirring rod; 14. stirring blades; 15. a transmission rod; 16. a first bevel gear; 17. a second bevel gear; 18. a belt; 19. connecting blocks; 20. a liquid inlet pipe.
Detailed Description
The technical solutions in the embodiments of the present application will be clearly and completely described below with reference to the drawings in the embodiments of the present application, and it is obvious that the described embodiments are only a part of the embodiments of the present application, and not all of the embodiments.
Embodiment 1 refers to fig. 1-3, a multilayer mixing apparatus is used in production of modified latex powder of gypsum self-leveling mortar, including a jar body 1, the fixed drum 2 that is equipped with of inside upside of jar body 1, the fixed feeding frame 3 that is equipped with in upper end of jar body 1, the inside of feeding frame 3 is equipped with static mixer 4, it has hopper 5 to fix the intercommunication jointly between the discharge end of feeding frame 3 and drum 2, the inside of drum 2 is rotated and is equipped with the bull stick, and the pole wall cover of bull stick is equipped with two spiral extrusion leaves 6 that are the symmetry setting, the discharge opening has all been seted up to the lower extreme both sides of drum 2, the fixed driving motor 7 that is equipped with of lateral wall of jar body 1, and the output and the bull stick of driving motor 7 are connected, the lower extreme of drum 2 is connected with rabbling mechanism, the fixed intercommunication of the lower extreme of jar body 1 has discharging pipe 8, and the inside of discharging pipe 8 is equipped with the control valve.
Rabbling mechanism is including fixed supporting shoe 12 that sets up in 2 lower extremes of drum, and the lower extreme of supporting shoe 12 rotates and is equipped with puddler 13, and the fixed cover of the pole wall of puddler 13 has connect a plurality of stirring leaves 14, and puddler 13 is connected with drive assembly with the bull stick jointly, and puddler 13 rotates, can drive a plurality of stirring leaves 14 rotations to can carry out the homogeneous mixing stirring to the raw materials of jar body 1 inside.
The transmission assembly comprises a transmission rod 15 which is rotatably arranged on the side wall of the tank body 1, a first bevel gear 16 is fixedly connected to the rod end of the transmission rod 15, a second bevel gear 17 is fixedly sleeved at the upper end of the rod wall of the stirring rod 13, the first bevel gear 16 is meshed with the second bevel gear 17 to be connected, belt pulleys are fixedly sleeved on the rod wall of the rotating rod and the rod wall of the transmission rod 15, the two belt pulleys are jointly connected through a belt 18 in a transmission manner, when the rotating rod rotates, the transmission rod 15 can be driven to rotate under the cooperation of the belt pulleys and the belt 18, so that the first bevel gear 16 can be driven to rotate, the second bevel gear 17 can be driven to rotate, the stirring rod 13 is driven to rotate, and through the arrangement, a driving source does not need to be additionally arranged.
The fixed grafting of the up end one side of jar body 1 has feed liquor pipe 20, and the inside of feed liquor pipe 20 is equipped with the control valve, can be convenient for let in liquid to jar body 1 inside through feed liquor pipe 20.
The lower extreme of jar body 1 is the hemisphere setting, through this kind of setting, can reduce out liquid and remain.
Embodiment 2 is as shown in fig. 1-3 on the basis of embodiment 1, a cover plate 9 is arranged above the feeding frame 3, a material blowing fan 10 is fixedly inserted into an end face of the cover plate 9, an air inlet end of the material blowing fan 10 is arranged near one side of the feeding frame 3, two air outlet holes are formed in the upper end of the side wall of the tank body 1, and stainless steel filter screens 11 are fixedly arranged in the two air outlet holes, after feeding is completed, the cover plate 9 is covered on the feeding frame 3, then the material blowing fan 10 is started, air flow can be blown into the feeding frame 3, residual raw materials in the feeding frame 3, the hopper 5 and the cylinder 2 can be blown into the tank body 1 by utilizing the flow force of the air flow, and waste of the raw materials is reduced.
The equal fixedly connected with connecting block 19 of lateral wall and the feeding frame 3 of lateral wall of apron 9 rotates through the pin rod jointly between two connecting blocks 19 to be connected, through this kind of setting, can make the rotatory opening and shutting of apron 9, opens and shuts the convenience.
In this application, during the use, drop into a plurality of raw materials simultaneously inside feeding frame 3, can carry out preliminary mixing through static mixer 4, raw materials after the preliminary mixing pass through hopper 5 and get into 2 insides of drum, driving motor 7 work this moment, can make the bull stick rotate, thereby can drive two spiral extrusion leaves 6 and rotate, and then can be with getting into 2 inside raw materials of drum to both sides reposition of redundant personnel output, when extruding through auger delivery, can carry out the secondary to the raw materials once more and mix, the raw materials through the secondary mixes gets into jar body 1 insidely through the discharge opening, at last rotation through puddler 13, can drive a plurality of stirring leaves 14 and rotate, the completion is to the final mixture of raw materials.
The above description is only for the preferred embodiments of the present application, but the scope of the present application is not limited thereto, and any person skilled in the art should be considered to be within the scope of the present application, and all equivalent substitutions and changes according to the technical solutions and the inventive concepts of the present application should be covered by the scope of the present application.

Claims (7)

1. The utility model provides a multilayer mixing apparatus is used in production of modified latex powder of gypsum self-leveling mortar, includes a jar body (1), its characterized in that, the fixed drum (2) that is equipped with of inside upside of the jar body (1), the fixed feeding frame (3) that is equipped with in upper end of the jar body (1), the inside of feeding frame (3) is equipped with static mixer (4), it has hopper (5) to fix the intercommunication jointly between the discharge end of feeding frame (3) and drum (2), the inside of drum (2) is rotated and is equipped with the bull stick, and the pole wall cover of bull stick is equipped with two spiral extrusion leaves (6) that are the symmetry and set up, the discharge opening has all been seted up to the lower extreme both sides of drum (2), the fixed driving motor (7) that is equipped with of the lateral wall of the jar body (1), and the output and the bull stick of driving motor (7) are connected, the lower extreme of drum (2) is connected with rabbling mechanism, the fixed intercommunication of the lower extreme of the jar body (1) has discharging pipe (8), and the inside of discharging pipe (8) is equipped with the control valve.
2. The multilayer mixing apparatus for producing the modified latex powder of the gypsum self-leveling mortar according to claim 1, wherein a cover plate (9) is arranged above the feeding frame (3), a blowing fan (10) is fixedly inserted into the end surface of the cover plate (9), the air inlet end of the blowing fan (10) is close to one side of the feeding frame (3), two air outlets are formed in the upper end of the side wall of the tank body (1), and a stainless steel filter screen (11) is fixedly arranged in the two air outlets.
3. The multilayer mixing equipment for producing the modified latex powder of the self-leveling gypsum mortar of claim 1, wherein the stirring mechanism comprises a supporting block (12) fixedly arranged at the lower end of the cylinder (2), the lower end of the supporting block (12) is rotatably provided with a stirring rod (13), the rod wall of the stirring rod (13) is fixedly sleeved with a plurality of stirring blades (14), and the stirring rod (13) and the rotating rod are jointly connected with a transmission component.
4. The multi-layer mixing device for producing the modified latex powder of the gypsum self-leveling mortar according to claim 3, wherein the transmission component comprises a transmission rod (15) rotatably arranged on the side wall of the tank body (1), the rod end of the transmission rod (15) is fixedly connected with a first bevel gear (16), the upper end of the rod wall of the stirring rod (13) is fixedly sleeved with a second bevel gear (17), the first bevel gear (16) is meshed with the second bevel gear (17) for connection, the rod wall of the rotating rod and the rod wall of the transmission rod (15) are both fixedly sleeved with belt pulleys, and the two belt pulleys are jointly in transmission connection through a belt (18).
5. The multilayer mixing apparatus for producing the modified latex powder of gypsum self-leveling mortar according to claim 2, wherein the side wall of the cover plate (9) and the side wall of the feeding frame (3) are both fixedly connected with connecting blocks (19), and the two connecting blocks (19) are rotatably connected together through a pin.
6. The multi-layer mixing equipment for producing the modified latex powder of the gypsum self-leveling mortar according to claim 1, wherein a liquid inlet pipe (20) is fixedly inserted into one side of the upper end surface of the tank body (1), and a control valve is arranged inside the liquid inlet pipe (20).
7. The multilayer mixing equipment for producing the modified latex powder of the gypsum self-leveling mortar of claim 1, wherein the lower end of the tank body (1) is arranged in a hemispherical shape.
CN202221158124.9U 2022-05-16 2022-05-16 Multilayer mixing equipment is used in production of modified latex powder of gypsum self-leveling mortar Active CN217549679U (en)

Priority Applications (1)

Application Number Priority Date Filing Date Title
CN202221158124.9U CN217549679U (en) 2022-05-16 2022-05-16 Multilayer mixing equipment is used in production of modified latex powder of gypsum self-leveling mortar

Applications Claiming Priority (1)

Application Number Priority Date Filing Date Title
CN202221158124.9U CN217549679U (en) 2022-05-16 2022-05-16 Multilayer mixing equipment is used in production of modified latex powder of gypsum self-leveling mortar

Publications (1)

Publication Number Publication Date
CN217549679U true CN217549679U (en) 2022-10-11

Family

ID=83473864

Family Applications (1)

Application Number Title Priority Date Filing Date
CN202221158124.9U Active CN217549679U (en) 2022-05-16 2022-05-16 Multilayer mixing equipment is used in production of modified latex powder of gypsum self-leveling mortar

Country Status (1)

Country Link
CN (1) CN217549679U (en)

Cited By (2)

* Cited by examiner, † Cited by third party
Publication number Priority date Publication date Assignee Title
CN116283448A (en) * 2022-12-15 2023-06-23 安顺久联民爆有限责任公司 A device and method for treating unqualified emulsion explosives
CN119034570A (en) * 2024-10-30 2024-11-29 福建卡乐丽新型建材科技有限公司 Environment-friendly stone paint preparation device and application method thereof

Cited By (2)

* Cited by examiner, † Cited by third party
Publication number Priority date Publication date Assignee Title
CN116283448A (en) * 2022-12-15 2023-06-23 安顺久联民爆有限责任公司 A device and method for treating unqualified emulsion explosives
CN119034570A (en) * 2024-10-30 2024-11-29 福建卡乐丽新型建材科技有限公司 Environment-friendly stone paint preparation device and application method thereof

Similar Documents

Publication Publication Date Title
CN217549679U (en) Multilayer mixing equipment is used in production of modified latex powder of gypsum self-leveling mortar
CN115178177B (en) A mixer with automatic feeding for refractory material batching
CN208018541U (en) A kind of multi-stage hybrid drug agitating device
CN209718293U (en) A plastic mixing device
CN209772004U (en) Two-way mixer of fungus agent
CN105034171B (en) Superhigh tenacity cement-base composite material blender and its application method
CN212006560U (en) Modified plastics production is with mixing drying equipment
CN205438891U (en) Concrete stirring tank
CN213699701U (en) Mixing device for producing thermal insulation mortar
CN209190998U (en) Concrete mixer and concrete mixing plant
CN221982104U (en) Mixing mechanism for high-capacity sow feed production system
CN220113737U (en) Masterbatch mixer capable of cleaning dust
CN107243289A (en) Improve the new additive agent mixing device of batch mixing efficiency
CN207605680U (en) A kind of building blender lift homogenizing device
CN209718198U (en) A cement mixing device with automatic pumping function
CN209755668U (en) Automatic feeding and stirring device based on concrete
CN209478555U (en) A kind of blanking device of mortar stirring tank
CN218249610U (en) Batching and stirring barrel
CN219168201U (en) Automatic proportioning mixer for asphalt mixture
CN219232110U (en) A high-speed pellet mixer
CN214345708U (en) Blendor is used in laminate flooring production
CN111941656B (en) High-efficient concrete mixing device
CN219837986U (en) Aerated concrete batching agitating unit
CN216498684U (en) Continuous mixer
CN211250805U (en) Premixed concrete admixture homogenization device

Legal Events

Date Code Title Description
GR01 Patent grant
GR01 Patent grant
TR01 Transfer of patent right
TR01 Transfer of patent right

Effective date of registration: 20251023

Address after: No. 3 Jinguai Road, Laojun Town, Economic Development Zone, Hanzhong City, Shaanxi Province 723000

Patentee after: Hanzhong No.1 Bond Co.,Ltd.

Country or region after: China

Address before: 211500, Chen Lu Road, 21 male street, Liuhe District, Jiangsu, Nanjing

Patentee before: Nanjing Junzheng New Materials Co.,Ltd.

Country or region before: China