CN217480946U - Electric pole correcting device - Google Patents

Electric pole correcting device Download PDF

Info

Publication number
CN217480946U
CN217480946U CN202123344389.6U CN202123344389U CN217480946U CN 217480946 U CN217480946 U CN 217480946U CN 202123344389 U CN202123344389 U CN 202123344389U CN 217480946 U CN217480946 U CN 217480946U
Authority
CN
China
Prior art keywords
motor
base
rod
sets
worm
Prior art date
Legal status (The legal status is an assumption and is not a legal conclusion. Google has not performed a legal analysis and makes no representation as to the accuracy of the status listed.)
Active
Application number
CN202123344389.6U
Other languages
Chinese (zh)
Inventor
林泉钦
Current Assignee (The listed assignees may be inaccurate. Google has not performed a legal analysis and makes no representation or warranty as to the accuracy of the list.)
Camc Fujian Electric Power Co ltd
Original Assignee
Camc Fujian Electric Power Co ltd
Priority date (The priority date is an assumption and is not a legal conclusion. Google has not performed a legal analysis and makes no representation as to the accuracy of the date listed.)
Filing date
Publication date
Application filed by Camc Fujian Electric Power Co ltd filed Critical Camc Fujian Electric Power Co ltd
Priority to CN202123344389.6U priority Critical patent/CN217480946U/en
Application granted granted Critical
Publication of CN217480946U publication Critical patent/CN217480946U/en
Active legal-status Critical Current
Anticipated expiration legal-status Critical

Links

Images

Landscapes

  • Toys (AREA)

Abstract

The utility model belongs to the technical field of the electric power technique and specifically relates to a pole orthotic devices, the on-line screen storage device comprises a base, the top of base is provided with two sets of backup pads, and is first a set of first motor, the second is organized is installed in the outside of backup pad the inboard of backup pad is rotated and is connected with the winding rod, the output of first motor is connected with the other end of winding rod, one side that the top of base is located the backup pad is provided with the supporting shoe, the top of supporting shoe is provided with the electromagnetism slide rail, and beneficial effect lies in: the universal wheel is favorable to orthotic devices to remove, and when the device removed the assigned position, the third motor started and drives the threaded rod and rotate in the inside of spacing groove to because the screw thread of two sets of threaded rods is contrary mutually, so two sets of inserted bars can the reverse motion, and later two sets of inserted bars can stretch out from the inside of spacing groove and insert in the jack, are favorable to fixing the universal wheel and then will remove the frame fixed and then fix a position whole device.

Description

Electric pole correcting device
Technical Field
The utility model relates to an electric power tech field especially relates to an electric pole orthotic devices.
Background
The pole plays the effect of supporting air wire, and common pole has wood system pole, cement pole, electric power iron tower etc. and the concrete pole is the pole of making with concrete and reinforcing bar or steel wire, has prestressing force and non-prestressing force two kinds, and the iron set is the pole with cast iron, and the cross-sectional form of pole has square, octagon, I-shaped, annular or some other heterotypic cross-sections.
The existing electric pole is more or less inclined when being planted in the soil, and the inclined electric pole needs to be corrected by using a correcting device; and the existing orthotic devices are relatively poor in mobility and stability.
SUMMERY OF THE UTILITY MODEL
The utility model aims at solving the defects existing in the prior art and providing an electric pole correction device.
In order to achieve the above purpose, the utility model adopts the following technical scheme:
the electric pole correcting device comprises a base, wherein two groups of supporting plates are arranged at the top of the base, a first motor is arranged on the outer side of the first group of supporting plates, a coiling rod is rotatably connected to the inner side of the second group of supporting plates, the output end of the first motor is connected with the other end of the coiling rod, a supporting block is arranged on one side, positioned on the supporting plate, of the top of the base, an electromagnetic slide rail is arranged at the top of the supporting block, an electromagnetic slide block is slidably connected to the outer part of the electromagnetic slide rail, a through hole penetrating through the electromagnetic slide block is formed in the top of the electromagnetic slide block, a cable is coiled on the outer part of the coiling rod and penetrates through the through hole, one end of the electromagnetic slide block is connected with two groups of extension plates, a second motor is arranged on the outer wall of the first group of extension plates, the output end of the second motor penetrates through the first group of extension plates and is connected with a worm, and worm wheels are rotatably connected to the inner sides of the two groups of extension plates, one side of worm wheel is provided with the brush hair, the both sides of base bottom are provided with removes the frame, remove the frame and pass through hinge connection with the base, the montant is installed at the top of removing the frame inner chamber, the bottom of montant is connected with the horizontal pole, the outside of horizontal pole is rotated and is connected with the universal wheel, the side of universal wheel is provided with the jack, the top fixed mounting who removes the frame inner chamber has the third motor, the top of removing the frame inner chamber is connected with hollow plate through the connecting block, the inside of hollow plate is provided with the spacing groove, the output of third motor is connected with the threaded rod that two sets of screw threads are contrary mutually, the threaded rod extends to the inside of spacing groove, the outside of threaded rod is rotated and is connected with the inserted bar.
Preferably, a battery jar is arranged on one side of the base, and a storage battery is installed in the battery jar.
Preferably, the number of the worm wheels is two, and the two worm wheels are meshed with the worm.
Preferably, the first motor and the second motor are fixedly mounted with the first group of the support plate and the first group of the extension plate through bolts respectively, and the bolts are two groups of rust-proof bolts.
Preferably, the diameter of the plug is smaller than that of the jacks, and the number of the jacks is multiple.
Preferably, the data of the hinges are four groups, and the four groups of hinges are stainless steel hinges.
The utility model provides a pair of pole orthotic devices, beneficial effect lies in:
1. through the first motor that sets up, the winding rod, the electromagnetism slide rail, electromagnetic sliding block, the through-hole, the hawser, the extension board, the second motor, the worm wheel, the brush hair, be connected to the top of pole with the one end of hawser, later start first motor and drive the winding rod and rotate, then the winding rod withdraws the hawser, the hawser is favorable to correcting the pole when withdrawing, in-process electromagnetic sliding block who withdraws removes on the electromagnetism slide rail, be favorable to making the hawser evenly withdraw on the winding rod, prevent that the hawser from piling up locally on the winding rod, and because the pole all is in soil, arbitrary hawser can contact with ground, the hawser can be stained with and attach earth when rainy season, so the second motor drives the worm and rotates, the worm drives two sets of worm wheel rotations, the worm wheel drives the brush hair and rotates, the brush hair is favorable to sweeping away the earth that is stained with when the hawser withdraws from the through-hole.
2. Through the removal frame that sets up, the hinge, the montant, the horizontal pole, the universal wheel, the third motor, the hollow plate, the spacing groove, the threaded rod, the inserted bar, the jack, the universal wheel is favorable to the orthotic devices to remove, when the device removed the assigned position, the third motor starts to drive the threaded rod and rotates in the inside of spacing groove, and because the screw thread of two sets of threaded rods is contrary mutually, so two sets of inserted bars can the reverse motion, later two sets of inserted bars can stretch out and insert in the jack from the inside of spacing groove, be favorable to fixed and then will remove the fixed and then fix a position whole device of frame with the universal wheel.
Drawings
Fig. 1 is a schematic view of an appearance structure provided by the present invention;
fig. 2 is a schematic structural view of the electromagnetic slider proposed by the present invention;
fig. 3 is a schematic view of the internal structure of the movable frame of the present invention;
fig. 4 is a schematic view of a local enlarged structure according to the present invention.
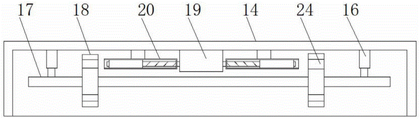
In the figure: 1. a base; 2. a support plate; 3. a first motor; 4. winding the rod; 5. an electromagnetic slide rail; 6. an electromagnetic slider; 7. a through hole; 8. a cable; 9. an extension plate; 10. a second motor; 11. a worm; 12. a worm gear; 13. brushing; 14. moving the frame; 15. a hinge; 16. a vertical rod; 17. a cross bar; 18. a universal wheel; 19. a third motor; 20. a hollow slab; 21. a limiting groove; 22. a threaded rod; 23. inserting a rod; 24. and (7) inserting the jack.
Detailed Description
The technical solutions in the embodiments of the present invention will be described clearly and completely with reference to the accompanying drawings in the embodiments of the present invention, and it is obvious that the described embodiments are only some embodiments of the present invention, not all embodiments. Based on the embodiments in the present invention, all other embodiments obtained by a person skilled in the art without creative work belong to the protection scope of the present invention.
In the description of the present invention, it should be noted that the terms "center", "upper", "lower", "left", "right", "vertical", "horizontal", "inner", "outer", etc. indicate orientations or positional relationships based on the orientations or positional relationships shown in the drawings, and are only for convenience of description and simplification of description, but do not indicate or imply that the device or element referred to must have a specific orientation, be constructed and operated in a specific orientation, and thus, should not be construed as limiting the present invention, and furthermore, the terms "first", "second", "third" are only used for descriptive purposes and should not be construed as indicating or implying relative importance. In the description of the present invention, it is to be noted that, unless otherwise explicitly specified or limited, the terms "mounted", "connected" and "disposed" are to be construed broadly, and may be, for example, fixedly connected, detachably connected, or integrally connected; can be mechanically or electrically connected; they may be connected directly or indirectly through intervening media, or they may be interconnected between two elements. The specific meaning of the above terms in the present invention can be understood in specific cases to those skilled in the art. The following describes an embodiment of the present invention according to its overall structure.
Referring to fig. 1-4, an electric pole straightening device comprises a base 1, two sets of supporting plates 2 are arranged at the top of the base 1, a first motor 3 is arranged at the outer side of the first set of supporting plates 2, a winding rod 4 is rotatably connected at the inner side of the second set of supporting plates 2, the output end of the first motor 3 is connected with the other end of the winding rod 4, a supporting block is arranged at one side of the top of the base 1, which is positioned at the supporting plate 2, an electromagnetic slide rail 5 is arranged at the top of the supporting block, an electromagnetic slide block 6 is slidably connected at the outer part of the electromagnetic slide rail 5, a through hole 7 penetrating through the electromagnetic slide block 6 is arranged at the top of the electromagnetic slide block 6, a cable 8 is wound at the outer part of the winding rod 4, the cable 8 penetrates through the through hole 7, one end of the electromagnetic slide block 6 is connected with two sets of extending plates 9, a second motor 10 is arranged at the outer wall of the first set of extending plates 9, and a worm 11 is connected with the output end of the second motor 10, the inner sides of the two groups of extension plates 9 are rotatably connected with worm wheels 12, one side of each worm wheel 12 is provided with bristles 13, two sides of the bottom of the base 1 are provided with movable frames 14, the movable frames 14 are connected with the base 1 through hinges 15, the top of an inner cavity of each movable frame 14 is provided with a vertical rod 16, the bottom of each vertical rod 16 is connected with a cross rod 17, the outer part of each cross rod 17 is rotatably connected with a universal wheel 18, the side edge of each universal wheel 18 is provided with a jack 24, the top of the inner cavity of each movable frame 14 is fixedly provided with a third motor 19, the top of the inner cavity of each movable frame 14 is connected with a hollow plate 20 through a connecting block, a limiting groove 21 is formed in each hollow plate 20, the output end of each third motor 19 is connected with two groups of threaded rods 22 with opposite threads, each threaded rod 22 extends to the inner part of each limiting groove 21, and the outer part of each threaded rod 22 is rotatably connected with an inserting rod 23;
one end of a cable 8 is connected to the top of an electric pole through a first motor 3, a winding rod 4, an electromagnetic sliding rail 5, an electromagnetic sliding block 6, a through hole 7, a cable 8, an extension plate 9, a second motor 10, a worm 11, a worm wheel 12 and bristles 13, then the first motor 3 is started to drive the winding rod 4 to rotate, then the winding rod 4 withdraws the cable 8, the cable 8 is beneficial to correcting the electric pole when being withdrawn, the electromagnetic sliding block 6 moves on the electromagnetic sliding rail 5 in the withdrawing process, the cable 8 is beneficial to being uniformly withdrawn on the winding rod 4, the cable 8 is prevented from being locally accumulated on the winding rod 4, and as the electric pole is in the soil, the cable 8 can be contacted with the ground at will, the cable 8 can be attached with soil in rainy seasons, the second motor 10 drives the worm 11 to rotate, the worm 11 drives two groups of worm wheels 12 to rotate, and the worm wheel 12 drives the bristles 13 to rotate, brush hair 13 is favorable to sweeping attached earth when hawser 8 withdraws from through-hole 7, through the removal frame 14 that sets up, hinge 15, montant 16, horizontal pole 17, universal wheel 18, third motor 19, hollow plate 20, spacing groove 21, threaded rod 22, inserted bar 23, jack 24, universal wheel 18 is favorable to the orthotic devices to remove, when the device removed the assigned position, third motor 19 starts to drive threaded rod 22 and rotates in the inside of spacing groove 21, and because the screw of two sets of threaded rod 22 is contrary, so two sets of inserted bars 23 can reverse motion, later two sets of inserted bars 23 can stretch out from the inside of spacing groove 21 and insert in the jack 24, be favorable to fixing universal wheel 18 and then will remove frame 14 fixed and then fix a position whole device.
Wherein, one side of the base 1 is provided with a battery jar, and a storage battery is arranged in the battery jar; the storage battery is arranged to supply power to the device conveniently.
Wherein, the number of the worm wheels 12 is two, and the two worm wheels 12 are meshed with the worm 11; the two sets of worm gears 12 are arranged to facilitate improved cleaning of the cable 8.
The first motor 3 and the second motor 10 are respectively fixedly mounted with the first group of support plates 2 and the first group of extension plates 9 through bolts, and the bolts are two groups of rust-proof bolts; the first motor 3 and the second motor 10 are fixed by the bolts arranged on the motor to prevent autorotation.
Wherein, the diameter of the inserted bar 23 is smaller than that of the insertion holes 24, and the number of the insertion holes 24 is multiple; the insertion of the plunger 23 into the inside of the insertion hole 24 is facilitated by setting the diameter of the plunger 23 smaller than that of the insertion hole 24.
Wherein, the data of the hinges 15 are four groups, and the four groups of hinges 15 are stainless steel hinges; the service life of the hinge 15 is prolonged conveniently by arranging the hinge as a stainless steel hinge.
The working principle is as follows: the device is moved by the universal wheel 18, then when the device is moved to a designated position, the third motor 19 is started to drive the threaded rod 22 to rotate in the limiting groove 21, and because the threads of the two sets of threaded rods 22 are opposite, the two sets of inserted rods 23 move in opposite directions, then the two sets of inserted rods 23 extend out of the limiting groove 21 and are inserted into the jacks 24, the universal wheel 18 is fixed, the movable frame 14 is fixed, the whole device is positioned, the universal wheel 18 can not be fixed after the device is moved to the designated position, the movable frame 14 is directly parallel to the base 1 through the hinge 15, then the base 1 and the bottom of the movable frame 14 are contacted with the ground, the device is fixed and then is straightened, one end of the cable 8 is connected to the top of the electric pole, then the first motor 3 is started to drive the winding rod 4 to rotate, then the winding rod 4 retracts the cable 8, the cable 8 straightens the electric pole when retracted, at the in-process electromagnetism slider 6 that withdraws and remove on electromagnetism slide rail 5, make hawser 8 evenly withdraw to take up reel 4 on, prevent that hawser 8 from local piling up on take-up reel 4, and because the pole is all in soil, arbitrary hawser 8 can contact with ground, hawser 8 can be stained with attaches earth when rainy season, so second motor 10 drives worm 11 and rotates, worm 11 drives two sets of worm wheel 12 and rotates, worm wheel 12 drives brush hair 13 and rotates, brush hair 13 will be stained with the earth of attaching when hawser 8 withdraws from through-hole 7 and sweeps away.
The above, only be the concrete implementation of the preferred embodiment of the present invention, but the protection scope of the present invention is not limited thereto, and any person skilled in the art is in the technical scope of the present invention, according to the technical solution of the present invention and the utility model, the concept of which is equivalent to replace or change, should be covered within the protection scope of the present invention.

Claims (6)

1. An electric pole straightening device comprises a base (1), and is characterized in that: the top of the base (1) is provided with two groups of supporting plates (2), a first motor (3) is installed on the outer side of the first group of supporting plates (2), a coiling rod (4) is rotatably connected to the inner side of the second group of supporting plates (2), the output end of the first motor (3) is connected with the other end of the coiling rod (4), a supporting block is arranged on one side, located on the supporting plates (2), of the top of the base (1), an electromagnetic slide rail (5) is arranged on the top of the supporting block, an electromagnetic slide block (6) is slidably connected to the outer portion of the electromagnetic slide rail (5), a through hole (7) penetrating through the electromagnetic slide block (6) is formed in the top of the electromagnetic slide block (6), a cable (8) is coiled on the outer portion of the coiling rod (4), the cable (8) penetrates through the through hole (7), and one end of the electromagnetic slide block (6) is connected with two groups of extending plates (9), a second motor (10) is installed on the outer wall of the first group of extension plate (9), the output end of the second motor (10) penetrates through the first group of extension plate (9) and is connected with a worm (11), the inner sides of the two groups of extension plates (9) are rotatably connected with a worm wheel (12), brush bristles (13) are arranged on one side of the worm wheel (12), a movable frame (14) is arranged on the two sides of the bottom of the base (1), the movable frame (14) is connected with the base (1) through a hinge (15), a vertical rod (16) is installed at the top of the inner cavity of the movable frame (14), a transverse rod (17) is connected to the bottom of the vertical rod (16), a universal wheel (18) is rotatably connected to the outer part of the transverse rod (17), a jack (24) is arranged on the side of the universal wheel (18), and a third motor (19) is fixedly installed at the top of the inner cavity of the movable frame (14), the top of removing frame (14) inner chamber is connected with hollow plate (20) through the connecting block, the inside of hollow plate (20) is provided with spacing groove (21), the output of third motor (19) is connected with two sets of screw threaded rod (22) that the screw thread is contrary mutually, threaded rod (22) extend to the inside of spacing groove (21), the outside of threaded rod (22) is rotated and is connected with inserted bar (23).
2. The pole straightening device as claimed in claim 1, wherein a battery jar is provided at one side of the base (1), and a storage battery is installed inside the battery jar.
3. The pole straightening device as recited in claim 1, wherein the number of the worm wheels (12) is two, and the two worm wheels (12) are engaged with the worm (11).
4. The pole straightening device as recited in claim 1, wherein the first motor (3) and the second motor (10) are fixedly mounted to the first support plate (2) and the first extension plate (9) by bolts, and the bolts are two sets of rust-proof bolts.
5. The pole straightening device as recited in claim 1, wherein the diameter of the inserted rod (23) is smaller than the diameter of the insertion holes (24), and the number of the insertion holes (24) is plural.
6. The pole straightening device as recited in claim 1, wherein the hinges (15) are four hinges, and the four hinges (15) are stainless steel hinges.
CN202123344389.6U 2021-12-28 2021-12-28 Electric pole correcting device Active CN217480946U (en)

Priority Applications (1)

Application Number Priority Date Filing Date Title
CN202123344389.6U CN217480946U (en) 2021-12-28 2021-12-28 Electric pole correcting device

Applications Claiming Priority (1)

Application Number Priority Date Filing Date Title
CN202123344389.6U CN217480946U (en) 2021-12-28 2021-12-28 Electric pole correcting device

Publications (1)

Publication Number Publication Date
CN217480946U true CN217480946U (en) 2022-09-23

Family

ID=83303490

Family Applications (1)

Application Number Title Priority Date Filing Date
CN202123344389.6U Active CN217480946U (en) 2021-12-28 2021-12-28 Electric pole correcting device

Country Status (1)

Country Link
CN (1) CN217480946U (en)

Similar Documents

Publication Publication Date Title
CN211998170U (en) Wire take-up device of wire bundling machine
CN109201774B (en) Cable winding and unwinding alignment device for construction
CN217480946U (en) Electric pole correcting device
CN217175650U (en) Hanging basket suitable for building engineering
CN218434189U (en) Heavy cable dish storing support
CN220565655U (en) Construction frame for power engineering
CN115350992B (en) Pay-off is used in engineering survey and drawing
CN214490996U (en) Concrete surface course napping device
CN212316956U (en) Slope protection net for mountain body protection with adjustable
CN212209211U (en) A reel rack for building transformer production
CN214016885U (en) Creative design device for long-reel ancient legacy products
CN218401412U (en) A finished product strorage device for polyamide fibre silk processing
CN214569709U (en) Grounding jumper wire winder
CN216911182U (en) A deoxidization equipment for copper line surface
CN221629197U (en) Examination management and control equipment based on face recognition
CN220467139U (en) Power distribution network wire drawing tool
CN216564288U (en) Power system stringing auxiliary device
CN223330711U (en) Wind power generation concrete tower section of thick bamboo installation device
CN219340358U (en) Yarn barrel placement frame
CN217517317U (en) Cloth rolling and laying machine for road maintenance
CN221539772U (en) Equipment frame for construction engineering construction
CN221625424U (en) Paying-off device for laying low-voltage cable
CN220725913U (en) Climbing equipment
CN216638339U (en) Metal product rolling machine
CN218766303U (en) Digital display anchor rod tension meter

Legal Events

Date Code Title Description
GR01 Patent grant
GR01 Patent grant