CN217474557U - Cutting device for machine tool cutter - Google Patents
Cutting device for machine tool cutter Download PDFInfo
- Publication number
- CN217474557U CN217474557U CN202123397179.3U CN202123397179U CN217474557U CN 217474557 U CN217474557 U CN 217474557U CN 202123397179 U CN202123397179 U CN 202123397179U CN 217474557 U CN217474557 U CN 217474557U
- Authority
- CN
- China
- Prior art keywords
- cutting device
- machine tool
- cutting
- motor
- electric cylinder
- Prior art date
- Legal status (The legal status is an assumption and is not a legal conclusion. Google has not performed a legal analysis and makes no representation as to the accuracy of the status listed.)
- Expired - Fee Related
Links
- 238000005520 cutting process Methods 0.000 title claims abstract description 42
- 230000000670 limiting effect Effects 0.000 claims description 5
- 239000000463 material Substances 0.000 abstract description 17
- 230000007246 mechanism Effects 0.000 description 6
- 238000004140 cleaning Methods 0.000 description 3
- 230000009286 beneficial effect Effects 0.000 description 2
- 238000010586 diagram Methods 0.000 description 2
- 238000000034 method Methods 0.000 description 2
- 230000000694 effects Effects 0.000 description 1
- 239000002994 raw material Substances 0.000 description 1
Images
Landscapes
- Processing Of Stones Or Stones Resemblance Materials (AREA)
Abstract
本实用新型涉及刀具加工技术领域,公开了一种机床刀具裁切装置,包括工作台,所述工作台的上端中部安装有第一电动气缸,所述第一电动气缸的输出端安装有电机,所述电机的输出端安装有裁切盘,所述电机的左右两侧设置有第二电动气缸,所述第二电动气缸的输出端安装有限位架。本实用新型通过设置的限位架、橡胶垫、固定杆、直板、通口、箱体和过滤网,既可以对刀具材料进行压紧限定,避免裁切过程中出现材料偏移的情况,进一步提高裁切准确性,又可以把工作台上方右侧裁切好的刀具材料推入箱体内,省去了人工取料的危险,进一步提高裁切效率,还可以节省工人清理碎屑的工作量,较为实用,适合广泛推广与使用。
The utility model relates to the technical field of tool processing, and discloses a machine tool cutting device, comprising a worktable, a first electric cylinder is installed in the middle of the upper end of the worktable, and a motor is installed at the output end of the first electric cylinder, The output end of the motor is provided with a cutting disc, the left and right sides of the motor are provided with second electric cylinders, and the output end of the second electric cylinder is provided with a limit frame. The utility model can press and limit the cutting tool material by setting the limit frame, the rubber pad, the fixing rod, the straight plate, the through port, the box body and the filter screen, so as to avoid the material deviation during the cutting process, and further The cutting accuracy can be improved, and the cutting tool material on the right side of the table can be pushed into the box, which saves the danger of manual material retrieval, further improves the cutting efficiency, and saves the workload of workers to clean up debris. , more practical, suitable for widespread promotion and use.
Description
技术领域technical field
本实用新型涉及刀具加工技术领域,具体为一种机床刀具裁切装置。The utility model relates to the technical field of tool processing, in particular to a tool cutting device for machine tools.
背景技术Background technique
经检索公开号为(CN111318751A),公开了一种刀具裁切装置,该装置包括底座、一对并列设置在底座上的刀具滑动机构、一对并列设置在底座上并分别与相应一侧的刀具滑动机构相适配的刀具夹紧机构、设置在两刀具滑动机构之间的刀具切断机构以及设置在底座上的刀具长度调整机构。The retrieval publication number is (CN111318751A), which discloses a cutter cutting device, which comprises a base, a pair of cutter sliding mechanisms arranged side by side on the base, and a pair of cutters arranged side by side on the base and corresponding to one side respectively. The tool clamping mechanism matched with the sliding mechanism, the tool cutting mechanism arranged between the two tool sliding mechanisms, and the tool length adjusting mechanism arranged on the base.
在实现本实用新型的过程中,发明人发现现有技术中至少存在以下问题没有得到解决:该发明虽然可以对刀具原材料进行裁切,但是需要人工辅助下料过于危险,而且功能单一,亟需进行改进,因此,我们提出一种机床刀具裁切装置。In the process of realizing the present utility model, the inventor found that at least the following problems have not been solved in the prior art: although the invention can cut the raw material of the cutting tool, it is too dangerous to require manual auxiliary cutting, and the function is single, which is urgently needed. To improve, therefore, we propose a machine tool cutting device.
实用新型内容Utility model content
本实用新型的目的在于提供一种机床刀具裁切装置,解决了背景技术中所提出的问题。The purpose of the utility model is to provide a machine tool cutting device, which solves the problems raised in the background art.
为实现上述目的,本实用新型提供如下技术方案:一种机床刀具裁切装置,包括工作台;In order to achieve the above purpose, the utility model provides the following technical solutions: a machine tool cutting device, including a workbench;
所述工作台的上端中部安装有第一电动气缸,所述第一电动气缸的输出端安装有电机,所述电机的输出端安装有裁切盘,所述电机的左右两侧设置有第二电动气缸,所述第二电动气缸的输出端安装有限位架,所述工作台的右侧下端设置有固定杆;A first electric cylinder is installed in the middle of the upper end of the worktable, a motor is installed at the output end of the first electric air cylinder, a cutting disc is installed at the output end of the motor, and a second electric cylinder is installed on the left and right sides of the motor. an electric cylinder, the output end of the second electric cylinder is provided with a limit frame, and the lower end of the right side of the worktable is provided with a fixing rod;
所述固定杆的左端贯穿工作台安装有直板,所述直板的左侧前端连接有拉绳,所述工作台的中部开设有通口,所述通口的下端可拆卸安装有箱体,所述固定杆的右端安装有限位板。The left end of the fixing rod is installed with a straight plate through the workbench, the left front end of the straight plate is connected with a pulling rope, the middle part of the workbench is provided with a through opening, and the lower end of the through opening is detachably installed with a box body, so the A limit plate is installed on the right end of the fixing rod.
作为本实用新型的一种优选实施方式,所述限位架下端的左右两侧均粘合有橡胶垫。As a preferred embodiment of the present invention, rubber pads are adhered to the left and right sides of the lower end of the limiting frame.
作为本实用新型的一种优选实施方式,所述固定杆的右侧外侧壁套设有弹簧。As a preferred embodiment of the present invention, a spring is sleeved on the right outer side wall of the fixing rod.
作为本实用新型的一种优选实施方式,所述拉绳的自由端绕过导向轮与限位架的左侧连接。As a preferred embodiment of the present invention, the free end of the pulling rope bypasses the guide wheel and is connected to the left side of the limit frame.
作为本实用新型的一种优选实施方式,所述箱体的内腔下端可拆卸安装有过滤网。As a preferred embodiment of the present invention, a filter screen is detachably installed at the lower end of the inner cavity of the box body.
作为本实用新型的一种优选实施方式,所述直板的左侧长度与工作台的左侧长度相同,且所述直板的下端与工作台的上表面贴合。As a preferred embodiment of the present invention, the length of the left side of the straight plate is the same as the length of the left side of the workbench, and the lower end of the straight plate is attached to the upper surface of the workbench.
与现有技术相比,本实用新型的有益效果如下:Compared with the prior art, the beneficial effects of the present utility model are as follows:
1.本实用新型通过设置的限位架、橡胶垫、固定杆、直板、通口、箱体和过滤网,既可以对刀具材料进行压紧限定,避免裁切过程中出现材料偏移的情况,进一步提高裁切准确性,又可以把工作台上方右侧裁切好的刀具材料推入箱体内,省去了人工取料的危险,进一步提高裁切效率,还可以节省工人清理碎屑的工作量,有利于更为实用的使用一种机床刀具裁切装置。1. The utility model can compress and limit the tool material by setting the limit frame, rubber pad, fixed rod, straight plate, port, box and filter screen, so as to avoid the situation of material deviation during the cutting process. , to further improve the cutting accuracy, and push the cut tool material on the right side of the worktable into the box, eliminating the danger of manual reclaiming, further improving the cutting efficiency, and saving workers from cleaning debris. The workload is beneficial to the more practical use of a machine tool cutting device.
2.本实用新型通过固定杆上的限位板,便于通过限位板对弹簧进行限定,避免弹簧脱落固定杆,从而方便固定杆复位,有利于更为实用的使用一种机床刀具裁切装置。2. The present utility model uses the limit plate on the fixed rod, which is convenient to limit the spring through the limit plate, to avoid the spring from falling off the fixed rod, so as to facilitate the reset of the fixed rod, which is conducive to the more practical use of a machine tool cutting device .
附图说明Description of drawings
通过阅读参照以下附图对非限制性实施例所作的详细描述,本实用新型的其它特征、目的和优点将会变得更明显:Other features, objects and advantages of the present invention will become more apparent by reading the detailed description of non-limiting embodiments with reference to the following drawings:
图1为本实用新型一种机床刀具裁切装置的整体结构示意图;1 is a schematic diagram of the overall structure of a machine tool cutting device of the present utility model;
图2为本实用新型一种机床刀具裁切装置的限位架底部结构示意图。Fig. 2 is a schematic diagram of the bottom structure of a limit frame of a machine tool cutting device of the present invention.
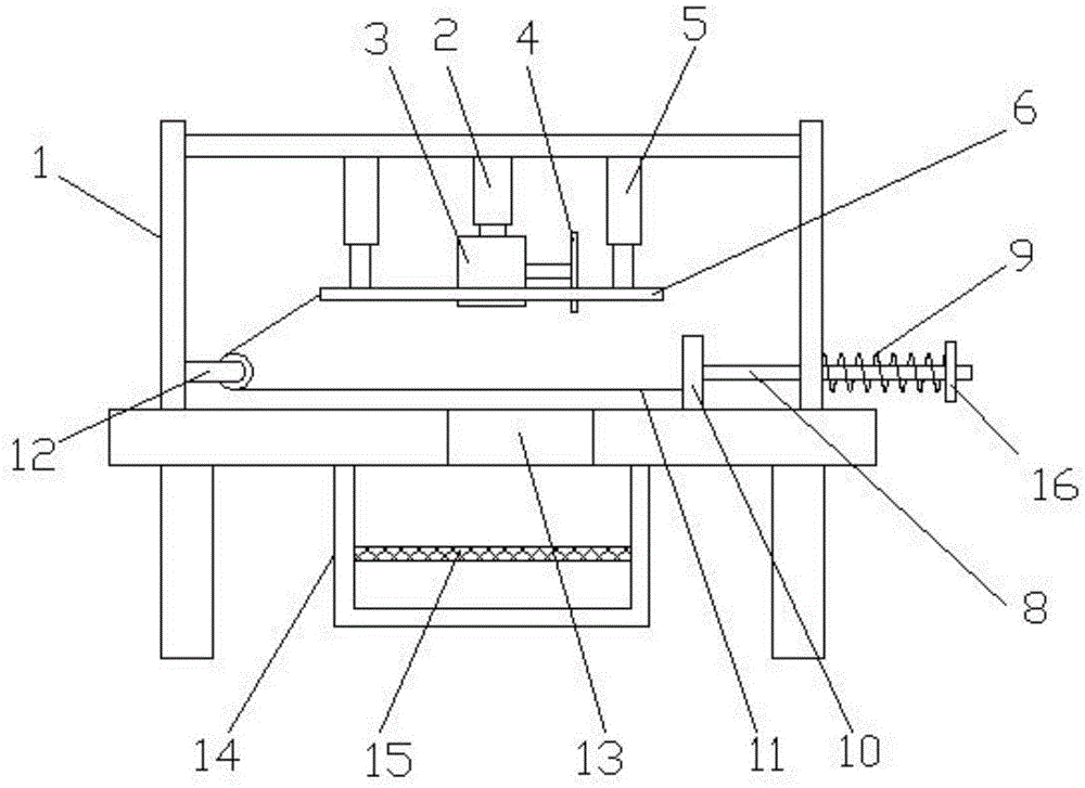
图中:1、工作台,2、第一电动气缸,3、电机,4、裁切盘,5、第二电动气缸,6、限位架,7、橡胶垫,8、固定杆,9、弹簧,10、直板,11、拉绳,12、导向轮,13、通口,14、箱体,15、过滤网,16、限位板。In the picture: 1. Workbench, 2. First electric cylinder, 3. Motor, 4. Cutting disc, 5. Second electric cylinder, 6. Limiting frame, 7. Rubber pad, 8. Fixing rod, 9. Spring, 10, straight plate, 11, rope, 12, guide wheel, 13, port, 14, box, 15, filter, 16, limit plate.
具体实施方式Detailed ways
请参阅图1-2,本实用新型提供一种技术方案:一种机床刀具裁切装置,包括工作台1,所述工作台1的上端中部安装有第一电动气缸2,所述第一电动气缸2的输出端安装有电机3,所述电机3的输出端安装有裁切盘4,所述电机3的左右两侧设置有第二电动气缸5,所述第二电动气缸5的输出端安装有限位架6,所述工作台1的右侧下端设置有固定杆8,所述固定杆8的左端贯穿工作台1安装有直板10,所述直板10的左侧前端连接有拉绳11,所述工作台1的中部开设有通口13,所述通口13的下端可拆卸安装有箱体14,所述固定杆8的右端安装有限位板16,通过设置的限位架6、橡胶垫7、固定杆8、直板10、通口13、箱体14和过滤网15,使用时,首先把刀具材料放在工作台1上,再通过开关打开第二电动气缸5,第二电动气缸5带动限位架6向下移动,使限位架6配合橡胶垫7对刀具材料进行压紧限定,避免裁切过程中出现材料偏移的情况,进一步提高裁切准确性,裁切完后控制限位架6向上移动,限位架6向上移动过程中拉动拉绳11,拉绳11带动直板10向左移动,使直板10把工作台上方右侧裁切好的刀具材料推入箱体14内,省去了人工取料的危险,进一步提高裁切效率,同时直板10把工作台1右侧的碎屑也推入箱体14内,再通过过滤网15进行分离,从而节省工人清理碎屑的工作量,所述限位架6下端的左右两侧均粘合有橡胶垫7,便于提高限定效果,所述固定杆8的右侧外侧壁套设有弹簧9,便于带动固定杆8复位,所述拉绳11的自由端绕过导向轮12与限位架6的左侧连接,便于带动直板10移动,所述箱体14的内腔下端可拆卸安装有过滤网15,便于取出碎屑,所述直板10的左侧长度与工作台1的左侧长度相同,且所述直板10的下端与工作台1的上表面贴合,便于提高清理效果。1-2, the present utility model provides a technical solution: a machine tool cutting device, comprising a worktable 1, a first
工作原理,使用时,首先把刀具材料放在工作台1上,再通过开关打开第二电动气缸5,第二电动气缸5带动限位架6向下移动,使限位架6配合橡胶垫7对刀具材料进行压紧限定,避免裁切过程中出现材料偏移的情况,进一步提高裁切准确性,裁切完后控制限位架6向上移动,限位架6向上移动过程中拉动拉绳11,拉绳11带动直板10向左移动,使直板10把工作台上方右侧裁切好的刀具材料推入箱体14内,省去了人工取料的危险,进一步提高裁切效率,同时直板10把工作台1右侧的碎屑也推入箱体14内,再通过过滤网15进行分离,从而节省工人清理碎屑的工作量。Working principle, when using, first put the tool material on the worktable 1, and then turn on the second
Claims (6)
Priority Applications (1)
| Application Number | Priority Date | Filing Date | Title |
|---|---|---|---|
| CN202123397179.3U CN217474557U (en) | 2021-12-30 | 2021-12-30 | Cutting device for machine tool cutter |
Applications Claiming Priority (1)
| Application Number | Priority Date | Filing Date | Title |
|---|---|---|---|
| CN202123397179.3U CN217474557U (en) | 2021-12-30 | 2021-12-30 | Cutting device for machine tool cutter |
Publications (1)
| Publication Number | Publication Date |
|---|---|
| CN217474557U true CN217474557U (en) | 2022-09-23 |
Family
ID=83302607
Family Applications (1)
| Application Number | Title | Priority Date | Filing Date |
|---|---|---|---|
| CN202123397179.3U Expired - Fee Related CN217474557U (en) | 2021-12-30 | 2021-12-30 | Cutting device for machine tool cutter |
Country Status (1)
| Country | Link |
|---|---|
| CN (1) | CN217474557U (en) |
Cited By (1)
| Publication number | Priority date | Publication date | Assignee | Title |
|---|---|---|---|---|
| CN116476432A (en) * | 2023-05-23 | 2023-07-25 | 河北鼎康粮油有限公司 | A kind of walnut oil press machine |
-
2021
- 2021-12-30 CN CN202123397179.3U patent/CN217474557U/en not_active Expired - Fee Related
Cited By (2)
| Publication number | Priority date | Publication date | Assignee | Title |
|---|---|---|---|---|
| CN116476432A (en) * | 2023-05-23 | 2023-07-25 | 河北鼎康粮油有限公司 | A kind of walnut oil press machine |
| CN116476432B (en) * | 2023-05-23 | 2024-07-09 | 河北鼎康粮油有限公司 | Walnut oil press |
Similar Documents
| Publication | Publication Date | Title |
|---|---|---|
| CN108480995B (en) | A kind of photovoltaic panel cutting integration apparatus | |
| CN217474557U (en) | Cutting device for machine tool cutter | |
| CN216858436U (en) | Automatic cutting equipment for sheet metal parts | |
| CN221695437U (en) | Automatic stock cutter of hardware and tools production | |
| CN211590271U (en) | Building board cutting device convenient to collect waste material | |
| CN210147760U (en) | Woodwork processing and polishing equipment | |
| CN219547377U (en) | Equipment is tailor in automobile seat surface fabric processing | |
| CN218746504U (en) | Numerical control machining workbench convenient for cutter replacement | |
| CN111002746A (en) | Hand-held type carving tool | |
| CN217094923U (en) | A cutting machine dust removal mechanism | |
| CN215509350U (en) | Waste recovery device for linear cutting machine | |
| CN114309699B (en) | A new energy automobile parts drilling equipment | |
| CN210677172U (en) | An aluminum profile cutting device with the function of collecting waste | |
| CN222807239U (en) | Scrap cleaning device of paper cutter | |
| CN220464135U (en) | A cutting device for release film | |
| CN113400374A (en) | Blade sectioning device for bioengineering | |
| CN217729067U (en) | Line cutting machine for bamboo furniture | |
| CN211915668U (en) | An automobile front wall punching and shearing device capable of removing excess residual material | |
| CN220113427U (en) | Deckle edge processing apparatus is used in paper production processing | |
| CN223131369U (en) | A shaping device for diamond semiconductor production | |
| CN219402518U (en) | Trimming device for metal product | |
| CN212497934U (en) | Cutting equipment is used in mould production with but sweeps recovery function | |
| CN218755461U (en) | Lead glass cutting guide tool rest | |
| CN216662868U (en) | Automatic glass cutting machine | |
| CN221717113U (en) | A plastic product sawing mechanism |
Legal Events
| Date | Code | Title | Description |
|---|---|---|---|
| GR01 | Patent grant | ||
| GR01 | Patent grant | ||
| CF01 | Termination of patent right due to non-payment of annual fee |
Granted publication date: 20220923 |
|
| CF01 | Termination of patent right due to non-payment of annual fee |
