CN217446760U - Waterproof antibiotic cold-proof sportswear - Google Patents
Waterproof antibiotic cold-proof sportswear Download PDFInfo
- Publication number
- CN217446760U CN217446760U CN202220973285.7U CN202220973285U CN217446760U CN 217446760 U CN217446760 U CN 217446760U CN 202220973285 U CN202220973285 U CN 202220973285U CN 217446760 U CN217446760 U CN 217446760U
- Authority
- CN
- China
- Prior art keywords
- layer
- waterproof
- sportswear
- fixedly arranged
- sleeves
- Prior art date
- Legal status (The legal status is an assumption and is not a legal conclusion. Google has not performed a legal analysis and makes no representation as to the accuracy of the status listed.)
- Active
Links
- 230000003115 biocidal effect Effects 0.000 title claims description 10
- 230000000844 anti-bacterial effect Effects 0.000 claims abstract description 17
- 239000004744 fabric Substances 0.000 claims description 33
- 238000004321 preservation Methods 0.000 claims description 8
- 230000033228 biological regulation Effects 0.000 claims description 4
- 210000002310 elbow joint Anatomy 0.000 claims description 4
- OKTJSMMVPCPJKN-UHFFFAOYSA-N Carbon Chemical compound [C] OKTJSMMVPCPJKN-UHFFFAOYSA-N 0.000 claims description 3
- 244000146553 Ceiba pentandra Species 0.000 claims description 3
- 150000001875 compounds Chemical class 0.000 claims description 3
- 229910021389 graphene Inorganic materials 0.000 claims description 3
- 239000002649 leather substitute Substances 0.000 claims description 3
- 239000000463 material Substances 0.000 claims description 3
- -1 polysiloxane Polymers 0.000 claims description 3
- 229920001296 polysiloxane Polymers 0.000 claims description 3
- 239000007787 solid Substances 0.000 description 9
- 238000009413 insulation Methods 0.000 description 3
- 238000000034 method Methods 0.000 description 3
- 241000894006 Bacteria Species 0.000 description 2
- 239000011248 coating agent Substances 0.000 description 2
- 238000000576 coating method Methods 0.000 description 2
- 230000000694 effects Effects 0.000 description 2
- 230000004083 survival effect Effects 0.000 description 2
- 210000004243 sweat Anatomy 0.000 description 2
- 238000005406 washing Methods 0.000 description 2
- 230000000845 anti-microbial effect Effects 0.000 description 1
- 239000004599 antimicrobial Substances 0.000 description 1
- 230000009286 beneficial effect Effects 0.000 description 1
- 230000014759 maintenance of location Effects 0.000 description 1
- 238000012986 modification Methods 0.000 description 1
- 230000004048 modification Effects 0.000 description 1
- 239000004575 stone Substances 0.000 description 1
Images
Landscapes
- Professional, Industrial, Or Sporting Protective Garments (AREA)
Abstract
The utility model discloses a waterproof antibacterial warm-keeping sports wear, which comprises a sports wear body, wherein sleeves are fixedly arranged on both sides of the sports wear body, elastic belts are fixedly arranged at the bottom ends of the two sleeves, a telescopic area positioned below the two sleeves is fixedly arranged on the sports wear body, a plurality of uniformly distributed fixing rings I and fixing rings II are fixedly arranged on both sides of the telescopic area, a ring sleeve is sleeved on the middle parts of the fixing rings I, and an adjusting belt is fixedly connected to one side of the ring sleeve. The wearing aesthetic property is improved.
Description
Technical Field
The utility model relates to a sports apparel field specifically is a waterproof antibiotic cold-proof sportswear.
Background
Modern people increasingly pay more attention to improving the quality of life, outdoor exercises become a mode that people share with family members and friends together after working, it can not only build up one's body, can also promote mutual relation and friendship, can be said to kill two birds with one stone, outdoor exercises, a set of sport item crowd who has the quest or experience quest of holding in the natural environment, people can wear the sportswear usually in the process of doing outdoor exercises, current waterproof type sportswear is because the effect of its outer waterproof coating for the elasticity of sportswear itself is less, the user can't adjust the both sides of sportswear according to individual figure in the process of wearing, lead to the aesthetic property of dress lower.
SUMMERY OF THE UTILITY MODEL
An object of the utility model is to provide a waterproof antibiotic cold-proof sportswear to solve the current waterproof type sportswear that proposes in the above-mentioned background art because its outer waterproof coating's effect, make the elasticity of sportswear itself less, the user can't be adjusted the both sides of sportswear according to individual stature at the in-process of wearing, leads to the lower problem of aesthetic property of dress.
In order to achieve the above object, the utility model provides a following technical scheme: the utility model provides a waterproof antibiotic cold-proof sportswear, includes the sportswear body, the both sides of sportswear body are all fixed and are provided with the coat-sleeve, two the bottom of coat-sleeve is all fixed and is provided with the elastic webbing, the flexible district that is located two coat-sleeve belows that is fixed being provided with on the sportswear body, the both sides in flexible district are all fixed and are set up a plurality of evenly distributed's solid fixed ring one and solid fixed ring two, and are a plurality of gu fixed ring one's middle part all overlaps and is equipped with the ring cover, one side fixedly connected with regulation band of ring cover, the one end of regulation band is worn and is corresponded solid fixed ring two fixedly connected with engaging lugs, the inboard of engaging lug is fixed and is provided with the box, the fixed son that is provided with a plurality of evenly distributed on the regulation band is buckled, corresponds the son is buckled with the box block and is connected.
Preferably, the fixed two magic subsides that are provided with in elbow joint department of coat-sleeve, the coat-sleeve is connected with elbow pad cloth through the magic subsides, elbow pad cloth is made by the artificial leather material, is provided with elbow pad cloth and consolidates the elbow, reduces the injured possibility of elbow during the motion.
Preferably, a plurality of evenly distributed inflation strips are fixedly arranged on the elbow guard cloth, and the elbow is protected through the inflation strips.
Preferably, the sportswear body consists of a fabric main body, a heat preservation layer, a waterproof layer and an antibacterial layer, the antibacterial layer is fixedly arranged on the inner side of the fabric main body, the heat preservation layer is arranged on the outer side of the fabric main body, the waterproof layer is fixedly arranged on the outer side of the heat preservation layer, the heat preservation performance of the sportswear body is improved through the heat preservation layer, and the waterproof performance is improved through the waterproof layer.
Preferably, the antibacterial layer is made of graphene fabric, and the antibacterial performance is good.
Preferably, the warm-keeping layer is made of silk cotton fabric, and the waterproof layer is made of polysiloxane compounds.
Compared with the prior art, the beneficial effects of the utility model are that: the telescopic areas are arranged on the two sides of the sportswear body, and the first fixing ring is matched with the second fixing ring, so that the adjusting belt on the first fixing ring is matched with the female buckle through the male buckle and the female buckle, the distance between the first fixing ring and the second fixing ring can be adjusted, namely, the width of the telescopic areas can be adjusted, the sportswear body can be more attached to the body according to the stature of a wearer, and the wearing attractiveness is improved; through being provided with detachable elbow pad cloth behind the coat-sleeve, utilize elbow pad cloth and aerify the strip and protect the elbow joint, and can dismantle, more convenient clearance.
Drawings
Fig. 1 is a perspective view of the present invention;
FIG. 2 is a partially detailed view of the present invention;
fig. 3 is a partial rear view of the present invention;
fig. 4 is a cross-sectional view of the present invention.
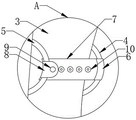
In the figure: 1. a sportswear body; 2. sleeves; 3. a telescoping zone; 4. a first fixing ring; 5. a second fixing ring; 6. sleeving a ring; 7. an adjustment belt; 8. connecting lugs; 9. a female buckle; 10. a sub-buckle; 11. magic tape; 12. elbow protecting cloth; 13. an inflation strip; 14. a fabric main body; 15. a thermal insulation layer; 16. a waterproof layer; 17. an antimicrobial layer; 18. an elastic band.
Detailed Description
The technical solution in the embodiments of the present invention will be clearly and completely described below with reference to the accompanying drawings in the embodiments of the present invention.
Please refer to fig. 1-4, the utility model provides a waterproof antibiotic cold-proof sportswear, including sportswear body 1, sportswear body 1's both sides are all fixed and are provided with coat-sleeve 2, the bottom of two coat-sleeves 2 is all fixed and is provided with elastic webbing 18, fixed being provided with on sportswear body 1 is located the flexible district 3 of two coat-sleeves 2 below, flexible district 3's both sides are all fixed and are set up a plurality of evenly distributed's solid fixed ring 4 and solid fixed ring two 5, the middle part of a plurality of solid fixed ring 4 all overlaps and is equipped with ring cover 6, one side fixedly connected with adjusting band 7 of ring cover 6, the one end of adjusting band 7 is passed and is corresponded solid fixed ring two 5 fixedly connected with engaging lug 8, the inboard fixed female knot 9 that is provided with of engaging lug 8, the fixed son that is provided with a plurality of evenly distributed on the adjusting band 7 is detained 10, it is connected with female knot 9 blocks to correspond son.
During the use, the user wears sportswear body 1 to on one's body, passes solid fixed ring two 5 with engaging lug 8 of connecting band tip for female buckle 9 on the engaging lug 8 and corresponding son buckle 10 block, thereby can adjust the dimension of side clothes, make better person of dress's stature, improved the sight.
The fixed two magic subsides 11 that are provided with in elbow joint department of coat-sleeve 2, coat-sleeve 2 is connected with elbow pad cloth 12 through magic subsides 11, and elbow pad cloth 12 is made by artificial leather material, and elbow pad cloth 12 is gone up fixed a plurality of evenly distributed's of being provided with strip 13 of aerifing.
Be provided with elbow pad cloth 12, elbow pad cloth 12 is pasted 11 through the magic and is connected with coat-sleeve 2, conveniently dismantles the washing, protects the elbow through cooperating with inflatable strip 13, reduces the damage that the elbow received when colliding with, has improved the security of using.
The sports wear body 1 is composed of a fabric main body 14, a warm-keeping layer 15, a waterproof layer 16 and an antibacterial layer 17, the antibacterial layer 17 is fixedly arranged on the inner side of the fabric main body 14, the warm-keeping layer 15 is arranged on the outer side of the fabric main body 14, the waterproof layer 16 is fixedly arranged on the outer side of the warm-keeping layer 15, the antibacterial layer 17 is made of graphene fabric, the warm-keeping layer 15 is made of silk cotton fabric, and the waterproof layer 16 is made of polysiloxane compounds.
During the use, improved sportswear body 1's warmth retention property through cold-proof layer 15, antibiotic layer 17 pastes the layer with the health, has effectively reduced the survival rate that the bacterium was bred to the health sweat, has improved holistic antibiotic performance, and waterproof layer 16 then effectively protects sportswear body 1 in the rainy day.
When the embodiment of the application is used: the user will move the clothes body 1 and dress to on one's body, link 8 with the connecting band tip and pass solid fixed ring two 5, make box 9 and corresponding son buckle 10 block on the link 8, thereby can adjust the dimension of side clothes, make the body of person of dress of having better pasted, the sight has been improved, be provided with elbow guard cloth 12, elbow guard cloth 12 pastes 11 through the magic and is connected with coat-sleeve 2, the washing is conveniently dismantled, protect the elbow through cooperating with aerifing strip 13, reduce the damage that the elbow received when colliding with, the security of using has been improved, the thermal insulation performance of moving clothes body 1 has been improved through thermal insulation layer 15, antibiotic layer 17 and health are pasted the layer, the survival rate that the bacterium was bred to the health sweat has effectively been reduced, holistic antibacterial property has been improved, waterproof layer 16 then effectively protects moving clothes body 1 in the rainy day.
Although the present invention has been described in detail with reference to the foregoing embodiments, it will be apparent to those skilled in the art that modifications may be made to the embodiments or portions thereof without departing from the spirit and scope of the invention.
Claims (6)
1. The utility model provides a waterproof antibiotic cold-proof sportswear, includes sportswear body (1), its characterized in that: sleeves (2) are fixedly arranged on two sides of the sportswear body (1), elastic belts (18) are fixedly arranged at the bottom ends of the two sleeves (2), the sports suit body (1) is fixedly provided with a telescopic area (3) positioned below the two sleeves (2), a plurality of uniformly distributed first fixing rings (4) and second fixing rings (5) are fixedly arranged on both sides of the telescopic area (3), a ring sleeve (6) is sleeved at the middle parts of the first fixing rings (4), one side of the ring sleeve (6) is fixedly connected with an adjusting belt (7), one end of the adjusting belt (7) penetrates through the corresponding fixing ring II (5) to be fixedly connected with a connecting lug (8), the inboard of engaging lug (8) is fixed and is provided with box (9), fixed sub-knot (10) that are provided with a plurality of evenly distributed on regulation area (7) correspond sub-knot (10) are connected with box (9) block.
2. The waterproof antibacterial warm-keeping sportswear according to claim 1, characterized in that: the elbow joint of the sleeves (2) is fixedly provided with two magic tapes (11), the sleeves (2) are connected with elbow guard cloth (12) through the magic tapes (11), and the elbow guard cloth (12) is made of artificial leather materials.
3. The waterproof antibacterial warm-keeping sports wear according to claim 2, characterized in that: a plurality of evenly distributed inflatable strips (13) are fixedly arranged on the elbow guard cloth (12).
4. The waterproof antibacterial warm-keeping sportswear according to claim 1, characterized in that: the sports wear body (1) is composed of a fabric main body (14), a heat preservation layer (15), a waterproof layer (16) and an antibacterial layer (17), the antibacterial layer (17) is fixedly arranged on the inner side of the fabric main body (14), the heat preservation layer (15) is arranged on the outer side of the fabric main body (14), and the waterproof layer (16) is fixedly arranged on the outer side of the heat preservation layer (15).
5. The waterproof antibacterial warm-keeping sportswear according to claim 4, wherein: the antibacterial layer (17) is made of graphene fabric.
6. The waterproof antibacterial warm-keeping sportswear according to claim 4, wherein: the warm-keeping layer (15) is made of silk cotton fabric, and the waterproof layer (16) is made of polysiloxane compound.
Priority Applications (1)
| Application Number | Priority Date | Filing Date | Title |
|---|---|---|---|
| CN202220973285.7U CN217446760U (en) | 2022-04-26 | 2022-04-26 | Waterproof antibiotic cold-proof sportswear |
Applications Claiming Priority (1)
| Application Number | Priority Date | Filing Date | Title |
|---|---|---|---|
| CN202220973285.7U CN217446760U (en) | 2022-04-26 | 2022-04-26 | Waterproof antibiotic cold-proof sportswear |
Publications (1)
| Publication Number | Publication Date |
|---|---|
| CN217446760U true CN217446760U (en) | 2022-09-20 |
Family
ID=83269389
Family Applications (1)
| Application Number | Title | Priority Date | Filing Date |
|---|---|---|---|
| CN202220973285.7U Active CN217446760U (en) | 2022-04-26 | 2022-04-26 | Waterproof antibiotic cold-proof sportswear |
Country Status (1)
| Country | Link |
|---|---|
| CN (1) | CN217446760U (en) |
-
2022
- 2022-04-26 CN CN202220973285.7U patent/CN217446760U/en active Active
Similar Documents
| Publication | Publication Date | Title |
|---|---|---|
| CN217446760U (en) | Waterproof antibiotic cold-proof sportswear | |
| CN215455516U (en) | Sports pants with trouser leg detachable structure | |
| US20220192352A1 (en) | Leg and bra strap for women in front of a camera | |
| CN208338917U (en) | A kind of comfortable clothes of movement | |
| CN215455531U (en) | Fur overcoat that comfort level is high | |
| CN210353255U (en) | A safe sports shorts | |
| CN220966476U (en) | Waffle taekwondo suit suitable for children | |
| CN221532919U (en) | Full-surrounding isolation suit | |
| CN217089701U (en) | Shoulder and neck skin protection garment | |
| CN210841673U (en) | Medical protective clothing | |
| CN213096208U (en) | Lower limb protector for athletic sports | |
| CN218389838U (en) | Heat-insulation bacteriostatic comfortable cloth trousers | |
| CN215649374U (en) | Spliced outdoor sports wear | |
| CN221179448U (en) | Anti-skid wear-resistant apron | |
| CN223335620U (en) | Mountain-climbing outdoor jacket | |
| CN219373831U (en) | High-comfort shirt | |
| CN217409586U (en) | Firemen's heat insulation protective clothing | |
| CN216059278U (en) | Be provided with cold-proof device of knee-pad's leggings | |
| CN222486259U (en) | Spliced skiing trousers | |
| CN219229072U (en) | Warm keeping sanitary wear | |
| CN218942321U (en) | Short skirt with safety trousers | |
| CN221769389U (en) | Sports pants with wear-resistant parts | |
| CN215224862U (en) | A kind of protective sports pants | |
| CN217184896U (en) | Yoga trousers based on knee-pad structural design | |
| CN213756744U (en) | Novel non-woven fabric isolation clothes |
Legal Events
| Date | Code | Title | Description |
|---|---|---|---|
| GR01 | Patent grant | ||
| GR01 | Patent grant |