CN217432896U - 一种电源线加工生产用切断设备 - Google Patents

一种电源线加工生产用切断设备 Download PDF

Info

Publication number
CN217432896U
CN217432896U CN202221025540.1U CN202221025540U CN217432896U CN 217432896 U CN217432896 U CN 217432896U CN 202221025540 U CN202221025540 U CN 202221025540U CN 217432896 U CN217432896 U CN 217432896U
Authority
CN
China
Prior art keywords
power cord
rod
cutting
threaded rod
cutting equipment
Prior art date
Legal status (The legal status is an assumption and is not a legal conclusion. Google has not performed a legal analysis and makes no representation as to the accuracy of the status listed.)
Active
Application number
CN202221025540.1U
Other languages
English (en)
Inventor
周新国
Current Assignee (The listed assignees may be inaccurate. Google has not performed a legal analysis and makes no representation or warranty as to the accuracy of the list.)
Jiangmen Brothers Wire And Cable Co ltd
Original Assignee
Jiangmen Brothers Wire And Cable Co ltd
Priority date (The priority date is an assumption and is not a legal conclusion. Google has not performed a legal analysis and makes no representation as to the accuracy of the date listed.)
Filing date
Publication date
Application filed by Jiangmen Brothers Wire And Cable Co ltd filed Critical Jiangmen Brothers Wire And Cable Co ltd
Priority to CN202221025540.1U priority Critical patent/CN217432896U/zh
Application granted granted Critical
Publication of CN217432896U publication Critical patent/CN217432896U/zh
Active legal-status Critical Current
Anticipated expiration legal-status Critical

Links

Images

Landscapes

  • Details Of Cutting Devices (AREA)

Abstract

本实用新型公开了一种电源线加工生产用切断设备,包括设备本体,所述设备本体包括:底座,所述底座下方设置有四个支撑腿,所述支撑腿下方设置有滚轮,夹持装置,所述夹持装置设置于底座的左侧上方,所述夹持装置侧面前方设置有固定轴,所述固定轴上方设置有旋转杆,所述旋转杆贯穿固定轴且与固定轴活动连接;本实用新型通过设置限位装置,可以防止电源线偏移,通过设置旋转杆,可以向外转动旋转杆方便将电源线放上去,通过设置传送带,可以使被切掉的电源线被移走,防止电源线堆积,提高了装置的工作效率。

Description

一种电源线加工生产用切断设备
技术领域
本实用涉及电源线加工技术领域,具体为一种电源线加工生产用切断设备。
背景技术
电源线是传输电流的电线。通常电流传输的方式是点对点传输。电源线按照用途可以分为AC交流电源线及DC直流电源线,通常AC电源线是通过电压较高的交流电的线材,而DC线基本是通过电压较低的直流电,在对电源线加工的过程中,往往需要对电源线进行定长截断,因此需要一种电源线加工生产切断设备。
目前的电源线加工生产切断设备还存在着一些问题,传统的加工过程中上料不够方便,会降低工作效率,且切割后的电线无法及时清理会在工作台面上堆积,影响后续的切割,装置的实用性较差。
实用新型内容
本实用的目的在于提供一种电源线加工生产用切断设备,以解决上述背景技术中提出的问题。
为实现上述目的,本实用提供如下技术方案:一种电源线加工生产用切断设备,包括设备本体,所述设备本体包括:
底座,所述底座下方设置有四个支撑腿,所述支撑腿下方设置有滚轮;
夹持装置,所述夹持装置设置于底座的左侧上方,所述夹持装置侧面前方设置有固定轴,所述固定轴上方设置有旋转杆,所述旋转杆贯穿固定轴且与固定轴活动连接;
切割装置,所述切割装置设置于底座的中间上方,所述切割装置设置有切割台。
进一步地,所述旋转杆上方设置有第一固定块,所述第一固定块与旋转杆固定连接,所述旋转杆设置有齿轮,所述齿轮与旋转杆活动连接。
进一步地,所述旋转杆外端设置有螺纹杆,所述螺纹杆直径小于旋转杆,所述旋转杆内部是空心的,所述螺纹杆可以进入旋转杆,所述旋转杆与螺纹杆活动连接。
进一步地,所述螺纹杆内侧设置有第二固定块,所述第二固定块与螺纹杆活动连接,所述第二固定块的外固定面上设置有复位弹簧所述复位弹簧与第二固定块固定连接。
进一步地,所述复位弹簧另一端设置有支撑板,所述螺纹杆贯穿支撑板且与支撑板螺纹连接,所述螺纹杆外端设置有把手。
进一步地,所述切割装置设置有支架,所述支架下方设置有电动伸缩杆,所述电动伸缩杆下方设置有刀片。
进一步地,所述切割台左侧设置有导向槽,所述导向槽左侧设置有传送带,所述传送带两侧设置有挡板。
进一步地,所述夹持装置与切割装置之间设置有限位装置,所述限位装置包括限位孔,所述限位孔与L支撑杆固定连接。
与现有技术相比,本实用的有益效果是:
通过设置限位装置,可以防止电源线偏移,通过设置旋转杆,可以向外转动旋转杆方便将电源线放上去,通过设置传送带,可以使被切掉的电源线被移走,防止电源线堆积,提高了装置的工作效率。
附图说明
为了更清楚地说明本申请实施例或现有技术中的技术方案,下面将对实施例或现有技术描述中所需要使用的附图作简单地介绍,显而易见地,下面描述中的附图是本申请的一些实施例,对于本领域普通技术人员来讲,在不付出创造性劳动的前提下,还可以根据这些附图获得其他的附图。在所有附图中,类似的元件或部分一般由类似的附图标记标识。附图中,各元件或部分并不一定按照实际的比例绘制。
图1为本实用新型整体外观结构示意图;
图2为本实用新型夹持装置结构示意图;
图3为本实用新型切割装置结构示意图;
图4为本实用新型安装组件结构示意图。
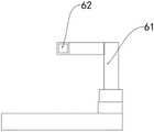
图中:1、设备本体;11、底座;12、支撑腿;13、滚轮;3、夹持装置; 31、第一固定块;32、固定轴;33、旋转杆;34、齿轮;35、复位弹簧;36、把手;37、螺纹杆;38、支撑板;39、第二固定块;4、切割装置;41、支架; 42、电动伸缩杆;43、刀片;44、切割台;46、导向槽;47、传送带;48、挡板;6、限位装置;61、限位孔;62、L支撑杆。
具体实施方式
在本实用新型的描述中,需要说明的是,术语“上”、“下”、“内”、“外”“前端”、“后端”、“两端”、“一端”、“另一端”等指示的方位或位置关系为基于附图所示的方位或位置关系,仅是为了便于描述本实用新型和简化描述,而不是指示或暗示所指的装置或元件必须具有特定的方位、以特定的方位构造和操作,因此不能理解为对本实用新型的限制。此外,术语“第一”、“第二”仅用于描述目的,而不能理解为指示或暗示相对重要性。
在本实用新型的描述中,需要说明的是,除非另有明确的规定和限定,术语“安装”、“设置有”、“连接”等,应做广义理解,例如“连接”,可以是固定连接,也可以是可拆卸连接,或一体地连接;可以是机械连接,也可以是电连接;可以是直接相连,也可以通过中间媒介间接相连,可以是两个元件内部的连通。对于本领域的普通技术人员而言,可以具体情况理解上述术语在本实用新型中的具体含义。
下面将结合本实用实施例中的附图,对本实用实施例中的技术方案进行清楚、完整地描述,显然,所描述的实施例仅仅是本实用一部分实施例,而不是全部的实施例。基于本实用中的实施例,本领域普通技术人员在没有做出创造性劳动前提下所获得的所有其他实施例,都属于本实用保护的范围。
请参阅图1-4,本实用提供一种电源线加工生产用切断设备技术方案:一种电源线加工生产用切断设备,包括设备本体1,设备本体1包括:
底座11,底座11下方设置有四个支撑腿12,支撑腿12下方设置有滚轮 13,夹持装置3,夹持装置3设置于底座11的左侧上方,夹持装置3侧面前方设置有固定轴32,固定轴32上方设置有旋转杆33,旋转杆33贯穿固定轴 32且与固定轴32活动连接,切割装置4,切割装置4设置于底座11的中间上方,切割装置4设置有切割台44,旋转杆33上方设置有第一固定块31,第一固定块31与旋转杆33固定连接,通过设置旋转杆33,可以向外转动旋转杆33方便将电源线放上去,旋转杆33设置有齿轮34,齿轮34与旋转杆33 活动连接,旋转杆33外端设置有螺纹杆37,通过设置螺纹杆37,可以根据不同宽度的电源线圈,旋转螺纹杆37从而改变两个固定块之间的距离,提高了装置的工作效率,螺纹杆37直径小于旋转杆33,旋转杆33内部是空心的,螺纹杆37可以进入旋转杆33,旋转杆33与螺纹杆37活动连接;
螺纹杆37内侧设置有第二固定块39,第二固定块39与螺纹杆37活动连接,第二固定块39的外固定面上设置有复位弹簧35复位弹簧35与第二固定块39固定连接,复位弹簧35另一端设置有支撑板38,螺纹杆37贯穿支撑板 38且与支撑板38螺纹连接,螺纹杆37外端设置有把手36,切割装置4设置有支架41,支架41下方设置有电动伸缩杆42,电动伸缩杆42下方设置有刀片43,切割台44左侧设置有导向槽46,导向槽46左侧设置有传送带47,传送带47两侧设置有挡板48,夹持装置3与切割装置4之间设置有限位装置6,限位装置6包括限位孔62,限位孔62与L支撑杆61固定连接。
本实用新型通过设置设备本体1,在使用前,使用人员可利用旋转杆33 向外转动,将电源线放上去,通过旋转螺纹杆37可以将螺纹杆37跟旋转杆33连接,螺纹杆33插入旋转杆37内可以对旋转杆37起到限位作用,通过设置复位弹簧35可以利用弹簧的弹力将电源线夹紧,固定好电源线后,通过使用人员手动拉动电源线,拉到指定位置,进行切割,切割后的电源线落入传送带47上,防止工作台面堆积,提高了切割的工作效率,进一步增强装置的实用性。
尽管已经示出和描述了本实用的实施例,对于本领域的普通技术人员而言,可以理解在不脱离本实用的原理和精神的情况下可以对这些实施例进行多种变化、修改、替换和变型,本实用的范围由所附权利要求及其等同物限定。

Claims (8)

1.一种电源线加工生产用切断设备,包括设备本体(1),其特征在于:所述设备本体(1)包括:
底座(11),所述底座(11)下方设置有四个支撑腿(12),所述支撑腿(12)下方设置有滚轮(13);
夹持装置(3),所述夹持装置(3)设置于底座(11)的左侧上方,所述夹持装置(3)侧面前方设置有固定轴(32),所述固定轴(32)上方设置有旋转杆(33),所述旋转杆(33)贯穿固定轴(32)且与固定轴(32)活动连接;
切割装置(4),所述切割装置(4)设置于底座(11)的中间上方,所述切割装置(4)设置有切割台(44)。
2.根据权利要求1所述的一种电源线加工生产用切断设备,其特征在于:所述旋转杆(33)上方设置有第一固定块(31),所述第一固定块(31)与旋转杆(33)固定连接,所述旋转杆(33)设置有齿轮(34),所述齿轮(34)与旋转杆(33)活动连接。
3.根据权利要求1所述的一种电源线加工生产用切断设备,其特征在于:所述旋转杆(33)外端设置有螺纹杆(37),所述螺纹杆(37)直径小于旋转杆(33),所述旋转杆(33)内部是空心的,所述螺纹杆(37)可以进入旋转杆(33),所述旋转杆(33)与螺纹杆(37)活动连接。
4.根据权利要求3所述的一种电源线加工生产用切断设备,其特征在于:所述螺纹杆(37)内侧设置有第二固定块(39),所述第二固定块(39)与螺纹杆(37)活动连接,所述第二固定块(39)的外固定面上设置有复位弹簧(35)。
5.根据权利要求4所述的一种电源线加工生产用切断设备,其特征在于:所述复位弹簧(35)与第二固定块(39)固定连接,所述复位弹簧(35)另一端设置有支撑板(38),所述螺纹杆(37)贯穿支撑板(38)且与支撑板(38)螺纹连接,所述螺纹杆(37)外端设置有把手(36)。
6.根据权利要求1所述的一种电源线加工生产用切断设备,其特征在于:所述切割装置(4)设置有支架(41),所述支架(41)下方设置有电动伸缩杆(42),所述电动伸缩杆(42)下方设置有刀片(43)。
7.根据权利要求1所述的一种电源线加工生产用切断设备,其特征在于:所述切割台(44)左侧设置有导向槽(46),所述导向槽(46)左侧设置有传送带(47),所述传送带(47)两侧设置有挡板(48)。
8.根据权利要求1所述的一种电源线加工生产用切断设备,其特征在于:所述夹持装置(3)与切割装置(4)之间设置有限位装置(6),所述限位装置(6)包括限位孔(62),所述限位孔(62)与L支撑杆(61)固定连接。
CN202221025540.1U 2022-04-30 2022-04-30 一种电源线加工生产用切断设备 Active CN217432896U (zh)

Priority Applications (1)

Application Number Priority Date Filing Date Title
CN202221025540.1U CN217432896U (zh) 2022-04-30 2022-04-30 一种电源线加工生产用切断设备

Applications Claiming Priority (1)

Application Number Priority Date Filing Date Title
CN202221025540.1U CN217432896U (zh) 2022-04-30 2022-04-30 一种电源线加工生产用切断设备

Publications (1)

Publication Number Publication Date
CN217432896U true CN217432896U (zh) 2022-09-16

Family

ID=83220166

Family Applications (1)

Application Number Title Priority Date Filing Date
CN202221025540.1U Active CN217432896U (zh) 2022-04-30 2022-04-30 一种电源线加工生产用切断设备

Country Status (1)

Country Link
CN (1) CN217432896U (zh)

Cited By (1)

* Cited by examiner, † Cited by third party
Publication number Priority date Publication date Assignee Title
CN115570084A (zh) * 2022-11-24 2023-01-06 江苏创德电器线缆有限公司 一种电力线缆的定长截断装置

Cited By (2)

* Cited by examiner, † Cited by third party
Publication number Priority date Publication date Assignee Title
CN115570084A (zh) * 2022-11-24 2023-01-06 江苏创德电器线缆有限公司 一种电力线缆的定长截断装置
CN115570084B (zh) * 2022-11-24 2023-03-14 江苏创德电器线缆有限公司 一种电力线缆的定长截断装置

Similar Documents

Publication Publication Date Title
CN217432896U (zh) 一种电源线加工生产用切断设备
CN209986149U (zh) 一种金属丝自动化矫直装置
CN111496312A (zh) 一种铝板快速裁剪机及其使用方法
CN216266433U (zh) 一种橡胶加工用便于固定工具的切割装置
CN217263644U (zh) 一种非织造布生产用的复合设备
CN215792115U (zh) 一种高速制袋机的切刀装置
CN214649551U (zh) 一种聚酰亚胺板加工用打捆机
CN213106094U (zh) 一种模具制造用角度可调节打磨装置
CN213646036U (zh) 一种便于收纳的数控卧式铣床
CN218365068U (zh) 一种蜂窝纸虚切机
CN112045321A (zh) 一种高效金属方矩管自动切割机
CN210320926U (zh) 一种晾晒角度可调整的羽绒被套晾晒装置
CN218909399U (zh) 一种电源线绕卷设备
CN209210041U (zh) 一种高效贴胶分切装置
CN215627614U (zh) 一种旋转进刀的钢化玻璃切割机
CN216189619U (zh) 一种便于自动收卷纸张印刷机
CN213815820U (zh) 一种缠绕均匀的变压器生产用绕线装置
CN222021699U (zh) 一种cpvc电缆保护管生产加工用切割机
CN219445296U (zh) 一种塑料软管加工用切断分送装置
CN222294534U (zh) 一种服装加工服装裁剪装置
CN218428649U (zh) 一种汽车电池包加热膜生产用裁剪装置
CN212884277U (zh) 一种笔筒加工用的卷管机
CN216765278U (zh) 一种电脑绣花机绣花定位装置
CN223518921U (zh) 一种可自动去除焊接手刺的配电箱焊接装置
CN211761748U (zh) 一种复合瑜伽垫生产用高精度切割机

Legal Events

Date Code Title Description
GR01 Patent grant
GR01 Patent grant