CN217371490U - Clamping device for fixing horizontal and vertical tails of airplane - Google Patents
Clamping device for fixing horizontal and vertical tails of airplane Download PDFInfo
- Publication number
- CN217371490U CN217371490U CN202221417161.7U CN202221417161U CN217371490U CN 217371490 U CN217371490 U CN 217371490U CN 202221417161 U CN202221417161 U CN 202221417161U CN 217371490 U CN217371490 U CN 217371490U
- Authority
- CN
- China
- Prior art keywords
- base
- clamping device
- circular plate
- driving
- sliding rod
- Prior art date
- Legal status (The legal status is an assumption and is not a legal conclusion. Google has not performed a legal analysis and makes no representation as to the accuracy of the status listed.)
- Active
Links
Images
Classifications
-
- Y—GENERAL TAGGING OF NEW TECHNOLOGICAL DEVELOPMENTS; GENERAL TAGGING OF CROSS-SECTIONAL TECHNOLOGIES SPANNING OVER SEVERAL SECTIONS OF THE IPC; TECHNICAL SUBJECTS COVERED BY FORMER USPC CROSS-REFERENCE ART COLLECTIONS [XRACs] AND DIGESTS
- Y02—TECHNOLOGIES OR APPLICATIONS FOR MITIGATION OR ADAPTATION AGAINST CLIMATE CHANGE
- Y02T—CLIMATE CHANGE MITIGATION TECHNOLOGIES RELATED TO TRANSPORTATION
- Y02T50/00—Aeronautics or air transport
- Y02T50/40—Weight reduction
Landscapes
- Transmission Devices (AREA)
Abstract
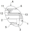
本实用新型公开了一种用于飞机平垂尾固定的夹持装置,包括稳定放置于地面上的基底座,所述基底座的上端中部固定安装有工作台,且所述基底座的上端中部套设轴承安装有驱动圆板;伺服电机,其固定于所述基底座的上端侧部,且伺服电机的上端输出端连接有辅助齿轮;还包括:齿环柱,其固定安装于所述驱动圆板的下端中部;滑杆,其滑动设置于工作台的内部;导齿轮,其轴承安装于所述工作台的内部。该用于飞机平垂尾固定的夹持装置,通过辅助齿轮和齿环柱之间的啮合作用带动驱动圆板转动后,滑杆再利用与驱动槽和导向槽之间的配合,快速带动夹持杆对产品进行固定,同时滑杆在移动过程中,可利用负压状态下的吸盘对产品进一步限定,增强固定牢固性。
The utility model discloses a clamping device for fixing a horizontal and vertical tail of an aircraft, which comprises a base base which is stably placed on the ground, a workbench is fixedly installed in the middle part of the upper end of the base base, and the middle part of the upper end of the base base is fixedly installed. A drive circular plate is installed on the sleeve bearing; a servo motor is fixed on the upper end side of the base base, and an auxiliary gear is connected to the upper output end of the servo motor; it also includes: a gear ring column, which is fixedly installed on the drive The middle part of the lower end of the circular plate; the sliding rod, which is slidably arranged inside the worktable; the guide gear, the bearing of which is installed inside the worktable. The clamping device used for fixing the horizontal and vertical tail of an aircraft is driven by the meshing action between the auxiliary gear and the gear ring column to drive the driving circular plate to rotate, and then the sliding rod uses the cooperation between the driving groove and the guide groove to quickly drive the clamping device. Hold the rod to fix the product, and during the movement of the sliding rod, the suction cup under negative pressure can be used to further limit the product to enhance the firmness of the fixation.
Description
Claims (6)
Priority Applications (1)
| Application Number | Priority Date | Filing Date | Title |
|---|---|---|---|
| CN202221417161.7U CN217371490U (en) | 2022-06-08 | 2022-06-08 | Clamping device for fixing horizontal and vertical tails of airplane |
Applications Claiming Priority (1)
| Application Number | Priority Date | Filing Date | Title |
|---|---|---|---|
| CN202221417161.7U CN217371490U (en) | 2022-06-08 | 2022-06-08 | Clamping device for fixing horizontal and vertical tails of airplane |
Publications (1)
| Publication Number | Publication Date |
|---|---|
| CN217371490U true CN217371490U (en) | 2022-09-06 |
Family
ID=83092178
Family Applications (1)
| Application Number | Title | Priority Date | Filing Date |
|---|---|---|---|
| CN202221417161.7U Active CN217371490U (en) | 2022-06-08 | 2022-06-08 | Clamping device for fixing horizontal and vertical tails of airplane |
Country Status (1)
| Country | Link |
|---|---|
| CN (1) | CN217371490U (en) |
Cited By (2)
| Publication number | Priority date | Publication date | Assignee | Title |
|---|---|---|---|---|
| CN118181038A (en) * | 2024-05-13 | 2024-06-14 | 中建五局第三建设有限公司 | Polishing device for heat-insulating material of plate-shaped building |
| CN118996315A (en) * | 2024-07-10 | 2024-11-22 | 江苏航天水力设备有限公司 | Abrasion-resistant thermal spraying device for maintaining water pump and water turbine |
-
2022
- 2022-06-08 CN CN202221417161.7U patent/CN217371490U/en active Active
Cited By (3)
| Publication number | Priority date | Publication date | Assignee | Title |
|---|---|---|---|---|
| CN118181038A (en) * | 2024-05-13 | 2024-06-14 | 中建五局第三建设有限公司 | Polishing device for heat-insulating material of plate-shaped building |
| CN118996315A (en) * | 2024-07-10 | 2024-11-22 | 江苏航天水力设备有限公司 | Abrasion-resistant thermal spraying device for maintaining water pump and water turbine |
| CN118996315B (en) * | 2024-07-10 | 2025-04-22 | 江苏航天水力设备有限公司 | Abrasion-resistant thermal spraying device for maintaining water pump and water turbine |
Similar Documents
| Publication | Publication Date | Title |
|---|---|---|
| CN217371490U (en) | Clamping device for fixing horizontal and vertical tails of airplane | |
| CN206677961U (en) | A kind of mechanical arm | |
| CN203003546U (en) | Two-degree freedom spatial position and orientation adjustable clamp device | |
| CN210306302U (en) | Silicon wafer laser cutting device | |
| CN220261383U (en) | Ceramic wine bottle trimming machine | |
| CN219725972U (en) | Computer case processing centre gripping frock | |
| CN110480666A (en) | A position-adjustable manipulator suction cup device | |
| CN114559503B (en) | Efficient collaborative cutting device for wooden dining chair and manufacturing method thereof | |
| CN216464175U (en) | Material clamping and replacing device | |
| CN213437725U (en) | Rotary head structure | |
| CN211867865U (en) | Floor type mechanical arm mounting and supporting base capable of preventing shaking | |
| CN222038825U (en) | A die-cutting mechanism for producing packaging blister trays | |
| CN223531218U (en) | Stator and rotor punching sheet processing punch press | |
| CN221019209U (en) | Gantry type three-dimensional robot seal head laser cutting workstation | |
| CN223130781U (en) | A corrugated paper cutting machine capable of preventing edge deformation | |
| CN221390671U (en) | Multi-angle adjusting mechanism for glass processing | |
| CN217345193U (en) | Positioning device for machining automobile hub | |
| CN216030346U (en) | Positioning device for bearing ring processing | |
| CN221602437U (en) | Adjustable cavity glass seals fixation clamp for gluey technology | |
| CN223277849U (en) | Stable clamp for producing building color steel plates | |
| CN223465923U (en) | Generator bracket fixture | |
| CN222553498U (en) | A surface treatment tool for motor rotor processing | |
| CN222945596U (en) | Industrial robot joint structure | |
| CN222673010U (en) | Packaging table for solar cell panel production and processing | |
| CN215248092U (en) | Adsorption transposition device |
Legal Events
| Date | Code | Title | Description |
|---|---|---|---|
| GR01 | Patent grant | ||
| GR01 | Patent grant | ||
| PE01 | Entry into force of the registration of the contract for pledge of patent right |
Denomination of utility model: A clamping device for fixing the plane's flat and vertical tail Effective date of registration: 20230728 Granted publication date: 20220906 Pledgee: Bank of Longjiang Limited by Share Ltd. Harbin Limin branch Pledgor: Harbin Qiangli Aviation Industry Co.,Ltd. Registration number: Y2023230000066 |
|
| PE01 | Entry into force of the registration of the contract for pledge of patent right | ||
| PC01 | Cancellation of the registration of the contract for pledge of patent right |
Granted publication date: 20220906 Pledgee: Bank of Longjiang Limited by Share Ltd. Harbin Limin branch Pledgor: Harbin Qiangli Aviation Industry Co.,Ltd. Registration number: Y2023230000066 |
|
| PC01 | Cancellation of the registration of the contract for pledge of patent right | ||
| PE01 | Entry into force of the registration of the contract for pledge of patent right |
Denomination of utility model: A clamping device for fixing the plane's flat and vertical tail Granted publication date: 20220906 Pledgee: Harbin Kechuang Financing Guarantee Co.,Ltd. Pledgor: Harbin Qiangli Aviation Industry Co.,Ltd. Registration number: Y2025980067633 |
