CN217343598U - Tool rest for automatic lathe - Google Patents
Tool rest for automatic lathe Download PDFInfo
- Publication number
- CN217343598U CN217343598U CN202123412237.5U CN202123412237U CN217343598U CN 217343598 U CN217343598 U CN 217343598U CN 202123412237 U CN202123412237 U CN 202123412237U CN 217343598 U CN217343598 U CN 217343598U
- Authority
- CN
- China
- Prior art keywords
- seat
- tool
- screw rod
- tool holder
- knife
- Prior art date
- Legal status (The legal status is an assumption and is not a legal conclusion. Google has not performed a legal analysis and makes no representation as to the accuracy of the status listed.)
- Expired - Fee Related
Links
- 238000009434 installation Methods 0.000 description 11
- 238000003754 machining Methods 0.000 description 6
- 238000000034 method Methods 0.000 description 5
- 238000006243 chemical reaction Methods 0.000 description 3
- 238000010586 diagram Methods 0.000 description 2
- 230000009286 beneficial effect Effects 0.000 description 1
- 230000007547 defect Effects 0.000 description 1
- 230000000694 effects Effects 0.000 description 1
- 238000005516 engineering process Methods 0.000 description 1
Images
Landscapes
- Automatic Tool Replacement In Machine Tools (AREA)
Abstract
本实用新型涉及车床技术领域,尤其涉及一种自动车床用刀架。其技术方案包括:刀座、移动座与底座,底座的顶部安装有限位滑块,限位滑块的内部安装有延伸出的螺旋杆,底座的顶部通过螺旋杆与丝套配合安装有移动座,移动座的顶部安装有转盘座,转盘座的顶部中心安装有螺杆,转盘座的顶部通过螺杆安装有刀座。本实用新型通过旋转螺旋杆与丝套配合可带动移动座进行移动,通过移动座可带动刀座进行水平往复移动,实现刀座水平位置的调节,增加了装置的水平位置调节的便利,使其不需要拆装装置进行调节,便于装置根据工件的规格进行调节刀座的水平位置,使得装置适用于不同规格的工件加工,扩大了装置的加工范围,提高了装置的实用性。
The utility model relates to the technical field of lathes, in particular to a tool holder for automatic lathes. Its technical scheme includes: a knife seat, a movable seat and a base, a limit slider is installed on the top of the base, an extended screw rod is installed inside the limit slider, and a movable seat is installed on the top of the base through the cooperation of the screw rod and the wire sleeve. , a turntable seat is installed on the top of the movable seat, a screw rod is installed on the top center of the turntable seat, and a knife seat is installed on the top of the turntable seat through the screw rod. The utility model can drive the movable seat to move through the cooperation of the rotating screw rod and the wire sleeve, and the movable seat can drive the knife seat to perform horizontal reciprocating movement, so as to realize the adjustment of the horizontal position of the knife seat, and increase the convenience of the adjustment of the horizontal position of the device, so that the There is no need to disassemble and assemble the device for adjustment, which is convenient for the device to adjust the horizontal position of the tool holder according to the specifications of the workpiece, making the device suitable for processing workpieces of different specifications, expanding the processing range of the device and improving the practicability of the device.
Description
技术领域technical field
本实用新型涉及车床技术领域,尤其涉及一种自动车床用刀架。The utility model relates to the technical field of lathes, in particular to a tool holder for automatic lathes.
背景技术Background technique
自动车床是一种高性能,高精度,低噪音的走刀式自动车床,是通过凸轮来控制加工程序的自动加工机床。另外也有一些数控自动车床与气动自动车床以及走心式自动车床,其基本核心是可以经过一定设置与调教后可以长时间自动加工同一种产品,在自动车床对工件进行加工时需要用到刀具对工件进行加工,而刀具在安装时需要通过刀架进行安装,为此提出一种自动车床用刀架。The automatic lathe is a high-performance, high-precision, low-noise tool-type automatic lathe. It is an automatic processing machine tool that controls the processing program through a cam. In addition, there are also some CNC automatic lathes, pneumatic automatic lathes and center-type automatic lathes. The basic core is that the same product can be automatically processed for a long time after certain settings and adjustments. When the automatic lathe is used to process the workpiece, a tool pair is required. The workpiece is processed, and the tool needs to be installed through the tool holder during installation. Therefore, a tool holder for automatic lathe is proposed.
经检索,专利公告号为CN214557463U公开一种车床用刀架,包括安装刀柄的刀架,所述的刀架顶板四周的中部均设置有调整装置,任意一个调整装置的两侧均设置有导向装置,同一垂直面上的调整装置及导向装置均与刀柄连接。After searching, the patent publication number CN214557463U discloses a tool holder for a lathe, including a tool holder for installing a tool handle, the middle part around the top plate of the tool holder is provided with adjustment devices, and both sides of any adjustment device are provided with guides The adjusting device and the guiding device on the same vertical plane are all connected with the tool handle.
现有的自动车床用刀架存在的缺陷是:The defects of the existing tool holders for automatic lathes are:
1、现有的自动车床用刀架不便于进行调节刀架与工件的水平,在需要调节刀架位置时,只能通过辅助工具进行拆装刀架进行调节,不仅增加了工作人员的调节难度,同时也降低了刀架与工件的水平调节效率,还降低了装置调节的便利性;1. The existing tool rest for automatic lathes is inconvenient to adjust the level of the tool rest and the workpiece. When the position of the tool rest needs to be adjusted, the tool rest can only be adjusted by disassembling and assembling the tool rest with auxiliary tools, which not only increases the adjustment difficulty of the staff At the same time, it also reduces the horizontal adjustment efficiency of the tool holder and the workpiece, and also reduces the convenience of device adjustment;
2、现有的自动车床用刀架不具有转换功能,不能根据工件的加工需要机械能转换不同刀具,导致装置在更换不同规格的刀具时,需要对刀具进行拆卸,降低了刀具更换效率,同时也无法调节刀具的角度,从而不能根据工件加工角度需要进行调节,降低了装置的实用性。2. The existing tool holder for automatic lathes does not have a conversion function, and cannot convert different tools according to the mechanical energy required for the processing of the workpiece. As a result, the device needs to disassemble the tools when replacing tools of different specifications, which reduces the efficiency of tool replacement. The angle of the tool cannot be adjusted, so that it cannot be adjusted according to the machining angle of the workpiece, which reduces the practicability of the device.
实用新型内容Utility model content
本实用新型的目的是针对背景技术中存在的问题,提出一种自动车床用刀架。The purpose of the utility model is to propose a tool holder for an automatic lathe aiming at the problems existing in the background technology.
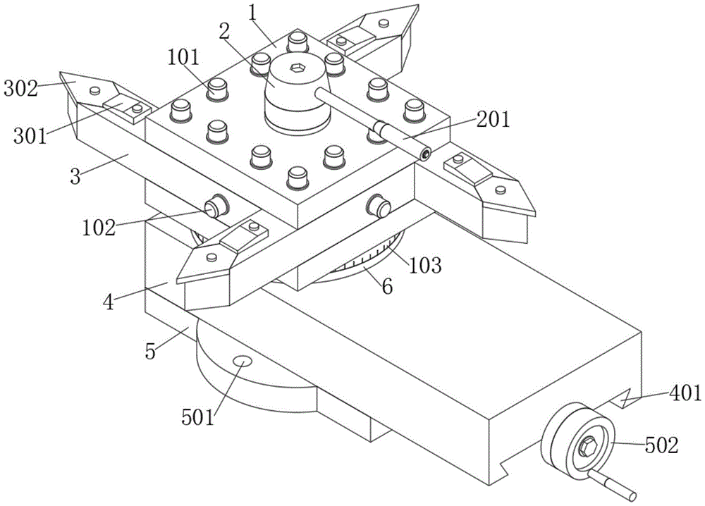
本实用新型的技术方案:一种自动车床用刀架,包括刀座、移动座与底座,所述底座的顶部安装有限位滑块,所述限位滑块的内部安装有延伸出的螺旋杆,所述底座的顶部通过螺旋杆与丝套配合安装有移动座,所述移动座的顶部安装有转盘座,所述转盘座的顶部中心安装有螺杆,所述转盘座的顶部通过螺杆安装有刀座,所述刀座的内部通过固定螺栓等距安装有两组刀臂,所述刀座的顶部通过螺杆安装有紧固螺座,且紧固螺座的一侧安装有把杆。The technical scheme of the utility model is as follows: a tool holder for an automatic lathe, comprising a tool seat, a movable seat and a base, a limit slider is installed on the top of the base, and an extended screw rod is installed inside the limit slider , a movable seat is installed on the top of the base through a screw rod and a wire sleeve, a turntable seat is installed on the top of the movable seat, a screw is installed in the center of the top of the turntable seat, and a screw is installed on the top of the turntable seat through the screw. The knife seat is provided with two sets of knife arms equidistantly installed inside the knife seat through fixing bolts, the top of the knife seat is installed with a tightening screw seat through a screw rod, and a handle is installed on one side of the tightening screw seat.
通过把杆反向旋转紧固螺座,使得紧固螺座与刀座顶部分离,从而可旋转刀座进行调节刀臂的角度,便于根据加工需要进行调节刀臂的角度,同时通过旋转刀座可进行转换刀臂位置,便于根据工件的加工需要机械能转换不同刀具,便于装置使用不同刀具对不同需要的工件进行加工,通过旋转螺旋杆与丝套配合可带动移动座进行移动,通过移动座可带动刀座进行水平往复移动,实现刀座水平位置的调节,便于装置根据工件的规格进行调节刀座的水平位置。By rotating the rod in the opposite direction, the tightening screw seat is separated from the top of the tool seat, so that the tool seat can be rotated to adjust the angle of the tool arm, which is convenient to adjust the angle of the tool arm according to the processing needs. At the same time, by rotating the tool seat The position of the tool arm can be changed, which is convenient for changing the mechanical energy of different tools according to the machining needs of the workpiece, and it is convenient for the device to use different tools to process workpieces with different needs. The tool seat is driven to move horizontally and reciprocally, so as to realize the adjustment of the horizontal position of the tool seat, which is convenient for the device to adjust the horizontal position of the tool seat according to the specifications of the workpiece.
优选的,所述刀座的侧面等距安装有侧螺栓,且刀座的底部安装有刻度盘。通过侧螺栓可对刀臂进行进一步固定,保证了刀臂安装的牢固性,通过刀座在旋转时可通过刻度盘进行观察旋转角度,便于精确调节刀座的旋转角度。Preferably, side bolts are equidistantly installed on the side of the blade holder, and a dial is installed at the bottom of the blade holder. The knife arm can be further fixed by the side bolts, which ensures the firmness of the knife arm installation. When the knife seat rotates, the rotation angle can be observed through the dial, which is convenient to accurately adjust the rotation angle of the knife seat.
优选的,所述刀臂的顶部一侧通过压座安装有刀具,且刀臂的内部设置有安装通孔。通过压座可便于拆装刀具,方便进行更换刀具,刀臂通过安装通孔可为固定螺栓与侧螺栓提供观察位置,便于刀臂进行安装。Preferably, a tool is installed on the top side of the knife arm through a pressing seat, and an installation through hole is provided inside the knife arm. Through the press seat, it is convenient to disassemble and assemble the tool, and it is convenient to replace the tool. The tool arm can provide an observation position for the fixing bolt and the side bolt through the installation through hole, which is convenient for the installation of the tool arm.
优选的,所述移动座的内部设置有滑槽,且滑槽的内部安装有丝套。滑槽可与限位滑块活动卡接,保证了移动座移动的稳定性,同时滑槽通过丝套与螺旋杆螺纹连接,便于螺旋杆旋转与丝套配合带动移动座进行移动。Preferably, a chute is provided inside the movable seat, and a wire sleeve is installed inside the chute. The chute can be movably clamped with the limit slider to ensure the stability of the movement of the movable seat. At the same time, the chute is threadedly connected to the screw rod through a wire sleeve, which is convenient for the rotation of the screw rod and the cooperation of the wire sleeve to drive the movable seat to move.
优选的,所述底座的两侧设置有安装孔,且螺旋杆的一端安装有旋转盘。底座通过安装孔与螺栓配合可进行固定安装,保证了底座安装的牢固性。Preferably, two sides of the base are provided with mounting holes, and one end of the screw rod is mounted with a rotating disk. The base can be fixedly installed through the matching of the mounting holes and the bolts, which ensures the firmness of the base installation.
优选的,所述转盘座的内部设置有限位槽,且转盘座的正面设置有指示标。限位槽可与刻度盘底部的滑轨连接,保证了刀座安装的稳固性,通过指示标可便于观察刻度盘的指示位置,方便工作人员读取数据。Preferably, the interior of the turntable seat is provided with a limiting groove, and the front surface of the turntable seat is provided with an indicator. The limit groove can be connected with the slide rail at the bottom of the dial to ensure the stability of the tool holder installation. The indicator can be used to observe the indicated position of the dial, and it is convenient for the staff to read the data.
与现有技术相比,本实用新型具有如下有益的技术效果:Compared with the prior art, the utility model has the following beneficial technical effects:
1、通过旋转螺旋杆与丝套配合可带动移动座进行移动,通过移动座可带动刀座进行水平往复移动,实现刀座水平位置的调节,增加了装置的水平位置调节的便利,使其不需要拆装装置进行调节,便于装置根据工件的规格进行调节刀座的水平位置,使得装置适用于不同规格的工件加工,扩大了装置的加工范围,提高了装置的实用性;1. The movable seat can be driven to move by rotating the screw rod and the wire sleeve, and the knife seat can be driven to move horizontally and reciprocally through the movable seat, so as to realize the adjustment of the horizontal position of the knife seat, which increases the convenience of adjusting the horizontal position of the device, so that it does not need to be adjusted. It is necessary to disassemble and assemble the device for adjustment, which is convenient for the device to adjust the horizontal position of the tool holder according to the specifications of the workpiece, so that the device is suitable for the processing of workpieces of different specifications, which expands the processing range of the device and improves the practicability of the device;
2、通过把杆反向旋转紧固螺座,使得紧固螺座与刀座顶部分离,从而可旋转刀座进行调节刀臂的角度,便于根据加工需要进行调节刀臂的角度,从而可实现对工件加工角度的调节,同时通过旋转刀座可进行转换刀臂位置,便于根据工件的加工需要机械能转换不同刀具,便于装置使用不同刀具对不同需要的工件进行加工,增加了装置刀具可转换功能,不需要工作人员拆装刀具,提升了刀具转换效率,从而提高了工件加工效率。2. By rotating the tightening screw seat in the opposite direction, the tightening screw base is separated from the top of the tool seat, so that the tool seat can be rotated to adjust the angle of the tool arm, which is convenient to adjust the angle of the tool arm according to the processing needs, so as to realize Adjust the machining angle of the workpiece, and at the same time, the position of the tool arm can be changed by rotating the tool holder, which is convenient for converting different tools according to the machining needs of the workpiece. It is convenient for the device to use different tools to process workpieces with different needs. , it does not require staff to disassemble and assemble the tool, which improves the tool conversion efficiency, thereby improving the workpiece processing efficiency.
附图说明Description of drawings
图1为本实用新型的立体图;Fig. 1 is the perspective view of the utility model;
图2为本实用新型的分解结构示意图;Fig. 2 is the exploded structure schematic diagram of the utility model;
图3为本实用新型的正视结构示意图;Fig. 3 is the front view structure schematic diagram of the utility model;
图4为本实用新型的俯视结构示意图。FIG. 4 is a schematic top view of the structure of the present invention.
附图标记:1、刀座;101、固定螺栓;102、侧螺栓;103、刻度盘;2、紧固螺座;201、把杆;3、刀臂;301、压座;302、刀具;4、移动座;401、滑槽;5、底座;501、安装孔;502、旋转盘;503、限位滑块;504、螺旋杆;6、转盘座;601、螺杆;602、限位槽。Reference numerals: 1, knife seat; 101, fixing bolt; 102, side bolt; 103, dial; 2, fastening screw seat; 201, handle bar; 3, knife arm; 301, pressing seat; 302, cutter; 4. Mobile seat; 401, chute; 5, base; 501, mounting hole; 502, rotary plate; 503, limit slider; 504, screw rod; 6, turntable seat; 601, screw rod; 602, limit groove .
具体实施方式Detailed ways
下文结合附图和具体实施例对本实用新型的技术方案做进一步说明。The technical solutions of the present invention will be further described below with reference to the accompanying drawings and specific embodiments.
实施例一Example 1
如图1-4所示,本实用新型提出的一种自动车床用刀架,包括刀座1、移动座4与底座5,底座5的顶部安装有限位滑块503,限位滑块503的内部安装有延伸出的螺旋杆504,底座5的顶部通过螺旋杆504与丝套配合安装有移动座4,移动座4的顶部安装有转盘座6,转盘座6的顶部中心安装有螺杆601,转盘座6的顶部通过螺杆601安装有刀座1,刀座1的内部通过固定螺栓101等距安装有两组刀臂3,刀座1的顶部通过螺杆601安装有紧固螺座2,且紧固螺座2的一侧安装有把杆201。As shown in Figures 1-4, a tool holder for an automatic lathe proposed by the present utility model includes a
基于实施例一的自动车床用刀架工作原理是:通过把杆201反向旋转紧固螺座2,使得紧固螺座2与刀座1顶部分离,从而可旋转刀座1进行调节刀臂3的角度,便于根据加工需要进行调节刀臂3的角度,从而可实现对工件加工角度的调节,同时通过旋转刀座1可进行转换刀臂3位置,便于根据工件的加工需要机械能转换不同刀具302,便于装置使用不同刀具302对不同需要的工件进行加工,增加了装置刀具302可转换功能,不需要工作人员拆装刀具302,提升了刀具302转换效率,从而提高了工件加工效率,在刀座1位置确定后,通过把杆201正向旋转紧固螺座2,使得紧固螺座2与螺杆601配合对刀座1顶部紧进行抵触夹紧,从而保证了刀座1安装的牢固性,再通过旋转螺旋杆504与丝套配合可带动移动座4进行移动,移动座4通过滑槽401与限位滑块503配合进行水平移动,且通过移动座4可带动刀座1进行水平往复移动,实现刀座1水平位置的调节,增加了装置的水平位置调节的便利,使其不需要拆装装置进行调节,便于装置根据工件的规格进行调节刀座1的水平位置,使得装置适用于不同规格的工件加工,扩大了装置的加工范围,提高了装置的实用性。The working principle of the tool holder for an automatic lathe based on the first embodiment is: by rotating the
实施例二
如图2、图3或图4所示,本实用新型提出的一种自动车床用刀架,相较于实施例一,本实施例还包括:刀座1的侧面等距安装有侧螺栓102,且刀座1的底部安装有刻度盘103,刀臂3的顶部一侧通过压座301安装有刀具302,且刀臂3的内部设置有安装通孔,移动座4的内部设置有滑槽401,且滑槽401的内部安装有丝套,底座5的两侧设置有安装孔501,且螺旋杆504的一端安装有旋转盘502,转盘座6的内部设置有限位槽602,且转盘座6的正面设置有指示标。As shown in FIG. 2 , FIG. 3 or FIG. 4 , a tool holder for an automatic lathe proposed by the present invention, compared with the first embodiment, this embodiment further includes: the side of the
本实施例中,通过侧螺栓102可对刀臂3进行进一步固定,保证了刀臂3安装的牢固性,通过刀座1在旋转时可通过刻度盘103进行观察旋转角度,便于精确调节刀座1的旋转角度,通过压座301可便于拆装刀具302,方便进行更换刀具302,刀臂3通过安装通孔可为固定螺栓101与侧螺栓102提供观察位置,便于刀臂3进行安装,滑槽401可与限位滑块503活动卡接,保证了移动座4移动的稳定性,同时滑槽401通过丝套与螺旋杆504螺纹连接,便于螺旋杆504旋转与丝套配合带动移动座4进行移动,底座5通过安装孔501与螺栓配合可进行固定安装,保证了底座5安装的牢固性,限位槽602可与刻度盘103底部的滑轨连接,保证了刀座1安装的稳固性,通过指示标可便于观察刻度盘103的指示位置,方便工作人员读取数据。In this embodiment, the
上述具体实施例仅仅是本实用新型的几种优选的实施例,基于本实用新型的技术方案和上述实施例的相关启示,本领域技术人员可以对上述具体实施例做出多种替代性的改进和组合。The above-mentioned specific embodiments are only several preferred embodiments of the present invention. Based on the technical solutions of the present invention and the relevant enlightenment of the above-mentioned embodiments, those skilled in the art can make various alternative improvements to the above-mentioned specific embodiments. and combination.
Claims (6)
Priority Applications (1)
| Application Number | Priority Date | Filing Date | Title |
|---|---|---|---|
| CN202123412237.5U CN217343598U (en) | 2021-12-31 | 2021-12-31 | Tool rest for automatic lathe |
Applications Claiming Priority (1)
| Application Number | Priority Date | Filing Date | Title |
|---|---|---|---|
| CN202123412237.5U CN217343598U (en) | 2021-12-31 | 2021-12-31 | Tool rest for automatic lathe |
Publications (1)
| Publication Number | Publication Date |
|---|---|
| CN217343598U true CN217343598U (en) | 2022-09-02 |
Family
ID=83042028
Family Applications (1)
| Application Number | Title | Priority Date | Filing Date |
|---|---|---|---|
| CN202123412237.5U Expired - Fee Related CN217343598U (en) | 2021-12-31 | 2021-12-31 | Tool rest for automatic lathe |
Country Status (1)
| Country | Link |
|---|---|
| CN (1) | CN217343598U (en) |
Cited By (3)
| Publication number | Priority date | Publication date | Assignee | Title |
|---|---|---|---|---|
| CN116276079A (en) * | 2023-01-05 | 2023-06-23 | 中山市镁滕机械设备有限公司 | A lathe device for processing golf screws |
| CN116619067A (en) * | 2023-05-12 | 2023-08-22 | 无锡德刚精工机电设备有限公司 | A cutting tool integrated tooling |
| CN117161423A (en) * | 2023-09-19 | 2023-12-05 | 中国核动力研究设计院 | Automatic tool changing device for cutting annular weld joint of spent fuel sealed storage tank |
-
2021
- 2021-12-31 CN CN202123412237.5U patent/CN217343598U/en not_active Expired - Fee Related
Cited By (3)
| Publication number | Priority date | Publication date | Assignee | Title |
|---|---|---|---|---|
| CN116276079A (en) * | 2023-01-05 | 2023-06-23 | 中山市镁滕机械设备有限公司 | A lathe device for processing golf screws |
| CN116619067A (en) * | 2023-05-12 | 2023-08-22 | 无锡德刚精工机电设备有限公司 | A cutting tool integrated tooling |
| CN117161423A (en) * | 2023-09-19 | 2023-12-05 | 中国核动力研究设计院 | Automatic tool changing device for cutting annular weld joint of spent fuel sealed storage tank |
Similar Documents
| Publication | Publication Date | Title |
|---|---|---|
| CN217343598U (en) | Tool rest for automatic lathe | |
| CN214263984U (en) | Bench drill for marking metal shell | |
| CN116851816B (en) | High-speed milling machine tool for high-precision aero-engine blade | |
| CN109304629B (en) | Cutter mounting device for numerical control machining | |
| CN219152106U (en) | Novel turning and grinding dual-purpose combined machine tool | |
| CN106541457B (en) | A bead lathe | |
| CN206263636U (en) | A kind of numerical control machine tool changer connecting shaft plane milling clamper | |
| CN214418179U (en) | Angle-adjustable cutter for machining of numerical control machine tool | |
| CN214350870U (en) | Turnover workbench | |
| CN204486890U (en) | Ordinary gantry planer inner arc shaping device | |
| CN219562262U (en) | Precise part milling machine machining clamping device | |
| CN222493252U (en) | Automatic feeding flip-chip lathe | |
| CN221246972U (en) | Adjustable turning tool | |
| CN218225641U (en) | Automatic bar processing equipment | |
| CN214321887U (en) | Boring mechanism | |
| CN215967800U (en) | Grinding device of milling cutter grinding machine | |
| CN219170178U (en) | Auxiliary leveling platform of milling machine | |
| CN222493244U (en) | Clamp for automatic milling machine | |
| CN214923456U (en) | Take adjustable stroke control mechanism's lapping machine | |
| CN219255111U (en) | High-precision automatic machine tool device | |
| CN220296446U (en) | Multifunctional pliers for medium-speed wire feeding | |
| CN214559186U (en) | Valve rod finish milling device | |
| CN216421652U (en) | Numerical control machine table | |
| CN222711473U (en) | Tool device for machining cylinder holes of mud pumps | |
| CN221247756U (en) | A stable mounted CNC tool |
Legal Events
| Date | Code | Title | Description |
|---|---|---|---|
| GR01 | Patent grant | ||
| GR01 | Patent grant | ||
| CF01 | Termination of patent right due to non-payment of annual fee |
Granted publication date: 20220902 |
|
| CF01 | Termination of patent right due to non-payment of annual fee |
