CN217339279U - Multifunctional massager - Google Patents

Multifunctional massager Download PDF

Info

Publication number
CN217339279U
CN217339279U CN202221070652.9U CN202221070652U CN217339279U CN 217339279 U CN217339279 U CN 217339279U CN 202221070652 U CN202221070652 U CN 202221070652U CN 217339279 U CN217339279 U CN 217339279U
Authority
CN
China
Prior art keywords
transmission shaft
eccentric
massager
pressing arm
jade
Prior art date
Legal status (The legal status is an assumption and is not a legal conclusion. Google has not performed a legal analysis and makes no representation as to the accuracy of the status listed.)
Active
Application number
CN202221070652.9U
Other languages
Chinese (zh)
Inventor
钟云清
陈文锦
Current Assignee (The listed assignees may be inaccurate. Google has not performed a legal analysis and makes no representation or warranty as to the accuracy of the list.)
Dalian Huakang Elderly Care Service Co ltd
Original Assignee
Wei Jia Hua Fujian Electronics Co ltd
Priority date (The priority date is an assumption and is not a legal conclusion. Google has not performed a legal analysis and makes no representation as to the accuracy of the date listed.)
Filing date
Publication date
Application filed by Wei Jia Hua Fujian Electronics Co ltd filed Critical Wei Jia Hua Fujian Electronics Co ltd
Priority to CN202221070652.9U priority Critical patent/CN217339279U/en
Application granted granted Critical
Publication of CN217339279U publication Critical patent/CN217339279U/en
Active legal-status Critical Current
Anticipated expiration legal-status Critical

Links

Images

Landscapes

  • Massaging Devices (AREA)

Abstract

本实用新型公开了一种多功能按摩器,包括:上外壳、下外壳、靠背支架总成、按摩器主体、玉石盒,所述按摩器主体还包括传动轴一,传动轴一两端固定安装有偏心轮,偏心轮上套设背部按压杆,背部按压杆开设有转动槽孔,背部按压杆底部转动连接有限位插杆二,背部按压杆上端设有按压头;偏心轮驱动连接偏心夹捏斜轮,偏心夹捏斜轮上套有按压臂,按压臂上端安装有横按摩头和竖按摩头,按压臂下端设有限位插杆一,偏心夹捏斜轮侧表面采用斜面设计;玉石盒包含玉石片和玉石盒盖,玉石盒底部设有加热片。本实用新型结构件更少,同时对颈部、肩部和背部进行按摩,功能更多,通过靠背支架总成设置在不同按摩设备或者支撑设备上进行按摩,适用性更广。

Figure 202221070652

The utility model discloses a multifunctional massager, comprising: an upper casing, a lower casing, a backrest support assembly, a massager main body, and a jade box. The massager main body further comprises a transmission shaft, and both ends of the transmission shaft are fixedly installed There is an eccentric wheel, the back pressing rod is sleeved on the eccentric wheel, the back pressing rod is provided with a rotating slot, the bottom of the back pressing rod is rotated and connected to the second limit insert rod, and the upper end of the back pressing rod is provided with a pressing head; the eccentric wheel is driven to connect the eccentric pinch Inclined wheel, eccentric clamping inclined wheel is covered with pressing arm, the upper end of the pressing arm is installed with horizontal massage head and vertical massage head, the lower end of the pressing arm is provided with a limit insert rod, the side surface of the eccentric clamping bevel wheel is designed with inclined surface; jade box Contains jade pieces and jade box cover, and the bottom of the jade box is provided with a heating plate. The utility model has fewer structural parts, massages the neck, shoulders and back at the same time, and has more functions.

Figure 202221070652

Description

Multifunctional massager
Technical Field
The utility model relates to the technical field of massagers, in particular to a multifunctional massager.
Background
Chinese patent discloses CN105326630A a kneading massager, which can complete finger pressing and kneading 3D actions by the same motor, and has small volume and low production cost. However, the back pressing rod is connected with the pressing rod through the metal connecting rod, the pinching arm is spliced with the swinging arm through the two-part structure, the cost is high, the back pressing rod cannot be used in combination with other massage equipment, and the application ductility is poor.
Therefore, we propose a multi-functional massager in order to solve the problems set forth above.
SUMMERY OF THE UTILITY MODEL
An object of the utility model is to provide a multifunctional massager to solve the problem that proposes among the above-mentioned background art.
In order to achieve the above object, the utility model provides a following technical scheme: a multi-functional massager, comprising: the massage machine comprises an upper shell, a lower shell, a backrest support assembly, a massager main body and a jade box, wherein the backrest support assembly is installed below the lower shell, the jade box is installed on the upper shell, the massager main body is installed in the upper shell and the lower shell, and a first guide sliding groove and a second guide sliding groove are formed in the lower shell;
the massager main body further comprises a first transmission shaft, eccentric wheels are fixedly mounted at two ends of the first transmission shaft, a back pressing rod is sleeved on the eccentric wheel and provided with a rotating slotted hole, the inner wall of the rotating slotted hole is rotationally attached to the eccentric wheel, the rotating slotted hole is in an oval shape, a second limiting insertion rod is rotationally connected to the bottom of the back pressing rod, the second limiting insertion rod abuts against a second guide sliding groove when rotating, the first transmission shaft drives the eccentric wheel to rotate, the outermost end of the eccentric wheel abuts against the inner wall of the rotating slotted hole, meanwhile, the second limiting insertion rod limits axial action, the back pressing rod performs reciprocating arc motion, and a pressing head is arranged at the upper end of the back pressing rod;
the transmission shaft I is simultaneously in driving connection with an eccentric pinching inclined wheel, a pressing arm is sleeved on the eccentric pinching inclined wheel, a transverse massage head and a vertical massage head are mounted at the upper end of the pressing arm, the transverse massage head is rotationally connected with the pressing arm, the lower end of the pressing arm is rotationally connected with the eccentric pinching inclined wheel, a first limiting insertion rod is arranged at the lower end of the pressing arm and is in sliding connection with a first guide chute, the side surface of the eccentric pinching inclined wheel adopts an inclined plane design, the wide part and the narrow part of the inclined plane are in reciprocating extrusion on the pressing arm in the rotating process, meanwhile, the first limiting insertion rod is limited, the pressing arm swings left and right, and under the eccentric rotating action of an eccentric wheel, the pressing arm swings left and right in the horizontal direction and generates elliptical arc motion on the vertical surface at the same time of the horizontal direction, and elliptical reciprocating kneading tracks in the horizontal and vertical directions are formed;
the jade box comprises a jade sheet and a jade box cover, and a heating sheet is arranged at the bottom of the jade box for hot compress on the neck.
Preferably, be equipped with fixed slot, motor groove, gearbox in the shell down, the gearbox both sides are equipped with the fixed slot, and the massager main part includes the motor, and this motor is equipped with drive screw, and the motor is installed in the motor inslot, and motor groove top is equipped with the motor lid.
Preferably, the massager body further comprises a second transmission shaft, two ends of the second transmission shaft are rotatably connected with a first bearing, the first bearing is fixedly installed on the gearbox, the second transmission shaft is rotatably connected with the gearbox, a first gear and a second gear are fixedly installed on the second transmission shaft, and the second gear is meshed with a driving screw of the motor.
Preferably, a third gear is mounted on the first transmission shaft and meshed with the first gear, a second bearing is symmetrically arranged on the first transmission shaft and rotatably connected with the first transmission shaft, the second bearing is embedded in the fixed groove, a gearbox cover is arranged above the gearbox, and the second bearing is tightly pressed in the fixed groove by the gearbox cover.
Preferably, the lower end of the pressing arm is provided with a first limiting insertion rod, and the first limiting insertion rod is in sliding connection with the first guide sliding groove.
Preferably, the surface of the lower shell is provided with a mounting hole, the lower shell is fixedly connected with the backrest support assembly through a bolt and the mounting hole, the backrest support assembly is hinged by two parts, the hinged part can rotate, and the backrest support assembly is fixedly connected with external equipment, so that the massager main body can be mounted with a plurality of types of massage equipment.
Compared with the prior art, the beneficial effects of the utility model are that:
1. the lower shell is fixed on the massage equipment through the backrest support assembly, so that the application range is wider, and the lower shell is more convenient to combine with other equipment;
2. during the rotation of the first transmission shaft, the outermost end of the eccentric wheel abuts against the inner wall of the rotating slotted hole, meanwhile, under the action of the limit insert rod II, the back pressing rod makes reciprocating arc motion, the eccentric wheel drives the eccentric pinching inclined wheel to rotate during the rotation, the pressing arm is repeatedly extruded left and right during the rotation of the eccentric pinching inclined wheel, and meanwhile, the limit of the limit insert rod I enables the pressing arm to swing left and right;
3. the jade box comprises a jade sheet and a jade box cover, and a heating sheet is arranged at the bottom of the jade box and has the function of hot compress physiotherapy on the neck.
Drawings
Fig. 1 is a schematic structural view of the present invention;
FIG. 2 is a schematic structural view of the main body and the lower housing of the massage device of the present invention;
fig. 3 is an enlarged view of the point a of fig. 2 in the present invention.
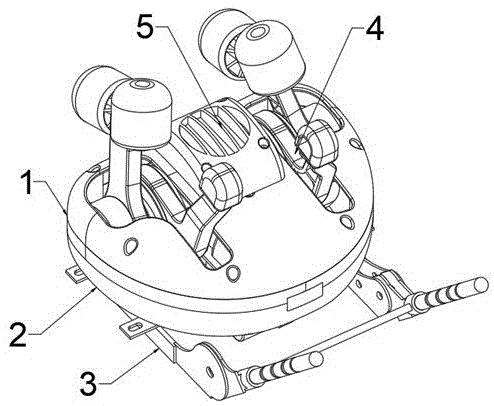
In the figure: 1. an upper housing; 2. a lower housing; 3. a back support assembly; 4. a massager body; 5. a jade box; 6. a motor; 7. pressing the arm; 8. a first limiting inserted rod; 9. a transverse massage head; 10. a vertical massage head; 11. an eccentric pinching bevel wheel; 12. a second limiting inserted rod; 13. an eccentric wheel; 14. a first guide chute; 15. fixing grooves; 16. a motor slot; 23. a first transmission shaft; 24. a second transmission shaft; 25. a first bearing; 26. a second bearing; 27. a first gear; 28. a second gear; 29. a third gear; 30. a photosensitive sensor; 31. a photosensitive grid wheel; 32. a photosensitive circuit board; 33. a transmission case cover; 34. a jade box cover; 35. jade pieces; 36. a second guide chute; 37. a back pressing rod; 38. a motor box cover.
Detailed Description
The technical solutions in the embodiments of the present invention will be described clearly and completely with reference to the accompanying drawings in the embodiments of the present invention, and it is obvious that the described embodiments are only some embodiments of the present invention, not all embodiments. Based on the embodiments in the present invention, all other embodiments obtained by a person skilled in the art without creative efforts all belong to the protection scope of the present invention.
Referring to fig. 1-3, the present invention provides a technical solution: a multi-functional massager, comprising: the massage device comprises an upper shell 1, a lower shell 2, a backrest support assembly 3, a massager main body 4 and a jade box 5, wherein the upper shell 1 and the lower shell 2 are fixedly installed through bolts, the backrest support assembly 3 is installed below the lower shell 2, the jade box 5 is installed on the upper shell 1, and the massager main body 4 is installed in the upper shell 1 and the lower shell 2;
a first guide sliding groove 14, a fixed groove 15, a second guide sliding groove 36, a motor groove 16 and a gearbox are arranged in the lower shell 2, the fixed grooves 15 are arranged on two sides of the gearbox, the first guide sliding grooves 14 are symmetrically arranged on the left inner wall and the right inner wall of the lower shell 2, and the second guide sliding groove 36 is arranged on one side, close to the front side, of the first guide sliding groove 14;
the massager body 4 comprises a motor 6, the motor 6 is provided with a driving screw, the motor 6 is arranged in a motor groove 16, and a motor box cover 38 is arranged above the motor groove 16;
the massager body 4 further comprises a second transmission shaft 24, two ends of the second transmission shaft 24 are rotatably connected with a first bearing 25, the first bearing 25 is fixedly installed on a gearbox, the second transmission shaft 24 is rotatably connected with the gearbox, a first gear 27 and a second gear 28 are fixedly installed on the second transmission shaft 24, and the second gear 28 is meshed with a driving screw of the motor 6;
the massager body 4 further comprises a first transmission shaft 23, a third gear 29 is mounted on the first transmission shaft 23, the third gear 29 is meshed with the first gear 27, a second bearing 26 is symmetrically arranged on the first transmission shaft 23, the second bearing 26 is rotatably connected with the first transmission shaft 23, the second bearing 26 is embedded in the fixing groove 15, a gearbox cover 33 is arranged above the gearbox, and the second bearing 26 is tightly pressed in the fixing groove 15 by the gearbox cover 33 to realize the rotary connection of the first transmission shaft 23 and the gearbox;
a photosensitive grid wheel 31 is sleeved on one side of the first transmission shaft 23, a photosensitive sensor 30 is arranged on one side of the photosensitive grid wheel 31, the photosensitive sensor 30 is fixedly installed in the gearbox, and the photosensitive sensor 30 is electrically connected with a photosensitive circuit board 32;
the two ends of a first transmission shaft 23 are fixedly provided with eccentric wheels 13, a back pressing rod 37 is sleeved on the eccentric wheels 13, a rotating slotted hole is formed in the back pressing rod 37, the inner wall of the rotating slotted hole is rotationally attached to the eccentric wheels 13, the rotating slotted hole is in an oval design, the bottom of the back pressing rod 37 is rotationally connected with a second limiting insertion rod 12, the second limiting insertion rod 12 abuts against a second guide sliding groove 36 when rotating, the first transmission shaft 23 drives the eccentric wheels 13 to rotate, the outermost end of the eccentric wheels 13 abuts against the inner wall of the rotating slotted hole, meanwhile, the second limiting insertion rod 12 limits axial action, the back pressing rod 37 performs reciprocating arc motion, and a pressing head is arranged at the upper end of the back pressing rod 37, so that reciprocating arc massage on a human body is realized;
the transmission shaft I23 is in driving connection with the eccentric pinching inclined wheel 11, the eccentric pinching inclined wheel 11 is sleeved with the pressing arm 7, the upper end of the pressing arm 7 is provided with a transverse massage head 9 and a vertical massage head 10, the transverse massage head 9 is in rotating connection with the pressing arm 7, the lower end of the pressing arm 7 is in rotating connection with the eccentric pinching inclined wheel 11, the lower end of the pressing arm 7 is provided with a first limiting insertion rod 8, the first limiting insertion rod 8 is in sliding connection with a first guide sliding chute 14, the side surface of the eccentric pinching inclined wheel 11 is designed to be an inclined surface, a wide part and a narrow part of the inclined surface are in reciprocating extrusion on the pressing arm 7 in the rotating process, meanwhile, the first limiting insertion rod 8 is limited, the function of left-right swinging of the pressing arm 7 is achieved, meanwhile, due to the eccentric rotating effect of the eccentric wheel 13, the pressing arm 7 is enabled to swing left-right and move back in an arc manner at the same time, an oval reciprocating massage and kneading track in the horizontal direction is formed, and the effect on a human body is increased; jade box 5 contains jade piece 35 and jade lid 34, and 5 bottoms of jade box are equipped with the heating plate, realize the health care physiotherapy function to human hot compress through heating the jade.
The working principle is as follows: the lower shell 2 is fixed on the massage equipment through the backrest support assembly 3, the massager body 4 is fixed through the upper shell 1, the motor 6 is started, the screw rod drives the second gear 28 to rotate, and the first transmission shaft 23 is driven to rotate sequentially through the second transmission shaft 24, the first gear 27 and the third gear 29;
the first transmission shaft 23 drives the eccentric wheel 13 to rotate in the rotating process, and the back pressing rod 37 repeatedly swings in an arc shape from front to back in the rotating process of the eccentric wheel 13, so that the back of the human body is massaged in a reciprocating manner;
the eccentric wheel 13 drives the eccentric pinching inclined wheel 11 to rotate in the rotating process, the eccentric pinching inclined wheel 11 repeatedly extrudes the pressing arm 7 from side to side in the rotating process, and meanwhile, the pressing arm 7 swings from side to side and moves back and forth in an arc manner at the same time under the eccentric rotating effect of the eccentric wheel 13, an oval reciprocating kneading track in the horizontal direction is formed, the massaging effect on a human body is increased, the neck and the shoulder are respectively massaged through the transverse massaging heads 9 and the vertical massaging heads 10, and the health care and physical therapy function of hot compress on the human body is realized through heating jade;
the structure is exquisite, massages neck, shoulder and back simultaneously, can directly set up through being connected with back support assembly and massage on different massage equipment or support device simultaneously, and the suitability is wider.
Those not described in detail in this specification are within the skill of the art.
Although embodiments of the present invention have been shown and described, it will be appreciated by those skilled in the art that changes, modifications, substitutions and alterations can be made in these embodiments without departing from the principles and spirit of the invention, the scope of which is defined in the appended claims and their equivalents.

Claims (5)

1.一种多功能按摩器,其特征在于:上外壳、下外壳、靠背支架总成、按摩器主体、玉石盒,所述下外壳下方安装靠背支架总成,上外壳上安装有玉石盒,上外壳、下外壳内安装按摩器主体,下外壳内设有导向滑槽一、导向滑槽二;1. a multifunctional massager, it is characterized in that: upper shell, lower shell, backrest support assembly, massager main body, jade box, the backrest support assembly is installed under the lower shell, and the jade box is installed on the upper shell, The massager main body is installed in the upper shell and the lower shell, and the lower shell is provided with a guide chute 1 and a guide chute 2; 所述按摩器主体还包括传动轴一,传动轴一两端固定安装有偏心轮,偏心轮上套设背部按压杆,背部按压杆开设有转动槽孔,转动槽孔内壁与偏心轮转动贴合,转动槽孔椭圆形设计,背部按压杆底部转动连接有限位插杆二,限位插杆二转动时与导向滑槽二相抵,传动轴一带动偏心轮转动过程中,偏心轮最外端抵住转动槽孔内壁,同时限位插杆二限定轴向作用下,背部按压杆做往复弧线运动,背部按压杆上端设有按压头;The massager body also includes a first transmission shaft, an eccentric wheel is fixedly installed at both ends of the first transmission shaft, a back pressing rod is sleeved on the eccentric wheel, and the back pressing rod is provided with a rotation slot, and the inner wall of the rotation slot is rotated and fitted with the eccentric wheel. , The oval design of the rotating slot hole, the bottom of the back pressing rod is rotatably connected to the limit insertion rod 2, the limit insertion rod 2 is in contact with the guide chute 2 when it rotates, and the transmission shaft 1 drives the eccentric wheel during the rotation process, the outermost end of the eccentric wheel touches Hold the inner wall of the rotating slot, and at the same time, under the axial action of the second limiting rod, the back pressing rod moves in a reciprocating arc, and the upper end of the back pressing rod is provided with a pressing head; 传动轴一同时驱动连接偏心夹捏斜轮,偏心夹捏斜轮上套有按压臂,按压臂上端安装有横按摩头和竖按摩头,其中横按摩头与按压臂转动连接,按压臂下端与偏心夹捏斜轮转动连接,按压臂下端设有限位插杆一,限位插杆一与导向滑槽一滑动连接,偏心夹捏斜轮侧表面采用斜面设计,在转动过程中斜面的宽部和窄部往复挤压按压臂,同时限位插杆一的限位,按压臂左右摆动,偏心轮的偏心转动作用下,按压臂左右摆动的同时前后弧线运动,形成水平方向上的椭圆形的往复揉捏轨迹;At the same time, the transmission shaft drives and connects the eccentric clamping bevel wheel, the eccentric clamping bevel wheel is covered with a pressing arm, and the upper end of the pressing arm is provided with a horizontal massage head and a vertical massage head, wherein the horizontal massage head is rotatably connected with the pressing arm, and the lower end of the pressing arm is connected with the pressing arm. The eccentric clamping bevel wheel is connected in rotation, the lower end of the pressing arm is provided with a limit plunger, and the limit plunger 1 is slidably connected with the guide chute. Reciprocatingly squeeze the pressing arm with the narrow part, and at the same time limit the position of the insertion rod 1, the pressing arm swings left and right, and under the action of the eccentric rotation of the eccentric wheel, the pressing arm swings left and right while moving in an arc forward and backward, forming an ellipse in the horizontal direction. The reciprocating kneading trajectory; 玉石盒包含玉石片和玉石盒盖,玉石盒底部设有加热片。The jade box contains jade pieces and a jade box cover, and a heating plate is arranged at the bottom of the jade box. 2.根据权利要求1所述的一种多功能按摩器,其特征在于,所述下外壳内设有固定槽、电机槽、变速箱,变速箱两侧设有固定槽,按摩器主体包括电机,该电机设有驱动螺杆,且电机安装于电机槽内,电机槽上方设有电机盒盖。2. A multifunctional massager according to claim 1, characterized in that, a fixing slot, a motor slot and a gearbox are arranged in the lower casing, a fixing slot is arranged on both sides of the gearbox, and the massager main body comprises a motor , The motor is provided with a driving screw, the motor is installed in the motor slot, and a motor box cover is arranged above the motor slot. 3.根据权利要求1所述的一种多功能按摩器,其特征在于,所述按摩器主体还包括传动轴二,传动轴二两端转动连接有轴承一,轴承一与变速箱固定安装,实现传动轴二与变速箱转动连接,传动轴二上固定安装有齿轮一和齿轮二,其中齿轮二与电机的驱动螺杆啮合。3. The multifunctional massager according to claim 1, wherein the massager main body further comprises a second transmission shaft, two ends of the transmission shaft are rotatably connected with a first bearing, and the first bearing is fixedly installed with the gearbox, The second transmission shaft is rotatably connected with the gearbox, and the first gear and the second gear are fixedly installed on the second transmission shaft, wherein the second gear is meshed with the driving screw of the motor. 4.根据权利要求1所述的一种多功能按摩器,其特征在于,所述传动轴一上安装有齿轮三,齿轮三与齿轮一啮合,传动轴一上对称设有轴承二,轴承二与传动轴一转动连接,轴承二嵌入安装于固定槽内,变速箱上方设有变速箱盖,变速箱盖将轴承二压紧在固定槽内。4. The multifunctional massager according to claim 1, wherein the first transmission shaft is provided with a third gear, the third gear meshes with the first gear, and the first transmission shaft is symmetrically provided with a second bearing, and the second bearing The second bearing is embedded and installed in the fixed groove, and the gearbox cover is arranged above the gearbox, and the gearbox cover presses the second bearing in the fixed groove. 5.根据权利要求1所述的一种多功能按摩器,其特征在于,所述下外壳设有安装孔,通过螺栓和安装孔使下外壳与靠背支架总成固定连接,靠背支架总成由两部分铰接,铰接部分可以转动,靠背支架总成与外部设备固定连接,使按摩器主体可与若干种按摩设备安装。5 . The multifunctional massager according to claim 1 , wherein the lower shell is provided with mounting holes, and the lower shell is fixedly connected to the backrest bracket assembly through bolts and the mounting holes, and the backrest bracket assembly is composed of 5 . The two parts are hinged, the hinged part can be rotated, and the backrest bracket assembly is fixedly connected with the external equipment, so that the main body of the massager can be installed with several kinds of massage equipment.
CN202221070652.9U 2022-05-07 2022-05-07 Multifunctional massager Active CN217339279U (en)

Priority Applications (1)

Application Number Priority Date Filing Date Title
CN202221070652.9U CN217339279U (en) 2022-05-07 2022-05-07 Multifunctional massager

Applications Claiming Priority (1)

Application Number Priority Date Filing Date Title
CN202221070652.9U CN217339279U (en) 2022-05-07 2022-05-07 Multifunctional massager

Publications (1)

Publication Number Publication Date
CN217339279U true CN217339279U (en) 2022-09-02

Family

ID=83011103

Family Applications (1)

Application Number Title Priority Date Filing Date
CN202221070652.9U Active CN217339279U (en) 2022-05-07 2022-05-07 Multifunctional massager

Country Status (1)

Country Link
CN (1) CN217339279U (en)

Cited By (2)

* Cited by examiner, † Cited by third party
Publication number Priority date Publication date Assignee Title
CN117017731A (en) * 2023-05-12 2023-11-10 厦门睿康科技有限公司 a massage device
WO2024212325A1 (en) * 2023-04-14 2024-10-17 深圳市倍轻松科技股份有限公司 Neck massager

Cited By (2)

* Cited by examiner, † Cited by third party
Publication number Priority date Publication date Assignee Title
WO2024212325A1 (en) * 2023-04-14 2024-10-17 深圳市倍轻松科技股份有限公司 Neck massager
CN117017731A (en) * 2023-05-12 2023-11-10 厦门睿康科技有限公司 a massage device

Similar Documents

Publication Publication Date Title
CN205198406U (en) Massage cushion neck sways to press from both sides rubs massage structure
CN217339279U (en) Multifunctional massager
CN205041730U (en) 3D massage core and 3D massaging machine
CN110368277A (en) A kind of massager core and the eye masseur using this massager core
CN101683302B (en) Massaging machine
CN213788805U (en) Nursing is with recovered massager of chronic pain of waist
CN107485548A (en) One kind, which is rubbed, beats massager core
CN210904027U (en) Multifunctional massager
CN208799479U (en) A kind of shoulder massager core
CN209286094U (en) Arm massage device and massage chair
CN213964293U (en) Wireless warm vibrometer for finger joint shallow needle
CN211356614U (en) Horizontal pushing and kneading device for legs
CN212308395U (en) A massage movement with switchable massage heads
CN104490580A (en) Massage cushion
CN221672535U (en) A neck and shoulder simulation massage movement
CN202859607U (en) Clamping-rubbing massager for neck-shoulder portion
CN209450906U (en) A kind of new-type massage pillow
CN209203935U (en) A kind of massager cassette mechanism with Multi-stage transmission
CN218187239U (en) Massage neck pillow with movable massage head
CN222604961U (en) Novel kneading massager
CN220385412U (en) Massage device with simultaneous rubbing and vibrating functions
CN208838502U (en) A kind of kneading massage movement
CN215652379U (en) Heart massage structure integral eccentric finger pressing structure of massage chair and massage chair thereof
CN222623317U (en) Double linkage massage machine core
CN210542367U (en) Rubbing and scraping massage mechanism for legs

Legal Events

Date Code Title Description
GR01 Patent grant
GR01 Patent grant
TR01 Transfer of patent right
TR01 Transfer of patent right

Effective date of registration: 20251021

Address after: 572000 Hainan Province Sanya City Jiyang District Shangpin Street 2nd Alley No. 51

Patentee after: Meng Fancheng

Country or region after: China

Address before: 355000 No.90 budaoting, qinxiyang Industrial Zone, Fu'an City, Ningde City, Fujian Province

Patentee before: WEI JIA HUA (FUJIAN) ELECTRONICS Co.,Ltd.

Country or region before: China

TR01 Transfer of patent right
TR01 Transfer of patent right

Effective date of registration: 20251031

Address after: 116000Liaoning ProvinceDalian CityZhongshan DistrictRenmin Road No. 21Room 401

Patentee after: Dalian Huakang Elderly Care Service Co.,Ltd.

Country or region after: China

Address before: 572000 Hainan Province Sanya City Jiyang District Shangpin Street 2nd Alley No. 51

Patentee before: Meng Fancheng

Country or region before: China