CN217316889U - Gantry machining center high-rigidity three-line-rail supporting bed body - Google Patents

Gantry machining center high-rigidity three-line-rail supporting bed body Download PDF

Info

Publication number
CN217316889U
CN217316889U CN202221290019.0U CN202221290019U CN217316889U CN 217316889 U CN217316889 U CN 217316889U CN 202221290019 U CN202221290019 U CN 202221290019U CN 217316889 U CN217316889 U CN 217316889U
Authority
CN
China
Prior art keywords
lathe bed
rail
machining center
auxiliary
rigidity
Prior art date
Legal status (The legal status is an assumption and is not a legal conclusion. Google has not performed a legal analysis and makes no representation as to the accuracy of the status listed.)
Active
Application number
CN202221290019.0U
Other languages
Chinese (zh)
Inventor
顾立柱
李冬
Current Assignee (The listed assignees may be inaccurate. Google has not performed a legal analysis and makes no representation or warranty as to the accuracy of the list.)
Anhui Pengrui Intelligent Technology Co ltd
Original Assignee
Anhui Pengrui Intelligent Technology Co ltd
Priority date (The priority date is an assumption and is not a legal conclusion. Google has not performed a legal analysis and makes no representation as to the accuracy of the date listed.)
Filing date
Publication date
Application filed by Anhui Pengrui Intelligent Technology Co ltd filed Critical Anhui Pengrui Intelligent Technology Co ltd
Priority to CN202221290019.0U priority Critical patent/CN217316889U/en
Application granted granted Critical
Publication of CN217316889U publication Critical patent/CN217316889U/en
Active legal-status Critical Current
Anticipated expiration legal-status Critical

Links

Images

Landscapes

  • Machine Tool Units (AREA)

Abstract

The utility model discloses a three linear rail support lathes of gantry machining center high rigidity relates to gantry machining center milling machine technical field. The utility model discloses a gantry machining center high rigidity three-wire-track support bed body, including the lathe bed, the upper surface of the lathe bed is provided with the wire track along its length direction bilateral symmetry, the left and right sides two still be provided with the auxiliary guide rail along its length direction between the wire track, be provided with compound gusset between wire track and the lathe bed, compound gusset adopts the double triangle-shaped structure, the bilateral symmetry of auxiliary guide rail both sides is provided with the deep floor to strengthen the bending resistance antitorque rigidity of wire track and auxiliary guide rail; the auxiliary supporting device is arranged in the area between the linear rail and the auxiliary guide rail and comprises auxiliary supporting mounting holes which are vertically formed in the middle of the lathe bed at equal intervals along the length direction of the lathe bed, supporting bolts are vertically arranged in the auxiliary supporting mounting holes, the lower ends of the supporting bolts are in contact with a ground reference, and the supporting bolts are adjusted to improve the bearing capacity of the middle of the lathe bed so as to play an auxiliary supporting role.

Description

Gantry machining center high-rigidity three-line-rail supporting bed body
Technical Field
The utility model relates to a planer machining center milling machine technical field, the more specifically three linear rail support lathes of gantry machining center height that says so.
Background
In the machining equipment industry, the machining of workpieces with larger length is mostly carried out on a gantry machining center or a gantry milling machine, a machine body is an important component of the machine tool and is a key bearing part, the machine tool plays a role in containing and supporting other parts, the machine tool bears the weight of the machine tool, the cutting resistance and bending moment generated by the machine tool during working, and the machining precision and the working capacity of the machine tool are influenced to a great extent by the comprehensive performance of the machine body, so that the machine body needs sufficient rigidity and precision retentivity to ensure the machining precision, and the machining precision comprises the size precision, the shape precision, the position precision and the surface quality of the workpieces.
In the existing numerical control machining technology, a gantry machining center consists of a stand column, a cross beam, a main shaft head, a workbench, a saddle, a ram and a lathe bed. The lathe body is an indispensable part of the milling machine and mainly plays a role in supporting the sliding saddle and the workbench to move linearly. The milling machine body on the market at present has the problems of low structural strength, poor bearing capacity and the like, and the quality and the precision of a workpiece can be influenced. For a gantry machining center, a transmission screw rod is usually arranged between two guide rails of a milling machine body, but the high-strength and large-impact machining easily causes certain influence or damage on the transmission screw rod, and the transmission screw rod deforms to further abrade the guide rail structure of the milling machine body.
Through search, relevant patents have been published for solving the above-mentioned deficiencies. For example, the Chinese patent application number is: 201721702686.4, application date is: 9 days 12 and 7 months 2017 and the authorized announcement date are as follows: 7.17.2018, a lathe bed guide rail structure of a gantry machining center is disclosed, which comprises: the machine tool comprises a machine tool body, a transmission screw rod, a workbench, a hard rail, hard rail wear-resistant glue, a linear guide rail, a linear rail sliding block and a supporting mechanism; the two linear guide rails are respectively arranged on the lathe bed body, linear rail sliding blocks are arranged on the two linear guide rails, the transmission screw rods are arranged between the two hard rails in a sliding mode, one end of each transmission screw rod is fixedly connected with the workbench, a plurality of grooves are formed in the lathe bed body corresponding to the transmission screw rods and used for supporting the transmission screw rods, the supporting mechanisms are arranged in the grooves, and one supporting mechanism is correspondingly arranged in each groove, so that the problem that the transmission screw rods are easily damaged by high-strength and large-impact machining in the background technology is solved. However, the above structure is only suitable for a workbench structure with a small length, and for a workbench with a large size, the requirement for the bearing strength of the milling machine body is high, so that the milling machine body structure with high bearing strength and a wide application range needs to be designed.
SUMMERY OF THE UTILITY MODEL
1. Technical problem to be solved by the utility model
To current milling machine lathe bed bearing capacity subalternation problem, the utility model discloses a gantry machining center high rigidity three-wire track supports lathe bed, the lathe bed upper surface is provided with the wire track along its length direction bilateral symmetry, controls two still be provided with auxiliary guide rail along its length direction between the wire track, vertical auxiliary stay device of installing between wire track and the auxiliary guide rail to improve the rigidity and the bearing capacity of lathe bed and workstation, when avoiding chooseing for use wide size lathe bed to bear corresponding workstation, cause the workstation sunken.
2. Technical scheme
In order to achieve the above purpose, the utility model provides a technical scheme does:
a gantry machining center high-rigidity three-linear-rail supporting bed body comprises a bed body, wherein a workbench is movably mounted above the bed body, linear rails are symmetrically arranged on the upper surface of the bed body in the left-right direction along the length direction of the bed body, an auxiliary guide rail is further arranged between the left linear rail and the right linear rail along the length direction of the left linear rail and the right linear rail, and the auxiliary guide rail is arranged between the left linear rail and the right linear rail, so that the phenomenon that the workbench is sunken when a wide-size bed body is selected to bear the corresponding workbench is avoided, and the rigidity and the bearing capacity of the bed body and the workbench are improved; the auxiliary supporting devices are arranged in the middle of the lathe bed at equal intervals along the length direction of the lathe bed and are arranged in the area between the linear rail and the auxiliary guide rail, so that an auxiliary supporting effect is provided for the lathe bed on the periphery of the linear rail, and the middle of the lathe bed is prevented from being sunken and deformed.
According to the technical scheme, the auxiliary supporting device comprises auxiliary supporting mounting holes which are vertically formed in the middle of the lathe bed at equal intervals along the length direction of the lathe bed, the auxiliary supporting mounting holes are formed in the area between the linear rail and the auxiliary guide rail, supporting bolts are vertically arranged in the auxiliary supporting mounting holes, the lower ends of the supporting bolts are in contact with a ground reference, and the supporting bolts are adjusted to improve the bearing capacity of the middle of the lathe bed so as to play an auxiliary supporting role.
According to the further technical scheme, the joint of the linear rail and the workbench is in sliding connection through a linear rail sliding block which is horizontally arranged, and the linear rail sliding block is detachably arranged on the lower surface of the workbench; the auxiliary guide rail is movably connected with the joint of the workbench through an auxiliary sliding block which is horizontally arranged, the auxiliary sliding block is detachably arranged on the lower surface of the workbench, and the workbench slides forwards and backwards above the lathe bed through the linear rail sliding block and the auxiliary sliding block.
According to the technical scheme, a plurality of groups of foundation pad iron mounting grooves are symmetrically and equidistantly arranged on two sides of the lathe bed, and foundation pad irons are vertically mounted in the foundation pad iron mounting grooves and used for adjusting the left height and the right height of the lathe bed, so that the bottom of the lathe bed is kept flush with the horizontal plane.
According to a further technical scheme, a composite rib plate is arranged between the linear rail and the lathe bed, the periphery of the composite rib plate is of a triangular structure, the middle of the composite rib plate is of a hollow triangular structure, and the composite rib plate is a double-triangular composite rib plate, so that the bending resistance and torsional rigidity of the linear rail are improved.
According to a further technical scheme, a local rib plate is arranged in an area between the periphery of the composite rib plate and the lathe bed, so that the rigidity of the linear rail is further enhanced.
According to the further technical scheme, reinforcing rib plates are symmetrically arranged on the left side and the right side of the two sides of the auxiliary guide rail, and are arranged at the connecting part of the auxiliary guide rail and the machine body so as to enhance the bending resistance and torsional rigidity of the auxiliary guide rail.
According to the further technical scheme, the upper surface of the linear rail is provided with an oil groove along the length direction of the linear rail, so that waste oil on a workbench is collected in a centralized manner, pollution of cutting fluid is reduced, and the environment is protected.
According to the technical scheme, the front end and the rear end of the lathe bed are vertically provided with oil blocking flanges, the oil blocking flanges are arranged at the outer port of the oil groove, and waste oil after collection is prevented from overflowing the lathe bed.
Further technical scheme, lathe bed bilateral symmetry is provided with the lug to conveniently hoist and mount the lathe bed, need not to use extra hoist and mount frock.
3. Advantageous effects
Adopt the technical scheme provided by the utility model, compare with prior art, have following beneficial effect:
(1) the utility model discloses a gantry machining center high rigidity three-wire rail support lathe bed, the upper surface of the lathe bed is provided with the wire rail along the length direction thereof in bilateral symmetry, and the auxiliary guide rail is arranged between the left wire rail and the right wire rail, so that when a wide-size lathe bed is selected to bear a corresponding workbench, the workbench is prevented from sinking, and the rigidity and the bearing capacity of the lathe bed and the workbench are improved;
(2) the utility model discloses a gantry machining center high rigidity three-wire rail supports lathe bed, the equidistant auxiliary stay device that is provided with of lathe bed middle part along its length direction, the auxiliary stay device sets up the region between on-line rail and the auxiliary guide rail, and the auxiliary stay device includes the equidistant vertical auxiliary stay mounting hole of seting up along its length direction in the lathe bed middle part, the vertical stay bolt that is equipped with in the auxiliary stay mounting hole, the stay bolt lower extreme contacts with ground benchmark, through adjusting the stay bolt in order to improve lathe bed middle part bearing capacity, plays the auxiliary stay effect;
(3) the utility model discloses a high rigidity three-wire rail support lathe bed of longmen machining center, lathe bed bilateral symmetry equidistant are provided with a plurality of groups of lower margin parallels mounting groove, vertically install the lower margin parallels in the lower margin parallels mounting groove, through the cooperation adjusting auxiliary stay device, make lathe bed bottom left and right sides and middle zone keep flushing with the horizontal plane, and then improve lathe bed bearing capacity, prevent that the lathe bed middle part from sinking;
(4) the utility model discloses a high rigidity three-wire rail support lathe bed of gantry machining center, the bilateral symmetry of auxiliary guide rail both sides is provided with deep floor, deep floor sets up in auxiliary guide rail and lathe bed junction to strengthen the bending resistance antitorque rigidity of auxiliary guide rail;
(5) the utility model discloses a gantry machining center high rigidity three-wire rail support lathe bed, be provided with compound gusset between wire rail and the lathe bed, compound gusset periphery is the triangle-shaped structure, and its middle part is the hollow triangle-shaped structure, compound gusset adopts compound gusset of two triangles to increase the bending resistance antitorque rigidity of wire rail;
(6) the utility model discloses a gantry machining center high rigidity three-wire rail support lathe bed, the area between the periphery of the composite rib plate and the lathe bed is provided with a local rib plate, thereby further enhancing the rigidity of the wire rail;
(7) the utility model discloses a gantry machining center high rigidity three-wire rail support lathe bed, the upper surface of the wire rail is provided with an oil groove along the length direction thereof, which is used for collecting waste oil on a workbench in a centralized way, reducing pollution of cutting fluid and protecting the environment;
(8) the utility model discloses a three linear rail support lathes of longmen machining center height rigidity, the vertical oily turn-ups that is provided with of tip around the lathe bed, keep off oily turn-ups setting in oil groove outer port department, the waste oil after preventing to collect spills over the lathe bed.
Drawings
FIG. 1 is a schematic view of a three-way rail bed body of the present invention;
FIG. 2 is a top view of FIG. 1;
FIG. 3 is a front view of FIG. 1;
FIG. 4 is a sectional view taken along line A-A of FIG. 2;
FIG. 5 is a sectional view taken along line B-B of FIG. 2;
fig. 6 is a schematic perspective view of the bed in fig. 1;
FIG. 7 is an enlarged view of part I of FIG. 6;
FIG. 8 is a top view of FIG. 6;
FIG. 9 is a front view of FIG. 6;
fig. 10 is a sectional view taken along line C-C in fig. 8.
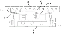
In the figure: 1-a lathe bed; 11-a lifting lug; 12-composite rib plates; 13-local rib plate; 2-a workbench; 3-a linear rail; 31-a linear rail slider; 32-oil groove; 33-oil blocking flanging; 4-an auxiliary guide rail; 41-auxiliary sliding block; 42-reinforcing rib plates; 5-a foot pad iron; 51-a foundation pad iron mounting groove; 6-auxiliary supporting device; 61-auxiliary support mounting holes; 62-supporting bolts.
Detailed Description
For a further understanding of the present invention, reference will be made to the following detailed description taken in conjunction with the accompanying drawings.
Example 1
The high-rigidity three-linear-rail support lathe bed of the gantry machining center comprises a lathe bed 1, wherein a workbench 2 is movably mounted above the lathe bed 1, linear rails 3 are symmetrically arranged on the upper surface of the lathe bed 1 in the left-right direction along the length direction of the lathe bed, an auxiliary guide rail 4 is further arranged between the left linear rail 3 and the right linear rail 3 along the length direction of the left linear rail and the right linear rail, and the auxiliary guide rail is arranged between the left linear rail 3 and the right linear rail, so that the phenomenon that the workbench 2 is sunken when the wide lathe bed 1 is selected to bear the corresponding workbench 2 is avoided, and the rigidity and the bearing capacity of the lathe bed 1 and the workbench 2 are improved; the middle part of the lathe bed 1 is provided with auxiliary supporting devices 6 at equal intervals along the length direction of the lathe bed, and the auxiliary supporting devices 6 are arranged in the area between the linear rail 3 and the auxiliary guide rail 4, so that an auxiliary supporting effect is provided for the lathe bed 1 on the periphery of the linear rail 3, and the middle part of the lathe bed 1 is prevented from being deformed in a concave mode.
In this embodiment, as shown in fig. 4, a plurality of groups of foundation pad mounting grooves 51 are symmetrically and equidistantly arranged on two sides of the bed body 1, foundation pads 5 are vertically mounted in the foundation pad mounting grooves 51 and used for adjusting the left and right heights of the bed body 1, and the auxiliary supporting device 6 is adjusted through matching, so that the left and right sides and the middle area of the bottom of the bed body 1 are flush with the horizontal plane, the bearing capacity of the bed body 1 is improved, and the middle of the bed body 1 is prevented from being sunken.
Further, lifting lugs 11 are symmetrically arranged on two sides of the lathe bed 1, so that the lathe bed 1 can be conveniently lifted without using an additional lifting tool.
Example 2
The basic structure of the high-rigidity three-line rail supporting bed body of the gantry machining center is the same as that of the gantry machining center in embodiment 1, and the differences and improvements are as follows: as shown in fig. 5 to 7, the auxiliary supporting device 6 includes auxiliary supporting mounting holes 61 vertically formed in the middle of the bed 1 at equal intervals along the length direction thereof, the auxiliary supporting mounting holes 61 are disposed in the region between the linear rail 3 and the auxiliary guide rail 4, supporting bolts 62 are vertically mounted in the auxiliary supporting mounting holes 61, the lower ends of the supporting bolts 62 contact with the ground reference, and the supporting bolts 62 are adjusted to improve the bearing capacity of the middle of the bed 1, so as to perform an auxiliary supporting function.
Further, as shown in fig. 5, reinforcing rib plates 42 are symmetrically arranged on both sides of the auxiliary guide rail 4, and the reinforcing rib plates 42 are arranged at the connection position of the auxiliary guide rail 4 and the machine body 1 to enhance the bending and torsion rigidity of the auxiliary guide rail 4.
Example 3
The basic structure of the high-rigidity three-line rail supporting bed body of the gantry machining center is the same as that of the embodiment 2, and the differences and improvements are as follows: as shown in fig. 3, the joint of the wire track 3 and the workbench 2 is slidably connected through a wire track slider 31 horizontally arranged, and the wire track slider 31 is detachably mounted on the lower surface of the workbench 2; the joint of the auxiliary guide rail 4 and the workbench 2 is movably connected through an auxiliary sliding block 41 which is horizontally arranged, the auxiliary sliding block 41 is detachably mounted on the lower surface of the workbench 2, and the workbench 2 slides forwards and backwards above the lathe bed 1 through a linear rail sliding block 31 and the auxiliary sliding block 41.
In this embodiment, as shown in fig. 8 to 9, the upper surface of the linear rail 3 is provided with an oil groove 32 along the length direction thereof for intensively collecting waste oil on the working table 2, reducing pollution of cutting fluid and protecting the environment.
Further, as shown in fig. 10, oil blocking flanges 33 are vertically arranged at the front end and the rear end of the bed 1, and the oil blocking flanges 33 are arranged at the outer ports of the oil groove 32 to prevent collected waste oil from overflowing the bed 1.
Example 4
The basic structure of the high-rigidity three-line rail supporting bed body of the gantry machining center is the same as that of embodiment 3, and the differences and improvements are as follows: as shown in fig. 4-5, a composite rib plate 12 is arranged between the linear rail 3 and the lathe bed 1, the periphery of the composite rib plate 12 is of a triangular structure, the middle of the composite rib plate 12 is of a hollow triangular structure, and the composite rib plate 12 is a double-triangular composite rib plate, so that the bending resistance and torsional rigidity of the linear rail 3 are improved.
Furthermore, a local rib plate 13 is arranged in the area between the periphery of the composite rib plate 12 and the lathe bed 1, so that the rigidity of the linear rail 3 is further enhanced.
The present invention and its embodiments have been described above schematically, and the description is not limited thereto, and what is shown in the drawings is only one of the embodiments of the present invention, and the actual structure is not limited thereto. Therefore, if the person skilled in the art receives the teaching of the present invention, without departing from the inventive spirit of the present invention, the person skilled in the art should also design the similar structural modes and embodiments without creativity to the technical solution, and all shall fall within the protection scope of the present invention.

Claims (10)

1. The utility model provides a longmen machining center high rigidity three-wire rail supports lathe bed, includes lathe bed (1), lathe bed (1) top movable mounting has workstation (2), its characterized in that: linear rails (3) are symmetrically arranged on the left and right of the upper surface of the lathe bed (1) along the length direction of the lathe bed, and auxiliary guide rails (4) are arranged between the linear rails (3) along the length direction of the lathe bed; the middle part of the lathe bed (1) is provided with auxiliary supporting devices (6) at equal intervals along the length direction of the lathe bed, and the auxiliary supporting devices (6) are arranged in the area between the linear rail (3) and the auxiliary guide rail (4).
2. The gantry machining center high-rigidity three-line-rail support lathe bed of claim 1, characterized in that: the auxiliary supporting device (6) comprises auxiliary supporting mounting holes (61) which are vertically formed in the middle of the lathe bed (1) at equal intervals along the length direction of the lathe bed, the auxiliary supporting mounting holes (61) are arranged in the area between the linear rail (3) and the auxiliary guide rail (4), supporting bolts (62) are vertically arranged in the auxiliary supporting mounting holes (61), and the lower ends of the supporting bolts (62) are in contact with the ground reference.
3. The gantry machining center high-rigidity three-line-rail support lathe bed of claim 2, characterized in that: the joint of the linear rail (3) and the workbench (2) is in sliding connection through a linear rail sliding block (31) which is horizontally arranged, and the linear rail sliding block (31) is detachably arranged on the lower surface of the workbench (2); the auxiliary guide rail (4) is movably connected with the joint of the workbench (2) through an auxiliary sliding block (41) which is horizontally arranged, and the auxiliary sliding block (41) is detachably arranged on the lower surface of the workbench (2).
4. The gantry machining center high-rigidity three-line-rail support lathe bed of claim 2, characterized in that: lathe bed (1) bilateral symmetry equidistant is provided with a plurality of groups of lower margin parallels mounting groove (51), vertically in lower margin parallels mounting groove (51) install lower margin parallels (5), lower margin parallels (5) and ground benchmark contact.
5. The high rigidity three-line rail support lathe bed of the gantry machining center according to claim 3, characterized in that: a composite rib plate (12) is arranged between the linear rail (3) and the lathe bed (1), the periphery of the composite rib plate (12) is of a triangular structure, and the middle of the composite rib plate is of a hollow triangular structure.
6. The high rigidity three-line rail support lathe bed of the gantry machining center according to claim 5, characterized in that: and a local rib plate (13) is arranged in the area between the periphery of the composite rib plate (12) and the lathe bed (1).
7. The high rigidity three-line rail support lathe bed of the gantry machining center according to claim 3, characterized in that: reinforcing rib plates (42) are symmetrically arranged on the left side and the right side of the two sides of the auxiliary guide rail (4), and the reinforcing rib plates (42) are arranged at the connecting part of the auxiliary guide rail (4) and the machine body (1).
8. The high rigidity three-line rail support lathe bed of the gantry machining center according to claim 5, characterized in that: an oil groove (32) is formed in the upper surface of the linear rail (3) along the length direction of the linear rail.
9. The gantry machining center high-rigidity three-line-rail support lathe bed of claim 8, wherein: the front end and the rear end of the lathe bed (1) are vertically provided with oil blocking flanges (33), and the oil blocking flanges (33) are arranged at the outer port of the oil groove (32).
10. The gantry machining center high-rigidity three-wire-rail support bed according to any one of claims 1 to 9, characterized in that: lifting lugs (11) are symmetrically arranged on two sides of the lathe bed (1).
CN202221290019.0U 2022-05-26 2022-05-26 Gantry machining center high-rigidity three-line-rail supporting bed body Active CN217316889U (en)

Priority Applications (1)

Application Number Priority Date Filing Date Title
CN202221290019.0U CN217316889U (en) 2022-05-26 2022-05-26 Gantry machining center high-rigidity three-line-rail supporting bed body

Applications Claiming Priority (1)

Application Number Priority Date Filing Date Title
CN202221290019.0U CN217316889U (en) 2022-05-26 2022-05-26 Gantry machining center high-rigidity three-line-rail supporting bed body

Publications (1)

Publication Number Publication Date
CN217316889U true CN217316889U (en) 2022-08-30

Family

ID=82987294

Family Applications (1)

Application Number Title Priority Date Filing Date
CN202221290019.0U Active CN217316889U (en) 2022-05-26 2022-05-26 Gantry machining center high-rigidity three-line-rail supporting bed body

Country Status (1)

Country Link
CN (1) CN217316889U (en)

Similar Documents

Publication Publication Date Title
CN112475937A (en) Lightweight vertical rail type machine tool
CN110682112B (en) Turning plate horizontal five-axis machining center
CN201109029Y (en) Gantry type numerically controlled boring-milling machine with indeterminate beam structure
CN201049423Y (en) Gantry structure for digital control gantry milling machine
CN217316889U (en) Gantry machining center high-rigidity three-line-rail supporting bed body
CN208495891U (en) A kind of numerical control movable girder planer-type milling machine
CN212122378U (en) Rotary workbench of numerical control double-side milling machine
CN214212351U (en) Asymmetrical steel rail fishtail space machining device
CN222154639U (en) Double-sided five-axis vertical machining center
CN210706218U (en) Guide mechanism for slide block of servo hydraulic press
CN217371349U (en) High-rigidity four-line rail vertical machining center lathe bed with spiral chip grooves
CN217727850U (en) Ram double-cylinder balancing device of gantry machining center
CN215239254U (en) Gantry boring and milling machine
CN201997950U (en) Crossbeam oblique-mounting surface structure for numerically controlled milling and drilling machines
CN114406314B (en) Quick drilling equipment is used in air compressor machine production
CN212264644U (en) Numerical control planer type milling machine
CN213969942U (en) Workstation is used in machining with structure is adjusted to multi-angle
CN215035300U (en) Portal frame
CN203209991U (en) Improved type structure of vertical machining machine tool
CN211890404U (en) Machine tool body
CN211489649U (en) Beam structure with front spindle box
CN222920028U (en) Gantry of a gantry machine tool
CN216576584U (en) Gantry type drilling and milling machine tool base
CN219026633U (en) Fixed beam type planer type numerical control milling machine guide rail mechanism
CN113500418A (en) High-rigidity gantry machining center

Legal Events

Date Code Title Description
GR01 Patent grant
GR01 Patent grant