CN217308126U - A small chassis heat dissipation structure - Google Patents
A small chassis heat dissipation structure Download PDFInfo
- Publication number
- CN217308126U CN217308126U CN202220376724.6U CN202220376724U CN217308126U CN 217308126 U CN217308126 U CN 217308126U CN 202220376724 U CN202220376724 U CN 202220376724U CN 217308126 U CN217308126 U CN 217308126U
- Authority
- CN
- China
- Prior art keywords
- heat dissipation
- chassis
- aluminum profile
- air outlet
- channel
- Prior art date
- Legal status (The legal status is an assumption and is not a legal conclusion. Google has not performed a legal analysis and makes no representation as to the accuracy of the status listed.)
- Expired - Fee Related
Links
- 230000017525 heat dissipation Effects 0.000 title claims abstract description 113
- XAGFODPZIPBFFR-UHFFFAOYSA-N aluminium Chemical compound [Al] XAGFODPZIPBFFR-UHFFFAOYSA-N 0.000 claims abstract description 33
- 229910052782 aluminium Inorganic materials 0.000 claims abstract description 33
- 238000001816 cooling Methods 0.000 claims abstract description 28
- 230000004087 circulation Effects 0.000 claims abstract description 17
- 239000004411 aluminium Substances 0.000 claims abstract 2
- 239000000428 dust Substances 0.000 abstract description 5
- XLYOFNOQVPJJNP-UHFFFAOYSA-N water Chemical compound O XLYOFNOQVPJJNP-UHFFFAOYSA-N 0.000 abstract description 4
- 230000009286 beneficial effect Effects 0.000 description 2
- 238000010586 diagram Methods 0.000 description 2
- 230000001678 irradiating effect Effects 0.000 description 2
- 238000009423 ventilation Methods 0.000 description 2
- 239000003153 chemical reaction reagent Substances 0.000 description 1
- 238000004891 communication Methods 0.000 description 1
- 238000007796 conventional method Methods 0.000 description 1
- 230000007423 decrease Effects 0.000 description 1
- 238000002474 experimental method Methods 0.000 description 1
- 238000009434 installation Methods 0.000 description 1
- 239000000463 material Substances 0.000 description 1
- 238000000034 method Methods 0.000 description 1
- 230000005855 radiation Effects 0.000 description 1
Images
Classifications
-
- Y—GENERAL TAGGING OF NEW TECHNOLOGICAL DEVELOPMENTS; GENERAL TAGGING OF CROSS-SECTIONAL TECHNOLOGIES SPANNING OVER SEVERAL SECTIONS OF THE IPC; TECHNICAL SUBJECTS COVERED BY FORMER USPC CROSS-REFERENCE ART COLLECTIONS [XRACs] AND DIGESTS
- Y02—TECHNOLOGIES OR APPLICATIONS FOR MITIGATION OR ADAPTATION AGAINST CLIMATE CHANGE
- Y02D—CLIMATE CHANGE MITIGATION TECHNOLOGIES IN INFORMATION AND COMMUNICATION TECHNOLOGIES [ICT], I.E. INFORMATION AND COMMUNICATION TECHNOLOGIES AIMING AT THE REDUCTION OF THEIR OWN ENERGY USE
- Y02D10/00—Energy efficient computing, e.g. low power processors, power management or thermal management
Landscapes
- Cooling Or The Like Of Electrical Apparatus (AREA)
Abstract
本实用新型涉及一种小型机箱散热结构,其可包括散热铝型材、内散热风扇和外散热风扇,所述散热铝型材安装在机箱的左右侧面上并具有相互间隔开的内散热通道和外散热通道,所述内散热通道和所述内散热风扇组成内循环,以将机箱内的热量传导给所述散热铝型材,以及所述外散热通道和所述外散热风扇组成外循环,以将散热铝型材上的热量散发到外部环境中。通过散热风扇组件实现机箱散热的独立内循环和独立外循环,将机箱内部的热量由散热铝型材传导到机箱外部,同时保持机箱内部整洁,无外部灰尘、水汽,提高了机箱内部电气设备的使用寿命。
The utility model relates to a heat dissipation structure of a small case, which can include a heat dissipation aluminum profile, an inner heat dissipation fan and an outer heat dissipation fan. The inner heat dissipation channel and the inner heat dissipation fan form an inner circulation to conduct the heat in the chassis to the heat dissipation aluminum profile, and the outer heat dissipation channel and the outer heat dissipation fan form an outer circulation to dissipate heat. The heat on the aluminium profile is dissipated to the outside environment. The independent inner circulation and independent outer circulation of the chassis heat dissipation are realized through the cooling fan assembly, and the heat inside the chassis is conducted from the heat dissipation aluminum profile to the outside of the chassis, and at the same time, the interior of the chassis is kept clean and free from external dust and water vapor, which improves the use of electrical equipment inside the chassis. life.
Description
技术领域technical field
本实用新型涉及机箱领域,具体地涉及一种小型机箱散热结构。The utility model relates to the field of chassis, in particular to a heat dissipation structure of a small chassis.
背景技术Background technique
常规小型机箱为解决散热问题,一般采用直通风模式(即:机箱外面的空气利用风扇吸入机箱内部进行热量交换再排出机箱)。直通风模式存在的主要问题是:粉尘、水汽可以通过空气流动直接进入机箱内部并积累,长时间容易造成电气设备故障。In order to solve the heat dissipation problem, the conventional small chassis generally adopts the direct ventilation mode (that is, the air outside the chassis is sucked into the chassis by a fan for heat exchange and then discharged out of the chassis). The main problem of the direct ventilation mode is that dust and water vapor can directly enter the inside of the case through the air flow and accumulate, which can easily cause electrical equipment failure for a long time.
发明内容SUMMARY OF THE INVENTION
本实用新型旨在提供一种小型机箱散热结构,以解决上述问题。为此,本实用新型采用的具体技术方案如下:The utility model aims to provide a small chassis heat dissipation structure to solve the above problems. For this reason, the concrete technical scheme that the utility model adopts is as follows:
一种小型机箱散热结构,其可包括散热铝型材、内散热风扇和外散热风扇,所述散热铝型材安装在机箱的左右侧面上并具有相互间隔开的内散热通道和外散热通道,所述内散热通道和所述内散热风扇组成内循环,以将机箱内的热量传导给所述散热铝型材,以及所述外散热通道和所述外散热风扇组成外循环,以将散热铝型材上的热量散发到外部环境中。A small chassis heat dissipation structure, which can include heat dissipation aluminum profiles, an inner heat dissipation fan and an outer heat dissipation fan, the heat dissipation aluminum profiles are installed on the left and right sides of the chassis and have inner and outer heat dissipation channels spaced apart from each other. The inner heat dissipation channel and the inner heat dissipation fan form an inner circulation to conduct the heat in the chassis to the heat dissipation aluminum profile, and the outer heat dissipation channel and the outer heat dissipation fan form an outer circulation to dissipate the heat on the heat dissipation aluminum profile. The heat is dissipated to the external environment.
进一步地,所述内散热通道具有上进风口和下出风口,所述内散热风扇安装在所述下出风口处,以将机箱内的空气从所述上进风口抽吸到所述内散热通道中并通过所述下出风口排入所述机箱内。Further, the inner heat dissipation channel has an upper air inlet and a lower air outlet, and the inner cooling fan is installed at the lower air outlet to suck the air in the chassis from the upper air inlet into the inner heat dissipation channel. and discharged into the chassis through the lower air outlet.
进一步地,所述上进风口和所述下出风口位于所述散热铝型材的内侧面上。Further, the upper air inlet and the lower air outlet are located on the inner side of the heat dissipation aluminum profile.
进一步地,所述外散热通道具有下进风口和上出风口,所述外散热风扇安装在所述下进风口处,以将外部的冷空气抽吸到所述外散热通道中并从所述上出风口排到外部环境中。Further, the outer heat dissipation channel has a lower air inlet and an upper air outlet, and the outer heat dissipation fan is installed at the lower air inlet to draw external cold air into the outer heat dissipation channel and from the outer heat dissipation channel. The upper air outlet vents to the outside environment.
进一步地,所述下进风口和所述上出风口分别位于所述散热铝型材的内侧面和顶部。Further, the lower air inlet and the upper air outlet are located on the inner side and the top of the heat-dissipating aluminum profile, respectively.
进一步地,所述散热结构还包括散热顶盖,所述散热顶盖安装在机箱的顶板上并覆盖在所述散热铝型材的上方,所述顶板与所述散热顶盖之间具有中空部位,所述上出风口与所述中空部位连通。Further, the heat dissipation structure further includes a heat dissipation top cover, the heat dissipation top cover is installed on the top plate of the chassis and covers the top of the heat dissipation aluminum profile, and there is a hollow part between the top plate and the heat dissipation top cover, The upper air outlet communicates with the hollow part.
进一步地,所述散热结构还包括侧护板,所述侧护板覆盖在所述散热铝型材的外侧面上。Further, the heat dissipation structure further includes a side shield, and the side shield covers the outer surface of the heat dissipation aluminum profile.
进一步地,所述侧护板的上下部位开设有百叶窗。Further, the upper and lower parts of the side shield are provided with shutters.
进一步地,所述内散热通道位于两个外散热通道之间。Further, the inner heat dissipation channel is located between the two outer heat dissipation channels.
进一步地,所述内散热通道和所述外散热通道的横截面呈“凹”字形。Further, the cross-sections of the inner heat dissipation channel and the outer heat dissipation channel are in a "concave" shape.
本实用新型采用上述技术方案,具有的有益效果是:通过散热风扇组件实现机箱散热的独立内循环和独立外循环,将机箱内部的热量由散热铝型材传导到机箱外部,同时保持机箱内部整洁,无外部灰尘、水汽,提高了机箱内部电气设备的使用寿命。The utility model adopts the above technical scheme, and has the beneficial effects that the independent inner circulation and independent outer circulation of the heat dissipation of the chassis are realized through the cooling fan assembly, the heat inside the chassis is conducted from the heat dissipation aluminum profiles to the outside of the chassis, and at the same time, the interior of the chassis is kept clean and tidy, There is no external dust and water vapor, which improves the service life of the electrical equipment inside the chassis.
附图说明Description of drawings
为进一步说明各实施例,本实用新型提供有附图。这些附图为本实用新型揭露内容的一部分,其主要用以说明实施例,并可配合说明书的相关描述来解释实施例的运作原理。配合参考这些内容,本领域普通技术人员应能理解其他可能的实施方式以及本实用新型的优点。图中的组件并未按比例绘制,而类似的组件符号通常用来表示类似的组件。To further illustrate the various embodiments, the present invention provides accompanying drawings. These drawings are a part of the disclosure of the present invention, which are mainly used to illustrate the embodiments, and can be combined with the relevant description of the specification to explain the operation principles of the embodiments. With reference to these contents, those of ordinary skill in the art should be able to understand other possible embodiments and the advantages of the present invention. Components in the figures are not drawn to scale, and similar component symbols are often used to represent similar components.
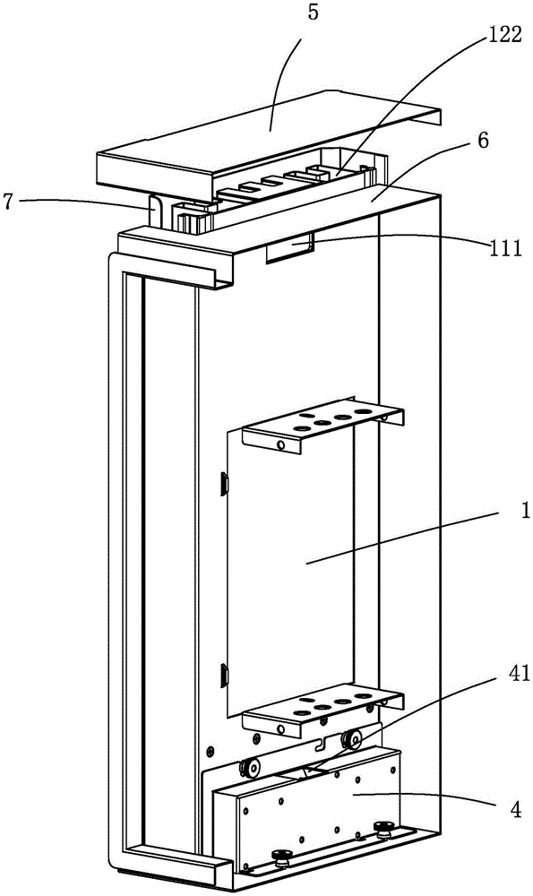
图1是本实用新型的小型机箱的立体图,其中机箱门去除以示出散热结构;1 is a perspective view of a small case of the present invention, wherein the case door is removed to illustrate the heat dissipation structure;
图2是图1所示的小型机箱的局部分解图;Fig. 2 is a partial exploded view of the small case shown in Fig. 1;
图3是图1所示的小型机箱的局部立体图。FIG. 3 is a partial perspective view of the small case shown in FIG. 1 .
图4是图1所示的小型机箱的散热结构的内循环示意图;FIG. 4 is a schematic diagram of the inner circulation of the heat dissipation structure of the small chassis shown in FIG. 1;
图5是图1所示的小型机箱的散热结构的外循环示意图。FIG. 5 is a schematic diagram of the outer circulation of the heat dissipation structure of the small case shown in FIG. 1 .
具体实施方式Detailed ways
需要说明的是,下述实施方案中所述实验方法,如无特殊说明,均为常规方法,所述试剂和材料,如无特殊说明,均可从商业途径获得;在本申请的描述中,术语“横向”、“纵向”、“上”、“下”、“前”、“后”、“左”、“右”、“竖直”、“水平”、“顶”、“底”、“内”、“外”等指示的方位或位置关系为基于附图所示的方位或位置关系,仅是为了便于描述本实用新型和简化描述,并不是指示或暗示所指的装置或元件必须具有特定的方位、以特定的方位构造和操作,因此不能理解为对本实用新型的限制。It should be noted that the experimental methods described in the following embodiments are conventional methods unless otherwise specified, and the reagents and materials can be obtained from commercial sources unless otherwise specified; in the description of this application, The terms "landscape", "portrait", "top", "bottom", "front", "rear", "left", "right", "vertical", "horizontal", "top", "bottom", The orientation or positional relationship indicated by "inside" and "outside" is based on the orientation or positional relationship shown in the accompanying drawings, which is only for the convenience of describing the present invention and simplifying the description, and does not indicate or imply that the indicated device or element must be It has a specific orientation, is constructed and operated in a specific orientation, and therefore should not be construed as a limitation of the present invention.
此外,术语“水平”、“竖直”、“悬垂”等术语并不表示要求部件绝对水平或悬垂,而是可以稍微倾斜。如“水平”仅仅是指其方向相对“竖直”而言更加水平,并不是表示该结构一定要完全水平,而是可以稍微倾斜。Furthermore, the terms "horizontal", "vertical", "overhanging" etc. do not imply that a component is required to be absolutely horizontal or overhang, but rather may be slightly inclined. For example, "horizontal" only means that its direction is more horizontal than "vertical", it does not mean that the structure must be completely horizontal, but can be slightly inclined.
在本申请的描述中,还需要说明的是,除非另有明确的规定和限定,术语“设置”、“安装”、“相连”、“连接”应做广义理解,例如,可以是固定连接,也可以是可拆卸连接,或一体地连接;可以是机械连接,也可以是电连接;可以是直接相连,也可以通过中间媒介间接相连,可以是两个元件内部的连通。对于本领域的普通技术人员而言,可以具体情况理解上述术语在本申请中的具体含义。In the description of this application, it should also be noted that, unless otherwise expressly specified and limited, the terms "arrangement", "installation", "connection" and "connection" should be interpreted in a broad sense, for example, it may be a fixed connection, It can also be a detachable connection, or an integral connection; it can be a mechanical connection or an electrical connection; it can be a direct connection, or an indirect connection through an intermediate medium, or the internal communication between the two components. For those of ordinary skill in the art, the specific meanings of the above terms in this application can be understood in specific situations.
现结合附图和具体实施方式对本实用新型进一步说明。The present utility model will now be further described with reference to the accompanying drawings and specific embodiments.
如图1-3所示,一种小型机箱散热结构可包括散热铝型材1、内散热风扇2和外散热风扇3,散热铝型材1安装在机箱的左右侧面上并具有相互间隔开的内散热通道11和外散热通道12,内散热通道12和内散热风扇2组成内循环,以将机箱内的热量传导给散热铝型材1,循环路径如图4所示,以及外散热通道12和外散热风扇3组成外循环,以将散热铝型材1上的热量散发到外部环境中,循环路径如图5所示。由于内外循环是相互独立,因此外部环境的灰尘和水汽不会进入到机箱内部中,机箱内部保持干净整洁,提高了机箱内部电气设备的使用寿命。As shown in Figure 1-3, a small chassis heat dissipation structure may include heat
具体地,内散热通道11具有上进风口111和下出风口112,其中,上进风口111和下出风口112位于散热铝型材1的内侧面上。内散热风扇2安装在下出风口112处,以将机箱内的热空气从上进风口111抽吸到内散热通道11中,热空气在内散热通道11中将热量传导给散热铝型材1,温度降低,再通过下出风口112和内散热风扇2排入机箱内。应该理解,内散热风扇2也可以安装在上进风口111处。Specifically, the inner heat dissipation channel 11 has an
外散热通道12具有下进风口121和上出风口122,其中,下进风口121和上出风口122分别位于散热铝型材1的内侧面和顶部。外散热风扇3安装在下进风口121处,以将外部的冷空气抽吸到外散热通道12中并从上出风口122排到外部环境中,从而实现将散热铝型材1的热量带走。应该理解,外散热风扇3也可以安装在上出风口122处。The outer
在本实施例中,内散热通道11位于两个外散热通道12之间,并且内散热通道11的顶部封闭,外散热通道12的底部封闭。内散热通道11和外散热通道12的横截面呈“凹”字形。内散热风扇2的进风口对准内散热通道11的下出风口112并且其出风口通向机箱内部。外散热风扇3的进风口对准机箱底部的进风口并且其出风口对准外散热通道12的下进风口121。In this embodiment, the inner heat dissipation channel 11 is located between the two outer
优选地,内散热风扇2和外散热风扇3通过一护罩4盖住,以防止灰尘进入。护罩4的顶部开设有与内散热风扇2的出风口对准的开口41,以将空气排入机箱内。Preferably, the
此外,该散热结构还可包括散热顶盖5,所述散热顶盖5安装在机箱的顶板6上并覆盖在散热铝型材1的上方。顶板6与散热顶盖5之间具有中空部位,外散热通道12的上出风口122与中空部位连通。散热顶盖5可以有效防止太阳直接照射机箱顶部,同时顶板6和散热顶盖5的中空部位的空气为正压,为流动气体,能够有效阻止顶盖的太阳辐射热传导到机箱内。In addition, the heat dissipation structure may further include a heat
此外,该散热结构还包括侧护板7,所述侧护板7覆盖在散热铝型材1的外侧面上。侧护板7能够有效防止太阳直接照射到散热铝型材1,同时侧护板7上下部位开设有百叶窗71,有利于散热铝型材1散热。In addition, the heat dissipation structure further includes a
尽管结合优选实施方案具体展示和介绍了本实用新型,但所属领域的技术人员应该明白,在不脱离所附权利要求书所限定的本实用新型的精神和范围内,在形式上和细节上可以对本实用新型做出各种变化,均为本实用新型的保护范围。Although the present invention has been specifically shown and described in conjunction with preferred embodiments, it will be understood by those skilled in the art that changes in form and detail may be made without departing from the spirit and scope of the present invention as defined by the appended claims. Various changes are made to the present utility model, which are all within the protection scope of the present utility model.
Claims (10)
Priority Applications (1)
| Application Number | Priority Date | Filing Date | Title |
|---|---|---|---|
| CN202220376724.6U CN217308126U (en) | 2022-02-23 | 2022-02-23 | A small chassis heat dissipation structure |
Applications Claiming Priority (1)
| Application Number | Priority Date | Filing Date | Title |
|---|---|---|---|
| CN202220376724.6U CN217308126U (en) | 2022-02-23 | 2022-02-23 | A small chassis heat dissipation structure |
Publications (1)
| Publication Number | Publication Date |
|---|---|
| CN217308126U true CN217308126U (en) | 2022-08-26 |
Family
ID=82929118
Family Applications (1)
| Application Number | Title | Priority Date | Filing Date |
|---|---|---|---|
| CN202220376724.6U Expired - Fee Related CN217308126U (en) | 2022-02-23 | 2022-02-23 | A small chassis heat dissipation structure |
Country Status (1)
| Country | Link |
|---|---|
| CN (1) | CN217308126U (en) |
-
2022
- 2022-02-23 CN CN202220376724.6U patent/CN217308126U/en not_active Expired - Fee Related
Similar Documents
| Publication | Publication Date | Title |
|---|---|---|
| CN107166563B (en) | Window type air conditioner and electric control heat dissipation method thereof | |
| CN205694028U (en) | The air duct heat dissipating device of a kind of variable frequency starting cabinet and packaging type refrigeration station | |
| WO2018054042A1 (en) | Window type air conditioner | |
| CN109882946A (en) | Electrical apparatus box and air conditioner | |
| CN110848765B (en) | Drawer microwave oven | |
| CN209030029U (en) | A cooling structure for air-to-air cooling motor with air intake from non-drive end | |
| CN219737979U (en) | Single-loop circulation liquid-cooled LCD (liquid Crystal display) airtight projector | |
| CN210624740U (en) | Electrical box assembly, outdoor unit and air conditioner | |
| CN210980123U (en) | An air conditioner outdoor unit | |
| CN112654207A (en) | Electric box with heat dissipation air duct and electric equipment | |
| CN217308126U (en) | A small chassis heat dissipation structure | |
| CN216844932U (en) | A kind of air conditioner outer casing with good heat dissipation performance | |
| CN215301302U (en) | Frequency conversion cabinet heat abstractor | |
| CN213876500U (en) | A large-size display with efficient heat dissipation | |
| CN206118279U (en) | Dirt -proof communication rack can dispel heat | |
| CN209962840U (en) | Novel cooling structure of dry-type transformer | |
| CN220629875U (en) | Display backboard structure | |
| CN209801630U (en) | Air duct machine | |
| WO2021098711A1 (en) | Heat dissipation apparatus for ct detector, and ct equipment | |
| CN218846303U (en) | air conditioner | |
| CN213931204U (en) | An electric control box and air conditioner | |
| CN216391864U (en) | Control cabinet for mine car and mine car | |
| CN214901892U (en) | Outdoor rainproof dustproof high-efficiency heat-dissipation electric control cabinet body | |
| CN110856619A (en) | Oven heat radiation structure | |
| CN209250011U (en) | DC charging screen dust-proof radiating cabinet |
Legal Events
| Date | Code | Title | Description |
|---|---|---|---|
| GR01 | Patent grant | ||
| GR01 | Patent grant | ||
| CF01 | Termination of patent right due to non-payment of annual fee |
Granted publication date: 20220826 |
|
| CF01 | Termination of patent right due to non-payment of annual fee |
