CN217292688U - 一种用于家具木板加工的铣床 - Google Patents
一种用于家具木板加工的铣床 Download PDFInfo
- Publication number
- CN217292688U CN217292688U CN202122920476.5U CN202122920476U CN217292688U CN 217292688 U CN217292688 U CN 217292688U CN 202122920476 U CN202122920476 U CN 202122920476U CN 217292688 U CN217292688 U CN 217292688U
- Authority
- CN
- China
- Prior art keywords
- milling cutter
- milling
- cylinder
- moving
- frame
- Prior art date
- Legal status (The legal status is an assumption and is not a legal conclusion. Google has not performed a legal analysis and makes no representation as to the accuracy of the status listed.)
- Active
Links
- 238000003801 milling Methods 0.000 title claims abstract description 112
- 239000002023 wood Substances 0.000 claims description 15
- 230000007246 mechanism Effects 0.000 claims description 7
- 238000003754 machining Methods 0.000 abstract description 4
- 230000004048 modification Effects 0.000 description 3
- 238000012986 modification Methods 0.000 description 3
- 238000000034 method Methods 0.000 description 2
- 230000009286 beneficial effect Effects 0.000 description 1
- 238000010586 diagram Methods 0.000 description 1
- 238000009434 installation Methods 0.000 description 1
- 238000005191 phase separation Methods 0.000 description 1
Images
Classifications
-
- Y—GENERAL TAGGING OF NEW TECHNOLOGICAL DEVELOPMENTS; GENERAL TAGGING OF CROSS-SECTIONAL TECHNOLOGIES SPANNING OVER SEVERAL SECTIONS OF THE IPC; TECHNICAL SUBJECTS COVERED BY FORMER USPC CROSS-REFERENCE ART COLLECTIONS [XRACs] AND DIGESTS
- Y02—TECHNOLOGIES OR APPLICATIONS FOR MITIGATION OR ADAPTATION AGAINST CLIMATE CHANGE
- Y02P—CLIMATE CHANGE MITIGATION TECHNOLOGIES IN THE PRODUCTION OR PROCESSING OF GOODS
- Y02P70/00—Climate change mitigation technologies in the production process for final industrial or consumer products
- Y02P70/10—Greenhouse gas [GHG] capture, material saving, heat recovery or other energy efficient measures, e.g. motor control, characterised by manufacturing processes, e.g. for rolling metal or metal working
Landscapes
- Milling, Drilling, And Turning Of Wood (AREA)
Abstract
一种用于家具木板加工的铣床,属于木板加工技术领域。本实用新型包括机架,机架的顶端设有工作台,机架的顶端设有滑动连接于机架的横梁,横梁的前侧设有转动电机,转动电机的输出端转动连接有转轴,转轴的端部连接有转轴座,转轴座安装在横梁上,转轴上螺纹连接有第一移动块,第一移动块上设有移动板,转轴的上方在所述横梁上设有第一滑轨,第一滑轨上滑动连接有第二移动块,横梁的底端固定安装有换刀气缸,换刀气缸的输出端连接有铣刀座,铣刀座上设有多个铣刀夹具,铣刀夹具卡接有铣刀。本实用新型通过换刀气缸、铣刀座和铣刀夹具相配合,可同时装配多个铣刀,在木板加工过程中,能不停机进行铣刀更换,提高了木板加工效率。
Description
技术领域
本实用新型属于木板加工技术领域,具体是涉及一种用于家具木板加工的铣床。
背景技术
目前家具木板的加工中,往往需要在木板表面进行铣槽或钻盲孔作业,用以安装滑轨或固定连接件等五金零件,从而进行多木板的组装拼接,然而现有的铣床普遍为单头铣床,即仅设有一个铣刀的铣床,当需要使用多个铣刀时,需要先将原先的铣刀从夹具上取下,然后再将新的铣刀进行安装,费事费力,木板加工效率低。
发明内容
本实用新型主要是解决上述现有技术所存在的技术问题,提供一种用于家具木板加工的铣床。
本实用新型的上述技术问题主要是通过下述技术方案得以解决的:一种用于家具木板加工的铣床,包括机架,所述机架的顶端设有工作台,所述工作台的四个端角处设有木板夹持机构,所述机架的顶端设有滑动连接于机架的横梁,所述横梁的前侧设有转动电机,所述转动电机的输出端转动连接有转轴,所述转轴的端部连接有转轴座,所述转轴座安装在横梁上,所述转轴上螺纹连接有第一移动块,所述第一移动块上设有移动板,转轴的上方在所述横梁上设有第一滑轨,所述第一滑轨上滑动连接有第二移动块,所述第二移动块和移动板相连,所述移动板上设有第一气缸,所述第一气缸的输出端连接有铣槽电机,所述铣槽电机的输出端连接有气动夹头,所述移动板上还设有气泵,所述气泵通过输气管与气动夹头相连,所述横梁的底端固定安装有换刀气缸,所述换刀气缸的输出端连接有铣刀座,所述铣刀座上设有多个铣刀夹具,所述铣刀夹具等间距设置,所述铣刀夹具卡接有铣刀。
作为优选,所述铣刀的外表面设有环形卡槽,所述铣刀夹具上设有与环形卡槽相匹配的卡口,通过卡口和环形卡槽的卡接配合将铣刀卡接于铣刀夹具。
作为优选,所述横梁的一侧安装有移动电机,所述移动电机的输出端穿过横梁后连接有移动齿轮,所述机架顶端的一侧设有齿条,所述移动齿轮啮合齿条,所述机架顶端的另一侧设有第二滑轨,所述第二滑轨上滑动连接有滑块,所述滑块与横梁的另一侧固定连接。
作为优选,所述木板夹持机构包括第二气缸和壳体,所述第二气缸固定安装在工作台上,所述第二气缸的输出端与壳体相连,所述壳体的内腔内设有连接板,所述连接板的顶端固定连接有第一固定杆,所述第一固定杆的端部贯穿壳体,并延伸至壳体外,且所述第一固定杆的端部连接有手柄,所述第一固定杆的外表面套设有弹簧,所述弹簧的一端与连接板的顶端固定连接,所述弹簧的另一端与壳体的内顶壁固定连接,所述连接板的底端固定连接有第二固定杆,所述第二固定杆的端部贯穿壳体,并延伸至壳体外,且所述第二固定杆的端部连接有压板。
作为优选,所述机架底端的四个端角处均设有凹槽,所述凹槽的槽底固定安装有升降气缸,所述升降气缸的输出端连接有滚轮支架,所述滚轮支架上设有滚轮。
本实用新型具有的有益效果:本实用新型通过换刀气缸、铣刀座和铣刀夹具相配合,可同时装配多个铣刀,在木板加工过程中,能不停机进行铣刀更换,提高了木板加工效率。本实用新型通过设置木板夹持机构,不仅能将木板夹持固定,而且还能匹配不同尺寸的木板。
附图说明
图1是本实用新型的一种结构示意图;
图2是本实用新型横梁与移动板的一种连接结构示意图;
图3是本实用新型铣刀夹具的一种结构示意图;
图4是本实用新型铣刀的一种结构示意图;
图5是本实用新型木板夹持机构的一种结构示意图。
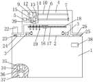
图中:1、机架;2、工作台;3、木板夹持机构;4、横梁;5、转动电机;6、转轴;7、转轴座;8、第一移动块;9、移动板;10、第一滑轨;11、第二移动块;12、第一气缸;13、铣槽电机;14、气动夹头;15、气泵;16、换刀气缸;17、铣刀座;18、铣刀夹具;19、铣刀;20、环形卡槽;21、卡口;22、移动电机;23、移动齿轮;24、齿条;25、第二滑轨;26、滑块;27、第二气缸;28、壳体;29、连接板;30、第一固定杆;31、弹簧;32、第二固定杆;33、压板;34、凹槽;35、升降气缸;36、滚轮支架;37、滚轮;38、控制器;39、输气管;40、手柄。
具体实施方式
下面通过实施例,并结合附图,对本实用新型的技术方案作进一步具体的说明。
实施例:一种用于家具木板加工的铣床,如图1-图5所示,包括机架1,所述机架1的顶端设有工作台2,所述工作台2用于放置加工的木板,所述工作台2为矩形结构,所述工作台2的四个端角处均设有用于夹持固定加工木板的木板夹持机构3,所述机架1的顶端设有滑动连接于机架1的横梁4,所述横梁4的前侧设有转动电机5,所述转动电机5的输出端连接有转轴6,所述转轴6的端部转动连接有转轴座7,所述转轴座7安装在横梁4的前侧,所述转轴6上螺纹连接有第一移动块8,所述第一移动块8上设有移动板9,转轴6的上方在所述横梁4上设有第一滑轨10,所述第一滑轨10上滑动连接有第二移动块11,所述第二移动块11和移动板9固定相连,所述移动板9上设有第一气缸12,所述第一气缸12的输出端安装有铣槽电机13,所述铣槽电机13的输出端安装有气动夹头14,所述移动板9上还设有气泵15,所述气泵15的输出端通过输气管39与气动夹头14相连,所述横梁4的底端固定安装有换刀气缸16,所述换刀气缸16的输出端连接有铣刀座17,所述铣刀座17上设有多个铣刀夹具18,所述铣刀夹具18等间距设置,所述铣刀夹具18卡接有铣刀19。
所述铣刀19的外表面设有环形卡槽20,所述铣刀夹具18上设有与环形卡槽20相匹配的卡口21,通过卡口21和环形卡槽20的卡接配合将铣刀19卡接于铣刀夹具18。
使用时,换刀气缸16驱动铣刀座17向前移动,使装配在铣刀夹具18上的铣刀19位于气动夹头14的下方,然后转动电机5驱动转轴6转动,转轴6转动使移动板9沿转轴6长度方向移动,通过第一滑轨10和第二移动块11相配合,使移动板9移动更加稳定,当移动板9移至所需位置后,第一气缸12驱动气动夹头14下移,在气动夹头14下移的过程中,通过气泵15使气动夹头14打开,当气动夹头14套住位于其下方的铣刀19上部时,通过气泵15使气动夹头14关闭,并将位于其下方的铣刀19夹持,接着,换刀气缸16驱动铣刀座17向后移动,移至初始位置,在铣刀座17移动过程中,铣刀19和铣刀夹具18相脱离,然后,转动电机5驱动转轴6转动,转轴6转动使移动板9沿转轴6长度方向移动,第一气缸12驱动铣刀19下降并与木板相接触,铣槽电机13驱动铣刀19转动,对木板进行铣槽。
当需要更换铣刀19时,转动电机5通过驱动转轴6使移动板9移动,当气动夹头14在移动板9的带动下移至所需要更换铣刀19位置后,第一气缸12驱动气动夹头14下移至与铣刀夹具18相对应处,然后换刀气缸16通过铣刀座17驱动铣刀夹具18向前移动,当铣刀夹具18上的卡口21与铣刀19相接触时,在换刀气缸16的推动下,使铣刀夹具18上的卡口21卡接于铣刀19上的环形卡槽20,通过卡口21和环形卡槽20的相配合使铣刀19卡接于铣刀夹具18,接着通过气泵15使气动夹头14打开,使该铣刀19脱离气动夹头14的夹持,然后在第一气缸12和转动电机5的配合下,气动夹头14移至另一个铣刀19处,在气泵15的作用下,夹持另一个铣刀19。
所述横梁4的一侧安装有移动电机22,所述移动电机22的输出端穿过横梁4后连接有移动齿轮23,所述机架1顶端的一侧设有齿条24,所述移动齿轮23啮合齿条24,所述机架1顶端的另一侧设有第二滑轨25,所述第二滑轨25上滑动连接有滑块26,所述滑块26与横梁4的另一侧固定连接。移动电机22驱动移动齿轮23转动,移动齿轮23和第一齿条24相啮合,使横梁4沿第二滑轨25长度方向移动。
所述木板夹持机构3包括第二气缸27和壳体28,所述第二气缸27固定安装在工作台2的端角处,所述第二气缸27的输出端与壳体28相连,所述壳体28的内腔内设有连接板29,所述连接板29的顶端固定连接有第一固定杆30,所述第一固定杆30的端部贯穿壳体28,并延伸至壳体28外,且所述第一固定杆30的端部连接有手柄40,所述第一固定杆30的外表面套设有弹簧31,所述弹簧31的一端与连接板29的顶端固定连接,所述弹簧31的另一端与壳体28的内顶壁固定连接,所述连接板29的底端固定连接有第二固定杆32,所述第二固定杆32的端部贯穿壳体28,并延伸至壳体28外,且所述第二固定杆32的端部连接有压板33。使用时,向外拉动手柄40,手柄40通过第一固定杆30带动连接板29上移,移动板9通过第二固定杆32带动压板33上移,从而使压板33与工作台2的上表面相分离,方便木板的放置,当木板放置好后,松开手柄40,连接板29在弹簧31的作用力下向下移动,连接板29通过第二固定杆32带动压板33下移,从而使压板33紧贴木板,实现木板的固定。通过设置第二气缸27,以匹配不同尺寸大小的木板。
所述机架1底端的四个端角处均设有凹槽34,所述凹槽34的槽底固定安装有升降气缸35,所述升降气缸35的输出端连接有滚轮支架36,所述滚轮支架36上设有滚轮37。当需要对铣床进行移动时,升降气缸35驱动滚轮37下移并伸出凹槽34外,通过滚轮37对铣床进行移动;当需要对铣床进行驻停时,升降气缸35驱动滚轮37上移并收纳于凹槽34内。
所述工作台2上设有控制器38,所述控制器38分别与转动电机5、第一气缸12、铣槽电机13、气泵15、换刀气缸16、移动电机22、第二气缸27和升降气缸35电性连接。
综上所述,本实用新型通过换刀气缸、铣刀座和铣刀夹具相配合,可同时装配多个铣刀,在木板加工过程中,能不停机进行铣刀更换,提高了木板加工效率。本实用新型通过设置木板夹持机构,不仅能将木板夹持固定,而且还能匹配不同尺寸的木板。
最后,应当指出,以上实施例仅是本实用新型较有代表性的例子。显然,本实用新型不限于上述实施例,还可以有许多变形。凡是依据本实用新型的技术实质对以上实施例所作的任何简单修改、等同变化与修饰,均应认为属于本实用新型的保护范围。
Claims (5)
1.一种用于家具木板加工的铣床,包括机架,其特征在于,所述机架的顶端设有工作台,所述工作台的四个端角处设有木板夹持机构,所述机架的顶端设有滑动连接于机架的横梁,所述横梁的前侧设有转动电机,所述转动电机的输出端连接有转轴,所述转轴的端部转动连接有转轴座,所述转轴座安装在横梁上,所述转轴上螺纹连接有第一移动块,所述第一移动块上设有移动板,转轴的上方在所述横梁上设有第一滑轨,所述第一滑轨上滑动连接有第二移动块,所述第二移动块和移动板相连,所述移动板上设有第一气缸,所述第一气缸的输出端连接有铣槽电机,所述铣槽电机的输出端连接有气动夹头,所述移动板上还设有气泵,所述气泵通过输气管与气动夹头相连,所述横梁的底端固定安装有换刀气缸,所述换刀气缸的输出端连接有铣刀座,所述铣刀座上设有多个铣刀夹具,所述铣刀夹具等间距设置,所述铣刀夹具卡接有铣刀。
2.根据权利要求1所述一种用于家具木板加工的铣床,其特征在于,所述铣刀的外表面设有环形卡槽,所述铣刀夹具上设有与环形卡槽相匹配的卡口,通过卡口和环形卡槽的卡接配合将铣刀卡接于铣刀夹具。
3.根据权利要求1所述一种用于家具木板加工的铣床,其特征在于,所述横梁的一侧安装有移动电机,所述移动电机的输出端穿过横梁后连接有移动齿轮,所述机架顶端的一侧设有齿条,所述移动齿轮啮合齿条,所述机架顶端的另一侧设有第二滑轨,所述第二滑轨上滑动连接有滑块,所述滑块与横梁的另一侧固定连接。
4.根据权利要求1所述一种用于家具木板加工的铣床,其特征在于,所述木板夹持机构包括第二气缸和壳体,所述第二气缸固定安装在工作台上,所述第二气缸的输出端与壳体相连,所述壳体的内腔内设有连接板,所述连接板的顶端固定连接有第一固定杆,所述第一固定杆的端部贯穿壳体,并延伸至壳体外,且所述第一固定杆的端部连接有手柄,所述第一固定杆的外表面套设有弹簧,所述弹簧的一端与连接板的顶端固定连接,所述弹簧的另一端与壳体的内顶壁固定连接,所述连接板的底端固定连接有第二固定杆,所述第二固定杆的端部贯穿壳体,并延伸至壳体外,且所述第二固定杆的端部连接有压板。
5.根据权利要求1所述一种用于家具木板加工的铣床,其特征在于,所述机架底端的四个端角处均设有凹槽,所述凹槽的槽底固定安装有升降气缸,所述升降气缸的输出端连接有滚轮支架,所述滚轮支架上设有滚轮。
Priority Applications (1)
| Application Number | Priority Date | Filing Date | Title |
|---|---|---|---|
| CN202122920476.5U CN217292688U (zh) | 2021-11-25 | 2021-11-25 | 一种用于家具木板加工的铣床 |
Applications Claiming Priority (1)
| Application Number | Priority Date | Filing Date | Title |
|---|---|---|---|
| CN202122920476.5U CN217292688U (zh) | 2021-11-25 | 2021-11-25 | 一种用于家具木板加工的铣床 |
Publications (1)
| Publication Number | Publication Date |
|---|---|
| CN217292688U true CN217292688U (zh) | 2022-08-26 |
Family
ID=82913425
Family Applications (1)
| Application Number | Title | Priority Date | Filing Date |
|---|---|---|---|
| CN202122920476.5U Active CN217292688U (zh) | 2021-11-25 | 2021-11-25 | 一种用于家具木板加工的铣床 |
Country Status (1)
| Country | Link |
|---|---|
| CN (1) | CN217292688U (zh) |
-
2021
- 2021-11-25 CN CN202122920476.5U patent/CN217292688U/zh active Active
Similar Documents
| Publication | Publication Date | Title |
|---|---|---|
| CN113182722A (zh) | 一种高低压开关柜钣金制造组装机械及组装方法 | |
| CN105798679A (zh) | 小型铣钻床气动换刀装置 | |
| CN111571754B (zh) | 一种方孔机及其加工方法 | |
| CN206185473U (zh) | 一种车铣复合机床 | |
| CN206185474U (zh) | 一种带有刀库的车铣复合机床 | |
| CN217292688U (zh) | 一种用于家具木板加工的铣床 | |
| CN205342613U (zh) | 一种带有刀库装置的悬臂机床 | |
| CN214024478U (zh) | 一种电脑风扇壳盖加工用钻铣机床 | |
| CN210997449U (zh) | 上排屑深孔加工机构 | |
| CN219293313U (zh) | 车床替代铣床加工多尺寸平面工装 | |
| CN209503009U (zh) | 一种汽车零部件生产用钻床 | |
| CN217913357U (zh) | 一种快速定位的数控等离子切割机 | |
| CN205996622U (zh) | 带有刀库装置的精雕机 | |
| CN206326698U (zh) | 一种木材卧式加工中心 | |
| CN206185475U (zh) | 一种带有刀库装置的车铣复合机床 | |
| CN215199813U (zh) | 一种深孔铣槽装置 | |
| CN213053843U (zh) | 一种卧式加工中心机 | |
| CN212351398U (zh) | 一种具有去毛刺装置的卧式铣床 | |
| CN210452418U (zh) | 一种油箱自动夹具 | |
| CN115781819A (zh) | 一种基于多点切割的板材切割装置 | |
| CN222176771U (zh) | 一种五金加工用五金件紧固设备 | |
| CN217371386U (zh) | 一种斜式数控车床排刀结构 | |
| CN207723528U (zh) | 一种智能吸尘器柄钻孔设备 | |
| CN212887469U (zh) | 一种金属工艺品加工用加工台 | |
| CN206185490U (zh) | 一种带有刀架的车铣复合机床 |
Legal Events
| Date | Code | Title | Description |
|---|---|---|---|
| GR01 | Patent grant | ||
| GR01 | Patent grant |