CN217292255U - Novel workstation is used in machine part processing - Google Patents
Novel workstation is used in machine part processing Download PDFInfo
- Publication number
- CN217292255U CN217292255U CN202220311882.3U CN202220311882U CN217292255U CN 217292255 U CN217292255 U CN 217292255U CN 202220311882 U CN202220311882 U CN 202220311882U CN 217292255 U CN217292255 U CN 217292255U
- Authority
- CN
- China
- Prior art keywords
- bolted
- plate
- screw
- mechanical parts
- box body
- Prior art date
- Legal status (The legal status is an assumption and is not a legal conclusion. Google has not performed a legal analysis and makes no representation as to the accuracy of the status listed.)
- Active
Links
- 238000003754 machining Methods 0.000 claims abstract description 14
- 238000005192 partition Methods 0.000 claims description 8
- 238000000034 method Methods 0.000 description 8
- 238000010586 diagram Methods 0.000 description 2
- 238000012986 modification Methods 0.000 description 2
- 230000004048 modification Effects 0.000 description 2
- 230000009286 beneficial effect Effects 0.000 description 1
Images
Classifications
-
- Y—GENERAL TAGGING OF NEW TECHNOLOGICAL DEVELOPMENTS; GENERAL TAGGING OF CROSS-SECTIONAL TECHNOLOGIES SPANNING OVER SEVERAL SECTIONS OF THE IPC; TECHNICAL SUBJECTS COVERED BY FORMER USPC CROSS-REFERENCE ART COLLECTIONS [XRACs] AND DIGESTS
- Y02—TECHNOLOGIES OR APPLICATIONS FOR MITIGATION OR ADAPTATION AGAINST CLIMATE CHANGE
- Y02P—CLIMATE CHANGE MITIGATION TECHNOLOGIES IN THE PRODUCTION OR PROCESSING OF GOODS
- Y02P70/00—Climate change mitigation technologies in the production process for final industrial or consumer products
- Y02P70/10—Greenhouse gas [GHG] capture, material saving, heat recovery or other energy efficient measures, e.g. motor control, characterised by manufacturing processes, e.g. for rolling metal or metal working
Landscapes
- Machine Tool Units (AREA)
Abstract
本实用新型涉及机械零件加工技术领域,且公开了一种新型机械零件加工用工作台,包括箱体;本实用新型通过当零件放置到承载板上后用手握住转盘进行转动,转盘在转动时会通过固定座的配合下带动第二螺杆进行旋转,第二螺杆在旋转时会通过轴承、引导杆和引导槽的配合下带动夹板进行移动,能够对不同大小的零件进行固定,保障了机械零件的加工质量,减少了零件的不合格率,实用性高,同时通过启动电机,电机在启动后会通过轴承的配合下带动第一螺杆进行旋转,第一螺杆在旋转时会通过导轨和导块的配合下带动固定板向上移动,能够实现对承载板的高度进行调节,适用于不同身高的工作人员进行操作,灵活性高。
The utility model relates to the technical field of machining of mechanical parts, and discloses a novel working table for machining of mechanical parts, which comprises a box body; the utility model rotates by holding a turntable by hand after the parts are placed on a bearing plate, and the turntable rotates during the rotation. It will drive the second screw to rotate through the cooperation of the fixed seat, and the second screw will drive the splint to move through the cooperation of the bearing, the guide rod and the guide groove when it rotates, which can fix parts of different sizes and ensure the mechanical The processing quality of the parts reduces the failure rate of the parts, and has high practicability. At the same time, by starting the motor, the motor will drive the first screw to rotate through the cooperation of the bearing after starting, and the first screw will pass the guide rail and guide when rotating. With the cooperation of the block, the fixed plate is moved upward, which can realize the adjustment of the height of the bearing plate, which is suitable for the operation of the staff of different heights, and has high flexibility.
Description
技术领域technical field
本实用新型涉及机械零件加工技术领域,具体为一种新型机械零件加工用工作台。The utility model relates to the technical field of machining of mechanical parts, in particular to a novel working table for machining of mechanical parts.
背景技术Background technique
机械零件又称机械元件是构成机械的基本元件,是组成机械和机器的不可分拆的单个制件,机械零件既是研究和设计各种设备中机械基础件的一门学科,也是零件和部件的泛称,机械零件在加工时需要使用到工作台对其进行放置,目前现有的工作台功能较为单一,不具备高度调节功能,无法适用于不同身高的工作人员进行操作,降低了工作人员操作时的舒适度,灵活性较差,而且无法对不同大小的机械零件进行限位,如果机械零件在加工过程中出现晃动和移动时会对零件的加工质量造成严重的影响,实用性较差。Mechanical parts, also known as mechanical components, are the basic components that constitute machinery, and are inseparable single parts that make up machinery and machines. Generally speaking, mechanical parts need to be placed on a workbench during processing. At present, the existing workbench has a single function, does not have a height adjustment function, and cannot be operated by staff of different heights, which reduces the time for staff to operate. The comfort of the machine is poor, the flexibility is poor, and it is impossible to limit the mechanical parts of different sizes. If the mechanical parts shake and move during the processing, it will seriously affect the processing quality of the parts, and the practicability is poor.
实用新型内容Utility model content
本实用新型的目的在于提供一种新型机械零件加工用工作台,具备了能够实现对承载板的高度进行调节而且能够对不同大小的零件进行固定的优点,解决了现有的工作台不具备高度调节功能而且机械零件在加工过程中容易出现晃动和移动的问题。The purpose of the present utility model is to provide a new workbench for machining mechanical parts, which has the advantages of being able to adjust the height of the bearing plate and fix parts of different sizes, and solve the problem that the existing workbench does not have a height Adjustment function and mechanical parts are prone to shaking and movement problems during processing.
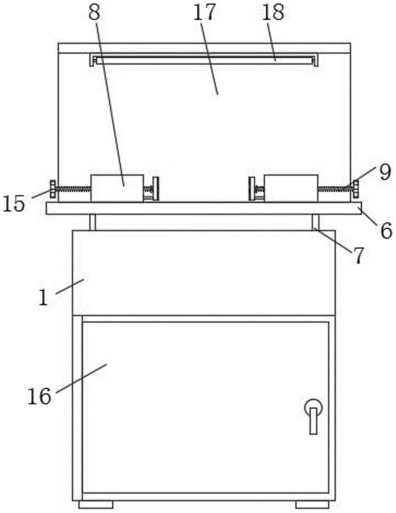
为实现上述目的,本实用新型提供如下技术方案:一种新型机械零件加工用工作台,包括箱体,所述箱体的内部栓接有隔板,所述箱体的内部通过轴承转动连接有第一螺杆,所述第一螺杆的底部固定套接有电机,所述第一螺杆的表面螺纹连接有固定板,所述箱体的顶部设置有承载板,所述承载板的底部与固定板之间栓接有两个连接柱,所述箱体的顶部开设有与连接柱配合使用的通孔,所述承载板的顶部栓接有两个固定座,所述固定座的内部螺纹连接有第二螺杆,两个所述第二螺杆相对的一侧均栓接有夹板。In order to achieve the above purpose, the present utility model provides the following technical solutions: a novel working table for machining mechanical parts, comprising a box body, a partition plate is bolted on the inside of the box body, and the inside of the box body is rotatably connected with a bearing through a bearing. The first screw, the bottom of the first screw is fixedly sleeved with a motor, the surface of the first screw is threadedly connected with a fixing plate, the top of the box is provided with a bearing plate, and the bottom of the bearing plate is connected with the fixing plate There are two connecting posts bolted between them, the top of the box body is provided with through holes for use with the connecting posts, the top of the carrying plate is bolted with two fixing seats, and the inner threaded connections of the fixing seats are For the second screw rods, splints are bolted on opposite sides of the two second screw rods.
优选的,所述电机的表面固定套接有环形板,所述环形板的底部与隔板之间栓接有两个连接板。Preferably, an annular plate is fixedly sleeved on the surface of the motor, and two connecting plates are bolted between the bottom of the annular plate and the partition plate.
优选的,所述箱体的内部栓接有两个导轨,所述固定板的两侧均栓接有与导轨滑动连接的导块。Preferably, two guide rails are bolted on the inside of the box body, and guide blocks slidably connected to the guide rails are bolted on both sides of the fixing plate.
优选的,两个所述夹板背对的一侧均栓接有引导杆,所述固定座的一侧开设有与引导杆配合使用的引导槽。Preferably, guide rods are bolted on the opposite sides of the two splints, and a guide groove for cooperating with the guide rods is provided on one side of the fixing seat.
优选的,所述第二螺杆的另一端栓接有转盘。Preferably, the other end of the second screw is bolted with a turntable.
优选的,所述箱体的正面通过铰链铰接有门板,所述门板的正面栓接有把手。Preferably, a door panel is hinged on the front of the box body through a hinge, and a handle is bolted to the front of the door panel.
优选的,所述承载板的顶部栓接有顶板,所述顶板的底部安装有照明灯。Preferably, a top plate is bolted on the top of the carrying plate, and a lighting lamp is installed on the bottom of the top plate.
与现有技术相比,本实用新型的有益效果如下:Compared with the prior art, the beneficial effects of the present utility model are as follows:
本实用新型通过当零件放置到承载板上后用手握住转盘进行转动,转盘在转动时会通过固定座的配合下带动第二螺杆进行旋转,第二螺杆在旋转时会通过轴承、引导杆和引导槽的配合下带动夹板进行移动,能够对不同大小的零件进行固定,保障了机械零件的加工质量,减少了零件的不合格率,实用性高;The utility model rotates by holding the turntable by hand after the parts are placed on the bearing plate, the turntable will drive the second screw rod to rotate under the cooperation of the fixing seat during rotation, and the second screw rod will pass through the bearing and the guide rod when rotating. In cooperation with the guide groove, the splint is driven to move, and parts of different sizes can be fixed, which ensures the processing quality of mechanical parts, reduces the failure rate of parts, and has high practicability;
本实用新型通过启动电机,电机在启动后会通过轴承的配合下带动第一螺杆进行旋转,第一螺杆在旋转时会通过导轨和导块的配合下带动固定板向上移动,能够实现对承载板的高度进行调节,适用于不同身高的工作人员进行操作,灵活性高。In the utility model, by starting the motor, the motor will drive the first screw rod to rotate through the cooperation of the bearing after starting, and the first screw rod will drive the fixed plate to move upward through the cooperation of the guide rail and the guide block when rotating, so that the bearing plate can be moved upwards. The height of the machine can be adjusted, and it is suitable for staff of different heights to operate, with high flexibility.
附图说明Description of drawings
图1为本实用新型结构正面示意图;Fig. 1 is the front schematic view of the structure of the utility model;
图2为本实用新型结构正面剖视示意图;Fig. 2 is the front sectional schematic diagram of the structure of the utility model;
图3为本实用新型图2中A处放大示意图;Fig. 3 is the enlarged schematic diagram of place A in Fig. 2 of the utility model;
图4为本实用新型图2中B处放大示意图。FIG. 4 is an enlarged schematic view of the position B in FIG. 2 of the present utility model.
图中:1、箱体;2、隔板;3、第一螺杆;4、电机;5、固定板;6、承载板;7、连接柱;8、固定座;9、第二螺杆;10、夹板;11、环形板;12、导轨;13、导块;14、引导杆;15、转盘;16、门板;17、顶板;18、照明灯。In the figure: 1. Box body; 2. Partition plate; 3. First screw rod; 4. Motor; 5. Fixed plate; 6. Loading plate; 7. Connecting column; , splint; 11, annular plate; 12, guide rail; 13, guide block; 14, guide rod; 15, turntable; 16, door panel; 17, top plate; 18, lighting.
具体实施方式Detailed ways
下面将结合本实用新型实施例中的附图,对本实用新型实施例中的技术方案进行清楚、完整地描述,显然,所描述的实施例仅仅是本实用新型一部分实施例,而不是全部的实施例。基于本实用新型中的实施例,本领域普通技术人员在没有做出创造性劳动前提下所获得的所有其他实施例,都属于本实用新型保护的范围。The technical solutions in the embodiments of the present utility model will be clearly and completely described below with reference to the accompanying drawings in the embodiments of the present utility model. Obviously, the described embodiments are only a part of the embodiments of the present utility model, rather than all the implementations. example. Based on the embodiments of the present invention, all other embodiments obtained by those of ordinary skill in the art without creative work fall within the protection scope of the present invention.
请参阅图1、图2、图3和图4所示,一种新型机械零件加工用工作台,包括箱体1,箱体1的内部栓接有隔板2,箱体1的内部通过轴承转动连接有第一螺杆3,第一螺杆3的底部固定套接有电机4,第一螺杆3的表面螺纹连接有固定板5,箱体1的顶部设置有承载板6,承载板6的底部与固定板5之间栓接有两个连接柱7,箱体1的顶部开设有与连接柱7配合使用的通孔,承载板6的顶部栓接有两个固定座8,固定座8的内部螺纹连接有第二螺杆9,两个第二螺杆9相对的一侧均栓接有夹板10,通过当零件放置到承载板6上后用手握住转盘15进行转动,转盘15在转动时会通过固定座8的配合下带动第二螺杆9进行旋转,第二螺杆9在旋转时会通过轴承、引导杆14和引导槽的配合下带动夹板10进行移动,能够对不同大小的零件进行固定,保障了机械零件的加工质量,减少了零件的不合格率,实用性高,同时通过启动电机4,电机4在启动后会通过轴承的配合下带动第一螺杆3进行旋转,第一螺杆3在旋转时会通过导轨12和导块13的配合下带动固定板5向上移动,能够实现对承载板6的高度进行调节,适用于不同身高的工作人员进行操作,灵活性高。Please refer to Fig. 1, Fig. 2, Fig. 3 and Fig. 4, a new type of workbench for machining mechanical parts, including a
进一步的,电机4的表面固定套接有环形板11,环形板11的底部与隔板2之间栓接有两个连接板,通过环形板11和连接板的设置,能够对电机4进行固定,防止电机4在运行过程中掉落下来。Further, an
进一步的,箱体1的内部栓接有两个导轨12,固定板5的两侧均栓接有与导轨12滑动连接的导块13,通过导轨12和导块13的设置,能够对固定板5进行限位,防止固定板5在上下移动的过程中出现倾斜的情况。Further, two
进一步的,两个夹板10背对的一侧均栓接有引导杆14,固定座8的一侧开设有与引导杆14配合使用的引导槽,通过引导杆14和引导槽的设置,能够对夹板10进行限位,防止夹板10出现旋转的情况。Further, the opposite sides of the two
进一步的,第二螺杆9的另一端栓接有转盘15,通过转盘15的设置,能够使工作人员在需要对第二螺杆9进行旋转时更加方便。Further, a
进一步的,箱体1的正面通过铰链铰接有门板16,门板16的正面栓接有把手,通过门板16的设置,能够对箱体1内放置的物品进行储存,提高了箱体1内部的空间利用率。Further, a
进一步的,承载板6的顶部栓接有顶板17,顶板17的底部安装有照明灯18,通过顶板17和照明灯18的设置,能够对承载板6上的机械零件进行照亮,方便工作人员进行加工。Further, a
工作原理:在需要对机械零件进行加工时首先将零件拿取放置到承载板6上,当零件放置完成后用手握住转盘15进行转动,转盘15在转动时会通过固定座8的配合下带动第二螺杆9进行旋转,第二螺杆9在旋转时会通过轴承、引导杆14和引导槽的配合下带动夹板10进行移动,夹板10在移动后会对承载板6上放置的零件进行夹紧并固定,当需要对承载板6的高度进行调节时启动电机4,电机4在启动后会通过轴承的配合下带动第一螺杆3进行旋转,第一螺杆3在旋转时会通过导轨12和导块13的配合下带动固定板5向上移动,固定板5在向上移动时会通过连接柱7和通孔的配合下带动承载板6一起向上移动。Working principle: When the mechanical parts need to be processed, the parts are first taken and placed on the
需要说明的是,在本文中,诸如第一和第二等之类的关系术语仅仅用来将一个实体或者操作与另一个实体或操作区分开来,而不一定要求或者暗示这些实体或操作之间存在任何这种实际的关系或者顺序。而且,术语“包括”、“包含”或者其任何其他变体意在涵盖非排他性的包含,从而使得包括一系列要素的过程、方法、物品或者设备不仅包括那些要素,而且还包括没有明确列出的其他要素,或者是还包括为这种过程、方法、物品或者设备所固有的要素。在没有更多限制的情况下,由语句“包括一个……”限定的要素,并不排除在包括所述要素的过程、方法、物品或者设备中还存在另外的相同要素。It should be noted that, in this document, relational terms such as first and second are only used to distinguish one entity or operation from another entity or operation, and do not necessarily require or imply any relationship between these entities or operations. any such actual relationship or sequence exists. Moreover, the terms "comprising", "comprising" or any other variation thereof are intended to encompass a non-exclusive inclusion such that a process, method, article or device that includes a list of elements includes not only those elements, but also includes not explicitly listed or other elements inherent to such a process, method, article or apparatus. Without further limitation, an element qualified by the phrase "comprising a..." does not preclude the presence of additional identical elements in a process, method, article or apparatus that includes the element.
尽管已经示出和描述了本实用新型的实施例,对于本领域的普通技术人员而言,可以理解在不脱离本实用新型的原理和精神的情况下可以对这些实施例进行多种变化、修改、替换和变型,本实用新型的范围由所附权利要求及其等同物限定。Although the embodiments of the present invention have been shown and described, it will be understood by those skilled in the art that various changes and modifications can be made to these embodiments without departing from the principles and spirit of the present invention , alternatives and modifications, the scope of the present invention is defined by the appended claims and their equivalents.
Claims (7)
Priority Applications (1)
| Application Number | Priority Date | Filing Date | Title |
|---|---|---|---|
| CN202220311882.3U CN217292255U (en) | 2022-02-16 | 2022-02-16 | Novel workstation is used in machine part processing |
Applications Claiming Priority (1)
| Application Number | Priority Date | Filing Date | Title |
|---|---|---|---|
| CN202220311882.3U CN217292255U (en) | 2022-02-16 | 2022-02-16 | Novel workstation is used in machine part processing |
Publications (1)
| Publication Number | Publication Date |
|---|---|
| CN217292255U true CN217292255U (en) | 2022-08-26 |
Family
ID=82928874
Family Applications (1)
| Application Number | Title | Priority Date | Filing Date |
|---|---|---|---|
| CN202220311882.3U Active CN217292255U (en) | 2022-02-16 | 2022-02-16 | Novel workstation is used in machine part processing |
Country Status (1)
| Country | Link |
|---|---|
| CN (1) | CN217292255U (en) |
-
2022
- 2022-02-16 CN CN202220311882.3U patent/CN217292255U/en active Active
Similar Documents
| Publication | Publication Date | Title |
|---|---|---|
| CN210147036U (en) | Clamp for mechanical drilling | |
| CN212070443U (en) | An adjustable workpiece clamping device for a radial drilling machine | |
| CN217292255U (en) | Novel workstation is used in machine part processing | |
| CN218211070U (en) | A hole detection device for auto parts | |
| CN216504092U (en) | Surface treatment device for production and processing of locking nut and matched product | |
| CN216399553U (en) | Electromechanical device auxiliary manufacturing device | |
| CN111266890A (en) | Working frame for machining | |
| CN211361429U (en) | Spare part adds clamping apparatus | |
| CN220280128U (en) | Marble processing is with lathe processing clamping device | |
| CN219598732U (en) | Part fixture convenient to adjust | |
| CN219094341U (en) | Sun gear cutting machine | |
| CN211941294U (en) | Fixing device is used in production and processing of wood furniture | |
| CN115522037A (en) | Automatic pressure quenching structure of integral passive bevel gear | |
| CN214520074U (en) | Electromechanical device maintains auxiliary device | |
| CN222680880U (en) | A placement stand for steel ring processing | |
| CN222818402U (en) | Motor shaft tangential key groove processing device | |
| CN219881841U (en) | Radial drilling machine | |
| CN221968021U (en) | Workbench for integrated circuit production detection with convenient detection operation | |
| CN219418990U (en) | A turning mechanism for semiconductor parts processing | |
| CN221984890U (en) | Auxiliary fixing device for lamp panel processing | |
| CN218698601U (en) | Processing platform is used in production of water pump chassis | |
| CN219542434U (en) | A jig for drilling inclined holes for a valve body | |
| CN119388522B (en) | Intelligent cutting device for furniture boards | |
| CN216921263U (en) | Supporting platform for building construction | |
| CN220337982U (en) | Horizontal supporting mechanism for computer assembly |
Legal Events
| Date | Code | Title | Description |
|---|---|---|---|
| GR01 | Patent grant | ||
| GR01 | Patent grant | ||
| TR01 | Transfer of patent right | ||
| TR01 | Transfer of patent right |
Effective date of registration: 20231110 Address after: South Factory Building, No. 109 Lutai Avenue, High tech Zone, Zibo City, Shandong Province, 255000 Patentee after: Shandong Sanfeng Robot Technology Co.,Ltd. Address before: North Shuangjiang Road, Street Town, Beichen District, Tianjin 300499 Patentee before: Tianjin Xianglong Weiye Mould Products Co.,Ltd. |
|
| TR01 | Transfer of patent right | ||
| TR01 | Transfer of patent right |
Effective date of registration: 20241126 Address after: 1st Floor, Building 2, Tianwei Industrial Park, No. 75 Taihua Road, Binhai New Area Economic and Technological Development Zone, Tianjin 300450 Patentee after: Tianjin Wanhong Technology Co.,Ltd. Country or region after: China Address before: South Factory Building, No. 109 Lutai Avenue, High tech Zone, Zibo City, Shandong Province, 255000 Patentee before: Shandong Sanfeng Robot Technology Co.,Ltd. Country or region before: China |
