CN217291302U - 一种自行车货架外框一体成型装置 - Google Patents

一种自行车货架外框一体成型装置 Download PDF

Info

Publication number
CN217291302U
CN217291302U CN202220625932.5U CN202220625932U CN217291302U CN 217291302 U CN217291302 U CN 217291302U CN 202220625932 U CN202220625932 U CN 202220625932U CN 217291302 U CN217291302 U CN 217291302U
Authority
CN
China
Prior art keywords
machine
straightening
cutting
outer frame
vertical
Prior art date
Legal status (The legal status is an assumption and is not a legal conclusion. Google has not performed a legal analysis and makes no representation as to the accuracy of the status listed.)
Active
Application number
CN202220625932.5U
Other languages
English (en)
Inventor
曹铃楠
Current Assignee (The listed assignees may be inaccurate. Google has not performed a legal analysis and makes no representation or warranty as to the accuracy of the list.)
TANGSHAN JINHENGTONG BICYCLE PARTS CO Ltd
Original Assignee
TANGSHAN JINHENGTONG BICYCLE PARTS CO Ltd
Priority date (The priority date is an assumption and is not a legal conclusion. Google has not performed a legal analysis and makes no representation as to the accuracy of the date listed.)
Filing date
Publication date
Application filed by TANGSHAN JINHENGTONG BICYCLE PARTS CO Ltd filed Critical TANGSHAN JINHENGTONG BICYCLE PARTS CO Ltd
Priority to CN202220625932.5U priority Critical patent/CN217291302U/zh
Application granted granted Critical
Publication of CN217291302U publication Critical patent/CN217291302U/zh
Active legal-status Critical Current
Anticipated expiration legal-status Critical

Links

Images

Landscapes

  • Warehouses Or Storage Devices (AREA)

Abstract

本实用新型涉及一种自行车货架外框一体成型装置,其特征在于:由自动放料机及成型机构成,在所述成型机的前方放置有自动放料机,所述的成型机包括校直机构、倒角机构、裁断机构、成型机构、物料转移机构及对焊机构,在所述成型机的基座上安装有竖直设置的立架,在立架上从右至左依次设置有校直机构、倒角机构、裁断机构、成型机构及对焊机构,在成型机构与对焊机构之间滑动安装有物料转移机构。本实用新型结构设计科学合理,具有方便操作、提高成型效率、降低成本、节省人力、易于实现的优点,是一种具有较高创新性的自行车货架外框一体成型装置。

Description

一种自行车货架外框一体成型装置
技术领域
本实用新型属于自行车配件加工领域,涉及一种货架外框成型装置,特别是一种自行车货架外框一体成型装置。
背景技术
随着城市化进程的加快以及人们环保意识的加强,自行车这种交通工具又重新回到了人们的视线。货架是自行车的常用配件,其一般采用横轴、外框和支腿焊接制成,其中外框形成一个闭合的完整框架,在框架内采用横轴和支腿交叉设置形成“井”字结构。
现有外框的成型加工,需要购入裁切好的钢筋,由人工将钢筋转移到倒角设备上对其两端进行倒角操作,然后再送到成型设备上进行折弯操作,使其形成一个首尾相接的框架,然后再由人工转移到焊接设备上,完成首尾的焊接连接。
整个成型工艺不连贯,各步单独在相应的设备上完成,同时还需要人工进行工序之间的物料转运,存在加工效率低、劳动强度大、设备分散不利于车间布局的问题。
发明内容
本实用新型的目的在于提供一种结构设计科学合理,提高成型效率、降低劳动强度、利于车间布局、易于实现的一种自行车货架外框一体成型装置。
本实用新型解决其技术问题是通过以下技术方案实现的:
一种自行车货架外框一体成型装置,其特征在于:由自动放料机及成型机构成,在所述成型机的前方放置有自动放料机,所述的成型机包括校直机构、倒角机构、裁断机构、成型机构、物料转移机构及对焊机构,在所述成型机的基座上安装有竖直设置的立架,在立架上从右至左依次设置有校直机构、倒角机构、裁断机构、成型机构及对焊机构,在成型机构与对焊机构之间滑动安装有物料转移机构。
而且,所述的校直机构由横向校直单元、纵向校直单元及传送单元构成,所述的横向校直单元、纵向校直单元及传送单元从右至左依次设置,所述的横向校直单元由横板以及在横板上间隔均布的校直轮构成,各校直轮通过螺杆实现水平方向的调节;所述的纵向校直单元由立板以及在立板上间隔均布的校直轮构成,各校直轮通过螺杆实现上下方向上的调节;所述的传送单元由上传送辊、下传送辊及电机构成,在所述立架的立面上安装有由电机齿轮驱动的下传送辊,在下传送辊的正上方安装有上传送辊,各上传送辊通过螺杆实现上下调节。
而且,所述的倒角机构由托架、倒角机及外罩构成,在所述的立架上安装有托架,在托架上安装有倒角机,在倒角机的外部罩装有外罩,在外罩的左右两端上均设置有钢筋穿口,在外罩的前端面上设有镶装透明塑料板的观察窗口。
而且,所述的裁断机构由裁断气缸、裁切刀及裁断模具构成,所述的裁断模具由模座、过料槽及断料槽构成,在所述的立架上倒角机构的左端安装有模座,在模座上设有与钢筋穿口同轴的过线槽,在模座的中部设有裁断槽,在裁断模具的前端通过安装架安装有由裁断气缸驱动的裁切刀,该裁切刀与裁断槽相对设置。
而且,所述的成型机构包括上折弯气缸、上压块、模芯、下折弯气缸、下压块及折弯轮,在所述的立架上安装有上折弯气缸,在该上折弯气缸的缸杆上驱动安装有U形的上压块,在与上压块相对的位置上设有模芯,模芯的上芯体与下芯体上下相对且间隔设置,在下芯体的左右两侧均设有斜向设置有下压块,在下压块上设置有折弯轮,所述的下压块由下折弯气缸驱动。
而且,所述的物料转移机构由十字滑台及气爪构成,在所述的立架上安装有十字滑台,在十字滑台前后移动的滑台上安装有两个气爪,两个气爪与货架外框的两竖直部相对应。
而且,所述的对焊机构为对焊机,在所述的立架上设有一前端开口的安装槽,在该安装槽内安装有对焊机。
而且,在所述安装槽的下槽壁处设有向下倾斜设置的导料板。
而且,所述的成型机还包括下料机构,在对焊机构的上端立架上安装有n形的安装块,在安装块的下端开口处转动安装有下料长块,该下料长块由置于立架后部的下料气缸驱动抬合,在下料长块上与货架外框上端水平部对应的位置安装有向前水平伸出的托杆,在下料长块的两端与该托杆水平的位置水平设置有辅助杆。
本实用新型的优点和有益效果为:
1、本自行车货架外框一体成型装置,实现了盘料的自动上料、校直、倒角、裁断、成型及对焊工序,一次直接成型,大大提高了成型效率、节省了人工;同时,本成型装置能够对盘料直接进行加工,省去了购入裁断件的费用,节省了产品的成本。同时,由于生产过程的全自动化,减少了生产过程中人工的使用,使产品的品质更加稳定。
2、本自行车货架外框一体成型装置,通过倒角机处外罩的设计,避免了在倒角过程中金属屑的飞溅,观察窗口的设置,方便对倒角情况的监控。
3、本自行车货架外框一体成型装置,通过下料机构的设置,能够对加工好后的货架外框进行推动下料,保证下料的顺畅性;加工好后的货架外框顺着导料板落入料箱。
4、本实用新型结构设计科学合理,具有方便操作、提高成型效率、降低成本、节省人力、易于实现的优点,是一种具有较高创新性的自行车货架外框一体成型装置。
附图说明
图1为本实用新型的结构示意图;
图2为本实用新型裁断机构的结构示意图;
图3为本实用新型成型机构的结构示意图;
图4为本实用新型下料机构的结构示意图;
图5为本实用新型物料转移机构的结构示意图;
图6为本实用新型货架外框的结构示意图;
图7为图6的A部放大图。
附图标记说明:
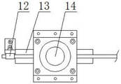
1-立架、2-物料转移机构、3-下料机构、4-对焊机构、5-成型机构、6-模芯、7-裁断机构、8-倒角机构、9-传送单元、10-纵向校直单元、11-横向校直单元、12-导向轮、13-裁断模具、14-裁断气缸、15-上折弯气缸、16-上压块、17-上芯体、18-下芯体、19-折弯轮、20-下压块、21-下折弯气缸、22-安装块、23-下料长块、24-托杆、25-辅助杆、26-滑座、27-左右滑台、28-前后滑台、29-气爪、30-上水平部、31-竖直部、32-倒角结构。
具体实施方式
下面通过具体实施例对本实用新型作进一步详述,以下实施例只是描述性的,不是限定性的,不能以此限定本实用新型的保护范围。
一种自行车货架外框一体成型装置,其创新之处在于:由自动放料机及成型机构成,在所述成型机的前方放置有自动放料机,所述的成型机包括校直机构、倒角机构8、裁断机构7、成型机构5、物料转移机构2及对焊机构4,在所述成型机的基座上安装有竖直设置的立架1,在立架上从右至左依次设置有校直机构、倒角机构、裁断机构、成型机构及对焊机构,在成型机构与对焊机构之间滑动安装有物料转移机构。
所述的校直机构由横向校直单元11、纵向校直单元10及传送单元9构成,所述的横向校直单元、纵向校直单元及传送单元从右至左依次设置,所述的横向校直单元由横板以及在横板上间隔均布的校直轮构成,各校直轮通过螺杆实现水平方向的调节;所述的纵向校直单元由立板以及在立板上间隔均布的校直轮构成,各校直轮通过螺杆实现上下方向上的调节;所述的传送单元由上传送辊、下传送辊及电机构成,在所述立架的立面上安装有由电机齿轮驱动的下传送辊,在下传送辊的正上方安装有上传送辊,各上传送辊通过螺杆实现上下调节。
所述的倒角机构由托架、倒角机及外罩(图中未示出)构成,在所述的立架上安装有托架,在托架上安装有倒角机,在倒角机的外部罩装有外罩,在外罩的左右两端上均设置有钢筋穿口,在外罩的前端面上设有镶装透明塑料板的观察窗口。
所述的裁断机构由裁断气缸14、裁切刀及裁断模具13构成,所述的裁断模具由模座、过料槽及断料槽构成,在所述的立架上倒角机构的左端安装有模座,在模座上设有与钢筋穿口同轴的过线槽,在模座的中部设有裁断槽,在裁断模具的前端通过安装架安装有由裁断气缸驱动的裁切刀,该裁切刀与裁断槽相对设置,在裁断模具的左端设有导向轮12,所述的钢筋由过线槽及导轮之间通过。
所述的成型机构包括上折弯气缸15、上压块16、模芯6、下折弯气缸21、下压块20及折弯轮19,在所述的立架上安装有上折弯气缸,在该上折弯气缸的缸杆上驱动安装有U形的上压块,在与上压块相对的位置上设有模芯,模芯的上芯体17与下芯体18上下相对且间隔设置,在下芯体的左右两侧均设有斜向设置有下压块,在下压块上设置有折弯轮,所述的下压块由下折弯气缸驱动。上压块下压后用于成型外框的上水平部30及两侧的竖直部31,两侧的下压块在折弯轮的配合下,完成下水平部的成型。
所述的物料转移机构由十字滑台及气爪29构成,在所述的立架上安装有十字滑台,左右滑台27在滑座26上左右滑动,在左右滑台的下部滑动安装有前后移动的前后滑台28,在前后滑台上安装有两个气爪,两个气爪与货架外框的两竖直部相对应。
所述的对焊机构为对焊机,在所述的立架上设有一前端开口的安装槽,在该安装槽内安装有对焊机。
在所述安装槽的下槽壁处设有向下倾斜设置的导料板33。导料板可将成型后的货架外框送入料箱内。
所述的成型机还包括下料机构3,在对焊机构的上端立架上安装有n形的安装块22,在安装块的下端开口处转动安装有下料长块23,该下料长块由置于立架后部的下料气缸驱动抬合,在下料长块上与货架外框上端水平部对应的位置安装有向前水平伸出的托杆24,在下料长块的两端与该托杆水平的位置水平设置有辅助杆25。货架外框的上水平部挂装在托杆上,下料气缸驱动下料长块抬起,通过两侧的辅助杆,帮助货架外框下料。
工作原理:
使用时,将成盘的钢筋置于自动放料机上,由自动放料机自动放料,钢筋的端部依次经过横向校直及纵向校直,由传送单元上的传送辊将钢筋向后序传送;钢筋在倒角机处进行倒角,然后传送到裁断机构处,通过裁切刀对两倒角结构32之间的位置进行切断,此时左侧的钢筋段为左右两端设倒角的结构,该钢筋段在模芯处,通过上压块下压以及下压块、折弯轮的配合,完成外框的成型;物料转移机构滑动到此处,向前移动后通过气爪夹持外框,而后,向后移动,再向左移动,移动到对焊机处进行两倒角部分的对焊,此时,外框挂装在托杆上,物料转移机构继续回到成型机构处;对焊好以后,下料气缸动作,将加工好的外框外推下料。
尽管为说明目的公开了本实用新型的实施例和附图,但是本领域的技术人员可以理解:在不脱离本实用新型及所附权利要求的精神和范围内,各种替换、变化和修改都是可能的,因此,本实用新型的范围不局限于实施例和附图所公开的内容。

Claims (9)

1.一种自行车货架外框一体成型装置,其特征在于:由自动放料机及成型机构成,在所述成型机的前方放置有自动放料机,所述的成型机包括校直机构、倒角机构、裁断机构、成型机构、物料转移机构及对焊机构,在所述成型机的基座上安装有竖直设置的立架,在立架上从右至左依次设置有校直机构、倒角机构、裁断机构、成型机构及对焊机构,在成型机构与对焊机构之间滑动安装有物料转移机构。
2.根据权利要求1所述的一种自行车货架外框一体成型装置,其特征在于:所述的校直机构由横向校直单元、纵向校直单元及传送单元构成,所述的横向校直单元、纵向校直单元及传送单元从右至左依次设置,所述的横向校直单元由横板以及在横板上间隔均布的校直轮构成,各校直轮通过螺杆实现水平方向的调节;所述的纵向校直单元由立板以及在立板上间隔均布的校直轮构成,各校直轮通过螺杆实现上下方向上的调节;所述的传送单元由上传送辊、下传送辊及电机构成,在所述立架的立面上安装有由电机齿轮驱动的下传送辊,在下传送辊的正上方安装有上传送辊,各上传送辊通过螺杆实现上下调节。
3.根据权利要求1所述的一种自行车货架外框一体成型装置,其特征在于:所述的倒角机构由托架、倒角机及外罩构成,在所述的立架上安装有托架,在托架上安装有倒角机,在倒角机的外部罩装有外罩,在外罩的左右两端上均设置有钢筋穿口,在外罩的前端面上设有镶装透明塑料板的观察窗口。
4.根据权利要求1所述的一种自行车货架外框一体成型装置,其特征在于:所述的裁断机构由裁断气缸、裁切刀及裁断模具构成,所述的裁断模具由模座、过料槽及断料槽构成,在所述的立架上倒角机构的左端安装有模座,在模座上设有与钢筋穿口同轴的过线槽,在模座的中部设有裁断槽,在裁断模具的前端通过安装架安装有由裁断气缸驱动的裁切刀,该裁切刀与裁断槽相对设置。
5.根据权利要求1所述的一种自行车货架外框一体成型装置,其特征在于:所述的成型机构包括上折弯气缸、上压块、模芯、下折弯气缸、下压块及折弯轮,在所述的立架上安装有上折弯气缸,在该上折弯气缸的缸杆上驱动安装有U形的上压块,在与上压块相对的位置上设有模芯,模芯的上芯体与下芯体上下相对且间隔设置,在下芯体的左右两侧均设有斜向设置有下压块,在下压块上设置有折弯轮,所述的下压块由下折弯气缸驱动。
6.根据权利要求1所述的一种自行车货架外框一体成型装置,其特征在于:所述的物料转移机构由十字滑台及气爪构成,在所述的立架上安装有十字滑台,在十字滑台前后移动的滑台上安装有两个气爪,两个气爪与货架外框的两竖直部相对应。
7.根据权利要求1所述的一种自行车货架外框一体成型装置,其特征在于:所述的对焊机构为对焊机,在所述的立架上设有一前端开口的安装槽,在该安装槽内安装有对焊机。
8.根据权利要求7所述的一种自行车货架外框一体成型装置,其特征在于:在所述安装槽的下槽壁处设有向下倾斜设置的导料板。
9.根据权利要求1所述的一种自行车货架外框一体成型装置,其特征在于:所述的成型机还包括下料机构,在对焊机构的上端立架上安装有n形的安装块,在安装块的下端开口处转动安装有下料长块,该下料长块由置于立架后部的下料气缸驱动抬合,在下料长块上与货架外框上端水平部对应的位置安装有向前水平伸出的托杆,在下料长块的两端与该托杆水平的位置水平设置有辅助杆。
CN202220625932.5U 2022-03-22 2022-03-22 一种自行车货架外框一体成型装置 Active CN217291302U (zh)

Priority Applications (1)

Application Number Priority Date Filing Date Title
CN202220625932.5U CN217291302U (zh) 2022-03-22 2022-03-22 一种自行车货架外框一体成型装置

Applications Claiming Priority (1)

Application Number Priority Date Filing Date Title
CN202220625932.5U CN217291302U (zh) 2022-03-22 2022-03-22 一种自行车货架外框一体成型装置

Publications (1)

Publication Number Publication Date
CN217291302U true CN217291302U (zh) 2022-08-26

Family

ID=82935494

Family Applications (1)

Application Number Title Priority Date Filing Date
CN202220625932.5U Active CN217291302U (zh) 2022-03-22 2022-03-22 一种自行车货架外框一体成型装置

Country Status (1)

Country Link
CN (1) CN217291302U (zh)

Cited By (1)

* Cited by examiner, † Cited by third party
Publication number Priority date Publication date Assignee Title
CN118989189A (zh) * 2024-09-02 2024-11-22 德魁智能装备(苏州)有限公司 一种床网边框生产线

Cited By (1)

* Cited by examiner, † Cited by third party
Publication number Priority date Publication date Assignee Title
CN118989189A (zh) * 2024-09-02 2024-11-22 德魁智能装备(苏州)有限公司 一种床网边框生产线

Similar Documents

Publication Publication Date Title
CN210703586U (zh) 一种板材裁剪折弯一体机
CN110883834B (zh) 一种自动剁刀式切药装置
CN212578007U (zh) 一种自动切断整理工件的数控折弯机
CN217291302U (zh) 一种自行车货架外框一体成型装置
CN214053259U (zh) 一种钢结构u型板材成型模具
CN109366610B (zh) 一种自动模切机
CN201219576Y (zh) 一种拉链穿头机
CN217858331U (zh) 一种稳定杆的自动加工系统
CN120081156B (zh) 一种用于锻件坯料锯切的上料装置
CN214110652U (zh) 一种连排软管分切设备
CN221086766U (zh) 一种铝型材牵引装置
CN218534680U (zh) 一种两复合塑料条精密定长多段裁切装置
CN204747174U (zh) 一种自动冲压装置
CN2925846Y (zh) 吸塑机的切割及夹片装置
CN207615737U (zh) 一种钢板的自动化剪切装置
CN109513845B (zh) 用于夹持红冲原料的机械手
CN217798282U (zh) 一种s型管自动折弯机
CN215849266U (zh) 一种自动注塑机
CN214639560U (zh) 一种双支车梯自动成型系统
CN214133371U (zh) 一种金属管材生产加工系统
CN222492343U (zh) 棒料连续送料与切割一体化装置
CN111644691B (zh) 一种可调节的圆柱截面棒材自动下料装置
CN111215543B (zh) 弯板机
CN220073397U (zh) 一种连续上料的型材切断装置
CN220362637U (zh) 一种用于铅笔生产的切断机

Legal Events

Date Code Title Description
GR01 Patent grant
GR01 Patent grant