CN217287955U - A ratio mixing arrangement for production of zinc-plated substrate powder coating - Google Patents
A ratio mixing arrangement for production of zinc-plated substrate powder coating Download PDFInfo
- Publication number
- CN217287955U CN217287955U CN202220056018.3U CN202220056018U CN217287955U CN 217287955 U CN217287955 U CN 217287955U CN 202220056018 U CN202220056018 U CN 202220056018U CN 217287955 U CN217287955 U CN 217287955U
- Authority
- CN
- China
- Prior art keywords
- mixing
- mixing box
- box
- production
- zinc
- Prior art date
- Legal status (The legal status is an assumption and is not a legal conclusion. Google has not performed a legal analysis and makes no representation as to the accuracy of the status listed.)
- Expired - Fee Related
Links
- 239000000843 powder Substances 0.000 title claims abstract description 45
- 238000000576 coating method Methods 0.000 title claims abstract description 29
- 239000011248 coating agent Substances 0.000 title claims abstract description 24
- 238000004519 manufacturing process Methods 0.000 title claims abstract description 17
- 239000000758 substrate Substances 0.000 title claims abstract description 17
- 238000007790 scraping Methods 0.000 claims abstract description 50
- 239000000463 material Substances 0.000 claims abstract description 27
- 230000005540 biological transmission Effects 0.000 claims description 11
- 238000007599 discharging Methods 0.000 claims description 5
- 238000010276 construction Methods 0.000 claims description 2
- 230000000149 penetrating effect Effects 0.000 claims description 2
- HCHKCACWOHOZIP-UHFFFAOYSA-N Zinc Chemical compound [Zn] HCHKCACWOHOZIP-UHFFFAOYSA-N 0.000 claims 5
- 239000011701 zinc Substances 0.000 claims 5
- 229910052725 zinc Inorganic materials 0.000 claims 5
- 239000003973 paint Substances 0.000 claims 1
- 239000002994 raw material Substances 0.000 abstract description 51
- 238000000034 method Methods 0.000 abstract description 8
- 238000002347 injection Methods 0.000 abstract description 2
- 239000007924 injection Substances 0.000 abstract description 2
- 230000002337 anti-port Effects 0.000 abstract 1
- 239000000203 mixture Substances 0.000 description 3
- 239000007787 solid Substances 0.000 description 2
- 239000000243 solution Substances 0.000 description 2
- 230000004075 alteration Effects 0.000 description 1
- 239000012752 auxiliary agent Substances 0.000 description 1
- 230000009286 beneficial effect Effects 0.000 description 1
- 230000002950 deficient Effects 0.000 description 1
- 239000000945 filler Substances 0.000 description 1
- 230000005484 gravity Effects 0.000 description 1
- 238000012986 modification Methods 0.000 description 1
- 230000004048 modification Effects 0.000 description 1
- 239000000049 pigment Substances 0.000 description 1
- 239000011347 resin Substances 0.000 description 1
- 229920005989 resin Polymers 0.000 description 1
- 239000002904 solvent Substances 0.000 description 1
- 238000006467 substitution reaction Methods 0.000 description 1
- XLYOFNOQVPJJNP-UHFFFAOYSA-N water Substances O XLYOFNOQVPJJNP-UHFFFAOYSA-N 0.000 description 1
Images
Classifications
-
- Y—GENERAL TAGGING OF NEW TECHNOLOGICAL DEVELOPMENTS; GENERAL TAGGING OF CROSS-SECTIONAL TECHNOLOGIES SPANNING OVER SEVERAL SECTIONS OF THE IPC; TECHNICAL SUBJECTS COVERED BY FORMER USPC CROSS-REFERENCE ART COLLECTIONS [XRACs] AND DIGESTS
- Y02—TECHNOLOGIES OR APPLICATIONS FOR MITIGATION OR ADAPTATION AGAINST CLIMATE CHANGE
- Y02P—CLIMATE CHANGE MITIGATION TECHNOLOGIES IN THE PRODUCTION OR PROCESSING OF GOODS
- Y02P70/00—Climate change mitigation technologies in the production process for final industrial or consumer products
- Y02P70/10—Greenhouse gas [GHG] capture, material saving, heat recovery or other energy efficient measures, e.g. motor control, characterised by manufacturing processes, e.g. for rolling metal or metal working
Landscapes
- Mixers Of The Rotary Stirring Type (AREA)
Abstract
The utility model discloses a ratio mixing arrangement for production of zinc-plated substrate powder coating, include mixing box, intake pipe, carousel, storage box and scrape the flitch, the side surface of mixing box is provided with the intake pipe, be connected with the solenoid valve between intake pipe and the mixing box, the upper end of mixing box is fixed with the mounting bracket, the side surface of scraping the charging tray is fixed with scrapes the flitch. This a ratio mixing arrangement for production of zinc-plated substrate powder coating, be provided with quantitative hole, the carousel rotates under step motor's drive and pours into quantitative hole into with the powder raw materials in the storage box through the discharge opening, accomplish the ration to raw material powder through the quantitative hole of prefabricated not uniform in size and acquire, then carousel antiport makes quantitative hole and discharge opening dislocation, until quantitative hole and hourglass material hole coincidence, accomplish the process of pouring into raw material powder proportionally in the mixing box to the mixing box in the ration hole through leaking the raw materials injection mixing box in the material hole.
Description
Technical Field
The utility model relates to a powder coating production technical field specifically is a ratio mixing arrangement for production of zinc-plated substrate powder coating.
Background
Galvanized substrate powder coating is a neotype anhydrous coating, compare powder coating's solvent with traditional coating and be water but the air, can melt powder coating through the mode that lets in the hot-air, powder coating can solidify by oneself at ordinary temperature, the convenience very of use, powder coating is through solid resin, pigment, solid powder such as filler and auxiliary agent mixes and forms, in order to let these raw materialss can the intensive mixing, need carry out the mixture of various materials through the dedicated mixing arrangement of powder coating, but current mixing arrangement does have some problems in the in-service use process:
firstly, the existing mixing device does not have the function of quantitative feeding according to a certain proportion, so that raw materials need to be manually added into a mixing box when powder coating is produced, the mode is not only low in efficiency, but also the raw material proportion is easy to unbalance due to human errors, and defective products are caused;
secondly, current mixing arrangement is after mixing the completion, adsorbs a large amount of raw materials on the mixing box inner wall, and this influence that just leads to next ripples raw materials to receive remaining raw materials when getting into the mixing box leads to the raw materials proportion to unbalance.
SUMMERY OF THE UTILITY MODEL
An object of the utility model is to provide a ratio mixing arrangement for production of zinc-plated substrate powder coating to the reinforced mode that provides is not good and the remaining problem of raw materials in solving above-mentioned background art.
In order to achieve the above object, the utility model provides a following technical scheme: a proportioning and mixing device for production of zinc-plated substrate powder coating comprises a mixing box, an air inlet pipe, a rotary table, a storage box and a scraping plate, wherein the air inlet pipe is arranged on the side surface of the mixing box, an electromagnetic valve is connected between the air inlet pipe and the mixing box, a mounting frame is fixed at the upper end of the mixing box, a servo controller and a stepping motor are mounted on the upper surface of the mounting frame, the rotary table for adding powder is mounted on the upper surface of the mixing box in an embedded mode, the storage box for containing powder is uniformly distributed on the upper surface of the rotary table, limiting blocks for limiting the rotary table are uniformly distributed on the side surface of the mixing box, a discharging pipe is arranged on the lower surface of the mixing box, the electromagnetic valve is connected between the discharging pipe and the mixing box, a central column is fixed inside the mixing box, a scraping motor is mounted inside the central column, and the lower end of the central column is connected with the scraping plate, and a scraping plate is fixed on the side surface of the scraping plate.
Preferably, the upper surface that carousel and storage box are connected has seted up the discharge opening, the gag lever post has been placed to the top of storage box, the gag lever post is located the inside one end of storage box and is fixed with the altitude plate, and the other end of gag lever post and storage box are sliding construction.
Adopt above-mentioned technical scheme for the height plate can drive the gag lever post and slide downwards gradually when powder raw materials reduces gradually in the storage box.
Preferably, the turntable is of a hollow design, the material leaking hole is formed in the lower surface of the turntable, the upper end of the central column penetrates through the lower surface of the turntable, a temporary storage plate is fixed to one end, located inside the turntable, of the central column, and a quantitative hole is formed in the outer surface of the temporary storage plate.
Adopt above-mentioned technical scheme for can leak the raw materials in the ration hole into the mixing box through leaking the material hole when the carousel rotates.
Preferably, the quantifying holes are located right below the discharge holes, the quantifying holes and the material leaking holes are arranged in a staggered mode, and the diameters of the quantifying holes are different from each other.
By adopting the technical scheme, different raw materials can be quantitatively injected through the quantitative holes with corresponding sizes.
Preferably, the output end of the scraping motor penetrates through the side surface of the central column and is fixedly connected with a transmission gear, and the transmission gear is in meshed connection with the scraping plate.
By adopting the technical scheme, the scraping motor drives the scraping disc to rotate through the transmission gear.
Preferably, the side surface of the scraping plate is attached to the inner side surface of the mixing box, and the bottom surface of the scraping plate is attached to the bottom surface of the mixing box.
Adopt above-mentioned technical scheme for scrape the flitch and can strike off adnexed powder raw materials on the mixing box inner wall when doing circular motion.
Preferably, the outer surface of the scraping plate is embedded with mixing blades, and the outer surface of the scraping plate is uniformly provided with material penetrating holes.
By adopting the technical scheme, the mixing paddle can rotate under the action of flowing of the molten raw materials in the process of making circular motion along with the scraping plate, so that the raw materials can be better mixed.
Compared with the prior art, the beneficial effects of the utility model are that: this a ratio mixing arrangement for production of zinc-plated substrate powder coating:
1. the quantitative hole is arranged, the rotary table is driven by the stepping motor to rotate and inject the powder raw materials in the storage box into the quantitative hole through the discharge hole, quantitative acquisition of the raw material powder is completed through the prefabricated quantitative holes with different sizes, then the rotary table rotates reversely to enable the quantitative hole and the discharge hole to be staggered until the quantitative hole is overlapped with the material leakage hole, and the raw material in the quantitative hole is injected into the mixing box through the material leakage hole to complete the process of quantitatively injecting the raw material powder into the mixing box according to the proportion;
2. the rotary table is provided with a limiting rod, when raw materials in the storage box are insufficient, the height plate loses the support of the raw materials and drives the limiting rod to slide downwards under the action of gravity, and the other end of the limiting rod is clamped with the limiting block to enable the rotary table not to rotate so as to prevent the raw material proportion from being unbalanced due to the fact that the raw materials are forgotten to be added when one raw material is used up;
3. be provided with the flitch of scraping, constantly make the raw materials can all discharge through the discharging pipe through scraping off the flitch in rotatory to the adnexed raw materials of mixing box internal surface, avoided the raw materials to remain and to lead to the unbalanced condition of raw materials proportion in powder coating to appear, scrape the flitch simultaneously and drive the mixing paddle and be circular motion in the rotation in-process, and the mixing paddle rotates so that the mixture that the raw materials can be better under the promotion of fused raw materials mixture.
Drawings
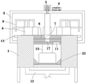
FIG. 1 is a schematic overall front sectional view of the present invention;
FIG. 2 is a schematic cross-sectional view of the connection between the rotary plate and the material leaking hole of the present invention;
FIG. 3 is a schematic view of a sectional structure of the scraper disc and the scraper plate of the present invention;
fig. 4 is the utility model discloses the mixing box is connected with the stopper and overlooks the schematic structure.
In the figure: 1. a mixing box; 2. an air inlet pipe; 3. a mounting frame; 4. a servo controller; 5. a stepping motor; 6. a turntable; 7. a discharge hole; 8. a storage box; 9. a limiting rod; 10. a height plate; 11. a material leaking hole; 12. a limiting block; 13. a discharge pipe; 14. an electromagnetic valve; 15. a central column; 16. temporarily storing the board; 17. a dosing aperture; 18. a scraping motor; 19. a transmission gear; 20. scraping the material tray; 21. a scraping plate; 22. mixing paddles.
Detailed Description
The technical solutions in the embodiments of the present invention will be described clearly and completely with reference to the drawings in the embodiments of the present invention, and it is obvious that the described embodiments are only some embodiments of the present invention, not all embodiments. Based on the embodiments in the present invention, all other embodiments obtained by a person skilled in the art without creative work belong to the protection scope of the present invention.
Referring to fig. 1-4, the present invention provides a technical solution: a proportioning and mixing device for production of galvanized substrate powder coating comprises a mixing box 1, an air inlet pipe 2, a mounting frame 3, a servo controller 4, a stepping motor 5, a rotary disc 6, a discharge hole 7, a storage box 8, a limiting rod 9, a height plate 10, a material leaking hole 11, a limiting block 12, a discharge pipe 13, an electromagnetic valve 14, a central column 15, a temporary storage plate 16, a quantifying hole 17, a material scraping motor 18, a transmission gear 19, a material scraping disc 20, a material scraping plate 21 and a mixing paddle 22, wherein the air inlet pipe 2 is arranged on the side surface of the mixing box 1, the electromagnetic valve 14 is connected between the air inlet pipe 2 and the mixing box 1, the mounting frame 3 is fixed at the upper end of the mixing box 1, the servo controller 4 and the stepping motor 5 are mounted on the upper surface of the mounting frame 3, the rotary disc 6 for adding powder is mounted on the upper surface of the mixing box 1 in an embedded manner, the storage boxes 8 for containing powder are uniformly distributed on the upper surface of the rotary disc 6, the side surface of the mixing box 1 is uniformly distributed with limiting blocks 12 for limiting the turntable 6, the quantitative holes 17 are located under the discharge holes 7, the quantitative holes 17 and the material leakage holes 11 are arranged in a staggered manner, the discharge holes 7 are formed in the upper surface, connected with the storage box 8, of the turntable 6 with different diameters of the quantitative holes 17, the limiting rod 9 is placed above the storage box 8, one end, located inside the storage box 8, of the limiting rod 9 is fixed with a height plate 10, the other end of the limiting rod 9 and the storage box 8 are of a sliding structure, the turntable 6 is of a hollow design, the material leakage holes 11 are formed in the lower surface of the turntable 6, the upper end of the central column 15 penetrates through the lower surface of the turntable 6, one end, located inside the turntable 6, of the central column 15 is fixed with a temporary storage plate 16, the quantitative holes 17 are formed in the outer surface of the temporary storage plate 16, as shown in fig. 1-4, the turntable 6 is driven by the stepping motor 5 to rotate and injects raw materials in the storage box 8 into the quantitative holes 17, In, then step motor 5 drives the 6 reversals of carousel, carousel 6 drives discharge opening 7 and quantitative hole 17 dislocation and drives hourglass material hole 11 and quantitative hole 17 coincidence, make the raw materials can be through the quantitative hole 17 that capacity is prefabricated through leaking in the material hole 11 injection mixing box 1, when the raw materials in the storage box 8 is not enough in the in-process that injects into discharge opening 7, height plate 10 loses the support lapse of raw materials, height plate 10 drives gag lever post 9 lapse, block through gag lever post 9 and stopper 12 makes carousel 6 can not rotate, prevent that the unbalanced raw materials of proportion from getting into mixing box 1.
As shown in fig. 1-3, a discharge pipe 13 is disposed on the lower surface of the mixing box 1, an electromagnetic valve 14 is connected between the discharge pipe 13 and the mixing box 1, a central column 15 is fixed inside the mixing box 1, a scraping motor 18 is installed inside the central column 15, a transmission gear 19 is fixedly connected to the output end of the scraping motor 18 through the side surface of the central column 15, the transmission gear 19 is engaged with the scraping plate 20, and the scraping motor 18 drives the scraping plate 20 to rotate through the engagement of the transmission gear 19 and the scraping plate 20.
As shown in fig. 1-3, the lower end of the central column 15 is connected with a scraping plate 20, a scraping plate 21 is fixed on the side surface of the scraping plate 20, the side surface of the scraping plate 21 is attached to the inner side surface of the mixing box 1, the bottom surface of the scraping plate 21 is attached to the bottom surface of the mixing box 1, a mixing paddle 22 is installed on the outer surface of the scraping plate 21 in an embedded manner, material through holes are uniformly formed in the outer surface of the scraping plate 21, the scraping plate 20 scrapes off the raw materials attached to the inner wall of the mixing box 1 through the attachment to the mixing box 1 in the rotating process, meanwhile, the scraping plate 21 drives the mixing paddle 22 to do circular motion, and the mixing paddle 22 rotates under the flowing action of the molten coating raw materials, so that the coating raw materials can be better mixed.
The working principle is as follows: when the proportioning and mixing device for producing the galvanized substrate powder coating is used, firstly, the limiting rod 9 and the height plate 10 slide upwards, then, enough various raw material powder is added into the storage box 8, then, the limiting rod 9 and the height plate 10 are placed on the storage box 8, wherein, the height plate 10 is placed at the top end of the raw material powder in the storage box 8, the servo controller 4 controls the stepping motor 5 to drive the turntable 6 to rotate, the turntable 6 drives the discharge hole 7 to coincide with the quantifying hole 17, at the moment, the raw material of the storage box 8 enters the quantifying hole 17 through the discharge hole 7, the raw material powder borne by the quantifying holes 17 with different sizes which are prefabricated are different, then, the stepping motor 5 drives the turntable 6 to rotate reversely, the turntable 6 drives the discharge hole 7 to be staggered with the quantifying hole 17 and drives the material leakage hole 11 to coincide with the quantifying hole 17, so that the raw material can be injected into the mixing box 1 through the material leakage hole 11 through the quantifying hole 17, when the raw materials in the storage box 8 are insufficient in the process of injecting the raw materials into the discharge hole 7, the height plate 10 drives the limiting rod 9 to slide downwards, the rotary table 6 cannot rotate through the clamping of the limiting rod 9 and the limiting block 12, and the raw materials with unbalanced proportion are prevented from entering the mixing box 1;
then hot air in the air pipe 2 enters the mixing box 1 to melt raw material powder when the electromagnetic valve 14 is opened, the scraping motor 18 drives the scraping plate 20 to rotate through the transmission gear 19, the scraping plate 20 drives the scraping plate 21 to do circular motion, the scraping plate 21 scrapes the attached material on the inner wall of the mixing box 1 through the attachment of the mixing box 1, and the mixing paddle 22 which follows the scraping plate 21 to do circular motion rotates under the flowing action of the molten raw material to enable the raw material to be better mixed, so that the overall practicability is increased.
Although embodiments of the present invention have been shown and described, it will be appreciated by those skilled in the art that changes, modifications, substitutions and alterations can be made in these embodiments without departing from the principles and spirit of the invention, the scope of which is defined in the appended claims and their equivalents.
Claims (7)
1. The utility model provides a ratio mixing arrangement for production of zinc-plated substrate powder coating, includes mixing box (1), intake pipe (2), carousel (6), storage box (8) and scrapes flitch (21), its characterized in that: the side surface of mixing box (1) is provided with intake pipe (2), be connected with solenoid valve (14) between intake pipe (2) and mixing box (1), the upper end of mixing box (1) is fixed with mounting bracket (3), the last surface mounting of mounting bracket (3) has servo controller (4) and step motor (5), the embedded carousel (6) that are used for adding the powder of installing of upper surface of mixing box (1), the last surface evenly distributed of carousel (6) has storage box (8) that is used for holding the powder, the side surface evenly distributed of mixing box (1) has stopper (12) that are used for spacing carousel (6), the lower surface of mixing box (1) is provided with discharging pipe (13), be connected with solenoid valve (14) between discharging pipe (13) and mixing box (1), the inside of mixing box (1) is fixed with center post (15), the scraper is characterized in that a scraper motor (18) is installed inside the central column (15), the lower end of the central column (15) is connected with a scraper disk (20), and a scraper plate (21) is fixed on the side surface of the scraper disk (20).
2. The proportioning and mixing apparatus for production of zinc-coated substrate powder coatings of claim 1, wherein: discharge opening (7) have been seted up to the upper surface that carousel (6) and storage box (8) are connected, gag lever post (9) have been placed to the top of storage box (8), gag lever post (9) are located the inside one end of storage box (8) and are fixed with altitude slab (10), and the other end and storage box (8) of gag lever post (9) are sliding construction.
3. The proportioning and mixing apparatus for production of zinc-coated substrate powder coatings of claim 1, wherein: the rotary table (6) is designed to be hollow, the material leaking holes (11) are formed in the lower surface of the rotary table (6), the upper end of the central column (15) penetrates through the lower surface of the rotary table (6), a temporary storage plate (16) is fixed to one end, located inside the rotary table (6), of the central column (15), and quantitative holes (17) are formed in the outer surface of the temporary storage plate (16).
4. A proportioned mixing device for the production of galvanized base powder paint according to claim 3, characterized in that: the quantitative holes (17) are located under the discharge holes (7), the quantitative holes (17) and the material leaking holes (11) are arranged in a staggered mode, and the diameters of the quantitative holes (17) are different.
5. The proportioning and mixing apparatus for production of zinc-coated substrate powder coatings of claim 1, wherein: the output end of the scraping motor (18) penetrates through the side surface of the central column (15) and is fixedly connected with a transmission gear (19), and the transmission gear (19) is meshed with the scraping disc (20).
6. The proportioning and mixing apparatus for production of zinc-coated substrate powder coatings of claim 1, wherein: the side surface of the scraping plate (21) is attached to the inner side surface of the mixing box (1), and the bottom surface of the scraping plate (21) is attached to the bottom surface of the mixing box (1).
7. The proportioning and mixing apparatus for production of zinc-coated substrate powder coatings of claim 1, wherein: the outer surface of the scraping plate (21) is provided with embedded mixing blades (22), and the outer surface of the scraping plate (21) is uniformly provided with material penetrating holes.
Priority Applications (1)
| Application Number | Priority Date | Filing Date | Title |
|---|---|---|---|
| CN202220056018.3U CN217287955U (en) | 2022-01-11 | 2022-01-11 | A ratio mixing arrangement for production of zinc-plated substrate powder coating |
Applications Claiming Priority (1)
| Application Number | Priority Date | Filing Date | Title |
|---|---|---|---|
| CN202220056018.3U CN217287955U (en) | 2022-01-11 | 2022-01-11 | A ratio mixing arrangement for production of zinc-plated substrate powder coating |
Publications (1)
| Publication Number | Publication Date |
|---|---|
| CN217287955U true CN217287955U (en) | 2022-08-26 |
Family
ID=82924616
Family Applications (1)
| Application Number | Title | Priority Date | Filing Date |
|---|---|---|---|
| CN202220056018.3U Expired - Fee Related CN217287955U (en) | 2022-01-11 | 2022-01-11 | A ratio mixing arrangement for production of zinc-plated substrate powder coating |
Country Status (1)
| Country | Link |
|---|---|
| CN (1) | CN217287955U (en) |
Cited By (3)
| Publication number | Priority date | Publication date | Assignee | Title |
|---|---|---|---|---|
| CN115463607A (en) * | 2022-09-20 | 2022-12-13 | 山东裕城生物技术有限公司 | Quantitative mixing production line and production method for powder veterinary drugs |
| CN116212735A (en) * | 2023-04-07 | 2023-06-06 | 河南中烟工业有限责任公司 | Tobacco leaf starter preparation device with accurate proportioning structure and preparation method |
| CN116811025A (en) * | 2023-06-20 | 2023-09-29 | 四川川交路桥有限责任公司 | Automatic batching device for quick-setting concrete production |
-
2022
- 2022-01-11 CN CN202220056018.3U patent/CN217287955U/en not_active Expired - Fee Related
Cited By (4)
| Publication number | Priority date | Publication date | Assignee | Title |
|---|---|---|---|---|
| CN115463607A (en) * | 2022-09-20 | 2022-12-13 | 山东裕城生物技术有限公司 | Quantitative mixing production line and production method for powder veterinary drugs |
| CN115463607B (en) * | 2022-09-20 | 2024-03-19 | 山东裕城生物技术有限公司 | Quantitative mixing production line for powder veterinary drugs and production method thereof |
| CN116212735A (en) * | 2023-04-07 | 2023-06-06 | 河南中烟工业有限责任公司 | Tobacco leaf starter preparation device with accurate proportioning structure and preparation method |
| CN116811025A (en) * | 2023-06-20 | 2023-09-29 | 四川川交路桥有限责任公司 | Automatic batching device for quick-setting concrete production |
Similar Documents
| Publication | Publication Date | Title |
|---|---|---|
| CN217287955U (en) | A ratio mixing arrangement for production of zinc-plated substrate powder coating | |
| CN108450106A (en) | A kind of agricultural lands uniform of application equipment | |
| CN215094563U (en) | A kind of concrete production batching control device | |
| CN112428438A (en) | Proportioning and stirring device for high-strength concrete preparation | |
| CN215428400U (en) | Agricultural fertilizer mixing arrangement | |
| CN116141480B (en) | High-strength corundum castable forming device and application method thereof | |
| CN218924700U (en) | Ionic liquid synthesis reaction device | |
| CN114367234B (en) | Blending device for producing water-based fluorocarbon coating with low VOC content and application method thereof | |
| CN205095665U (en) | Mixed stirred tank of liquid material | |
| CN111761723A (en) | Foundation raw material mixing device for highway engineering | |
| CN215138994U (en) | Surfactant dosing unit before production | |
| CN212948465U (en) | Dust protected concrete mixer that building engineering used | |
| CN215233845U (en) | Automatic change coating preparation system of accurate measurement ratio feed | |
| CN111672375B (en) | Composite board production process | |
| CN222662166U (en) | Auxiliary pouring device for mortar pouring | |
| CN111203135A (en) | A miscible temporary storage device for processing steel bridge deck waterproof bonding layer materials | |
| CN218748527U (en) | Planetary cement mortar mixer | |
| CN223675078U (en) | Asphalt stirring box with anti-blocking function | |
| CN217594378U (en) | Hydrosolvent fertilizer production system | |
| CN222886818U (en) | Asphalt concrete toner puts in device | |
| CN211963932U (en) | A miscible temporary storage device for processing steel bridge deck waterproof bonding layer materials | |
| CN220238478U (en) | Raw material proportioning device for paint mist coagulant production | |
| CN221232848U (en) | Batching device for PC brick production | |
| CN220026895U (en) | Stirring machine capable of integrally overturning and dumping materials | |
| CN220052305U (en) | Concrete mixing device of misce bene |
Legal Events
| Date | Code | Title | Description |
|---|---|---|---|
| GR01 | Patent grant | ||
| GR01 | Patent grant | ||
| CF01 | Termination of patent right due to non-payment of annual fee | ||
| CF01 | Termination of patent right due to non-payment of annual fee |
Granted publication date: 20220826 |