CN217287571U - 一种5mg/Nm3以下排放浓度的袋式除尘器 - Google Patents
一种5mg/Nm3以下排放浓度的袋式除尘器 Download PDFInfo
- Publication number
- CN217287571U CN217287571U CN202220423837.7U CN202220423837U CN217287571U CN 217287571 U CN217287571 U CN 217287571U CN 202220423837 U CN202220423837 U CN 202220423837U CN 217287571 U CN217287571 U CN 217287571U
- Authority
- CN
- China
- Prior art keywords
- chassis
- dust
- dust removal
- discharge concentration
- telescopic rod
- Prior art date
- Legal status (The legal status is an assumption and is not a legal conclusion. Google has not performed a legal analysis and makes no representation as to the accuracy of the status listed.)
- Active
Links
- 239000000428 dust Substances 0.000 title claims abstract description 55
- 239000004744 fabric Substances 0.000 claims abstract description 29
- 238000002347 injection Methods 0.000 claims description 8
- 239000007924 injection Substances 0.000 claims description 8
- 230000000630 rising effect Effects 0.000 abstract description 3
- 230000009286 beneficial effect Effects 0.000 abstract description 2
- 210000003437 trachea Anatomy 0.000 description 4
- 238000007664 blowing Methods 0.000 description 3
- 238000001914 filtration Methods 0.000 description 3
- 239000000835 fiber Substances 0.000 description 2
- 230000005484 gravity Effects 0.000 description 2
- 239000000243 solution Substances 0.000 description 2
- 230000004075 alteration Effects 0.000 description 1
- 238000004140 cleaning Methods 0.000 description 1
- 230000006835 compression Effects 0.000 description 1
- 238000007906 compression Methods 0.000 description 1
- 239000000463 material Substances 0.000 description 1
- 230000004048 modification Effects 0.000 description 1
- 238000012986 modification Methods 0.000 description 1
- 239000002245 particle Substances 0.000 description 1
- 238000006467 substitution reaction Methods 0.000 description 1
Images
Classifications
-
- Y—GENERAL TAGGING OF NEW TECHNOLOGICAL DEVELOPMENTS; GENERAL TAGGING OF CROSS-SECTIONAL TECHNOLOGIES SPANNING OVER SEVERAL SECTIONS OF THE IPC; TECHNICAL SUBJECTS COVERED BY FORMER USPC CROSS-REFERENCE ART COLLECTIONS [XRACs] AND DIGESTS
- Y02—TECHNOLOGIES OR APPLICATIONS FOR MITIGATION OR ADAPTATION AGAINST CLIMATE CHANGE
- Y02A—TECHNOLOGIES FOR ADAPTATION TO CLIMATE CHANGE
- Y02A50/00—TECHNOLOGIES FOR ADAPTATION TO CLIMATE CHANGE in human health protection, e.g. against extreme weather
- Y02A50/20—Air quality improvement or preservation, e.g. vehicle emission control or emission reduction by using catalytic converters
- Y02A50/2351—Atmospheric particulate matter [PM], e.g. carbon smoke microparticles, smog, aerosol particles, dust
Landscapes
- Filtering Of Dispersed Particles In Gases (AREA)
Abstract
本实用新型涉及袋式除尘器技术领域,具体为一种5mg/Nm3以下排放浓度的袋式除尘器,所述5mg/Nm3以下排放浓度的袋式除尘器包括:支撑架,支撑架的底部安装有第一除尘布;底板,底板的表面插接有伸缩杆,伸缩杆的外部套设有弹簧,伸缩杆的底部安装有限位盘;有益效果为:本实用新型提出的第一除尘布的底部安装有底架,底架的底部安装有伸缩杆,伸缩杆插接在底板的内部,伸缩杆的底部安装有限位盘,伸缩杆的外部套设有弹簧,当喷气设备向第一除尘布内部吹出气体后,第一除尘布膨胀后就会使得底架上升,第一侧板跟随底架上升后撞击到限位杆的顶部,弹簧减小第一除尘布收到的拉扯力,且底架撞击到限位杆后使得底架振动使得内部的灰尘掉落。
Description
技术领域
本实用新型涉及袋式除尘器技术领域,具体为一种5mg/Nm3以下排放浓度的袋式除尘器。
背景技术
袋式除尘器是一种干式滤尘装置。它适用于捕集细小、干燥、非纤维性粉尘。滤袋采用纺织的滤布或非纺织的毡制成,利用纤维织物的过滤作用对含尘气体进行过滤,当含尘气体进入袋式除尘器后,颗粒大、比重大的粉尘,由于重力的作用沉降下来,落入灰斗,含有较细小粉尘的气体在通过滤料时,粉尘被阻留,使气体得到净化;
现有的袋式除尘器在使用一段时间后,过滤袋上会沾上大量的灰尘,从而导致除尘效率下降,而现有的对过滤袋上吸附的灰尘去除的方式,大多数采用脉冲喷吹清灰方式将高压空气在短暂的时间高速吹入过滤袋,产生与过滤气体反向的反吹气体,使过滤袋内产生脉冲膨胀抖动,从而抖落粉尘;
采用脉冲喷吹清灰方式会导致过滤袋的纤维间隙频繁受力,从而增加了过滤袋损坏和更换率。
实用新型内容
本实用新型的目的在于提供一种5mg/Nm3以下排放浓度的袋式除尘器,以解决上述背景技术中提出的问题。
为实现上述目的,本实用新型提供如下技术方案:一种5mg/Nm3以下排放浓度的袋式除尘器,所述5mg/Nm3以下排放浓度的袋式除尘器包括:
支撑架,支撑架的底部安装有第一除尘布;
底板,底板的表面插接有伸缩杆,伸缩杆的外部套设有弹簧,伸缩杆的底部安装有限位盘;及喷气设备,设于支撑架的底部,喷气设备的顶部安装有气管。
优选的,所述第一除尘布的底部安装有底架,底架呈矩形。
优选的,所述底架的外壁安装有第一侧板,第一侧板具有两组,分别位于底架对立的两侧面上。
优选的,所述底架的底部安装有伸缩杆,伸缩杆具有四组,且底架的底部安装有第二除尘布。
优选的,所述底板的外壁上安装有第二侧板,第二侧板具有两组,分别位于底板对立的两侧面上。
优选的,所述第二侧板的顶部安装有限位杆,限位杆穿过第一侧板,且限位杆的顶部安装有限位盘。
与现有技术相比,本实用新型的有益效果是:
本实用新型提出的第一除尘布的底部安装有底架,底架的底部安装有伸缩杆,伸缩杆插接在底板的内部,伸缩杆的底部安装有限位盘,伸缩杆的外部套设有弹簧,当喷气设备向第一除尘布内部吹出气体后,第一除尘布膨胀后就会使得底架上升,第一侧板跟随底架上升后撞击到限位杆的顶部,弹簧减小第一除尘布收到的拉扯力,且底架撞击到限位杆后使得底架振动使得内部的灰尘掉落。
附图说明
图1为本实用新型立体结构示意图;
图2为本实用新型剖面立体结构示意图;
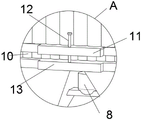
图3为图1中A处结构放大示意图。
图中:支撑架1、第一除尘布2、底架3、伸缩杆4、弹簧5、底板6、限位盘7、喷气设备8、气管9、第二除尘布10、第一侧板11、限位杆12、第二侧板13。
具体实施方式
下面将结合本实用新型实施例中的附图,对本实用新型实施例中的技术方案进行清楚、完整地描述,显然,所描述的实施例仅仅是本实用新型一部分实施例,而不是全部的实施例。基于本实用新型中的实施例,本领域普通技术人员在没有做出创造性劳动前提下所获得的所有其他实施例,都属于本实用新型保护的范围。
请参阅图1至图3,本实用新型提供一种技术方案:一种5mg/Nm3以下排放浓度的袋式除尘器,5mg/Nm3以下排放浓度的袋式除尘器包括:支撑架1,支撑架1的底部安装有第一除尘布2,第一除尘布2的底部安装有底架3,底架3呈矩形;
底架3的外壁安装有第一侧板11,第一侧板11具有两组,分别位于底架3对立的两侧面上,底架3的底部安装有伸缩杆4,伸缩杆4具有四组,且底架3的底部安装有第二除尘布10,第二除尘布10防止灰尘从底架3和底板6中的缝隙跑出,底架3带动第一侧板11上升;
底板6,底板6的表面插接有伸缩杆4,伸缩杆4的外部套设有弹簧5,伸缩杆4的底部安装有限位盘7,底板6的外壁上安装有第二侧板13,第二侧板13具有两组,分别位于底板6对立的两侧面上,伸缩杆4在底板6中上升,限位盘7顶推着弹簧5,使得弹簧5被压缩;
第二侧板13的顶部安装有限位杆12,限位杆12穿过第一侧板11,且限位杆12的顶部安装有限位盘,第一侧板11在第二侧板13顶部的限位杆12的外部上升到顶部后撞击到限位杆12顶部的限位盘,使得底架3产生振动;
喷气设备8设于支撑架1的底部,喷气设备8的顶部安装有气管9,喷气设备8通过气管9向着内部充气,使得第一除尘布2膨胀。
第一除尘布2的内部沉积大量灰尘后,喷气设备8通过气管9向着内部充气,使得第一除尘布2膨胀,第一除尘布2拉动底架3,使得底架3上升,伸缩杆4在底板6中上升,限位盘7顶推着弹簧5,使得弹簧5被压缩,第二除尘布10防止灰尘从底架3和底板6中的缝隙跑出,底架3带动第一侧板11上升,第一侧板11在第二侧板13顶部的限位杆12的外部上升到顶部后撞击到限位杆12顶部的限位盘,使得底架3产生振动,使得第一除尘布2的内部灰尘进一步掉落。
尽管已经示出和描述了本实用新型的实施例,对于本领域的普通技术人员而言,可以理解在不脱离本实用新型的原理和精神的情况下可以对这些实施例进行多种变化、修改、替换和变型,本实用新型的范围由所附权利要求及其等同物限定。
Claims (6)
1.一种5mg/Nm3以下排放浓度的袋式除尘器,其特征在于:所述5mg/Nm3以下排放浓度的袋式除尘器包括:
支撑架(1),支撑架(1)的底部安装有第一除尘布(2);
底板(6),底板(6)的表面插接有伸缩杆(4),伸缩杆(4)的外部套设有弹簧(5),伸缩杆(4)的底部安装有限位盘(7);及喷气设备(8),设于支撑架(1)的底部,喷气设备(8)的顶部安装有气管(9)。
2.根据权利要求1所述的一种5mg/Nm3以下排放浓度的袋式除尘器,其特征在于:所述第一除尘布(2)的底部安装有底架(3),底架(3)呈矩形。
3.根据权利要求2所述的一种5mg/Nm3以下排放浓度的袋式除尘器,其特征在于:所述底架(3)的外壁安装有第一侧板(11),第一侧板(11)具有两组,分别位于底架(3)对立的两侧面上。
4.根据权利要求3所述的一种5mg/Nm3以下排放浓度的袋式除尘器,其特征在于:所述底架(3)的底部安装有伸缩杆(4),伸缩杆(4)具有四组,且底架(3)的底部安装有第二除尘布(10)。
5.根据权利要求1所述的一种5mg/Nm3以下排放浓度的袋式除尘器,其特征在于:所述底板(6)的外壁上安装有第二侧板(13),第二侧板(13)具有两组,分别位于底板(6)对立的两侧面上。
6.根据权利要求5所述的一种5mg/Nm3以下排放浓度的袋式除尘器,其特征在于:所述第二侧板(13)的顶部安装有限位杆(12),限位杆(12)穿过第一侧板(11),且限位杆(12)的顶部安装有限位盘。
Priority Applications (1)
| Application Number | Priority Date | Filing Date | Title |
|---|---|---|---|
| CN202220423837.7U CN217287571U (zh) | 2022-03-01 | 2022-03-01 | 一种5mg/Nm3以下排放浓度的袋式除尘器 |
Applications Claiming Priority (1)
| Application Number | Priority Date | Filing Date | Title |
|---|---|---|---|
| CN202220423837.7U CN217287571U (zh) | 2022-03-01 | 2022-03-01 | 一种5mg/Nm3以下排放浓度的袋式除尘器 |
Publications (1)
| Publication Number | Publication Date |
|---|---|
| CN217287571U true CN217287571U (zh) | 2022-08-26 |
Family
ID=82934585
Family Applications (1)
| Application Number | Title | Priority Date | Filing Date |
|---|---|---|---|
| CN202220423837.7U Active CN217287571U (zh) | 2022-03-01 | 2022-03-01 | 一种5mg/Nm3以下排放浓度的袋式除尘器 |
Country Status (1)
| Country | Link |
|---|---|
| CN (1) | CN217287571U (zh) |
-
2022
- 2022-03-01 CN CN202220423837.7U patent/CN217287571U/zh active Active
Similar Documents
| Publication | Publication Date | Title |
|---|---|---|
| CN212383349U (zh) | 一种易于清理提高除尘速率的布袋除尘器 | |
| CN217287571U (zh) | 一种5mg/Nm3以下排放浓度的袋式除尘器 | |
| CN209885428U (zh) | 一种超净排放布袋除尘器 | |
| CN213610321U (zh) | 一种粉尘防爆布袋除尘器 | |
| CN221788536U (zh) | 一种具有震动除尘功能的袋式除尘装置 | |
| CN220758390U (zh) | 一种新型脉冲布袋除尘器 | |
| CN216826670U (zh) | 一种高效率除尘器 | |
| CN218501575U (zh) | 一种可自动吹扫的长袋低压脉冲袋式除尘器 | |
| CN218011766U (zh) | 一种适用于玻璃棉生产的除尘装置 | |
| CN111482037A (zh) | 一种车间用静电除尘器 | |
| CN215916740U (zh) | 一种布袋除尘器装置 | |
| CN213965602U (zh) | 具有导流装置的过滤袋 | |
| CN211963420U (zh) | 一种便于清灰的火力发电厂用布袋式除尘器 | |
| CN209985076U (zh) | 一种新型振动清灰式布袋除尘器 | |
| CN211585656U (zh) | 一种硅锆合金生产用易于清理粉尘的布袋除尘装置 | |
| CN213527834U (zh) | 一种长袋离线脉冲除尘器 | |
| CN218871617U (zh) | 一种高效袋式除尘器 | |
| CN216092691U (zh) | 一种布袋除尘器辅助清灰装置 | |
| CN219376487U (zh) | 一种高效型布袋除尘器 | |
| CN218944598U (zh) | 一种布袋除尘器的清灰结构 | |
| CN218687366U (zh) | 一种布袋式除尘器 | |
| CN213433658U (zh) | 一种环保型袋式除尘设备 | |
| CN213699175U (zh) | 一种锅炉专用布袋除尘器 | |
| CN223732352U (zh) | 一种长袋低压大型脉冲袋式除尘器 | |
| CN220609569U (zh) | 一种自带清理功能的除尘器设备 |
Legal Events
| Date | Code | Title | Description |
|---|---|---|---|
| GR01 | Patent grant | ||
| GR01 | Patent grant |